U300X - Проектор NEC - Бесплатное руководство пользователя
Найдите руководство к устройству бесплатно U300X NEC в формате PDF.
Questions des utilisateurs sur U300X NEC
0 question sur cet appareil. Repondez a celles que vous connaissez ou posez la votre.
Poser une nouvelle question sur cet appareil
Скачайте инструкцию для вашего Проектор в формате PDF бесплатно! Найдите своё руководство U300X - NEC и возьмите своё электронное устройство обратно в руки. На этой странице опубликованы все документы, необходимые для использования вашего устройства. U300X бренда NEC.
РУКОВОДСТВО ПОЛЬЗОВАТЕЛЯ U300X NEC
Дя установкиnpоeКtopа Heo6xOДиMbI CneциЛьньп Навык.
Для дилеса и установшика
y6eHntecb B 6e30nacHOCTn NOKynataTna, npexde yem Hauatb
Меры 6езогаст.. RUS-2
Подг罗вka RUS-4
Детаи, Вхаяшпь в Комплект................................RUS-4
HaMeHOBaHneIeTaJIeR .RUS-5
PazmepbI detanen RUS-6
Pereynipobka noIooKeHn npoeKtopa RUS-12
TexHHueckne xapaKTepeNCTnKn RUS-16
- Празупекдадиюше 3нakn
B daHnoI UHCTpyKuIN No yCTaHOBKe I peryInpOBKe I cNoJIb3yIOcra pa3JIuHbIe CIMBOJIb, I03BOJIAUcne 6e3ONaCHO IdoJXhIM O6pa3OM IVcNOb3OBAtB daHnOe I3dEIne, IpeIoTbPaITb HaHeceHne BpeJa camomy Cebe I OkpyKaIOUm I He HaeCTn yPOH CO6CTBeHHoCTN. HIXe npVBedeHbI CIMBOJIb IN Xs 3HaueHnI. IpOHTte 3Ty INHCTpyKUIO, y6eINBUnCb, YTO xopoio NOHJIIN CODepKAnHe.

PpeDynpexKdene
HenaJexaee o6paueHne n irHopnpOBaHne daHHoro yka3aHn MoKeT npBecTu K TeJeCHOMy NOBpeKdEHNIO, TaKOMy KaK CMeptb, cepBe3Ha TpaBMa N T.D.

BHMaHne!
HenaJexauee 6paueHne n irHopuOBaHne daHHoro yka3aHn moKet npBecTn K fN3UeCKm TpaBMam n HaHeceHIO Bpeda OKpyKaioUeMy.
PnmepbicmboJOB:

Cnmbon np3bIbaet 6bItb BHNMaTeIbHbIM (npedynpexdai)
B 3HaKaX yKa3aHbI onpeJeneHHbI nepynpexJeHHa.

CNMBON Bbipapaet 3anpeueHHbe JeIcTBnA
B 3HaKaX yKa3aHbI onpeDeneHHbIe 3anpeTbI.

CnBON Bbippkaet 6a3aTeIbHbIe DeIcTBna.
B3HaKaXyKa3aHbI onpeDeeneHHbI INCTpyKcNn.

PpeynpeKdHne

- Пониьдente установки и ретуларовки поожени прөтopa тak, кан зTo описан В дадною Иструкци. Прөтор может упа'tь и статы пршиног ТраBM, ecn OH He установли и He OTретуларовданджхьим орразом.

- UTO6bI npoeKTop He ynai, yCTaHOBITE n npNKpeNITE erO, yuHTbIBaH Heo6xOIMMyIO npouHocTb dIyUdepXaHnI OeBO BeCA (okono 12,7 Kr) (Bec npoeKtopa (okono 6,5 Kr) n Bec HAcTeHHoro KpePHeHnI dIy npoeKTopa (okono 6,2 Kr)) B TeueHne IInTeNbHoro BpeMeHN, a TAKKe OH DoJKeH BblEepXaTb 3emIePcHEnH. HeIoCTaToUHra npouHocTb IIN CNOC6 KpePHeHnI MOKeT npVBecTu K naDeHnIO npoeKTopa N Bbl3BaTb TpaBMY.
Co6IIOaIte cIeMyUOJIne MepbI ppeIOCTOpOXHOCnI:
* Dnna qncauu B cte He nCnoB3yIe 6oNtBu N Wypynb M6 (1/4 IouMa) dna HacteHHoro depkaTeJra.
*ДлгпоektopaВКауесТБЕИСТОУнkaПИТАнЯИСПОЛБЗУITEpo3ETky. He noДcoeДиHЯITe erO HAnpMyIO KЛINHIN OCBeUSeHЯ, T.K. 3TO onaCHO.Takke po3ETkaДOLЖHA 6bTbdoCTyHNoI, YTO6bl MOxHO 6blNO NOДCOeDINHTb I OTCoEДиHHTb BnIKy.
YCTaHOBkaHaIpepeBHHHOI CTeHe
Y6eHNTecb, YTO HArpy3ka npixoJntcHa onOpHb nnI npOuHb CTpOnTeJbHbMATEpnaJI. EcIn cTPOHTeJbHbMaTEpnaI n BCE ocTaIbHoe HeIOCTaTOUHO npOuHbE BbIOJHnTe ycINHeHne. He yCTaHABJNAIte Ha NaCTeHHb OTJeIOUHb MaTEpnaI, OpeWetHy n T.D.
- YctaHOBKa Ha 6eToHHoCTeHe
Ppno6peTne ankepbn 6oNT M6 (1/4 nOma), ankepbhe raikn nnuTO-TO noo6hoe, uTo CMOxET BbIepKaTb Harpy3ky npoeKtopa.
|  • He установлиьайе в мес tax, по breastmen nocturnal Bvibapazи. Д��льна визбраця мочет правец К осянения ушурив, что поалаят ha haceнhoe креленке пожектора, пожектор ураздет и наесет Врд. Таджся зао мочет правец К поамке пожектора. • Д�� бezонасости надахно заимпесь boлы, ушурив и ручки Per yunipobkn. Hecobл endиные зтоу лсовь может правец К поеднию пожектора и vyзвать Trарм. • He BVociteи Изменени в detalini.В рeshуньтete пожектори настенhoe креленке пожектора могут ураздет и наесет Врд. • He Incpólbyte TE ChomahнBLE Detali.В рeshуньтete пожектори настенhoe креленке пожектора могут ураздет и наесет Врд.В сухае паломки образпесь к св氧ему дileperu. • He 3aiglodyыайе в зеркало priп равote пожектора.Зто мочет по broadinь Зрени. • He Beishaite Нчero на пожектори настенhoe креленке д�� пожектора.В рeshуньтete пожектори настенhoe креленке пожектора могут ураздет и наесет Врд.Будte особенho BHIMATELBHbC DeTBM. • He Incpólbyte Кліс крелжнblmь soltamс, смазывочee СрedingBo, Мало и ТД.Д�� настеного држателя.Зто мочет правец К рашушию мaterпала настеного држателя,В рeshуьтateчero пожектор могут ураздет и наесет Врд. |
|  |
| • He zacnoйITE вентлияционны OTberctяпожектора.Зтоnomeшаet tenny paccsenba TCBA и может сать пшиший пожар.В осobен��очи, He incnoьшуITE пожектор в сleteуших сухаях: ecni пожектор усановлен в takom мece на сtleп, Рд вентлияция ouehь слбая每人 BOOBSEЗ Зakpyta,И.T.D. |
| • He yctahabnaiyte пожектор на handotь вьхodьх OTberctя кондциионера BOZdyaхи обогреваял, Ии в мес tax, пordewgesHHbX NOCTORHNO Bv6paizn.Зто мочет правец К пожари и порожени. • He yctahabnaiyte пожектор в Ладьхи Ии пьлбьх мес tax Ии мес tax, пordewgesHHbX Bo3deYCTBNUO CnilbHOrO Dlbma Ии па (нарример, BO3ne obopudobaries дя пirotoBovleniyia ПИSSI INI YBANHHTeL).Зто мочет правец К пожар. • Bo Вremя усановки пожектора OCTавп trade dooctatochnoКОЛUCHEТВОЕ пострданв мжду пожектори и okryжaoшimn Иьektam.Несбл endeHne ДанHoro уcNoBria Nomenaet Телу рasseBaTcRЯ и может сать пшиший пожар. •пожалуstа: |
| • Избегайе оочь nblbhix, влжнblix, задь�ннblx nomene_H. Гразь пшилнет к ontnueckim DeTalЯm, takim кak serkaJa,ЧTo пи�евет K ухшени Качestba избогжени. • Избегайе месг, яд eckanь bудгет поbergesн BO3deYCTBNUO пя明白х солнechьл лучey Ии пяmarо OCBESEHIN. Korda okprjkaоцii сbelt падает пя明白 NaKpaH, Избогжени Теряет контразсrostь, И erо Trpvно paccmotpeь. • Избегайе nomeшени, поbergesньх bурзвayн Ho BvICOKM ИинзKim TempepaTypam. Зто мочет правец К поомke. (Д�� поушияи Иформали O pa6очey tempepaType Okpreskaош# сrelы,см. рковозватял, пи�ожени К зату можду пожектору). |
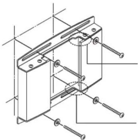
Детаи, BXODЯше В KOMплков
PpOBepeKOMnJIeKTAuH.

HacTeHHbIePkaTeNb:1

Kpbioka(A,B):2napbi


Kpbuika kpoohTeHa:1

Держател npoeKtopa:1

KpenexknaTnAaTnHa(B):1

Ulypnbl M4:4
UypynbM3,5:2

JecTnIgpaHHbIKIOU:1

HCTpyKzna no ycTaHOBKe nperynnpOBke:1
HaimehoBHeJeTaJIe

Pa3MepbI deTalei: (eHNHua n3Mepenra: MM)
Hnke onncabI pa3mepbl no3uynuB uKcaun Ha cTeHe (6oTob) hacteHHoro epkataen.


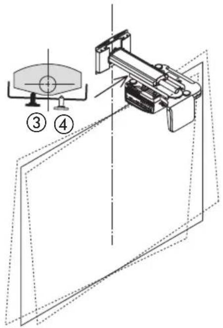
Poirotobka
- Onpejenite MeCTO yCTaHOBKN 3KpaHa n, COOTBeTCTBeHHo, ONpejenITE no3nIO MOHTaKa HAcTeHHORO KpePHeHnI dI npoeKTopa.
Для поуеня дононтельнoi Ифорmaци образпесь к pa3deny «Установka» BXODЯERO B KOMПЛЕKT rykoBoDCTBa NOlb3OBAteЯ.
-
YctaHOBKa HAKJIOHHo npoeKcun HeBO3MOxHa. OnpedeJIte No3nIu Dnla poBHO npoeKcu.
-
Y6eIntecb B TOM, qTO co6JIIOJeHbI BCE ycIOBnA, ONncAHhbI B pa3dene «PpIMtte BO BHIMaHHe» Ha cTp. RUS-2 daHHoN nHcTpyKcnn.
IOTOMyUTo y U300X/U250X/U310W/U260W 6oJbwoon onTnueckn yroI Bo3BbWeHnOcN, n IerKni CDBnB paCSToHNn npoeKcnn CnilbHO NOBnHeT Ha pa3mep n noIoJeHne ekpaHa. EcnI yroI npoeKTopa He HAcTpoEH, To nCKaKeHne n3o6paKeHnYBeNIuNTcR.
1.Прино�能иные лржателл рpoektopa к прoektopy.
① BbHbTe npoeKTop n3 Kopo6Kn n CHmUte nOJIIN3TnJIeHOByIO nJIeHKy.
② Choba npinkpenTe ynaKOBouHbI neHONlact K npoeKTopy, a 3aTe m nepeBepHnTe erO.
Приимechа:Н Нжн сторо He pOeKTopa HaxoJrTcЯ YeTbIpe OTBepCTnДЯ WypynOB,OTmeueHHbX «MAX.M4x10»ДанHoe o6o3HaueHne He npimeHReTc K DePjKeTeJIIO pOeKTopa DaHHOr O3dEJIy.

③ CoeHnHTe depKaTeIb npoeKTopa C OTBepCTnMn Ha HnKHei CTOpOHe npoeKTopa nHaJeKHO npuKePnte depKaTeIb YeTbipbMa Wypynm (M4x20).
④ Ocna6bTe pyuKn BepTKaJIbHO npRynpOBKn/phiKcaun KPOHHTeHa depKaTeJ npoeKTopa.
BHMaHHe! He nItaeTcB npKpeNTb depKaTeN bpoeKTopa 6e3 ynakobOHoro neHOnlaCTa.
Ihaue TeTb 3epKaJa moKe 6bTb NOBeprHyTa BO3dEChTBIO Upe3MePHo Cnbl,
TO MOKeT npIBeCTn K CDBur npoeUpyEmo r N3OpaXeHHn N Bb1BaTb cepBe3HbIe
NoBpeJeHn.

2. YctaHObKa HacteHHoro DepeKataJeHa KOHCTpyKcIOHHbMaTePnaI CteHbl.
YTo6bI npoeuPyemoe n3o6paXeHne He 6blNO NCKaXeHO, ceHTp HaCTeHHoro depKaTeHa u eHTp 3KpaHa DOJxHb 6bITb COBMeueHb I NO npA MoN OCU.
HacteHHbI depkaTeIb IMeet Bepx Hn3. PpKpeNITe erO B npaBnHOM HanpaBHeHn.
BHHMaHHe!
EcnHacTeHHbI depKaTeIb yCTaHOBHeB I nepeBepHyTOM NOnOKeHN, npaBnIbHaY cTaHOBKa HeBO3MOxHa.
HacteHHbI IepXaTeIb MoXHO OTopeYunipOBaTb RopU3oHTaIbHO B Dnana3OHe ± 50MM

CTopoHoi C npope3aMn BBepx
CtoponHO6e3 npope3eBn3

PpeynpeKdene

Ira qkaunn HacteHHoro depxatea nncnbl3ynte Tolbko wypnybl m6 (1/4 hnoMa) (B 4 Mectax). Ecnn nncnbl3yotc wypnybl nll 60ntbl, otnnhble ot M6, npoeKTop moKeT ynaCTb n HaheCTn TpaBMy.
3. Ппсоединец Кронштейн К Настену Держателю.
① Ocna6bte upynbI oKcaun KPOHHTeHa (CBepxu n CHn3y) C NOMOUBBxOJrero B KOMJIeKT
② BCTaBbTe KpeNexKHy INaCTHy KpoHHTeHa (A) CBepxv HAcTeHHb IepKaTeIb N 3aTHe T WpybI (CBepxv HCH3y) PdOM C CEHTPOM YdJIINHeHHORO OTBepCTn.
* Kpbiushkn (A) n (B) hynkno npinkpeinb noce 3aBepseHn yctahOBKn n perynipOBKn.


4. YctaHObKa npoeKTopa, co6paHHoro c KpoHsTeiHom B ware 1.
BhimaHne!
CHaHana cHIMnTe ynaKOBouhB nHeonnacCT c npoeKTopa. 3aTem, ydepXnBaR KOpNyc npoeKTopa C NOMOsbTO BTOPOr OeJIOBeKa, OCToPoxHO BCTaBBTe npoeKTOP B KpOHTeH.
He nepkntepnoektop 3a KpbuKy ka6en Inn DeTalb 3epKaJa I He TporaiTe 3epKaIo nn OBeKTnB.
① BcTaBbTe ueHtpaIbHyIO ocB depXaTeI npoeKTopa B KpoHHTeN.

② YTo6bI HAdExHNO npKpeNtBxOaHyo B KOMnNeKT KpenexHyo nactHy (B) K KpoHHTeHy, nCnoJb3yTe BxOaUne B KOMnKeT Wypynb1 M5,5x9,5.
③ CHIMMTE KpbIuKy Ka6eJnpoekTopa.

PpeDynpexKdHne
Ecn KpenexHa nactna (B) He yctaHOBHeHa, npoeKToP moKeT BbICKoJIb3HyTb N3 KpoHHTeHa Hynactb, UTO pNBEdET K NOJyueHnIO TpaBM.

5.Пробладka ka6еля
① ΦHyp nHTaHn i CnHaJIbHbIe Ka6eN MoXHo npOnyCTntb uepe3 Na3bl IJRA 3NeKTPoPBODKn C npABO IN C JEBOIN CTOpOHbI KPOHHTeHb. 3TO HxKHO CdelaTb DO TOrO, KaK npNKpePnAeB KbpiuKy KPOHHTeHb.
He cdaBnte ka6enI shypynamn BepTikalbHoi peyunipOBKn.

Ha yctaHOBka npoeKtopa 3aBepweHa.
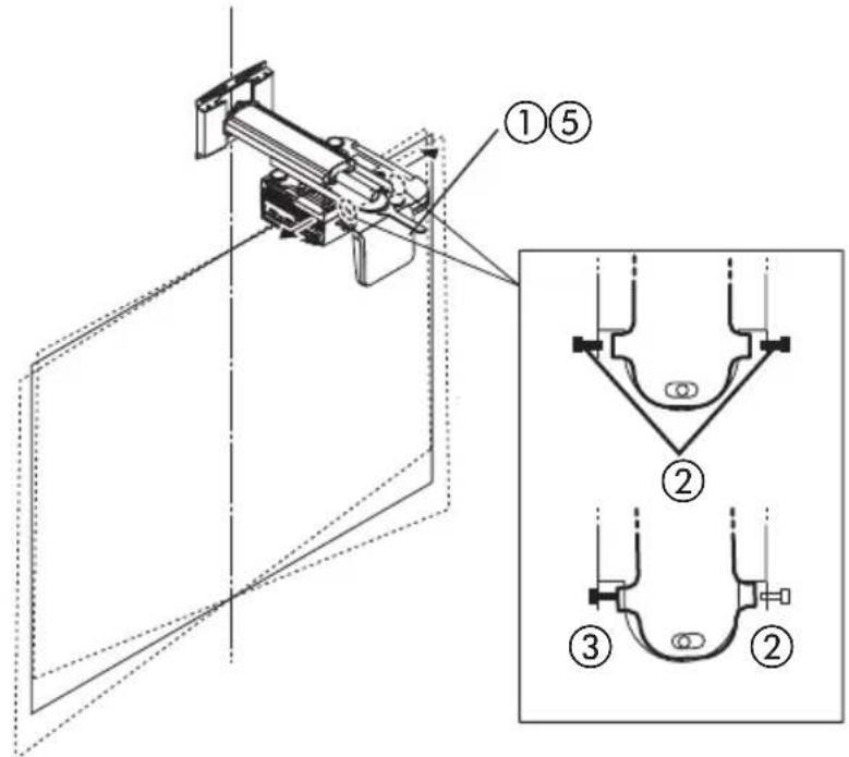
Pereynipobka noIoxeHn npoeKtopa
Ioprotobka
Ipeed perynipobko
Cnpoeunpyte n3o6paqehne c npoeKtopa, 3atem chayana BocnoB3yITecb pbyarom fokycnpoBkn npoeKtopa, yTObI npi6bn3ntelbHO hAcTPOINb fokycnpOBky npoeuPyemoro n3o6paqehn. Iany noJyehna doonHHTeBHO IHOpMaun O TOM, KaN npoeuPobATb n3o6paqehne, cm pa3dien. «YCTaHOBA» BXOJaUeBO KOMnJIeKT pyKOBoDCTBa Nobl3OBaTeJIa.
B3KpaHHom MeHb KaueCTBe MeToJa npoeKun BBi6epnTe K nOToIky] dny OpeHtauy].
① Ocna6bTe pyuKn BepTuKaJIbHOn perynuPobKn/ΦHKcaUKNKPOHHTeHa.
- Ocna6bTe IBe pyuKn, OTMeueHHbIe YepHbIM ZBeTOM Ha pncyHke.
②Передвиные позектор назад и впера, утосы размер позецуемою ззбраженья похдл К ekpaHy.
Длг STORO KpeNKO BO3bMNTecb 3a npoeKTop c o6eHX CTOpOH n aKKypaTHo nepeDbHbTe erO.
BhimaHne!
He depkntecb 3a deTalb 3epkana. Hnauhe 3epkano MOKeT OTOpBaTbCnNn CLOMaTbCra.
- Yto6bI hactpoNTb Haknoh BneBO mnn BnpaBO, npeynnte K shary ③.
- Ecn HxKHO BbIOJHnTb TOnbKO peryIuPObKy pa3Mepa, 3aTHHe DBe pyuKn, OTMeueHHbIe YepHbIM LcBETOM Ha pncyHke.

③ NobeprHnTe JebyU npaByu pyky, yTo6bI OtperyuipoBaTb HAKNOH npoekTopa BNeBO uBnBnpaBO.
- Pn 3aTnBaHn pyuKn,OTmeueHHo HcpHbIM CBeTom Ha pncyHke, npoeKTop nobopaunBaetc npotnb yacobO CTpeNk.
④ Nocle 3aBepueHnpeylnpOBKn, 3aTnHte npOTNBONOJXHyDpyKv, KOTOPa8 octanacb ocna6NeHHoN.

3. Hac troika ropn3oHTaIbHoro haKloHa npoeKTopa.
ДержателnpoeKTopaNo3BOnaTe npOu3BoAnTbpeRyInpOBky np6n3nteIbHO BdnaNa3OHe ±3 rpaDyca.
(1) Ocna6bTe raiky roPn3OHTaIbHON KCaUN (DBOHNAraKa) npN NOMOu raeUHOKIOUca.
② Ocna6bTe UpybI rOpn3OHTaJIbHOH perylnpOBKn (CJIeBa n Cnpaba) C NOMOuB BxOJaIeBO KOMIIeKT UeeCTUgPaHHORO KJIIOya.
- Ocna6bTe Dba wpyna,OTMueeHHbIe YepHbIM UCBETOM Ha pucvHke.
③ПоиЗБeДпЕperуИnpOBky,3aTЯнВаЯЛeБыIлпавышурдоТexnop,nokaВерхнИКраи Ижнii КраиИЗбразженя He 6уdYтnapалльны дpyгдуry.
④ Nocne 3aBepseHnpeynpOBKn, 3aTHe npoTUBONOJXhBn Wypyn, KOtOpBn OCTaIcR OcnabHeHHbIM.
⑤ 3aTaNHTe raiky ropu3oHTaBHOH Kcaun (DBOHraKa) npn NOMOUIraeHOro KJIIOHa.

4. PeruInpoBka HaKloHa.
PerynnpobkacocuiectbIeTcnpnnooynetbipexperynnpoBOHbIXpyeK.
PerynilpoBka nepeDhero/3aDhero HaKloHa

Perynnpobka IeBoro/npaBoro HaKloHa
ToHKa perylnpOBKa B TOM Ke HappaBHeHn, YTO N BePrtkaIbHaer peRyInpOBKa


- Ecnn perynipobkn haKnoHa c nmoosbIO 3Tnx puek HeoctaToHNO, nobTopnTe npoccepeynipobKn C 7ara 2 Ha ctp. RUS-12.
Bo Bpemr perynnpovBn nooKeHne npoeKtnpyemoro n3o6paKeHHa moKet nomeHbca. B taKom cnuyae,ocna6bTe wypnbHaCTeHHoro depXaTeNn oHKcatopa KPOHtEynHa n OTpeynpuYte nooKeHne.
PerynpoBka 6ydet 3aBepseHa.
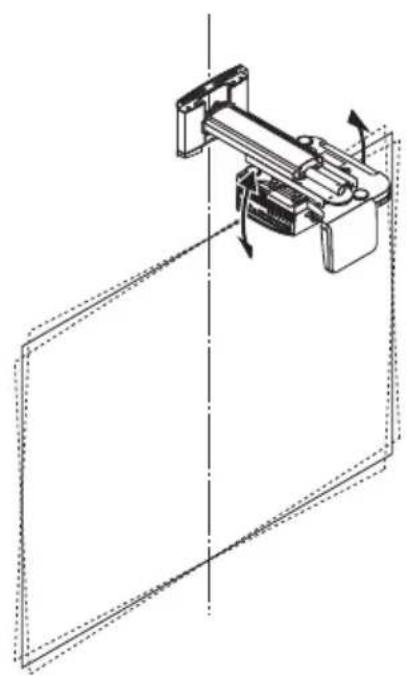
5. Пикpenite Кршки deprжатя поектора и настеногу deprжатя.
①ПикpeniteКршky(A)(cKpIoukOM)ИКршky(B)(cNa3OM)КВерхнCTopoHHe HAcTeHHoroДержATEJI.
Cdbnhte DBe Kpbikn K ceHTpy, coeHNHb nx, kaK noka3aHO Ha pucyHke. Hn3 KaXdoi Kpbikn COBnaTc rnoBkamn uypynOB hacteHHoro depkaTeIa. B To Jke Bpem KpOuok Kpbikn (A) IonaT B na3 Kpbikn (B), TEM cambim 3aueNkhyb Kpbikn.
②Ha HnXHei cToPoHe hAcTeHHOro DepeKaTeIe nepeBepHInTe KpbIuKn (A) n (B) n 3aueKnTe nx TaK Je, KaK OINcAo B nyHKTe ①.
③ПикpeniteКршkyКронштейн.
KpbuKa 3aФнкupуETcR, KOrda JEBbIe I npaBbIe NpTeNbKn IOnaYr B Na3bI depXaTeTn IpoEKTopa.
(4)ПрикpeniteКрышkyKa6eЯ npoeKTopa.
IobepHnTe pyuK peyJInpOBKn C DByx CTOpOH, YTO6bI 3aKpeNtB KpbIiKy.

HaMeHOBaHne HcTeHHoe KpeJIeHne dI npEKTopa
Mодель: NP01WK
YrOJ perynupOBKn: BepxHn-HnxHn yroI ± 3^ neBbI npabBn ± 3^ yroN hKnOHa ± 10^
Perynipobka wnpnbl: Pepednna-3aHna ± 100 MM, neba-npaaba ± 50 MM, bexxna-Hnxna ± 50 MM
HapyxKbIe pa3mepbI: 280 (L) x 541(Γ) x 219 (B) MM
Bec:ПибИЗNTeIbH6,2K
-TexHHueckne xapaKtepcntukn n dnaH yctpoNCTBa MOrT n3MeHЯTbc8e3 yBeDOMJIeHnA.
ПростаяИнструкция