U300X - Projektor NEC - Bezpłatna instrukcja obsługi
Znajdź bezpłatnie instrukcję urządzenia U300X NEC w formacie PDF.
Questions des utilisateurs sur U300X NEC
0 question sur cet appareil. Repondez a celles que vous connaissez ou posez la votre.
Poser une nouvelle question sur cet appareil
Pobierz instrukcję dla swojego Projektor w formacie PDF za darmo! Znajdź swoją instrukcję U300X - NEC i weź swoje urządzenie elektroniczne z powrotem w ręce. Na tej stronie opublikowane są wszystkie dokumenty niezbędne do korzystania z urządzenia. U300X marki NEC.
INSTRUKCJA OBSŁUGI U300X NEC
Haedexho 3aTAHnTe Bce wypynb i nperynloPoBOHbIe pyuKn.
Uchwyt scienny do mocowania projektora
NP01WK Instrukcja instalacji i obslugi
Dziekujemy za zakup uchwytu sciennego do mocowania projektora firmy NEC.
Prosimy o dokladne zapoznanie są z niniejsza instrukcja w celu uniknięcia niewlasciwo go uzycia. Uchwyt scienny NP01WK jest przyznaczony wyłącznie dla projektorów U300X/U250X/U310W/U260W iNie sączy uzywany z innymi projektorami.

Instalacja projektora powinna byc wykonana przy cz osobę z uprawnieniami. Instalacja nigdy nie powinna byc wykonywana przyckaientsa.

Informacja dla sprezedawcy i montaźysty
W celu zapewnienia bezpieczenstwa klien ta zalecamy przyrozpieczeciem instalacji dokladne sprawdzenie,czy wytrzymałość mistręsca montazu jest wystarczajęca,by zapewnic utrzymanie projektora i uchwytu.
SPIS TRESCI
Wazne informace.. .POL-2
Przygotowanie do montazu .POL-4
Zawartosc opakowania .POL-4
Nazwy elementów uchwytu. .POL-5
Wymiary elementów uchwytu .POL-6
Mocowanie projektora.. .POL-7
Ustawienie pozycji projektora .POL-12
Dane techniczne. POL-16
Wañne informacre
Symbol
W niniejszej instrukcji uzyte są roźne symbole w celu zapewnienia bezpiecznégo i wąciwego korzystania z produktu oraz znielłowania ryzyka odniesenia obrăći zzniszczenia wąsność. Symbole i ich znaczenia podane są poniȩj. Prźed Rozpoczeciem korzystania z instrukcji upewnij sie, ze dobrze Rozumiesz znaczenia symboli.

Ostrzeżenie
Niewlasciwe Rozumienie i ignorawanie tej wskazowki要去 spowodowauszkodzenia ciala, skutkujace smiercia, powaznymi obrazeniami itp.

Uwaga
Niewlasciwe Rozumienie i ignorawanie tej wskazówki moź spowodowej obrażeniaciała i zniszczenia w najbliszym otoczenia.
Przykladowe uzycie symboli:

Symbol zwracajcy na cos uwage (w tym ostrzezenia) Konkretne uwagi są okreslone znakami.

Symbol wyrażajcy zakazane czynnosci Konkretne zakazy są okreslone znakami.

Symbol wyrażajcy obłowźtkowe czynnosci Konkretne instrukcje są okreslone znakami.

Ostrzeżenia

W czasie instalowania i ustawiania pozycji projektora postepuj zgodnie z informacjami zawartymi w niniejszej instrukcji. Projektor要去 spaść i spowodowej szkode, jeźeli zostar nieprawidłowo zastalowy i ustawiony.

- Aby zapobiec spadnięciu projektora, zainstuluj i zamocuj projektor, tak by zapewnic odpowiednio wytrzymały podparcie dla sącznej wagi (około 12,7 kg) projektora (około 6,5 kg) i uchwytu scienngo (około 6,2 kg), biorac pod uwage dlugi czas uzytkowania i odpornosc na trzesienia ziemi. Niewlasciwe podparcie lub mocowanie要去 prowadzić do spadnięcia projektora i spowodOWANIA szkody.
Zachowaj nastepujuce srodki ostrožnosci:
-
Uzyj srbu i wkrétów M6 (1/4 cala) do mocowania adaptera sciennego.
-
Uzyj gniazdka scienngo jako zrodla zasilania dla projektora. Nie podlaczaj bezposrednio dla lampy, poniewaz jest to niebezpieczn. Poza tym uzywaj latwo dostepnego gniazdka zasilania, tak by moza bylo podlaczyc i odlaczyc wtyczke.
-
Mocowanie na drewnianej scianie
Sprawdz,czyladunek jest zamocowy na filarze lub konstrukcyjnie wytrzyma tym materiale. Jeźeli wytrzymałość materiafu konstrukcyjné gotp. jest niewystarczȩca,NSEgo wzmocnić. Nie mocuj na elementach wykończeniowych sciany, listwach itp.
- Mocowanie na betonowej scianie
Uzywaj przyemysłowych srub kotwowych M6 (1/4 cala), nakrtek kotwowych i podobnych, ktore są w stanie dzwigać cięzar projektora.
| Ostrzejezenia | |
| • Nie instaluje w.),...,...,...,...,...,...,...,...,...,...,...,...,...,..., ... Mogłowę do obłuzowania są)...w!,...,...,...,...,...,...,... | |
| • W (...) celu zapewnienia bezpieczność,...,...)...,...,...,...,... | |
| • W (...) ... | |
| • Nieu wyajwaj zepsutych...,...,... | |
| • Nieu wyajwem...,...,... | |
| • Nieu wyajwaj,... | |
| • Nieu wyajwaj,... | |
| • Nieu wyajwaj,... | |
| • Nieu wyajwaj,... | |
| • Nieu wyajwaj,... | |
| • Nieu wyajwaj,... | |
| • Nieu wyajwaj,... | |
| • Nieu wyajwaj,... | |
| • Nieu wyajwaj,... | |
Zawartość opakowania
Prosimy o sprawdzenie zawartosci opakowania.

Adapter scienny:1

Oslona (A, B):2 pary

Ramie:1

Oslonaramienia:1

Adapter Projektora:1

Phytka (B):1

M4 szub:4
M3,5 srb:2

Klucz heksagonalny:1

Instrukcja instalacji i obsfugi:1
Nazwy elementów uchwytu

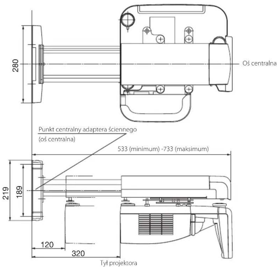
■ Wymiary elementów uchwytu: (jednostka: mm)
Opisane zostaly wymiary ustawien szub (wkretow) mocujacych uchwyt scienny.


Czynnosci wstepne
- Okresl.), ustawenia ekranu i odpowiednio podejmij decyzje o mistrscu instalacji uchwytu sciennego.
Poszukaj wiccej informaciw rozdiale "Instalacja" instrukcji obslugi projektora.
-
Nie jest mözgliwa instalacja, majęca na celu projekcję skośna. Okresl.), Okresl.), Okresl.), Okresl).
-
Sprawdz,czy spelznione sā wszystkie warunki opisane w rozdziale „Wañne informacja" na stronie POL-2.
-
Ze wzglidu na duzy kát podniesienia osi optycznej w projektorach U300X/U250X/U310W/U260W nieznacznza zmiana w odleglosci projektora wplynie w duzym stopniu na Rozmiar i umiejscowienie ekranu. Ježeli kát ustawientia projektora jest blédny, znieksztafcenie obrazu bedzie sie powiększać.
-
Przymocuj adapter projektora do projektora.
① Wyjmij Projektor z pudełka i zerwij foliowe opakowanie.
② Przytrzymaj piantkowe oslony na projektorze i odwróc projetor do góry.
Uwaga: Na spodzie projektora znajduja sie cztery otwory na s Ruby zaznaczone jako MAX.M4x10". Ta wskazowka nie odnosi sie do adaptera projektora w tym produktie.

③ Ustaw równo z otworami na spodzie projektora adapter projektora i mocno go przykreć czterema znajdujacymi są w zestawie srbami (M4x20).
④ Poluzuj regulacja pionowa/pokretła mocowania ramenia adaptera projektora.
Uwaga Nie probuj dołacć adaptera projektora, gdy brak piankowych osf. W przyciwnym razie na lustro projektora są za podzialć nadmierną sila, kóra doprowadzi do przesunięcia wyświetanego obrazu i spowoduje powazne uszkodzenia.

2. Przymocuj adapter scienny do materia'u konstrukcyjngo sciany.
Aby zapewnic obrz bez znieksztalcen, centralnypunkt adapterera sciennego i centralnypunkt ekranu powinny byc zbiezne do prostej osi.
- Adapter scienny posiada dolny i gorny kierunek ustawienia. Sprawdz,czy mocujesz adapter w prawidlowym ustawieniu.
Uwaga Jeźeli adapter scienny zostaf zamocowy w niewlasciwym kierunku, prawidłowia instalacja nie jest moziwa.
- Adapter sciennyUNCTA regulawc poziomo w granicach ± 50 mm.

Strona z wycieciem na wierzchu
Strona bez wyciecia na dole

Ostrzeżenie

Uzyj wylacznie srb i wkrtow M6 (1/4 cala), (4.), do zamocowania adaptera sciennego. Jezeli dostana uzyte s Ruby inni nz M6, projektor moze spa sc i spowodowac strate.
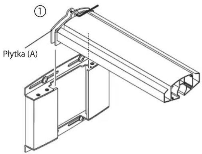
3. Przymocuj ramię do adaptersciennego.
① Poluzuj s Ruby mocujuce rami (na górze i na dole) za pomocá dołaczonego klucza heksagonalnégo.
② Nałoz plytkę ramenia (A) na adapter scienny od góry i dokrec s Ruby (naGORze i na dole) w poplizu srodka podfużnych otworów.
- Osłony (A) i (B) daneź załość po zakończeniu instalacji i regulacji.


4. Zamocuj przygotowy w kroku 1 Projektor na ramieniu.
Uwaga
Aby to zrobie, najpierw usun z projektora piankowe oslony. Nastepnie z pomocag drugiej osoby chwyc Projektor i ostroznie umieszic go na ramieniu uchwytu. Nie trzymaj Projektora za schowek na przyzwod lub czesc lustrzana i nie dotykaj lustra lub obiektywu.
① Wprowadź os centraln adaptera projektora w ramie.

② Uzyd woch zauczonych srb M5,5x9,5, by pewnie przymocowac zauczona plytke (B) do ramienia.
③ Zdejmij schowek przywodu projektora.

5. Uładanie kabli
① Przewód zasilania i kabel sygnałowy moga przechodźć przyszczeline na przywody z lewej iRAWEJ strony ramenia. Tc czynnosć nalezy wykonac przy załozeniem oslony ramenia. Uważaj, zeby nie zgnieszć kabli srbami regulacje poziomej.

To konczy instalacja projektora.
Ustawienie pozycji projektora
Czynnosci wstepne
Przed Rozpoczeciem regulacje
- Wyswielt obraz z projektora, nastepnie uzyj dzwigni nastawienia ostrosci projektora, by w przyblizeniu ustawic ostrość wyswiétranego obrazu.
Poszukai informaci o tym, jak wyswietlic obraz, w rozdziale "Instalacia" instrukcij obslugi projektora.
- Z wyświetlonego na ekranie menu wybierz „Ceiling Front" (sufitowe przyednie) w „Orientation" (ustawienie) są spoosobu wyświetlania.
1. Sprawdz Pokrętka regulacje nachylenia.
Upewnij sie, ze cztery Pokretfa regulaci nachylenia majorustawiona te sama wysokość regulaci.
Jeźeli płytka mocujacja projektor jest ustawiona skosnie, niedożna wykonac prawidowej regulaci poziomej i pionowej.

Phytka mocujaca Projektor
Wysokość regulacje pokretła
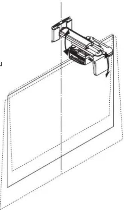
2. Ustaw rozmiar wyświetlanego obrazu i lewe/prawe nachylenie.
- Ilustracja w tej instrukcji pokazuć regulacja dla obrazu o wspólczyniku sztátu 4:3. Nie jest omawiane podłuczanie przyzewodów ekranu i projektora.
Ustaw rozmiar wyświetlanego obrazu i, jesto konieczne, nachylienie zgodnia ze wskazówkami zegara lub w strone przyciwna.
① Poluzuj regulacja pionowa/pokretła mocowania ramenia. - Poluzuj dwa pokretła zaznaczone na tej ilustracje na czarno.
② Przesun Projektor do tylu lub do przyd, tak by uzyskać odpowiedni dla ekranu Rozmiar wyświetlanego obrazu. Aby to zrobiec, chwyc pewnie z obu stron Projektor i ostrożne go przyszun.
Uwaga
Nie chwytaj czeci lustrzanej. W przyciwnym razie lustro moze oderwac sie lub zostaczniszczone.
- Aby wyregulować nachylenie w kierunku prawym lub lewym, kontynuuj od kroku (3).
- Ježeli wykonywaneBSDt ytlko ustawianie rozmiaru, dokrec dwaPokretlPokazane na ilustraci na czarno.

③ Obróc w lewo lub w prawoPokretto,aby wyregulowa nachylenie projektora w lewym lub sprawym kierunku.
- GdyPokrettoPokazane na ilustraci na czarno jest dokrpecane,projektor obraca sie w kierunku zgodnym ze wskazowkami zegara.
④ Po zakończeniu regulações dokrec przyciwlegle, wymią poluzowane pokretlo.

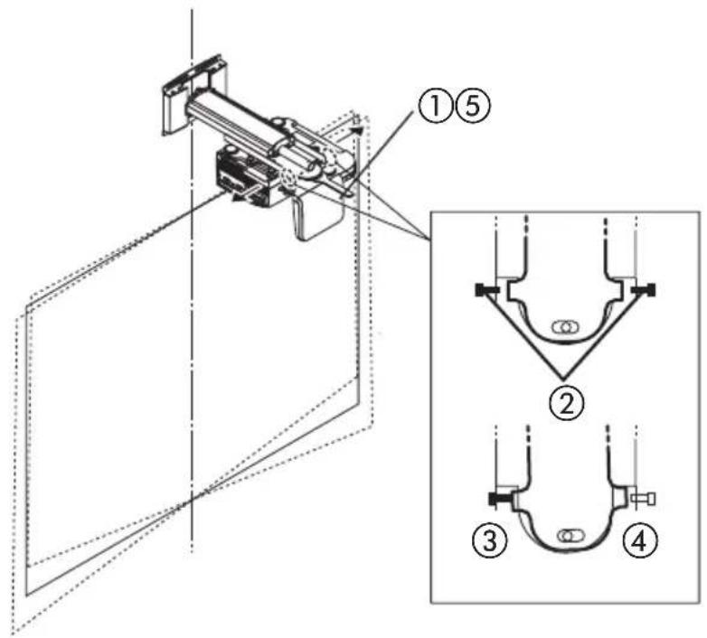
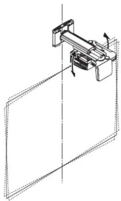
3. Wyreguluj poziome nachylenie projektora.
Adapter Projektora umozliwia wyregulowanie w zakresie okofo ± 3 stopni.
① Poluzuj nakretke poziomego mocowania (dwustronnie) za pomocaj klucza.
② Poluzuj s Ruby regula cij poziomej (po lewej i prawej) za pomocadotaczonego klucza heksagonalneo.
- Poluzuj dwie s Ruby zaznaczone na tej ilustraci na czarno.
③ Wykonaj regulacja przyzek和完善ie prawej lub lewnej s Ruby, dopóki górna krawędź i dolna krawędź obrazuNie są rownolegle.
(4) Po zakończeniu regulaci dokrec przyciewleg!, wcią poluzowaną srule.
⑤ Dokreć nakrátké poziomego mocowania (dwustronnie) za pomocaj klucza.

4. Wyreguluj odchylenie.
Regulaçji odchylenia dokonuje sie za pomocaj czterechPokretet.
Regulacja przyzniego/tylnego odchylenia


Regulacja lewego/prawego odchylenia
Dokladna regulacja w tym samym kierunku, jak przy pionowej regulacje


- Jeźeli regulacja odchylienia za pomocymi tych pokrzej nie jest wystarczȩca, powtórz procedure regulacje od kroku 2 na stronie POL-12.
- Podczas regulações położenie wyswietlanego obrazu są sązmieniec. W takiej sytu⁺ji poluzuj adapter scienny wraz ze srbami mocujacymi ramie i wyregulj położenie obrazu.
To konczy regulacja.
Mocno dokrć wszystkie struby i pokretła.
5. Załoz osłony na adapter projektora i adapter scienny.
① Załoz oszone (A), (z haczykiem) i oszone (B), (z wycieciem) na górnę czȩć adaptera sciennego. Przesunu obie oszone w strone srodka, jestnoczenia naciskajć je w dóf, tak jakPokazano na ilustracje. Dolna czȩć kaczdep j oszone zaczepi sie o lebki srub adaptera sciennego. W tym samym czasie haczyk oszone (A) wejdzie w wyciecie w oszone (B), blokujac oszone.
② W czeci dolnej adaptera sciennego odwroc ustawienie oslon (A) i (B), a nastepnie połacz je w sposob opisany w ①
③ Zaloz oslonergamienia. Oslona jest zaolzona, gdy lewa i prawa klapka zaczepia sie o naciEcia na adapterze projektora.
4 Załoz schowek przywodu projektora. Przykreć pokretla po obu stronach, aby unieruchomic oszone.

Nazwa produktu: Uchwyt scienny do mocowania projektora
Model: NP01WK
Regulacja kąta projekcj: Ką góra-dóf ±3°, kąt lewa-prawa ±3°, kąt pochylenia ±10°
Regulacja zasięgu Przód-tyl ±100 mm, lewa-prawa ±50 mm, góra-dóf ±50 mm
Zewnetrzne wymiary: (szer. x grieb. x wys.) 280 x 541 x 219 mm
Ciezar: Okofo 6,2 kg
- Dane techniczne i wyglad moga zostaczmienione bez powiadomienia.
NP01WK 安装与调试手册
感谢您选购此 NEC壁挂式装置。
ProstaInstrukcja