MEGA 600 D - Kompressori METABO - Ilmainen käyttöohje ja opas
Löydä laitteen käyttöohje ilmaiseksi MEGA 600 D METABO PDF-muodossa.
Käyttäjien kysymyksiä aiheesta MEGA 600 D METABO
0 kysymys tästä laitteesta. Vastaa tuntemiisi tai esitä omasi.
Esitä uusi kysymys tästä laitteesta
Lataa ohjeet laitteellesi Kompressori PDF-muodossa ilmaiseksi! Löydä käyttöohjeesi MEGA 600 D - METABO ja ota elektroninen laitteesi takaisin hallintaan. Tällä sivulla julkaistaan kaikki laitteidesi käyttöön tarvittavat asiakirjat. MEGA 600 D merkiltä METABO.
KÄYTTÖOHJE MEGA 600 D METABO
1. Laitteen yleiskuvaus

1 Kompressori
2 Ilmansuodattimen kotelo
3 PÄALLE/POIS-kytkin
4 Turvaventtili
5 Saliopaineen manometri
6 Saatopaineen manometri
7 Paineilmaliitanta sädeltyä, suodatettua paineilmaa varten
8 Letkurumpu paineilmaletkun kanssa
9 Verkkokaapeli
10 Paineilmalitantä saatamatontä, suodattamatonta paineilmaa varten
11 Suodattimen paineenalennin
12 Paineensäedin
13 Painesaillion kondenssivened tyh-jennysruuvi
14 Painesaio
15 Oljynpoistoruvi
16 Oljyn tarkastuslasi
17 Öljyntäytöputki
llman kuvaa
-Kayttokasikirja
- Varaosaluettelo
- Valmistajan paineastiatodistus
Sisallysluettelo
- Laitteen yleiskuvaus 70
- Lue ensin! 71
3.Turvallisuus 71
3.1 Tarkoituksenmukainen kayttö...71
3.2 Yleisiā turvallisuusohjeita 71
3.3 Symbolit Iaitteella 72
3.4 Turvalaitteet 72 - Kayttö 72
4.1 Verkkolitanta 72
4.2 Pystytys 72
4.3 Paineilman tuottaminen 73
5.Huolto ja hoitoo 73
5.1 Saannollinen huoTo 73
5.2 Laitteen sailytys 74
6.Toimitettavissa olevat lisatarvikkeet. 74/78 - Ongelman ja hairiot 76
- Korjaus 76
- Ymparistonsuojelu 76
10.Tekniset tiedot 77
2. Lue ensin!
Lue tama ohjekirja ennen laitteen kayttoonottoa. Huomioi erityisesti turvallisuusohjeet.
Mikali huomaat kuljetuksessa syntyneita vahinkoja pakkauksen purkamisen yhteydessa, ilmoita niistä heti tavaran toimittajalle. Ala ota laitetta kaytttoon!
- Hāvīṭa pakkaus ymparistöystävällisesti. Toimita pakkaus asianmukaisen jatteidenkeräyspaikkaan.
- Pidā tamā ohjekirja tallessa, jotta voit aina tarvittaessa kayttäa sitä. Mikāli kompressoria kaytetaän kaupallisessa kaytössa, sailyta myos paineilmakomponenttien tarkastustodistukset.
Mikali lainaat konetta tai myyt sen, luovuta aina myös koneen ohjekirjat mukaan.
3. Turvallisuus
3.1 Tarkoituksenmukainen käytto
Tämä laite on tarkoitettu tuottamaan paineilmaa paineilmakaytöisille tyokalulle.
Käytto läketieteellisellä alueella, elintarvikkeiden alueella sekä hengitysilmapullojen tayttäminen ei ole salittua.
Rajāhtāvi, palavia tai terveydelle vaarallisia kaasuja ei saada imea sisäan. Rahāhdysaltiissa tilassa ei käytto ole salittua.
Muu kaytto on märäysten vastaista.
Märäysten vastaisesta kaytosta, ko-
nen muutoksista tai osien kaytosta, joi
ta valmistaja ei ole tarkastanut ja hyväksynyt, voi aiheutua ennalta
arvaamattomia vauroita!
Lapset, nuoret ja ei opastetut henkilö
eivat saa käytäa laitetta ja sihen liitetty
ja paineilmatyokaluja.
3.2 Yleisiä turvallisuusohjeita
Huomioi tata sahkolaitetta kaytettaaessa seuraavat turvallisuusohjeet, jotta vaarat henkilolle ja esinevahingot valttattaisin. Huomioi kappaaleissa olevat erityiset turvallisuusohjeet.
Säilyt haulellisesti kaikki koneen mukana toimitetut dokumentit.
Huomioi tarvittaessa kompressorien ja paineilmatyokalujen kasittelyyn liittyvat ammattiyhdistyksien ohjesaannot ja tapaturmantorjuntamaraaraykset.
Noudata ammattikayttajänakimäräisiohjeita, joka koskevat valvontaa vaativien laitteistojen kayttoa.

Yleinen vaara!
Pidä työmpäristö siistina - epäjärestys voi johtaa onnettomuuksin. Ole tarkkaavainen. Keskity työhosi. Työskentele järkevasti. Alä kayta sahkolaitetta, mikali keskittymiskykysi on hāiriintynyt.
Huomioi ympariston vaikutukset.
Huolehdi hyvastaa valaistuksesta.
Valtä epanormaaleita asentoja. Huolehdi tukevuudesta ja sailyta aina tasapainosi.
Huomioi, etta sahkolaite on tukevasti paikoillaan ja ettei se voi kaatua (tarkasta renkaiden ilmanpaine).
Alä kayta tata sahkolaitetta palavien.
nesteiden tai kaasujen laheisyydessa.
Pida lapset etallä tyolalueesta. Alä kayton aikana anna muiden henkiloiden
koskea tyokaluun tai verkkokaapeliin.
Alä ylikuormita sahkolaitetta -kayta tata sahkolaitetta ainoastaan teknisissä tiedossa annetulla tehoalueella.

Sähkõstä aiheutuva vaara!
Ala aseta tata sahkolaitetta sateeseen. Ala kayta tata sahkolaitetta kosseassa tai marassymparistossa. Valta taman sahkolaitteen kanssa tyoskenneltaaessakosketuksia maadoitettuihin osin (esim. lampopatterit, putket, hellat, jakaapit).
Alä kayta verkkokaapelia tarkoituksiin, johon sitä ei ole tarkoitettu.
Ulostulevasta paineilmasta ja osista, jotka paineilma vetä mukaan aiheutuva vaara!
Ala koskaan kohdista paineimaa henki-loita tai elaimia kohden.
Varmistu, etta kaytettavat paineilmatyokalut ja tarvikeosat on rakennetu kestmaan tyopainetta tai liita ne paineenalennusventtiin kautta.
Huomioi,että pikaliitintà irrotettaessa,
paineilmaletkussa oleva paineilma poistuu akillisesti.Pidā tän vuoksi paineil-
malekun irrotettavasta paastahyvin
kiinn.
Varmistu, etta kaikki ruuvilitokset ovat kirea.
Alä korjaa laitetta itse! Ainoastaan am-mattihenkilot savat suorittaa kompressoriin, painesaillioihin ja paineilmatyokaluihin kohdistuvia korjauksia.
Öljypitoisesta paineilmasta ai-heutuva vaara!
Alä kaytä oljypitoista paineilmaa ainoastaan sellaisten paineilmatyokalujenkanssa, jotka ovat tarkoitettu kaytettäväksi oljypitoisen paineillman kanssa.
Alä kaytö oljypitoisen paineilman paineilmaletkuja paineilmatyokalujen kanssa, jotka eivat ole tarkoitetu kaytettavaksi oljypitoisen paineilman kanssa. Alä tayta auton renkaita tms. oljypitoisella paineilmalla.
Palovammavaara paineilmaa johtavien osien pintoihin!
Anna laitteen jaahtyä ennen huoltotöiden aloittamista.
Loukkaantumis- ja puristumisaara likkuviin oslin!
Alica ota laitetta kayttoon ilman asennet-tua suojalaitteistoa.
Huomioi, etta kone kaynnistyy automaattisesti, kun vahimmaispaine on saavutettu! -Varmistu ennen huoltotoiden aloittamista, etta kone on irrottu verkkovirrasta.
Varmista, ettei pällekyktkettäessä (esim. huoltotöiden jälkeen) sahkolaitteessa ole enaay tyokaluja tai irtonaisia osia.
Kerittäessä paineilmaletkua ulos tai sisän, alä laita kattäsi kasikammen ja kuljetuskahvan valiin.
! Riittamattomastahenkilokoh-taisesta suojavarustukstesta aiheutuva vaara!
Käytä kuulosuojaimia.
Käytä suojalaseja.
Käytä hengityssuojainta polyavissä toissä tai kun muodostuu terveydelle vaaralisia hóryjä.
Käytä soveltuva työvaatetusta. Ulkona työskenneltäessä on suositelvaa käytäa liukumattomia jalkineita.
Sahkolaitteen vioista aiheutuvat vaarat!
Ala tee laitteeseen mita'an muutoksia. Jokainen paineilmaa johtaviin osiin tehty muutos johtaa siihen, etta typpiyväksyntä raukeea. Paineilmalaitteisiin littyviä toitä saavat suorittaa vain ammattilaiset.
Hoida sahkolaitetta ja tarvikkeita houelllisesti. Noudata huoltemaarayksiä.
Varmista, etta laitetta huelletaan ja se tarkastetaan saannollisesti.
Tarkasta sahkolaite ennen jokaista kaytokertaa mahdollisten vaurioiden varalta: ennen sahkolaitteen kayttamista taytyt tarkastaa huolellisesti, etta turvalaitteet ja suojalaitteet toimivat moitteettomasti ja tarkoituksenmukaisella ravalla. Tarkasta, toimivatko likkuvat osat moitteettomasti ja etta ne eivat jumitu. Kaikkien osien taytyy olla asennettuna oikein ja niiden tulee tayttaa kaikki niille asetetut vaatimukset, jotta sahkolaitteen moitteeton kaytto varmistettaisan.
Vaurioituneet suojalaitteet tai osat taytyy korjata tai vaihtaa asianmukaisesti, valtuutetun ammattikorjaamon toimesta. Anna asiakaspalvelukorjaamon vaihtaa vaurioituneet virtakytkimet. Aä kayta sahkolaitetta, mikä virtakytkintä ei voidea kytkea paalle tai pois paälta.
Pida kaskahvat kuivina ja vapaana oljysta ja rasvasta.
3.3 Symbolit laitteella

Typpikilven tiedot
(18) Valmistaja
(19) Tuote-, versio-, sarjanumero
(20) Laitenimitys
(21) Liitantajannite / tajuus
(22) Moottorin teho P1 (katso myos "Tekniset tiedot")
(23) Sulake / kotelointiluokka
(24) Sylinterien lukumäärä
(25) Moottorin kierrosluku
(26) Maatunnus
(27) Imuteho
(28) Täytöteho
(29) Kompressorin kierrosluku
(30) Maksimipaine
(31) Painesaillion tilavuus
(32) Valmistusvuosi
(33) CE-merkki - Tämä laite tayttäe EU-direktiliv vaatimuksenmukaisuusvakuutuksen mukaisesti
(34) Havityssymboli - Laite voidaan havittaa valmistajan kautta
(35) Paino

Huoltotarra
3.4 Turvalaitteet

Turvaventtiili
Jousikuormitetu turvaventtili (36) sijaitsee paalle/pois-kytkimella. Turvaventtili kytkeytyy paalle, jos salittu enimmaispaine ylitetaan.
4. Kaytto
4.1 Verkkoliitäntä

Vaara! Sahkojannite
Käytä konetta ainoastaan kuvassa ympäristössä.
Liitä kone vain sellaiseen virtalähteee seen, joka tayttä seuraavat edelly-tykset:
-
pistorasiat asennettu, maadoitettu ja tarkastettu märäysten mu-kaisesti;
-
sulakkeet vastaavat teknisissä tiedoissa annettuja arvoja;
Asenna johto siten, etta se ei hairitse tyoskentelya eika voi vahingoittua.
Tarkasta aina ennen verkkopistokkeen asentamista pistorasiaan,ettalaite on kytkettynä pois paälta.

Tarkasta pyorimissuunta!
Valheiden kytkennastä rillpuen on mahdollista, etta moottori pyorii väräraan suuntaan. Tämä voi johtaa koenev vauroitumiseen. Tämän vuoksi pyorimissunta on tarkastettava jokaisen uudelleenkytkennän jälkeen: kompressorin hihnapyörän taytyy pyoria nuolen (hihnan sujaristikola) suuntaan.
Pyörimissuunnan ollessa väärä täytyy verkkopistokkeen vaiheiden kytkennät vaihtaa:
- irrota verkkopistoke virtalähteestä.
- Vaihda vaiheet ruuvimeisselin avulla kuten kuvassa esitetty:
-Paina kytkintä (37) hieman sisaaan
-Kierrakytkintä 180^

- Liitta verkkopistoke uudelteen pistorasian.
Suojele verkkjohotra kuumuudelta, syovyttavilta nesteilta ja teravilta kul-milta.
Käytä vain riittävällä sisahkaisijalla varustettua jatkojohtoa (katso "Tekni-set tiedot").
Alä sommuta konetta vetamällä verk-kopistokkeen irti, vaan Pälle-/Poiskytkimellä.
Vedä kayton Ilopettamisen jälkeen verkkopistoke irti pistorasiasta.
4.2 Pystytys
Laitteen pystytspaikan taytyt tayttaa seuraavat vaitimukset:
Kuiva, vileä, suojassa pakkaselta
- Tukeva, vaakasuora ja tasainen alusta
! Vaara!
Virheellisestä pystytksesta voi ai-heutuavakavia onnettomuksia.
Varmista,etta laite ei paae rullaamaan pois paikaltaan ja kaatumaan.
- Alā vedā laitetta letkusta tai verkojohdosta.
Turvalaitteiden ja hallintalaitteiden taytyy olla aina helposti tavoitetta-vissa.
4.3 Paineilman tuottaminen
- Liitä paineilmaletku kompressorin.
Käytötarkoituksen mukaan käytettä-vissä on kaksi liitäntä:
Paineilmalitanta saedeltya, suodatettua paineilmaa varten (38).
Paineilmalitanta saatamatonta, suodattamatonta paineimaa var- ten (39).

- Kytke laite paalle (40) ja odota, kunnes maksimi sailiopaine on saavutetu (kompressori kytkeytyy pois pälta).

Sailiopaine naytetaan sailiopainemittarilla (41).

- Sääda säatöpaine paineensaatimella (42). Aktuaalinen saatöpaine nayte-täan saatöpainemittarilla (43).
Huomio!
Varmistu ennen paineilmatyokalun liittamista, etta kaytetyn paineilmatyokalun maksimaalista kayttopaineta ei ylitetal
- Liitta paineilmatyokalu kompressorin paineilmaletkuun. Nyt tyoskently paineilmatyokalun kanssa voidaan aloittaa.
- Kytke laite pois paalta,Jos tyoskentelya ei valittomasti haluta jatkaa. Veda taman jalkeen verkkopistoke myos irti.
5. Huolto ja hoit
! Vaara!
Ennen kaikkia laitteelle suoritettavia toita:
- kytke laite pois päältä.
- irrota verkkopistoke virtalähteestä.
- odota kunnes laite on pysahtynyt.
- varmistu, etta laite ja kaikki kaytettavat paineilmatyokalut ja lisātarvikkeet ovat paineettomia.
Kaikkien koneelle suoritettujen toiden jälkeen:
- aseta kaikki turvalaitteet taas toimintaan ja tarkasta ne.
- vermista, ettei koneella tai sen sisallä ole tyokaluja tai muita vastaavia esineita.
Tässä kappaleessa kuvattuja huoltoja korjaustöitä laajempia toitä savat suorittaa vain alan ammattilaiset.
5.1 Säännöllinen huolto
Huomio!
Tarkasta uuden kompressorin sylinterinkannen ruuvien kiristystiukkuudet (katso "Tekniset tiedot") ensimmaisten 50 ja 250 kayttotunnin jälleen.
Ammattikayttöa koskevia ohjeita:
Tee tarkastus- ja huoltosuunnitelma, jossa otat huomioon yrityksessa vaikuttavat tekijat kuten sjoituksen tai toimintatavan. Sisallytä sihen saannolliset tarkastukset, joka tekee tarvittavan patevyyden omaava henkilo.
Valvova viranomainen voi vaatia tarkastus- ja huoltosuunnitelmaa sekä todisteita siitta, etta tarkastukset on suoritettu.
Voit pyytäa oman maasi huoltotoimipisteeltä mallikappaleen. Osoitteet loytyvat varasaaluettelosta.
Ennen jokaista työskentelyn aloittamista
Tarkasta paineilmaletkujen mahdolii set vauriot, vaihda tarvittaessa.
Tarkasta ruuvilitoksien kireys, kiristä tarvittaessa.
Tarkasta liitantajohdon mahdolliset vauriot, annaravittaessa sahkoalan ammattilaisen vaihtaa johto.
50 käytötunnin valein
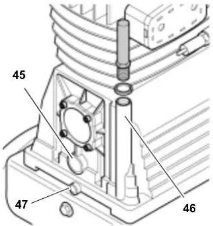
- Tarkasta ilmansuodatin (44) kompressorilla, puhdista tarvittaessa.

Tarkasta kompressorin oljyntaso (45), lisa oljya tarvittaessa (46).

Päasta paineastiaan tiivistnyt vesi pois astiaan (48). Tarvittaessa kallista tai nods laitetta.
Tilvistynyt vesi sisaltaa oljyjaamia. Havita tilvistynyt vesi ymparistoa sastavalla tavalla tomittamalla se vastaavaan kerayspisteeseen!
- Puhdista kierreliitoksen tiiviste ja kierre ennen kuin asat sen uudelleen paikoilleen.

Puhdistasuodattimen paineenentimen ilmansuodatin (49).

- Poista suodattimen paineenalenti-men kondenssivesi (50).
Tarkasta kiilahihna:
Ruvua hihnansuojaristikko (51) irti.
Vaihda tai kirista kiilahihna tarvit-taessa.
Hihnan kireyden saatamiseksi, loysaa moottorin jalalla olevat nelja ruuvia ja siirra moottoria.
- Kirista jalleen moottorin jalalla olevat ruuvit.
- Asenna hihnansuojaristikko jälleen paikalleen.

250 käytötninn valein
Vaihda kompressorilmansuodatin.
Vaihda suodattimen paineenalenti- men ilmansuodatin.
500 käytötunnin valein
Laske kompressorin oljy tyhjennysruuvilta (47) ulos ja vaihd a oljy uuteen.
#
Havita jateolj ymparistoysta
vallisesti vastaavan keräyspisteen kautta!
1000 kayttotunnin jälkeen
- Anna ammattikorjaamon suorittaa tarkastukset. Tällöin kompressorin käytöikä kasvaa huomattavasti.
5.2 Laitteen sailytys
- Kytke laite pois paalta ja irrota verkkopistoke virtalalteestä.
-
Ilmaa painesällio ja kaikki liitetyt paineilmatyokalut.
-
Säilytälaitettsiten, etteivat asiattomat voikaynnistaa sitä.

Huomio!
Alä sailytä suojaamonta konetta ulkona tai kosteassa ymparistossä.
Alä sailytä tai kuljeta konetta kyljellän.
6. Toimitettavissa olevat lisātarvikkeet
Erityisi tehtävi varten saat ammattilikkeistä seuraavia lisatarvikkeita - kuvat loytyvat sisemmälta takasivulta:
Tivistys
A Panospistooli KP 910
normaaleita panoksia varten.
Tuotenro 090 101 0030
Peltityöt
B Peltileikkuri BN 540 erityisen kapea leikkuusäde;leikkaateraspeltia 1,0 mm paksuuteen asti. Tuotenro 090 100 6784
Poraus
C Porakone BM 310 erittain helppokayttoinen laite tyoskentelyn helppottamista varten; oikealle pyoriva. Tuotenro 090 100 6725
Porakone BM 500 (ilman kuvaa)
pikaistukalla 3/8 ja pyorimissuunnan (oikea/vasen)
pikavaihdolla.
Tuotenro 090 105 4533
Nitominen / naulaus
D Yhdistelmmanaulain Kombi 40/50 nitojanastoille (typpi 90) 20 mm - 40 mm ja upponauloille (typpi SKN) 20 mm - 50 mm. Tuotenro 090 105 4720
Yhdistelmmanaulain Kombi 32 (ilman kuvaa) nitojanastroille (typppi 15 mm - 32 mm ja upponauloille (typppi SKN) 16 mm - 32 mm. Tuotenro 090 105 4711
Nitoja KG 80/16 (ilman kuvaa) nitojanastoille (typpi 80) 6 mm - 16 mm. Tuotenro 090 105 4681
Nitoja KG 90/25 (ilman kuvaa) nitojanastroille (typpi 90) 15 mm - 25 mm. Tuotenro 090 105 4690
Nitoja KG 90/40 (ilman kuvaa)
nitojanastoille (typpi 90) 20mm- 40 mm. Tuotenro 090 105 4703
- Uppokantanaulain SKN 50 (ilman kuviaa)
uppokantanauloille (typpi SKN) 20 mm - 50 mm.
Tuotenro 090 105 4738
Maalaus
E Väriruiskupistooli FB 2200 HVLP High-Volume-Low-Pressure-varustus vahentä varisumun hukkarois-ketta ja huolehtii materiaalin parenmasta levityksesta vahaisemmältaa maalin kulutuksella. Tuotenro 090 105 4460
Väriruiskupistooli FB 2200 (ilman kuvaa) 0,5 l-virtausastialla; ammattainen variruiskupistooli; säedettävissa portaattomasti pyör- ja leveäsuihkuva varten. Tuotenro 090 105 4452
Väriruiskupistooli SB 200 (ilman kuvaa) 1,0 l-imustialla. Tuotenro 090 100 3882
Väriruiskupistooli FB 150 (ilman kuvaa) 0,5 l-virtausastialla; pohjamaalauksin ja eri viskositeettisille maaleille. Tuotenro 090 100 3874
Väriruiskupistooli FB 90 (ilman ku-vaa) 0,75 I-virtausastialla; pohjamaalauksiin ja eri viskositeettisille maaleille. Tuotenro 090 105 6064
Talttaus
F Talttavasarasarja MHS 450 tyoskentelyyn rakennuksilla ja koriaueella. Tuotenro 090 100 9210
Talttavasarasarja MHS 315 (ilman kuvaa) rappauksen ja laattojen irrotukseen ja kevysiin tilkytostihin. Tuotenro 090 100 6911
Renkaiden taytö / mittaus
G Renkaan taytolaite RF 480
ammattikaytto n tarkoitetu rakenne (kalibroitu). Tuotenro 090 105 4630
- Renkaan taytolaite RF 363 (ilman kuvaa) kuten RF 480, kuitenkin kalibroimaton. Tuotenro 090 105 4622
- Renkaan taytolaite RF 200 (ilman kuvaa) renkaiden ja pallojen pumppaukseen
(kalibroitu). Tuotenro 090 105 6188
- Renkaan tayttolaite RF 100 (ilman kuvaa)
kuten RF 200, kuitenkin kalibroimaton.
Tuotenro 090 102 6724
Puhdistus
H Puhalluspistooli BP 200
täysmuovirakenne.
Tuotenro 090 105 4606
Puhalluspistooli BP 300 (ilman ku- vaa) taysmuovirakenne; erityisen korkea ilmamara venturisuuttimen lapi. Tuotenro 090 105 4614
Puhalluspistooli BP 70 (ilman kuvaa)
kyvymetallirakenne
(100 mm-pidennyksellä)
Tuotenro 090 102 6726
Puhalluspistooli BP 60 (ilman kuvaa) kevymetallirakenne (lyhyt). Tuotenro 090 102 6718
Ruvaus
I Iskuruuvain SR 230
kestävärakenne, soveltuva kotirak-
kentajien ja autokorjaajien kayttoen.
Tuotenro 090 105 6170
Iskuruuvain SR 340-sarja (ilman kuvaa) ammattimainen rakenne kattavien li-satarvikkeiden kanssa. Tuotenro 090 105 6137
Iskuruuvain SR 140-sarja (ilman kuvaa) soveltuu moniin kayttotarkoituksi n harrastuksissa ja auton korjauksissa; kattavien lisatarvikkeiden kanssa. Tuotenro 090 100 8582
Iskuruuvain SR 120-sarja (ilman kuvaa) vahainen ilmantarve, soveltuu taten myos pienemmille kompressoreille; kattavien lisatarvikkeiden kanssa. Tuotenro 090 100 6750
Räikkäruuvain RS 320 (ilman kuvaa)
kapean rakenteen ja kumitetun räikkäpaan ansiosta erittäin soveltuva auton korjaustarkoituksiin. Tuotenro 090 105 4541
Räikkäruuvain RS 220-sarja (ilman kuvaa)
Täydellinen sarja kattavien lisātarvikaiden kanssa.
Tuotenro 090 100 6717
Kiertoruuvain DS 1610 (ilman kuvaa) pyorimissunta oikealle/vasemmalle, pikasuunnanvaihdolla. Tuotenro 090 101 2440
Ruiskutus
J Ruiskupistooli SPP 161
kylmäpubudistusaineiden, öljyen,
nestemäisten vahojen yms. ruiskutukseen.
Tuotenro 090 105 4525
Yhdistelmaruiskupistooli UBS 820 (ilman kuvaa) normaaleille 1,0 I ruuvipanokssille. Tuotenro 090 105 4479
Letkut
K Letkurumpu ST 200 360^ -kannettavissa; 30 m PU-paineilmaletkun kanssa. Tuotenro 090 105 4568
Paineilmaletku kangassisuksella (ilman kuvaa)
pikaliittimella ja pistoholkilla; pituus 5m ; ulkohalkaisija 12mm ; sisahalkaisija 6mm .
Tuotenro 090 105 4908
Paineilmaletku kangassisuksella (ilman kuvaa) pikaliittimellä ja pistoholkilla; pituus 10m ;ulkohalkaisija 12mm ;sisahalkaisija 6 mm. Tuotenro 090 105 4916
Paineilmaletku kangassisuksella (ilman kuvaa) pikaliittimellä ja pistoholkilla; pituus 10m ;ulkohalkaisija 15mm ;sisahalkaisija 9mm Tuotenro 090 105 4924
Paineilmaletku kangassisuksella (ilman kuvaa) pituus 50m ;ulkohalkaisija 15mm sisahalkaisija 9mm Tuotenro 090 105 4932
- Spiraalilektku, Rilsan (ilman kuvaa)
pikaliittimella ja pistoholkilla; tyopi-tuus 2,5 m; ulkohalkaisija 8 mm; sisahalkaisija 6 mm.
Tuotenro 090 105 4940
- Spiraalilektku, Rilsan (ilman kuvaa)
pikaliittimella ja pistoholkilla; tyopi-tuus 7,5 m; ulkohalkaisija 8 mm; sisahalkaisija 6 mm.
Tutenro 090 105 4959
Spiraaliletku, Rilsan (ilman kuvaa)
pikaliittimella ja pistoholkilla; tyopi-tuus 10,0 m; ukhalkaisija 10 mm; sisahalkaisija 8 mm.
Tuotenro 090 105 4967
- Letkurulla SA 100 (ilman kuvaa) kangasletkulla, pituus 20,0 m; ulkohalkaisija 15 mm; sisahalkaisija 9 mm. Tuotenro 090 105 4975
- Letkurulla SA 200 (ilman kuvaa) Soveltuva seinä- ja kattokiinnitystä
varten; automaattinen rullaus yksinkertaisesti vetamalla; 8 m PU-paineilmaletkun kanssa; ulkohalkaisija 13 mm; sisahalkaisija 8 mm. Tuotenro 090 105 4550
Lisātarvikesarjat
L Lisātarvikesarja LPZ 7-S
sisältaa: puhalluspistooli, renkaan
täytölaite, renkaan täytönippa, pal-lontäyttosuutin, variruiskupistooli, spiraaliletku.
Tuotenro 090 100 3858
- Lisātarvikesarja LPZ 7-P (ilman ku-vaa) sisāltäa: puhalluspistooli, renkaan tāytlolaite, renkaan tāyttonippa, pallontāyttosuutin, variruiskupistooli, 10 m kangasletku. Tuotenro 090 100 3890
Lisātarvikesarja LPZ 6 (ilman kuvaa) sisāltāa: puhalluspistooli, renkaan tāyttolaite, renkaan tāyttonippa, pallontāyttosuutin, variruiskupistooli, 5 m kangasletku. Tuotenro 090 104 4487
Lisātarvikesarja LPZ 4 (ilman kuvaa) sisältaa: puhalluspistooli, renkaan tāytölaite, variruiskupistooli, spiraali- letku. Tuotenro 090 101 3845
- Lisātarvikesarja LPZ 2 (ilman kuvaa) sisāltāa vaihtokahvan puhalluspistoolin, renkaan tāytölaitteen, variruiskupistoolin, spiraaliletkun kanssa. Tuotenro 090 105 5971
7. Ongelmat ja häiriöt
! Vaara!
Ennen kaikkia laitteelle suoritettavia toita:
- kytke laite pois pälätä.
- irrota verkkopistoke virtalähteestä.
- odota kunnes laite on pysahtynyt.
- varmistu, etta laite ja kaikki kaytettavat paineilmatyokalut ja lisa-tarvikkeet ovat paineettomia.
Kaikkien koneelle suoritettujen toiden jälkeen:
- aseta kaikki turvalaitteet taas toimintaan ja tarkasta ne.
- vermista, ettei koneella tai sen sisallä ole tyokaluja tai muita vastaavia esineita.
Kompressoriei käynnisty:
-ei verkkojannitetta
-tarkasta sahkjoho, pistoke, pistorasia ja sulake.
- liian alhainen verkkojannite.
- käytä riittävällä sisähalkaisijalla varustettua jatkojohtoa (katso "Tekniset tiedot"). Välta jatkojohdon käyttoa, kun laite on kylma.
- kompressori sammutetiin vetamällä verkkopistoke irti, kun se oli käynissä.
- kytke kompressori ensin paalle-/pois-kytkimellaaois paalta, kytke taman jalkeen uudelleen paalle.
moottori ylikuumentunut, esim. riittamattomastä jahdytksesta johtuen (jäadytysrimat peitetty).
- poista ylikuumentumisen aiheuttaja, anna jähtyä noin kymmenen minuuttia, kytke sen jälkeen uudelleen paalle.
Kompressori käy, mutta ei tuota riittä-väa painetta.
suodattimen paineenalentimen kondenssiveneden tyhennysruuvi auki.
-sulje tyhennysruuvi.
- takaiskuventaillu vuotaa.
- anna ammattikorjaamon korjata takaiskuventtiili.
Paineilmatyokalu ei saa riittavasti painetta.
- paineensäadintä ei ole avattu tarpeeksı.
- avaas paineensaaedinta enemman.
- kompressorin ja paineilmatyokalun
välinen paineilmaletku vuotaa. - tarkasta letkuliittimet; vaihda vauroituneet osat tarvittaessa.
8. Korjaus
! Vaara!
Sahkötyokalujen korjauksia savat suorittaa ainoastaan sahköalan ammattihenkilot!
Korjausta tarvitsevat sahkötyokalut voidaan lahettä kyseisen maan huoltopisteeseen. Osoite loytyy varaosalistasta.
Lahetettäessä laite korjaukseen, olkaa hyvä ja kuvatkaa havaittu vika.
9. Ympäristönsuojelu
Laitteen pakkausmateriali on 100% :kierratyskelpoista.
Käytetyt koneet ja tarvikkeet sisälvt suuria maariä arvokkaita raaka-aineita ja muoveja, jotka myoskin voidaan kierratysprossissa käyttaa hyväksi.
Käytöohje on painetu ilman klooria valkaistulle paperille.
10. Tekniset tiedot
| Imuteho l/min 480 | ||
| Tehollinen tuottomärä (tilavuusvirta) l/min 330 | ||
| Täytöteho l/min 370 | ||
| Käytöpaine (kompressorin loppupaine) baari 10 | ||
| Painesäillön tilavuus l 90 | ||
| Ilman poistoakkojen lukumärä 2 | ||
| Ulostulon maksimilämpötila 40 K ympäristön lämpötilaa korkeampi | ||
| Kompressorityppi B 4900 / B 4900 B | ||
| Sylinterlukumärä 2 | ||
| Lieriökantaruuvien kiristysmomentti | Nm | 23 - 27 |
| Kierrosluku (kompressori) | \( min^{-1} \) | 1275 |
| Moottorin teho | kW | 3,0 S1 |
| Liitäntäjännite (50 Hz) | V | 400 |
| Nimellisvirta | A | 6,2 |
| Sulake väh. | A | 10 hidas |
| Suojaluokka | IP 54 | |
| Maksimaalinen kokonaispituus jatkojohtoja käytettäessä: | ||
| - 3 x 1,0 mm2johtimen poikkipinta-alalla | m | 15 |
| - 3 x 1,5 mm2johtimen poikkipinta-alalla | m | 25 |
| - 3 x 2,5 mm2johtimen poikkipinta-alalla | m | 40 |
| Öljyn laatu (kompressori) | SAE 40 | |
| Öljymäärä öljynvaihdon yhteydessä (kompressori) | I | 1,1 |
| Mitat: Pituus x leveys x korkeus | mm | 1230 x 560 x 910 |
| Paino | kg | 93,5 |
| Äänenpoinetaso LPA etäis. 4 m max. | dB (A) | 73 ± 3 |
| Äänen tehtaso LWA | dB (A) | 93 |

A 0901010030

B 0901006784

C 0901006725

D 0901054720

E 0901054460

F 0901009210

G 0901054630

H 0901054606

0901056170

J 0901054525

K 090 105 4568

L 0901003858
HelppoOhje