RHG 5800 IN - Liesituuletin ROSIERES - Ilmainen käyttöohje ja opas
Löydä laitteen käyttöohje ilmaiseksi RHG 5800 IN ROSIERES PDF-muodossa.
Usein kysytyt kysymykset - RHG 5800 IN ROSIERES
Käyttäjien kysymyksiä aiheesta RHG 5800 IN ROSIERES
0 kysymys tästä laitteesta. Vastaa tuntemiisi tai esitä omasi.
Esitä uusi kysymys tästä laitteesta
Lataa ohjeet laitteellesi Liesituuletin PDF-muodossa ilmaiseksi! Löydä käyttöohjeesi RHG 5800 IN - ROSIERES ja ota elektroninen laitteesi takaisin hallintaan. Tällä sivulla julkaistaan kaikki laitteidesi käyttöön tarvittavat asiakirjat. RHG 5800 IN merkiltä ROSIERES.
KÄYTTÖOHJE RHG 5800 IN ROSIERES
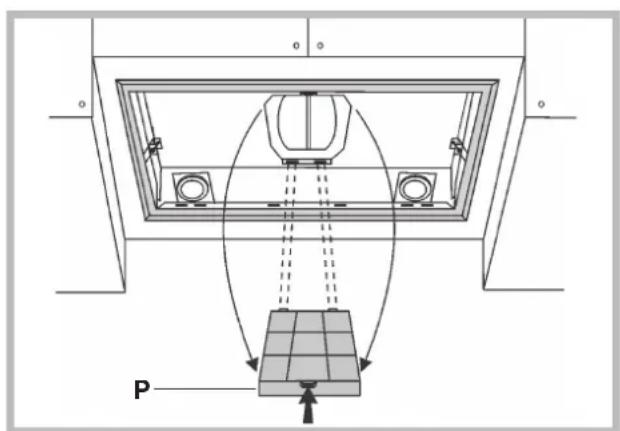
Kiinnittäminen A (reunaimumalli ulkoisella puhallinmoottorilla).
Eykaataaon Tou tou A (movtelo Ewepikn mXavn kai Tepiepikn avappoqnon).
Upevoovaci A (model s externim motorem a obvodovou extrakce).
Kiinnittäminen B (joissain malleissa).
Eykaataaon Tou tUtou B (ouuwpwva ta ovoTELa).
Kiinnittäminen C (joissain malleissa).
Irrotettaaasa laittettilraetotaaasaalatettakaiset mallit), laite tulee tukea seuraavien tyovaiheiden aikana.
Ateykaataaoncaoukeunc (apopacovotelaueykaataoan TUTOU C).Tnvi diapkeia nC kTeAeONt wuTAPAKwEPyaiWn OauKEUNTPETEVAOTnpiCTAI.
Demontàz zarizeni (pro modelys typem montaze C).Behem naslésdújich operaci zafienzi stäle pridržüle.
! Asennus tulee suorittaa nieden ohjeiden mukaisesti patevän henkiloston avulla.

Käytä suojakäsiniteä asennus- ja huoltöiden aikana.
Jos virtajho't on vauroitunet, se taytyy kovrata. Jotta kaikltta riskeittä valtytaan, korvauksen saa tehdā vain valmistaja tai tamān tekinen tuki tai joku samanlaisen patevydyen omaava henkilö.
Varoitus: Jos asennat ruuveja tai kiinnikkeita naiden ohjeiden vastaisesti, tamä toimenpide voi aiheuttaa sahköiskun vaaran.
VAROITUS: Välta vauroiottamasta luotetta asennuksen aikana. Käytä vain laitteen mukana toimitetuja tai ohjeen mukaisa ruuveja.
Suorita sahkoliitantan noudattaen sahkoliitantaa varten ohjeessa "Varoituksa" olevia ohjeita.
SUODATIN-VAIMUVERSIO?
Liesituuletin on saatavilla sekä suodatin- etta imuversiona. Päätä ostovaiheessa oikea mali.
Tehon maksimoimiseksi suosittelemme asentamaan imversion tai ulkoista puhallinmoottoria (huippuimuri) ohjaavan mallin.

Imuversio
Liesituuletin puhdistaa ilman ja ohjaa sen poistohmin kautta ulos.

Versio ukoisten ohjausyksilkko
Liesikupu kerä ja puhdistaa ilman, joka ohjataan ulkoisella puhallinmoottorilla (huippuimuri ja tanavapuhallin) ulos huonetilasta.

Suodatinversio
Liesituuletin puhistaa ilman ja puhaltaa puhtaan ilman takaisin huonetilaan.
OHJAIMET
Koskee vain laitteita, jolissa elektroninen ohjainjarvestelma: Energiankulutuksen optimoimiseksi 4. nopeus (voimakas) saaty; automaattisesti 3. nopeuten viiden minuutin toiminnan jälkeen.
Jos liesituletin jatetäan kayntiin (valaisin ja/tai tuuletin), eikä sitä sāädetä 10 käytöttunn in aikana, niin laite sammu automaattisesti ja kaikkö toiminnot pyshtyvat.
Joka kerta kun valitaan tietty toiminto joko ochauspaneelin tai
kaukosaatimen (lisavaruste) avulla, kuuluu "beep" -änimerkki.
Jos信息披露时kayton aikana tattuu sahkökatkos, tuuletin menee pois
päää, Tämän sattuessa tulee laite käynnistaa uudelleen manuailiseti.
Hallintalaitteet, Kuva 1:
A) ON/OFF -kytkimet. Tama painike toimii myos rasva- ja hiilisuodattimien haltyksena.
Suodatinhalytys: Kun liesituulettimen moottoria on kaytety 30 tuntia, PUNAINEN LED L1 -diodi sytyty palamaan 30 s ajaksi, (meriksiris rasvasuodattimien puhdistuken tarpeesta). Kun liesituulettimen moottoria on kaytety 120 tuntia, PUNAINEN LED L1 -diodi alkaa valkkymaan (meriksi hiilisuodattimien vahtamisen tarpeesta, mikali liesituuletin on varustettu sellaisilla). Suodatinhalytys nayttyty AINOASTAAN silloin, kun liesituulettimen moottori on POIS PÄALTÄ. Suodatinhalytyksen voi peruuttaa (TUNTILASKURIN nollaus) painamalla A-painiketta pohjassa 2 s ajan.
B)Liesituulettim moottori kytketaan ensimmaiselle nopeustasolle painamalla B-painiketta. Nopeuden ilmoittaa palava VIHREALEDL1-diodi. Tuulettimen voi saumttaa painamalla painiketta pohjassa 2 s ajan. Voit kaynistaa ajastintoiminnon (tuuletin paall5 minuutin ajan),jonka meriksi LED diodi valkky, painamalla painiketta kerran. Ajastintoiminto sammutetaan painamalla painiketta uudelleen.
C) Liesituulettimen moottori kytketään toiselle nopeustasolle painamalla C-painiketta. Nopeuden ilmoittaa palava VIHREA LEDL2-diodi. Voit kaynistaa ajastintoiminnon (tuuletin paallä 5 minuutin ajan), jonka meriksi LED diodi valkky, painamalla painiketta kerran. Ajastintoiminto sammutetaan painamalla painiketta uudelen.
D)Liesituulettimen moottori kytketään kolmannelle nopeustasolle painamalla D-painiketta. Nopeuden ilmoittaa palava VIHREA LED L3 -diodi. Voit kaynnistaa ajastintoiminnon (tuuletin paallä 5 minutin ajan),jonka merkiki LED diodi valkky, painamalla painiketta kerran. Ajastintoimto sammutetaan painamalla painiketta uudelen.
E)Liesituulettimen moottori kyktetaan neljannelle nopeustasolle painamalla E-painketta. Nopeuden ilmoittaa palava VIHREA LED L4 -diodi.Voit kaynnistaa ajastintoiminnon (tuuletin paall5 minuutin ajan),jonka merikksi LED diodi vallkyy, painamalla painiketta kerran.Ajastintoimto sommutetaan painamalla painiketta uudelen.
Hallintalaitteet, Kuva 2:
A) ON/OFF -kytkimet. Tāmā painike toimii myōs rasva- ja hiilisuodattimien haltyksena.
Suodatihalytys: Kun liesituulettinen moottoria on kaytety 30 tuntia, LED L1 -diodi sytyyy palamaan, (merkiki rasvasuodattimien puhdistuksen tarpeesta). Kun liesituulettinen moottoria on kaytety 120 tuntia, LED L1 -diodi alkaa valkkymaan, (merkiki hiilisuodattimien vahtamisen tarpeesta, mikali liesituuletin on varustetu sellaisilla). Suodatihalytys nayttayty AINOASTAAN silloin, kun liesituulettinen moottori on POIS PAALTA. Suodatihalytyskens voi peruutta (TUNTILASKURIN nollaus) painamalla A-painketta pohjassa 2 s ajan.
B)Liesituulettimen moottori kytketaan ensimmaiselle noeustasolle painamalla B-painiketta. Noopeiden ilmoittaa palava LED L2 -diodi. Tuulettimen voi sommuttaa painamalla painiketta pohjassa 2 s ajan. Voit kaynnistaa ajastintoiminnon (tuuletin paall5 minuutin ajan),jonka merikksi LED diodi valkky, painamalla painiketta kerran. Ajastintoimto sommutetaan painamalla painiketta uudelen.
C)Liesituulettimen moottori kytketaan toiselle nopeustasolle painamalla C-painiketta. Nopeuden ilmoittaa palava LED L3 -diodi. Voit kaynnistaa ajastintoiminnon (tuuletin paall5 minuutin ajan), jonka merikksi LED diodi valkky, painamalla painiketta kerran. Ajastintoiminto sammutetaan painamalla painiketta uudelen.
D)Liesituulettimen moottori kytketäan kolmannelle nopeustasolle painamalla D-painiketta. Nopeuden ilmoittaa palava LED L4 -diodi. Voit kaynistaa ajastintoiminnon (tuuletin paallä 5 minuutin ajan), jonka merkiki LED diodi valkky, painamalla painiketta kerran. Ajastintoiminto sammutetaan painamalla painiketta uudelen.
E)Liesituulettimen moottori kytketaan neljannelle nopeustasolle painamalla E-painiketta. Nopeuden ilmoittaa palava LED L5 -diodi.Voit kaynnistaa ajastintoiminnon (tuuletin paall5 minuutin ajan),jonka merikksi LED diodi valkky, painamalla painiketta kerran. Ajastintoiminto sammutetaan painamalla painiketta uudelen.
Hallintalaitteet, Kuya 3:
A) ON/OFF -kytkimet. Tämä painike toimii myös rasva- ja hiilisuodattimien haltyksena.
Suodatinhalytys: Kun liesituulettimen moottoria on kaytety 30 tuntia, LED L1 -di Diyi yy palamaan 30 s ajaksi, (merkiki rasvasuodattimien puhdistukens tarpeesta).
Kun liesituulettimen moottoria on kaytety 120 tunita, LED L1 -diodi alkaa valkymaan 30 s ajaksi, (merkiki hiilusuodattimien vaittamisen tarpeesta, mikali liesituuletin on varustetu sellaisilla). Suodathalytys nayttayty AINOASTAAN silsoin, kun liesituulettimen moottori on POIS PÄLTA. Suodathalytyksen voi peruuttaa (TUNTILASKURIN nollaus) paimamalla A-painiketta pohjassa 2 s ajan.
B) B-painiketta kaytetaan tunnistintoiminnon paalle/pois paalta laittamiseen (LED L2 -diodi palaa tunnistintoiminnon ollessa paall).
C)Liesituulettinen moottori kyktetaan ensimmaiselle nopeustasolle painamalla C-painiketta. Nopeuden ilmoittaa palava LED L3 -diodi. Tuulettinen voi sammuttaa painamalla painikitta pohjassa 2 s ajan.
D) Liesituulettimen moottori kytketaan toiselle nopeustasolle painamalla D-painiketta. Nopeud imoittaa palava LED L4 -diodi.
E)Liesituulettimenoottori kytketaaan kolmannelle nopeustasolle painamalla E-painiketta. Nopeudlen ilmoittaa palava LED L5 -diodi.
F)Liesituulettinen moottori kytketaan neljannelle nopeustasolle painamalla F-painiketta. Nopeuden ilmoittaa palava LED L6 -diodi.
TUNNISTIMEN HERKKYYS: tunnistimen herkkyss voidaan asettaa kayttajan tarpeiden mukaan. Tunstinen herkkyttva voi vaithaa painamalla yhtaaikaiseesti A ja B -painikkeita. Asetetu herkkyss nakyy 4 valkkyvill LED L3, L4, L5 ja L6 -diodeilla. Aseta herkkyden taso C, D, E tai F -painikkeiden avulla (C-painike vostaa vahimmaisherkkyttta ja F-painike enimmaisherkkyttta). Aseta vahimmaisherkkyts kaasuliesille, keskimarainen herkkyss keraamisille liesille ja enimmaisherkkyts induktioliesille.
VAROITUS: LED L1 -diodin sytyminen merkitsee rasvasuodattimien puhistuksen tai hiilisuodattimen vaihtamisen tarvetta.
TUNNISTINTOIMINTO (kaynnistetaaan B-painikkeella): laite on varusteltu tasyin automaattisella, kaiki toimnot ohjaavalla hallintajrjestelmallt (Advanced Sensor Control). Advanced Sensor Control -jarjestelm takaak keittioon aina puhtaan ja hajuttoman ilman, eika vaadi kayttajalt minkänlaisia toimenpiteita. Huiputeknikan tunnistimet tunnistavat ruan valmistukssaa syntyvat Hajut, horyrt, karyt ja lammon. ASC tunnistaa myos poikkeavat KAASUN esiintym altimassa.
Tunnistintoiminon ollessa paallä, C, D, E, F -painikkeet kytkevat tietyn nopeustason paalie vain hetkeksi, Jonka jälkeen tunnistin asettaa automaattiseseni son lopullisen tason.
Varoitus: varo vahingoittamasta tunnistinta, alä käytä silikonisia.
tuotteita tuulettimien lähettyvillä!
Ohjaimet kuva 4:
Automaatitten toiminta A-sensori tunnistaa vesihoyryn, karyn tai kaasun ja kaynnistaa laitteen. Moottorineopeus saatyty auto-maattisesti, moottori on kaynnissä kunne huoneilma on puhistudun.
A) Valot pois
B) Valot palle
C) Vähentä moottorin noopeutta. Painettaessa 2 sekuntia, moottori kytkeyty pois. Jos suodattimien puhistuksen halytys on kytkettynä, painettaessa 2 sekunitia, noellaa tuntilaskimen.
D) Kaynnistaa moottorin ja lisaa sen nopeutta (manuaalitoiminto)
E) Kytkee automaattoiminnon paalle / pois
L) Ilmoittaa valitun nopeud numeroilla. Ilmoittaa suodattimien puhdistustarpeesta, kun nayton keskiosassa palaa merkkivalo. Kirjain "A" nakyu kun automaatitoiminto on kykttynä.
Rasvasuodattimen puhdistus: (30 käytötuntia / 2 kuukautta) Irrotarasvasuodattimet painamalla lukitusta C sisäänpain. Pese etusivun ohjeiden mukaan.
Aktivihiisusuadtimen vahto: (120 kaytóttunia) Avaa rasvasuodattimet. Irrota hiisusudatin ja asenna uusi vastaava paikalleen. Puhdista samalla rasvasuodattimet.
HUOM: Laitetta voi kayttaa myos manuaalisesti!
Sensorin saatto; Kytke automaattioiminto pois painikkeesta E. Painettaessa samaikaisesti D ja E voidaan sensorin herkkyden saot aktivoida. Painike C vahentaa ja D lisaa herkkyttta, oletusarvo on 5 steikolla 1-9.
Ohjaimet kuva 5:
Painike A: Sammuttaa valot.
Painike_B:Kytkee valot.
Painike C: Vähentäa moottorin nopeutta. Painamalla kytkintä 2 sekunnin ajan, moottori kytkeyty pois paälta ja viimeksi kayetty nopeus jää muistiin.
Painike D: Kaynnistaa moottorin (viimeksi valitulla nopeudella) sekä lisää moottorin nopeutta.
Näytö L
-
Näytäa numeroin valitun moottorin nopeuden.
-
Ilmoittaa suodattiem unhudistustarpeesta. Nayton keskiosassa pala/ vilkuu valo 30 sekuntia mootorin saummaturisen jäkteen.
-
Numeron vikkuessa ilmoittaa ajastimen olevan toiminnassa.
Painike E: Käynistää ajastinen mooitörin ollessa toiminassa. - moottori on käynissä ylimaaäräset 5 minutuittä smummatisen jäkeen
Suodattimien puhdistuksen käytöttuntien nollaus. - kun moottorin sammuttamisen jälkteen näytön keskiosassa palaa/vilkkuu valo.
HÁLYTYS SUODATTIMET: Rasvasuodattimen puhdistus: (30 káyttóttunia / 2 kuukautta) Avaa suojalevy ja irrota rasvasuodatin. Pese etusivun ohjeiden mukaan. Aktiivihiisusuodattimen vaihto: (120 káyttóttunia) Avaa suojalevy ja irrotra rasvasuodatin. Irrota vanha hiisusuodatin ja asenna uusi vastaava paikalleen. Puhdista samalla rasvasuodattimet!
Ohjaimet kuva 6:
Nappain A = sytytta/sammuttaa valot.
Nappain B = kaynistaa/sammuttaa AJASTIMEN: Kun nappainta painetaan kerran, ajustin kaynnistyny, minku voksi mootori pysahty 5 minutuin kulut-tua (samaikaiseesti naytollvilkku valitta nopeutta vastaava numero). Ajastin pysy aktivisena jos mootorin nopeutta vaihdetaan.
Näytto C = - Näyttaa valitun moottorinopeuden (arvot vällla 1 - 4).
Numerator vilkuminen tarkoittaa, etta ajstin on päää. - Keskiosion sytyminen tai vilkuminen tarkoittaa suodattimien halytstä.
Nappain D = Kaynnistaa moottorin (viimeksi kaytetyllnopeudella).
Nappainta uudelleen painamalla valitaan moottorin nopeus perakkaisista arvoista 1 - 4. Jos nappainta pidetaaan painettuna noin 2 sekunnin ajan, moottori pysahty.
Nappain R = Rasva- ja hiilusuadtimien nollaus. Kun suodattimien halytys (eli nayton keskiosio) sytyt, on rasvasuadtimet puhistettava (on kulunut 30 kayttotuntia). Jos taas keskiosio vilkuu, on rasvasuadtimet puhdi-stettava ja hiilusuadatin vaidhtatta (on kulunut 120 kayttotuntia).
Luon-nollisestikin, jos liesituulettimesi ei ole suodattavaa typpia eli sinä ei ole hiilisuodatinta, on puhidistettava ainoastaan rasvasuodattimet,
huolimatta siitta palaako keskiosion valor vilkkuuko se. Suodattimien halytys tulee nakyviin moottorin ollessa sammuneena ja se nakyyy noin 30 sekunnan ajan. Tuntilaskuri kayninsty uudelteen, jos nappaintaan 2 sekunnin ajan halytyksen nakyessa.
Ohjalmet kuva 7:
Automaattinen toimanta A-sensori tunnistaa vesihyoryn, karyn tai kaasun ja kaynnistaa laitteen. Moottorin nopeus saaty auto-maattisesti, moottori on kaynnissa kunnes huoneilma on puhistudun.
Nappain A: sytyttaa / sammuttaa valot.
Nappain B: aktivoi / deaktivoi automaatitiöiminnon. Kun tamä toiminto aktivoidaan, naytöllä C nakyu "A" ja moottorin noopeus nousee tai laskee automaatibriesti keitton kärjön, hóryjän ja kaasujen mukaiseisi.
Näytto C- Näyttaa anturin automaattisen toimintatilan (syttyy "A"-kirjain).
Näytäa anturin automaattisesti valitseman moottorinopeuden.- Keskiosion sytyminen tai vikkuminen tarkoittaa suodatimien hälytstä.
Nappain D: Laskee mootorin noeutta / nollaus: Laskee mootorin noeut-ta nollaan asi (pysaytys). Noin 1 minuutin kuluttua lesituuletin kaynistyy uudelleen automaattioiminnalla, anturin valitsemalla noeudella.Kun npapainta painetaan suodattemn haltytksen nakyessaa, tapahtuu NOLLAUS, eli tuntilaskurin arvo palautuu nollaan.
Nappain E: Nostaa moottorin nopeutta, mutta noin 1 minuutin kuluttua liesituuletin kaynnistyy uudelen automaattitoiminnolla, anturin valitsemalla neopeudella.
Anturin herkkydyen muokkaaminen: Anturin herkkyyttà voidaan muokata seuraavalla tavalla.- Pysäytä liesituuletin painamalla nappäintä B.- Paina samanaikaisesti nappäimiä D ja E (naytöle tuee anturin herkkyymittari.) Nosta tai laske anturin herkkyyttä nappäimiä D tai E painamalla (1: minimiherkkyys / 9: maksimiherkyyts). Jos virta katkeaa, anturin herkkyys palaa uudelteen arvoroo 5.Huomio: Jotta anturi ei pääse vahingoittumaan, alä käytä silikonia sisälävià tuotteita liesituulettimen laheisyydssä!
Ohjaimet kuva 8:
Painike A: valokatkaisin; - asento 0: valor sammutettu; - asento 1: valor paallä.
Painike B: moottorin katkaisin;
-
asento 0: moottori sammutettu;
-
asento 1-2-3: moottori käynissä ykkös, kakkos- ja kolmosnopeudella.
C: Toiminnan osoitus moottorin.
Hallintalaitteet (Kuva 9):
A): sytytta/sammutta valot. Suodatlimien halytys: joka 30 käytöttunnin jälkeen merkkivalo sytyyosoittaan, etta rvasasuodattimet tätyu puhdistaa, joka 120 käytöttunnin jälkeen merkkivalo vilekku osoittaan,ettarenasvuodattimet tätyu puhdistaa.Tuntilaskin nolataan (RESET) pitamällain painiketta A painettuna noinsekunnin ajan (kun merkkivalo on toiminassa).
B): käynistää moottorin 1. nopeudella (vastaava merkkivalo sytty). Kun painat painiketta toisen kerran(merkkivalon palaessa) käynnistyy AJASTIN ja viiden minuittin kuluttua moottori pysähty (merkkivalo vilkkuu).Jos pidät painiketta painettuna noin sekunnin, moottori sammu.
C): kaynnistaa moottor 2. nopeudella (vaasta avm merkkivalo sytty). Jos painat painiketta toisen kerran(merkkivalon palaessa) kaynnistyy AJASTIN ja viden minuutin kuluttua moottori psahtyy (merkkivalo vilkkuu).
D): kaynistaa moottorin 3. nopeudella (vaastaava merkkivalo sytty). Jos painat painiketta toisen kerran(merkkivalon palaesa) kaynnistyy AJASTIN ja viden minuutni kuluttua moottori psahty (merkkivalo vilkku).
E): kaynistaa moottor 4, nopeudella (vastaava merkkivalo sytty). Jos painat painiketta toisen kerran(merkkivalon palaessa) kaynnistyy AJASTIN ja viiden minuutin kuluttua moottori psahty (merkkivalo vilkkuu).
HUOLTO
! Ennen puhdistus- tai huoltotöitä poista jannite.
Liesituuulettimen puhdistus
KOSKA PUHDISTAA: puhdista vahintaan kahden kuukauden valein tulipalovaaran ehkaisemiseksi, kayton mukaan.
ULKO-OSAN PUHDISTUS; käytä haalealla vedellä ja miedolla pesuaineella (maalatut liesituulettimet) kostutetua ratti. Teras-, kupari- ja messkiriliesituletinten puhdistamiseen käytä niille tarkoitettuja erikoisvuotteita.
SISÄ-OSAN PUHDISTUS: käytä denaturoidulla etyllalkoholilla kostutettua rattia (tai sivellintä).
ALÄ: käytä hankaavia ja syövytävi tuotteita (esimerkiki metallisienia, kovia harjoja, voimakkaita pesuaineita jne.)
Rasvasuodatinten puhdistus (F)
KOSKA PUHDISTAA: puhdista vahintaan kahden kuukauden valein tulipalovaaran ehkaisemiseksi, suhteessa kaytomaaran.
SUODATINTEN PUHDISTUS: puhdista kasin tai astianpesukoneessa miedulla pesuaineella. Jos pensketousdattim astianpesukoneessa, se saattaa haalista, mikai etimenkauan vaikuta sen toimintaan.

Hiilisuodattimien vahtaminen
(Vain suodatinversiot)
KOSKA VAIHTAA: vahintaan kuuden kuukauden valein, suhteessa kayttomaraar.
IRROTTAMINEN: mallista riippuen hiisusuodatin voi olla pyorea tai suorakaiteen muotoinen. Jos laite on varustettu pyorealla hiisusuadittimella (R), irrota hiisusuadittimen kiertamalla.
Jos laite on varustettu surokaiteen muotoisella hiilisuodattmella (P), pana kinnityssalpaa sisänpain ja kaannsuodatin alaspain, kunnes suodatin irtoa telineestäan.


Valalstus
Vaihda lamppu samaksi typiksi; jos lamppu ei sisally "Varoitukset" kaavan taulukkoona, se on palautettava tukikeskukseen.

HÄRIÖT
Jos jokin ei toimi oikein, suorita yksinkertaiset alla kuvatut tarkistustoimenpiteet ennen kuin otat yhteytt haoltoon:
- Liesituuletin ei toimi
Mahdollinen syy (1): Syöttöjohtoa ei ole kytketty tai se on kytketty vaärin.
Ratkaisu: Asentaja ei ole kytkenyt liesituulettimen sahkojarjestelmaa. Kutsu asentaja/sahkoomies paikalle.
Mahdollinen syy (2): Nopeutta ei ole valittu.
Ratkaisu: Valitse nopeus ohjauspaneelissa.
Jos kansi ktyketytyy pois paalta tavallisen toiminnan aikana, on tarkistettava, onko virtasyottäa ktyketty ja onko moninapainen katkaisin ktyketytnyt paalle.
- Puhallin el tolmi, mutta valot toimvat
Mahdollinen syy: Puhaltimen moottorin kaapelia ei ole kykketty. Ratkaisu: Etsi puhaltimen moottorin kaapeli ja kytke se. Tarkista, toimiiko tuuletin nyt. Jos ongelma jatkuu, kutsu tekinenen huofo paikalle.
- Liesituuletin ei toimi oikein
Mahdollinen syy: Suodattimet/osiot ovat likaiset.
Ratkaisu: Tarkista, onko suodatin puhdas.
Kos kyseeessan kanavajarjestelmalla tai ulkoisella moottorilla varustettu liesituuletin
Mahdollinen syy (1): Kanavajrjestelmaa ei ale asennettu vaatimusten mukaan. Jos kanavan pitusu yllittaa valmistajan vaatimukset,
liesituuletin ei voi toimia optimalisesti. Jos kanavan halkaisija on liian pieni tai järestelmässa on lian paljon mutkia, myos ilmavirta hidastuu.
Poistokanavan asennuksen aikana on noudatettava toimivaltaisten viranomaisten ojoite (esimerkaksi pois puhaltuvaa ilmaa ei saa reittitta ana kanavaan, joka on jo keskuslammyksen jarjestelmkan kaytossa, jne.). Tila sisaita tuuletsaukot. On otetta yhtyettta asentajaan.
Mahdollinen syy (2): Kanava on sukossa.
Ratkaisu: tarkista, etta mikään ei tuki ilmanvaihtokanavaa (lintujen pesat tai solmut).
Mahdollinen syy (3): Kaasulppa ei aukea.
Ratkaisu: On tarkistettava, onko nauha poistetty kaasulapista ja
liikkuvatko ne vapaasti.
Suodatinliestituuleinten tapauksessa
Mahdollinen syy: hiisusuodatin on taysin kyllastetty.
Ratkaisu: vaihda hilisuodatin.
- Lamppu el toimi
Heijastimet (LED):
Jos tam'an tyypin lamppu ei ole alla olevassa "varoitukset", ota yhteyttä tekniseen houloth.
Polttimolamput:
Mahdollinen syy: Polttimo tai sen pidin on viallinen tai syottokaapeli on irronnut.
Ratkaisu: laita polttimo samantyyppiseen mutta eri pitimeen; jos polttimo ei toimi, vailda se toiseen samantyyppiseen; jos se toimii, pidin on viallinen tai syottokaapeli on irronnut. Kutsu teknilnen houlto paikalle.
Halogeenilamput:
Mahdollinen syy: Polttimo tai sen pidin on vialinen tai syottkaapeli on irronnut.
Ratkaisu: vaihda toiseen samantyyippiseen polttimoon. Jos ongelma jatkuu, kutsu tekinen huolto paikalle.
Kauko-ohjaus ei toimi (jos se on liitetty sarjaan)
Mahdollinen syy (1): Ei yhteyttä kauko-ohjauksen ja liesituulettimen vaillä.
Ratkaisu: Tarkista, toimivatko liesituulettimessa sijaitsevat ohjauspainikkeet oikein.
Kytke liesituulettimen syöttö pois pälä tîpirin katkaisijan avulla; sitten kytke se takaisin paëlle. Yhdistä jälleen kauko-ohjaus liesituulettimeen käytäen kauko-ohjauksen kanssa toimitettuja oheija.
Mahdollinen syy (2): Loppuin käytetykauko-ohjauksen akku.
Ratkaisu: Vaihda akku uuteen
- Pystysuoran teleskooppilavan lukitus (jos se on liitetty sarjaan)
Jos kaikki LEDit vilkkuvat, teleskooppilava on Iukittu. Odota 30 sekuntia ja paina ylos- tai alas-painiketta poistaaksesi lavan Iukituksen.
Jos ylos-/alas-painike vilkkuu, rasvasuodatin ei ole oikeassa asennossa.
Se on saadettava sopivaan asentoon.
Jos lava on lukittu, on tarkistettava, etta syttojohtoa ei ole kytketty irti. Jos ongelma jatkuu, kutsu tekinen huolto paikalle.

!Autn noukeunpiettevaeykataotaBei oukpwaueTtnapakatw
OonyieCAtTOEgEIOKEUeMoTeXVIKO.
H xpon yavtwv evai attapaitnnt otis epyaies eykataoans kai ouvmnpnong.
AV TO KAUIOI TAPOXHc PEUATOC EVAI OBauEVO, TPETEI VA AAVTKATAOBAI ATTO VOT KATAOKeUAaTn, T'OV AVITPOOSWTO n ATO ESEIOKEUevo ATOO yAva IATOPAEXIEKIVKIVSUVOC.
Ipoiofoiroin:Haavbaouevn toTooetnnon biowntepewonTns oukeun, evexikovonAektpoanjac.
EHMANTIKO: Tia va un xaaote TE OoKEun oac, KATA Tn diapkeia TNS EYkataaang.
XPHSEIMOIOHETEMONO TIBEIONIPOYNAPEXONTAI.BeBaiWBeTeOTautecxpnouoovtaiouuwwvaeTtapakatowobnyie.
Ppoetoiaote TnV paoxoyuoiatoe (Deite to quoAo eTtioTeOIEC).
Tia nV ekdoa eMTOU KAI Tnv ekdoa eEwotepko iOTep, Etoiaate Touc
Oawnyes yan Tnv ekvewnou taepa (Deite to quoAo eTtioTeOIOIeOIEC).
EKDOZHEMΦIATPAPIEMAAEPAHMEMMOYPI
O aToppoPnTnpac mTnpoeivaxpnaiotoine ie kdoynia pIATpapiaepa,ptoupi nEgWTEPIKO tEP. EIIAEIE TOV TUTIO EYKATAOAGN TTOEAE.
Tia kaupte np afooog, aocipoteivouve vayekataotnoeTe Tov atoppopnnpa e mTuupi nEgwtepiko mtep (av eivai epikto).

Ekooan mtoupi
OaToppoepnTpaKa aepiEi Tov aepa kai Tov oTeAveI EeWmuwTuW OAnVW.

Eko n e Egwtepiko tep
O atppoapnnpac kaapiéi tov aepa kai tov etalevi ég μeau wuivw. Autn ououkeunotipeia vuaovdeieoi eve omuot, to otio douleuei muovotiu, xpanoiotoiwvtac tn ouokneun av ouevsejuia tvov kaopaijou tou cepa.

Ekoon qltpapogatoc aepa
OaToppoepntpaKgapciTeov aepaKaI TOV avakukwvei eoaTo dWmuio.
XEPII∑THPIA
Móvo yia touc atoppopntnpes e naektpovikxepiortpio.
H 4n taxutnta (evatikn) autotata xanmawve otynv 3naxutnta meta atno 5
AETTAeIoTupyias yia va EAniTOToTIOne iYN KATAVALON EVpeyic.
Touc aToppopnptnpces ie Ixu 120V/60Hz autn n aeitoupyd evivai eeyin
kai n 4n taxutnta unOBeIKUVeIe tpoypma B (Booster-Evioxutnic).
-Avo atopoppnnpnacmpaieiviaavaevoc(ajttnc/kai kivtnpacs),xupico xphotnsvaovxpniouioiet,eta ato 10 wpcseitoupyiac,0a oipoei autouata kai ocesoiieitoupyiecctou ta oipououv. Ee atopoppnpntpejeixu 120V/60Hz autn yleiouyfevtppxei.
HelppoOhje