Bios EG6 X F32 - 110.0255.502 - Air-conditioner FABER - Free user manual and instructions

Find the device manual for free Bios EG6 X F32 - 110.0255.502 FABER in PDF.

📄 148 pages English EN 💬 AI Question
Notice FABER Bios EG6 X F32  -  110.0255.502 - page 5
Manual assistant
Powered by ChatGPT
Waiting for your message
Product information

Brand : FABER

Model : Bios EG6 X F32 - 110.0255.502

Category : Air-conditioner

Download the instructions for your Air-conditioner in PDF format for free! Find your manual Bios EG6 X F32 - 110.0255.502 - FABER and take your electronic device back in hand. On this page are published all the documents necessary for the use of your device. Bios EG6 X F32 - 110.0255.502 by FABER.

USER MANUAL Bios EG6 X F32 - 110.0255.502 FABER

SAFETY INFORMATION For your safety and correct operation of the appliance, read this manual carefully before installation and use. Always keep these instructions with the appliance even if you move or sell it. Users must fully know the operation and safety features of the appliance. The wire connection has to be done by specialized technician.

  • The manufacturer will not be held liable for any damages resulting from incorrect or improper installation.
  • The minimum safety distance between the cooker top and the extractor hood is 650 mm (some models can be installed at a lower height, please refer to the paragraphs on working dimensions and installation).
  • If the instructions for installation of the gas hob specify a greater distance, this must be respected.
  • Check that the mains voltage corresponds to that indicated on the rating plate fixed to the inside of the hood.
  • Means for disconnection must be incorporated in the fixed wiring in accordance with the wiring rules.
  • For Class I appliances, check that the domestic power supply guarantees adequate earthing.
  • Connect the extractor to the exhaust flue through a pipe of minimum diameter 120 mm. The route of the flue must be as short as possible.
  • Regulations concerning the discharge of air have to be fulfilled.
  • Do not connect the extractor hood to exhaust ducts carrying combustion fumes (boilers, fireplaces, etc.).
  • If the extractor is used in conjunction with non-electrical appliances (e.g. gas burning appliances), a sufficient degree of aeration must be guaranteed in the room in order to prevent the backflow of exhaust gas. When the cooker hood is used in conjunction with appliances supplied with energy other than electric, the negative pressure in the room must not exceed 0,04 mbar to prevent fumes being drawn back into the room by the cooker hood.
  • The air must not be discharged into a flue that is used for exhausting fumes from appliances burning gas or other fuels.
  • If the supply cord is damaged, it must be replaced from the manufacturer or its service agent.
  • Connect the plug to a socket complying with current regulations, located in an accessible place.
  • With regards to the technical and safety measures to be adopted for fume discharging it is important to closely follow the regulations provided by the local authorities.

WARNING: Before installing the Hood, remove the protective films.

  • Use only screws and small parts supplied with the hood.

WARNING: Failure to install the screws or fixing device in accordance

with these instructions may result in electrical hazards.

  • Do not look directly at the light through optical devices (binoculars, magnifying glasses…).
  • Do not flambè under the range hood; risk of fire.
  • This appliance can be used by children aged from 8 years and above and persons with reduced physical, sensory or mental capabilities or lack of experience and knowledge if they have been given supervision or instruction concerning use of the appliance in a safe way and understand the hazards involved. Children shall not play with the appliance. Cleaning and user maintenance shall not be made by children without supervision.
  • Children should be supervised to ensure that they do not play with the appliance.
  • The appliance is not to be used by persons (including children) with reduced physical, sensory or mental capabilities, or lack of experience and knowledge, unless they have been given supervision or instruction. Accessible parts may become hot when used with cooking appliances.
  • Clean and/or replace the Filters after the specified time period (Fire hazard). See paragraph Care and Cleaning.
  • There shall be adequate ventilation of the room when the range hood is used at the same time as appliances burning gas or other fuels (not applicable to appliances that only discharge the air back into the room).
  • The symbol on the product or on its packaging indicates that this product may not be treated as household waste. Instead it shall be handed over to the applicable collection point for the recycling of electrical and electronic equipment. By ensuring this product is disposed of correctly, you will help prevent potential negative consequences for the environment and human health, which could otherwise be caused by inappropriate waste handling of this product. For more detailed information about recycling of this product, please contact your local city office, your household waste disposal service or the shop where you purchased the product.

CHARACTERISTICS Components Ref.

Q.ty Product Components Hood Canopy complete with: Filter. 1 Hood Support complete with: Commands and Light. 1 Fan unit with bracket. 1 Top Plug 1 Directional Grille Ref. 12a 12b 12c 12d 12e

Installation Components Wall Plugs Screws 4.2x44.4 Screws 4.2x6.5 Screws M6x15 Screws 2.9x6.5 Screws 2.9x6.5 Plugs Q.ty Documentation 1 Instruction Manual

Dimensions INSTALLATION Drilling the Wall

650 mm min 650 mm min

12a The person fitting the hood has to bear in mind that there must be a minimum distance of at least 8-10 Cm left between the top of the hood and the surface above it (ceiling or shelf). Draw the following on the Wall:

  • a Vertical line up to the ceiling or top surface, at the centre of the area in which the Hood is to be fitted;
  • a Horizontal line: 650 mm min. above the Hob;
  • Mark a reference point, as indicated, 78 mm and 261 mm above the horizontal reference line.
  • Mark a reference point, as indicated, 164 mm to the right of the vertical reference line and 59 mm to the left of the vertical reference line, checking to ensure it is level.
  • Drill the points marked using a ø 8 mm drill bit.
  • Insert the plugs 11 into the holes.
  • Tighten the 4 screws 12a (4.2 x 44.4) provided in the hood support fixing bores, leaving a gap of 5-6 mm between the wall and the heads of the screws.

Fitting the Motor-Plug-Hood Canopy Unit

  • Fix the directional grille 8 on the recirculation air outlet using the 2 screws 12e (2,9 x 9,5) provided. 12e
  • Using 6 Screws 12d provided, join the Fan unit 3 to the Plug 4.
  • Using 4 screws 12d provided, fasten the resulting assembly to the Hood Canopy 1 taking care to ensure that the electrical wiring connected passes inside the Hood Canopy in the slot provided.

Fitting the Hood Support 12a

  • Hook the Hood Support 2 to the 4 screws 12a protruding from the wall, checking the level.
  • Lock the 2 screws 12a on the right that are visible and easy to reach.
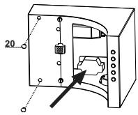
  • Lock the 2 screws 12a on the left that can be reached through the holes on the left of the Hood Support, as shown in the figure. When the operation has been completed, insert the 2 Plugs 20 into the holes.
  • Before carrying out any operation the Hood must be disconnected by removing the plug from the power socket or turning off the main switch.
  • Open the Electrical wiring box by unfastening the screws on the cover.
  • Connect the wiring block to the mains power supply and close the cover again with the screws previously removed. Fitting the Hood Support
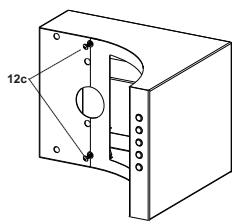
  • Partially fasten the 2 screws 12c.
  • Hook the Hood Canopy 1 to the 2 screws 12c.

Fixing the Hood Canopy

  • Remove the Metal grease filters using the handles provided.
  • From the inside of the hood canopy, fasten the 2 screws 12b provided.
  • From the inside of the hood canopy, completely fasten the 2 screws 12c partially fastened as described above. 12b
  • Make sure that the wires from the Motor unit are connected to the connector indicated (B) passing through the specially provided slot (A). Fitting the Activated Charcoal Cartridge
  • Fit the Activated Charcoal Cartridge from under the Hood canopy, locking it into the slots provided and turning it to fix.
  • Replace the Metal grease filter.

BUTTON FUNCTIONS T1 Motor Turns the Motor off. T2 Speed Turns the Motor on at Speed one. Button lights up continuously. T3 Speed Turns the Motor on at Speed two. Button lights up continuously. T4 Speed When pressed briefly, turns the Motor on at Speed three. Button lights up continuously. Pressed for 2 Seconds. Button flashes. Activates Speed four with a timer set to 6 minutes, after which it returns to the speed that was set previously. Suitable to deal with maximum levels of cooking fumes.

Turns the Lighting System on and off. Button lights up continuously.

MAINTENANCE Grease filters

CLEANING METAL SELF- SUPPORTING GREASE FILTERS

  • The filters must be cleaned every 2 months of operation, or more frequently for particularly heavy usage, and can be washed in a dishwasher.
  • Remove the filters one at a time by pushing them towards the back of the group and pulling down at the same time.
  • Wash the filters, taking care not to bend them. Allow them to dry before refitting.
  • When refitting the filters, make sure that the handle is visible on the outside.

Activated Charcoal Filter The Activated Charcoal Filter is only present on the Hoods in Recirculation version, and has the job of retaining smells in the flow of air that passes over it, until reaching saturation. The sponge-like part of the filter can be washed in the dishwasher at least once every 4 months, or more frequently if use is particularly intense. Operation is guaranteed for up to a maximum of 5 washes, after which it must be replaced. CHANGING

  • Remove grease filters.
  • Remove the saturated Activated Charcoal Filter, as indicated (A).
  • Dismantle the filter and wash the sponge-like part, making sure it is completely dry before you replace it.
  • Replace the Activated Charcoal filter, as indicated (B).
  • Replace the metal grease filters.
  • For replacement contact technical support ("To purchase contact technical support").

Montage support de hotte 12a INSTALLATIE Boren in de wand

650 mm min 650 mm min