HearPlus 313ci - Τηλέφωνο DORO - Δωρεάν εγχειρίδιο χρήσης
Βρείτε δωρεάν το εγχειρίδιο της συσκευής HearPlus 313ci DORO σε μορφή PDF.
Ερωτήσεις χρηστών για HearPlus 313ci DORO
0 ερώτηση για αυτή τη συσκευή. Απαντήστε σε αυτές που γνωρίζετε ή κάντε τη δική σας.
Κάντε μια νέα ερώτηση σχετικά με αυτή τη συσκευή
Κατεβάστε τις οδηγίες για το Τηλέφωνο σε μορφή PDF δωρεάν! Βρείτε το εγχειρίδιό σας HearPlus 313ci - DORO και πάρτε ξανά την ηλεκτρονική σας συσκευή στα χέρια σας. Σε αυτή τη σελίδα δημοσιεύονται όλα τα έγγραφα που απαιτούνται για τη χρήση της συσκευής σας. HearPlus 313ci της μάρκας DORO.
ΕΓΧΕΙΡΊΔΙΟ ΧΡΉΣΗΣ HearPlus 313ci DORO
- Υποδοχή τηλεφωνικής γραμμής
- Άγκιστρο ακουστικού
- Πληκτρολόγιο
- Υποδοχή καλωδίου ακουστικού
- Ένταση ήχου ακουστικού
- Πλήκτρο Flash
- Αύξηση έντασης
- Μνήμη κλήσεων / ΟΚ
- Διαγραφή
-
Υποδοχή καλωδίου τροφοδοσίας
-
Ήχος κλήσης
- Μελωδία ήχου κλήσης
- Ένταση ήχου κλήσης
- Πλήκτρα ταχείας κλήσης
- Τηλεφωνικός κατάλογος
- Ήχος ακουστικού
- Ένταση ηχείου
- Ηχείο
- ΕΠΑΝΩ/ΚΑΤΩ
- Φωτεινή ένδειξη εισερχόμενης κλήσης
- Φωτεινή ένδειξη ήχου κλήσης
Description
Doro HearPlus 313ci
Αυτό το προϊόν προσφέρει τη δυνατότητα επιτραπέζιας ή επιτοίχιας τοποθέτησης. Χάρη στη ρύθμιση ήχου του ακουστικού, στην αύξηση της έντασης, στην ενισχυμένη ένταση του ήχου κλήσης και τη φωτεινή ένδειξη εισερχόμενων κλήσεων είναι κατάλληλο και για άτομα με προβλήματα ακοής.
Επίσης, το εξαιρετικά εύχρηστο πληκτρολόγιο που διαθέτει μεγάλα πλήκτρα με έντονους χαρακτήρες μπορεί να χρησιμοποιηθεί άνετα από άτομα με μειωμένη όραση.
Ο ενσωματωμένος τηλεφωνικός κατάλογος διαθέτει δυνατότητα αποθήκευσης έως και 30 ονομάτων και τηλεφωνικών αριθμών. Το πληκτρολόγιο διαθέτει τρία πλήκτρα ταχείας κλήσης στα οποία μπορείτε να αποθηκεύσετε τους τηλεφωνικούς αριθμούς που καλείτε συχνότερα ή ακόμη και αριθμούς έκτακτης ανάγκης. Η μνήμη κλήσεων της συσκευής αποθηκεύει τις 15 πιο πρόσφατες εισερχόμενες και εξερχόμενες κλήσεις.
Η λειτουργία ηχείου σάς επιτρέπει να μιλάτε σε ανοικτή ακρόαση με το πάτημα ενός κουμπιού.
Ο παρών εξοπλισμός έχει σχεδιαστεί για χρήση μόνο στο αναλογικό τηλεφωνικό δίκτυο της AT, BE, BG, CH, CY, CZ, DE, DK, EE, ES, FI, FR, GB, GR, HU, IE, IS, IT, LV, LT, LU, MT, NL, NO, PL, PT, RO, SI, SK, SE.
Εγκατάσταση
Σύνδεση
- Συνδέστε το σπειροειδές καλώδιο ακουστικού στην υποδοχή του ακουστικού και στην υποδοχή του τηλεφώνου με την ένδειξη 📄.
- Συνδέστε το καλώδιο της τηλεφωνικής γραμμής στην αντίστοιχη επιτοίχια υποδοχή και στην υποδοχή με την ένδειξη 📞 στην πίσω πλευρά του τηλεφώνου.
- Συνδέστε τον προσαρμογέα τροφοδοσίας στην πρίζα και στην υποδοχή DC 9V στο τηλέφωνο.
- Σηκώστε το ακουστικό και βεβαιωθείτε ότι ακούγεται ο τόνος κλήσης.
Μπαταρίες
Απαιτούνται τέσσερις αλκαλικές μπαταρίες ΑΑ για τη μνήμη κλήσεων και το ηχείο. Εάν εμφανιστεί η ένδειξηΒΑΤΤ. LOW στην οθόνη του τηλεφώνου, πρέπει να αντικαταστήσετε άμεσα και τις 4 μπαταρίες. Χρησιμοποιείτε μόνο αλκαλικές μπαταρίες ΑΑ καλής ποιότητας (δεν περιλαμβάνονται).
Σημείωση!
Πριν την τοποθέτηση ή την αντικατάσταση των μπαταριών, βεβαιωθείτε ότι το τηλέφωνο δεν είναι συνδεδεμένο στην τηλεφωνική γραμμή.
- Αφαιρέστε το κάλυμμα της μπαταρίας και τοποθετήστε τις μπαταρίες με τη σωστή πολικότητα.
- Τοποθετήστε ξανά το κάλυμμα και συνδέστε το τηλέφωνο στην τηλεφωνική γραμμή.
Βασικές ρυθμίσεις
Πριν χρησιμοποιήσετε το τηλέφωνο για πρώτη φορά πρέπει να πραγματοποιήσετε τις παρακάτω βασικές ρυθμίσεις. Αφού επιβεβαιώσετε τις επιλογές σας, στην οθόνη του τηλεφώνου εμφανίζεται αυτόματα η επόμενη ρύθμιση. Για να μεταβείτε στην επόμενη ρύθμιση, πατήστε
Το τηλέφωνο θα επανέλθει σε κατάσταση αναμονής μετά από 30 δευτερόλεπτα αδράνειας ή όταν πιέσετε το C/←
Κατά την πρώτη εγκατάσταση, στο ρολόι της οθόνης θα εμφανιστεί η ένδειξη 00:00.
- Πατήστε και κρατήστε πατημένο το πλήκτρο για περίπου 5 δευτερόλεπτα μέχρι η ένδειξη της ώρας αρχίσει να αναβοσβήνει.
- Χρησιμοποιήστε τα βέλη △ / ▽ για να επιλέξετε την επιθυμητή τιμή και επιβεβαιώστε την επιλογή σας πατώντας το πλήκτρο 📋
- Επαναλάβετε τα βήματα 1–2 για να ρυθμίσετε τα λεπτά, την ημέρα και τον μήνα.
ENGLISH.
Χρησιμοποιήστε τα βέλη △ / ▽ για να επιλέξετε την επιθυμητή γλώσσα και επιβεβαιώστε την επιλογή σας πατώντας το πλήκτρο
-2- CONTRAST
Χρησιμοποιήστε τα βέλη △ / ▽ για να επιλέξετε την κατάλληλη ρύθμιση αντίθεσης της οθόνης (1–4), και επιβεβαιώστε την επιλογή σας πατώντας το πλήκτρο ↗
KEYT. ON
Χρησιμοποιήστε τα βέλη △ / ▽ για να ενεργοποιήσετε ή να απενεργοποιήσετε τον ήχο πλήκτρων (ON/OFF) και επιβεβαιώστε την επιλογή σας πατώντας το πλήκτρο ↗
-100- FLASH
Χρησιμοποιήστε τα βέλη △ / ▽ για να ρυθμίσετε τη συχνότητα με την οποία θα αναβοσβήνουν τα πλήκτρα (100/300/600 ms) και επιβεβαιώστε την επιλογή σας πατώντας το πλήκτρο
Η τυπική ρύθμιση είναι 100 για τις περισσότερες χώρες, 300 για τη Γαλλία και την Πορτογαλία, 600 για τη Νέα Ζηλανδία.
LED OFF
Χρησιμοποιήστε τα βέλη △ / ▽ για να ενεργοποιήσετε/απενεργοποιήσετε την ενδεικτική λυχνία εισερχόμενων κλήσεων και επιβεβαιώστε την επιλογή σας πατώντας το πλήκτρο 📌
TONE
Χρησιμοποιήστε τα βέλη △ / ▽ για να επιλέξετε τονική ή παλμική λειτουργία και επιβεβαιώστε την επιλογή σας πατώντας το πλήκτρο
Σημείωση!
Εάν δεν είστε σίγουροι ποια λειτουργία να χρησιμοποιήσετε, επιλέξτε την τονική (TONE) καθώς είναι κατάλληλη για τις περισσότερες περιοχές.
Επιτοίχια τοποθέτηση
Μπορείτε να τοποθετήσετε το τηλέφωνο στον τοίχο χρησιμοποιώντας την ειδική βάση επιτοίχιας τοποθέτησης που περιλαμβάνεται στη συσκευασία και δύο βίδες (δεν περιλαμβάνονται).
Προσοχή!
Πριν ανοίξετε τρύπες στον τοίχο, βεβαιωθείτε ότι δεν υπάρχουν εσωτερικά καλώδια, σωλήνες νερού ή αερίου σε αυτό το σημείο του τοίχου.
- Ανοίξτε δύο τρύπες στον τοίχο, με κατακόρυφη απόσταση 83 χιλ. ανάμεσά τους.
- Εισάγετε τις βίδες ώστε να προεξέχουν από τον τοίχο περίπου \~5 χιλ.
-
Αποσυνδέστε και αφαιρέστε το ακουστικό από την συσκευή.
-
Τοποθετήστε τα άγκιστρα της βάσης (Α) στις αντίστοιχες υποδοχές (Β) στο πίσω μέρος του τηλεφώνου και στη συνέχεια σύρετε τη βάση μέχρι να εφαρμόσει στην κατάλληλη θέση της.

text_image
B A-
Τοποθετήστε το τηλέφωνο σε τέτοιο σημείο ώστε οι βίδες του τοίχου να εφαρμόζουν στις υποδοχές της βάσης και στη συνέχεια σύρετε το τηλέφωνο προς τα κάτω μέχρι να στερεωθεί καλά πάνω στις βίδες.
-
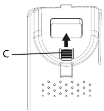
Σπρώξτε προς τα επάνω το άγκιστρο του ακουστικού (C) για να το βγάλετε από τη θέση του και τοποθετήστε το ξανά από την ανάποδη πλευρά ώστε η μικρή γλώσσα (D) να εξέχει προς τα κάτω. Το άγκιστρο φροντίζει ώστε το ακουστικό να παραμένει σταθερό στη θέση του όταν έχετε τοποθετήσει το τηλέφωνο στον τοίχο.

text_image
C
text_image
D C- Συνδέστε ξανά το ακουστικό στο τηλέφωνο και τοποθετήστε το στη βάση του ακουστικού.
Σημείωση!
Στην περίπτωση που τοποθετήσετε ξανά το τηλέφωνο σε επιτραπέζια θέση, μην ξεχάσετε να αλλάξετε και πάλι τη φορά του άγκιστρου.
Λειτουργία
Πραγματοποίηση κλήσης
Κανονική κλήση
- Σηκώστε το ακουστικό.
- Καλέστε τον τηλεφωνικό αριθμό. Τοποθετήστε το ακουστικό στη θέση του για να τερματίσετε την κλήση.
Ηχείο
Σημείωση!
Το ηχείο δουλεύει μόνο όταν έχουν τοποθετηθεί οι μπαταρίες ή όταν έχει συνδεθεί ο προσαρμογέας τροφοδοσίας.
- Πατήστε το πλήκτρο ↔ για να ενεργοποιήσετε το ηχείο. Η ενδεικτική λυχνία δίπλα στο πλήκτρο ανάβει.
- Καλέστε τον τηλεφωνικό αριθμό. Πατήστε ξανά το πλήκτρο ↔ για να τερματίσετε την κλήση.
Στη διάρκεια μιας κλήσης μπορείτε να απενεργοποιήσετε το ηχείο και να συνεχίσετε τη συνομιλία σας σηκώνοντας το ακουστικό.
Прокатарктική κλήση
- Πληκτρολογήστε τον τηλεφωνικό αριθμό.
Πατήστε το πλήκτρο ζυα να διαγράψετε το τελευταίο ψηφίο που έχετε πληκτρολογήσει. - Σηκώστε το ακουστικό ή πατήστε το πλήκτρο
για να καλέσετε τον αριθμό.
Άμεση επανάκληση
- Σηκώστε το ακουστικό ή πατήστε το πλήκτρο
- Πατήστε το πλήκτρο να να γίνει επανάκληση του τελευταίου αριθμού που είχατε καλέσει.
Κλήση τηλεφωνικών αριθμών από τη μνήμη κλήσεων
-
Πατήστε το πλήκτρο να εμφανίζετε τις πιο πρόσφατες κλήσεις στην οθόνη του τηλεφώνου.
-
Χρησιμοποιήστε τα βέλη △ / ▽ για να μετακινηθείτε στη λίστα των 15 πιο πρόσφατων εισερχόμενων και εξερχόμενων κλήσεων.
$$ \begin{array}{l} \mathcal {V} = \text { E i } \sigma \varepsilon \rho \chi \acute {\omicron} \mu \varepsilon \nu \eta \kappa \lambda \acute {\eta} \sigma \eta \ \nearrow = \mathsf {E} \xi \varepsilon \rho \chi \acute {\omicron} \mu \epsilon \nu \eta \kappa \lambda \acute {\eta} \sigma \eta \ \end{array} $$
- Σηκώστε το ακουστικό ή πατήστε το πλήκτρο ↔ για να καλέσετε τον τηλεφωνικό αριθμό που εμφανίζεται στην οθόνη.
Ταχεία κλήση (αποθηκευμένων αριθμών σε πλήκτρα)
-
Πατήστε οποιοδήποτε από τα τρία πλήκτρα ταχείας κλήσης Α/Β/С. Εμφανίζεται ο αντίστοιχος αποθηκευμένος τηλεφωνικός αριθμός.
-
Σηκώστε το ακουστικό ή πατήστε το πλήκτρο για να καλέσετε τον αριθμό.
Κλήση τηλεφωνικών αριθμών από τον τηλεφωνικό κατάλογο
-
Πατήστε το πλήκτρο 📄 για να εμφανίσετε τον τηλεφωνικό κατάλογο.
-
Χρησιμοποιήστε τα βέλη △ / ▽ για να μετακινηθείτε ανάμεσα στους τηλεφωνικούς αριθμούς του καταλόγου ή πληκτρολογήστε το πρώτο γράμμα ενός ονόματος για να βρείτε άμεσα την αντίστοιχη καταχώρηση (βλέπε Χαρακτήρες πληκτρολογίου).
-
Σηκώστε το ακουστικό ή πατήστε το πλήκτρο ↔ για να καλέσετε τον αριθμό.
Απάντηση σε εισερχόμενες κλήσεις
Σηκώστε το ακουστικό για να απαντήσετε σε μια εισερχόμενη κλήση ή πατήστε το πλήκτρο ↔ για να χρησιμοποιήσετε το ηχείο.
Ηχος κλήσης
Μπορείτε να προσαρμόσετε τη μελωδία και τον ήχο κλήσης χρησιμοποιώντας τα ρυθμιστικά που βρίσκονται στο κάτω μέρος της συσκευής.
Μελωδία ήχου κλήσης Ηχος κλήσης
Μπορείτε να προσαρμόσετε την ένταση του ήχου κλήσης από το διακόπτη που βρίσκεται στη δεξιά πλευρά του τηλεφώνου.
'Ενταση ήχου
Μπορείτε να προσαρμόσετε την ένταση του ηχείου από το ρυθμιστικό που βρίσκεται στη δεξιά πλευρά της συσκευής.
Το ρυθμιστικό για την ένταση του ήχου του ακουστικού βρίσκεται κάτω από το ακουστικό.
Χαρακτήρες πληκτρολογίου
1 [Space] + & - / X 1
2 A B C Å Ä Æ æ å ä β 2 Γ
3 DE Fë 3Δ
4 GHIi4Θ
5 JKL5L
6 MNOÑñÖəö6
7 P Q R S 7 ΠΣ
8 TUVÜü8
9 WXYZ9ΦΨΩ
* .... @ ( ) * < > |
0 , . : ? = 0
\$ \_% ! #
Πρόσθετες λειτουργίες
Τηλεφωνικός κατάλογος
Ο τηλεφωνικός κατάλογος διαθέτει δυνατότητα αποθήκευσης έως και 30 καταχωρήσεων. Εάν η μνήμη είναι πλήρης, στην οθόνη του τηλεφώνου εμφανίζεται η ένδειξη ----100%.
Αποθήκευση τηλεφωνικών αριθμών στον τηλεφωνικό κατάλογο
- Πατήστε και κρατήστε πατημένο το πλήκτρο μέχρι να εμφανιστεί στην οθόνη ένας δρομέας που αναβοσβήνει.
- Εισάγετε τον τηλεφωνικό αριθμό (έως 22 ψηφία). Χρησιμοποιήστε το πλήκτρο △ / ▽ για να μετακινήσετε το δρομέα και το πλήκτρο C/← για να πραγματοποιήσετε διαγραφή εάν χρειαστεί. Χρησιμοποιήστε το πλήκτρο # για να εισάγετε ένα κενό στον αριθμό.
- Πατήστε το πλήκτρο για να επιβεβαιώσετε την καταχώρησή σας. Ο δρομέας που αναβοσβήνει εμφανίζεται στη δεύτερη γραμμή της οθόνης.
-
Πληκτρολογήστε ένα όνομα (έως 9 χαρακτήρες) για τον αριθμό που θέλετε να αποθηκεύσετε. (βλέπε Χαρακτήρες πληκτρολογίου).
-
Πατήστε το πλήκτρο να να επιβεβαιώσετε την καταχώρησή σας. Στην οθόνη εμφανίζεται η ένδειξη ΟΚ.
- Επαναλάβετε τα βήματα 1–5 για να αποθηκεύσετε νέο αριθμό ή πατήστε και κρατήστε πατημένο το πλήκτρο ζυλε-έξοδο.
Διαγραφή τηλεφωνικών αριθμών από τον τηλεφωνικό κατάλογο
- Πατήστε το πλήκτρο 📄 για να εμφανίσετε τον τηλεφωνικό κατάλογο.
- Χρησιμοποιήστε τα βέλη △ / ▽ για να μετακινηθείτε ανάμεσα στους τηλεφωνικούς αριθμούς του καταλόγου ή πληκτρολογήστε το πρώτο γράμμα ενός ονόματος για να βρείτε άμεσα την αντίστοιχη καταχώρηση.
- Πατήστε και κρατήστε πατημένο το πλήκτρο C/← για να διαγράψετε την καταχώριση.
Επεξεργασία τηλεφωνικών αριθμών στον τηλεφωνικό κατάλογο
-
Πατήστε το πλήκτρο 📂 για να εμφανίσετε τον τηλεφωνικό κατάλογο.
-
Χρησιμοποιήστε τα βέλη △ / ▽ για να μετακινηθείτε ανάμεσα στους τηλεφωνικούς αριθμούς του καταλόγου ή πληκτρολογήστε το πρώτο γράμμα ενός ονόματος για να βρείτε άμεσα την αντίστοιχη καταχώρηση.
-
Πατήστε και κρατήστε πατημένο το πλήκτρο 📄 μέχρι να εμφανιστεί στην οθόνη ο δρομέας που αναβοσβήνει.
-
Χρησιμοποιήστε τα βέλη △ / ▽ για να μετακινήσετε το δρομέα, πατήστε το πλήκτρο C/← για να διαγράψετε οποιοδήποτε στοιχείο και χρησιμοποιήστε το πληκτρολόγιο για την εισαγωγή νέων δεδομένων.
-
Πατήστε το πλήκτρο για να επιβεβαιώσετε την καταχώρησή σας. Ο δρομέας μετακινείται στη δεύτερη γραμμή.
-
Επαναλάβετε το βήμα 4 για να επεξεργαστείτε το όνομα/την περιγραφή.
-
Πατήστε το πλήκτρο Σηνα να επιβεβαιώσετε την καταχώρησή σας. Στην οθόνη εμφανίζεται η ένδειξη ΟΚ.
Αποθήκευση τηλεφωνικών αριθμών ταχείας κλήσης
- Πατήστε και κρατήστε πατημένο οποιοδήποτε από τα πλήκτρα ταχείας κλήσης Α/Β/С μέχρι να εμφανιστεί ένας δρομέας που αναβοσβήνει στην πρώτη γραμμή της οθόνης.
- Εισάγετε τον τηλεφωνικό αριθμό (έως 22 ψηφία) χρησιμοποιώντας το πληκτρολόγιο της συσκευής. Χρησιμοποιήστε τα βέλη △ / ▽ για να μετακινήσετε το δρομέα και πατήστε το πλήκτρο ζ/ε- να διαγράψετε οποιοδήποτε στοιχείο, εάν χρειαστεί. Πατήστε το πλήκτρο # για να εισάγετε ένα κενό στον αριθμό.
- Πατήστε το πλήκτρο για να επιβεβαιώσετε την καταχώρησή σας. Ο δρομέας που αναβοσβήνει εμφανίζεται στη δεύτερη γραμμή της οθόνης.
- Πληκτρολογήστε ένα όνομα (έως 9 χαρακτήρες) για τον αριθμό που θέλετε να αποθηκεύσετε. (βλέπε Χαρακτήρες πληκτρολογίου).
- Πατήστε το πλήκτρο Σηνα να επιβεβαιώσετε την καταχώρησή σας. Στην οθόνη εμφανίζεται η ένδειξη ΟΚ.
- Επαναλάβετε τα βήματα 1-5 για να αποθηκεύσετε αριθμούς στα υπόλοιπα πλήκτρα ταχείας κλήσης.
Διαγραφή τηλεφωνικών αριθμών ταχείας κλήσης
Δεν μπορείτε να διαγράψετε τους αποθηκευμένους αριθμούς ταχείας κλήσης, αλλά μόνο να τους αντικαταστήσετε με έναν άλλο αριθμό.
Αναγνώριση κλήσεων και μνήμη κλήσεων
Η αναγνώριση κλήσεων σας επιτρέπει να δείτε τον αριθμό του καλούντα πριν σηκώσετε το ακουστικό ή τις αναπάντητες κλήσεις που έχετε δεχτεί.
Σημείωση!
Για να χρησιμοποιήσετε τη λειτουργία αναγνώρισης κλήσεων πρέπει να είστε εγγεγραμμένοι στην αντίστοιχη υπηρεσία του δικτύου σταθερής τηλεφωνίας που διαθέτετε. Για περισσότερες πληροφορίες επικοινωνήστε με τον παροχέα σταθερής τηλεφωνίας.
Στη μνήμη της συσκευής αποθηκεύονται οι 15 πιο πρόσφατες εισερχόμενες και εξερχόμενες κλήσεις. Στην οθόνη, οι εισερχόμενες κλήσεις (απαντημένες και αναπάντητες) εμφανίζονται με το εικονίδιο και οι εξερχόμενες με το εικονίδιο
Εάν είναι ενεργοποιημένη η φωτεινή ένδειξη κλήσης, μια φωτεινή ένδειξη που αναβοσβήνει υποδεικνύει ότι έχετε λάβει μια αναπάντητη κλήση από την τελευταία φορά που ελέγξατε τη μνήμη κλήσεων.
Αναζήτηση στη μνήμη κλήσεων
-
Πατήστε το πλήκτρο και στη συνέχεια χρησιμοποιήστε τα βέλη Δ / ▽ για να μετακινηθείτε ανάμεσα στους αριθμούς της μνήμης κλήσεων. Στην οθόνη εμφανίζεται ο τηλεφωνικός αριθμός και η ώρα της κλήσης. Για κλήσεις που πραγματοποιήθηκαν πριν από 24 ώρες, εμφανίζεται η ημερομηνία κλήσης αντί για την ώρα.
-
Πατήστε το πλήκτρο Κυκα να επιστρέψετε στην αρχική οθόνη.
Διαγραφή τηλεφωνικών αριθμών από τη μνήμη κλήσεων
-
Πατήστε το πλήκτρο και στη συνέχεια χρησιμοποιήστε τα βέλη △ / ▽ για να μετακινηθείτε ανάμεσα στους αριθμούς της μνήμης κλήσεων.
-
Πατήστε και κρατήστε πατημένο το πλήκτρο C/← για να διαγράψετε την επιλεγμένη καταχώρηση.
Αντιγραφή αριθμών της μνήμης κλήσεων στον τηλεφωνικό κατάλογο
- Πατήστε το πλήκτρο και στη συνέχεια χρησιμοποιήστε τα βέλη Δ / ▽ για να μετακινηθείτε ανάμεσα στους αριθμούς της μνήμης κλήσεων.
- Πατήστε και κρατήστε πατημένο το πλήκτρο μέχρι να εμφανιστεί η ένδειξη ΟΚ στην οθόνη. Ο επιλεγμένος αριθμός έχει αποθηκευτεί στον τηλεφωνικό κατάλογο.
Πλήκτρο R

Πατήστε το πλήκτρο R και στη συνέχεια τον αριθμό της εσωτερικής τηλεφωνικής γραμμής για να προωθήσετε την κλήση εάν διαθέτετε τηλεφωνικό κέντρο (PBX).
Για να επιλέξετε τις πρόσθετες υπηρεσίες δικτύου χρησιμοποιήστε τα πλήκτρα Ⓑ, ✿ και #. Επικοινωνήστε με τον παροχέα σταθερής τηλεφωνίας για περισσότερες πληροφορίες σχετικά με τις διαθέσιμες υπηρεσίες δικτύου.
Χρονόμετρο κλήσεων
Όταν το τηλέφωνο βρίσκεται σε κατάσταση αναμονής, στην οθόνη εμφανίζεται η τρέχουσα ώρα. Αντίθετα,
στη διάρκεια μιας κλήσης στην οθόνη εμφανίζεται ένα χρονόμετρο το οποίο υπολογίζει τη διάρκεια της τρέχουσας κλήσης. Η διάρκεια της κλήσης εξακολουθεί να εμφανίζεται στην οθόνη για περίπου 5 δευτερόλεπτα μετά τον τερματισμό της.
Βοηθήματα ακοής
Το τηλέφωνο είναι συμβατό με βοηθήματα ακοής. Επιλέξτε τη λειτουργία Τ στο βοήθημα ακοής που χρησιμοποιείτε για να ενεργοποιήσετε τη λειτουργία του με το τηλέφωνο.
Αύξηση έντασης

Η ένταση του ακουστικού μπορεί να αυξηθεί έως και 10 dB εάν πιέσετε το πλήκτρο αύξησης έντασης κατά τη διάρκεια της κλήσης. Η ενδεικτική λυχνία στο πλήκτρο ανάβει. Πατήστε ξανά το πλήκτρο ή τερματίστε την κλήση για να απενεργοποιήσετε την Αύξηση έντασης.
Προσοχή!
Η ένταση του ακουστικού είναι πολύ δυνατή σε αυτή τη ρύθμιση. Η αύξηση έντασης θα πρέπει να χρησιμοποιείται μόνο από άτομα με μειωμένη ακοή.
Ηχος ακουστικού
Ο ήχος της ομιλίας (μπάσα/πρίμα) μπορεί να ρυθμιστεί για μεγαλύτερη διαύγεια χρησιμοποιώντας το ρυθμιστικό έντασης του ακουστικού που βρίσκεται στη δεξιά πλευρά του τηλεφώνου.
Φροντίδα και συντήρηση
Το τηλέφωνό σας είναι ένα τεχνικά προηγμένο προϊόν και θα πρέπει να το χειρίζεστε με μεγάλη προσοχή. Η εγγύηση μπορεί να ακυρωθεί σε περιπτώσεις μη ενδεδειγμένης χρήσης της συσκευής.
- Προστατέψτε τη συσκευή από την υγρασία. Η βροχή/το χιόνι, η υγρασία και τα πάσης φύσεως υγρά περιέχουν ουσίες που μπορούν να διαβρώσουν τα ηλεκτρικά κυκλώματα της συσκευής. Εάν βραχεί η συσκευή, θα πρέπει να αφαιρέσετε τις μπαταρίες και να τις αφήσετε να στεγνώσουν εντελώς πριν τις τοποθετήσετε ξανά στη θέση τους.
- Μη χρησιμοποιείτε και μην αφήνετε τη συσκευή σε χώρους με σκόνη ή ρύπους. Ενδέχεται να προκληθεί βλάβη στα κινούμενα μέρη και τα ηλεκτρονικά εξαρτήματα της συσκευής.
- Μην φυλάσσετε τη συσκευή σε μέρη όπου αναπτύσσονται υψηλές θερμοκρασίες. Οι υψηλές θερμοκρασίες μπορεί να μειώσουν τη διάρκεια ζωής του ηλεκτρονικού εξοπλισμού, να προκαλέσουν βλάβη στις μπαταρίες και να παραμορφώσουν ή να λιώσουν ορισμένα πλαστικά τμήματα της συσκευής.
- Μην φυλάσσετε τη συσκευή σε μέρη όπου αναπτύσσονται χαμηλές θερμοκρασίες. Όταν επαναφέρετε την συσκευή σε κανονική θερμοκρασία, μπορεί να σχηματιστούν υδρατμοί στο εσωτερικό της, προκαλώντας βλάβη στα ηλεκτρονικά κυκλώματα.
- Μην προσπαθήσετε να ανοίξετε τη συσκευή με οποιονδήποτε τρόπο εκτός από αυτόν που υποδεικνύεται στο παρόν εγχειρίδιο.
- Προστατέψτε τη συσκευή από πτώσεις. Μην χτυπάτε και μην κουνάτε με δύναμη τη συσκευή. Εάν χειρίζεστε τη συσκευή ασκώντας υπερβολική δύναμη, ενδέχεται να προκληθούν σημαντικές φθορές στα εσωτερικά κυκλώματα και τους μηχανισμούς ακριβείας.
- Μην χρησιμοποιείτε ισχυρά χημικά προϊόντα για να καθαρίσετε τη συσκευή.
- Ο προσαρμογέας ΑС-είναι η συσκευή αποσύνδεσης ανάμεσα στο προϊόν και το ρεύμα. Η πρίζα ηλεκτρικού ρεύματος πρέπει να βρίσκεται κοντά στον εξοπλισμό και να υπάρχει εύκολη πρόσβαση.
Οι παραπάνω οδηγίες ισχύουν για τη συσκευή, τις μπαταρίες, τον προσαρμογέα τροφοδοσίας και άλλα αξεσουάρ της συσκευής. Εάν το τηλέφωνο δεν λειτουργεί όπως πρέπει, μεταφέρετε την συσκευή για επιδιόρθωση στο κατάστημα όπου την αγοράσατε. Μην ξεχνάτε ότι πρέπει να έχετε μαζί σας την απόδειξη αγοράς ή ένα αντίγραφο του τιμολογίου.
Εγγύηση και τεχνικές πληροφορίες
Το προϊόν διαθέτει εγγύηση 24 μηνών που ισχύει από την ημερομηνία αγοράς. Σε περίπτωση που προκύψει κάποιο πρόβλημα στη διάρκεια αυτής της περιόδου, επικοινωνήστε με το κατάστημα όπου αγοράσατε την συσκευή. Προκειμένου να επωφεληθείτε από τις δωρεάν υπηρεσίες τεχνικής υποστήριξης και επισκευής κατά τη διάρκεια ισχύος της εγγύησης πρέπει να επιδείξετε την απόδειξη αγοράς της συσκευής.
Η παρούσα εγγύηση δεν ισχύει για βλάβες που προκλήθηκαν λόγω ατυχήματος ή ζημιών που οφείλονται σε εισχώρηση υγρών, αμέλεια, μη ενδεδειγμένη χρήση, κακή συντήρηση ή άλλων σφαλμάτων του χρήστη. Επιπλέον, η παρούσα εγγύηση δεν ισχύει για τυχόν βλάβες που οφείλονται σε καταιγίδα ή άλλα φαινόμενα που προκαλούν διακυμάνσεις της τάσης στο δίκτυο τροφοδοσίας. Για προληπτικούς λόγους, σας προτείνουμε να αποσυνδέετε τη συσκευή από την πρίζα στη διάρκεια καταιγίδων.
Οι μπαταρίες είναι αναλώσιμες και δεν παρέχεται καμία εγγύηση για αυτές.
Χρησιμοποιείτε μόνο αλκαλικές μπαταρίες ΑΑ καλής ποιότητας.
ΠΡΟΣΟΧΗ! Αυτή η Εγγύηση δεν επηρεάζει τα νόμιμα δικαιώματά σας σύμφωνα με την εφαρμοστέα εθνική νομοθεσία που αφορά στην πώληση καταναλωτικών προϊόντων.
Προδιαγραφές
Μέγεθος: 175 χιλ. × 175 χιλ. × 60 χιλ.
Βάρος: 750 γρ. (συμπεριλαμβάνονται οι μπαταρίες)
Μπαταρία: 4 αλκαλικές μπαταρίες ΑΑ 1,5 V
Δήλωση Συμμόρφωσης
Με την παρούσα, η Doro δηλώνει ότι το προϊόν Doro HearPlus 313ci συμμορφώνεται πλήρως με τις απαραίτητες απαιτήσεις και άλλους συναφείς κανονισμούς που αναφέρονται στις Οδηγίες 1999/5/ΕΚ περί Radioεξοπλισμού και Τηλεπικοινωνιακού Τερματικού Εξοπλισμού (R&TTE) και 2002/95/ΕΚ (περί Περιορισμού χρήσης ορισμένων επικίνδυνων ουσιών σε Είδη ηλεκτρικού και ηλεκτρονικού εξοπλισμού).
Αντίγραφο της Δήλωσης συμμόρφωσης μπορείτε να βρείτε στην ηλεκτρονική διεύθυνση www.doro.com/dofc
English
Swedish
Norwegian
Danish
Finnish
French
Spanish
Italian
Greek
Version 2.0
ΕύκολοΕγχειρίδιο