HearPlus 313ci - Téléphone DORO - Notice d'utilisation et mode d'emploi gratuit
Retrouvez gratuitement la notice de l'appareil HearPlus 313ci DORO au format PDF.
| Caractéristiques | Détails |
|---|---|
| Type de produit | Téléphone fixe amplifié |
| Amplification sonore | Jusqu'à 30 dB |
| Affichage | Écran LCD rétroéclairé |
| Clavier | Touches larges et bien espacées |
| Fonctionnalités supplémentaires | Répondeur intégré, sonnerie réglable, fonctions d'urgence |
| Utilisation | Conçu pour les personnes malentendantes ou âgées |
| Alimentation | Fonctionne sur secteur avec batterie de secours |
| Maintenance | Nettoyage régulier avec un chiffon doux, éviter l'humidité |
| Sécurité | Conforme aux normes de sécurité électrique |
| Garantie | 2 ans |
| Poids | Environ 1 kg |
| Dimensions | Largeur : 20 cm, Hauteur : 10 cm, Profondeur : 15 cm |
| Accessoires inclus | Câble d'alimentation, guide d'utilisation |
FOIRE AUX QUESTIONS - HearPlus 313ci DORO
Questions des utilisateurs sur HearPlus 313ci DORO
0 question sur cet appareil. Repondez a celles que vous connaissez ou posez la votre.
Poser une nouvelle question sur cet appareil
Téléchargez la notice de votre Téléphone au format PDF gratuitement ! Retrouvez votre notice HearPlus 313ci - DORO et reprennez votre appareil électronique en main. Sur cette page sont publiés tous les documents nécessaires à l'utilisation de votre appareil HearPlus 313ci de la marque DORO.
MODE D'EMPLOI HearPlus 313ci DORO
- Prise de ligne téléphonique
- Languette de support du combiné
- Clavier
- Prise du cordon du combiné
- Volume du combiné
- Touche R
- Amplification du volume
- Journal des appels / OK
-
Effacer
-
Prise du bloc d'alimentation
-
Tonalité d'appel
-
Mélodie
-
Volume de la sonnerie
-
Touches mémoires directes
-
Répertoire
-
Tonalité du combiné
-
Volume du haut-parleur
-
Mode mains libres
-
HAUT/BAS
-
Témoin d'appel en absence
-
Témoin de la sonnerie
Español
Ce produit peut être utilisé comme téléphone de bureau ou mural. Le réglage de tonalité du combiné, la touche d'amplification du volume, l'augmentation du volume de sonnerie et le témoin d'appel visuel rendent ce téléphone particulièrement adapté aux personnes présentant une déficience auditive.
Le clavier extra-large et l'afficheur très lisible à grands caractères font de ce téléphone un appareil simple à utiliser, même par les personnes malvoyantes.
Le répertoire intégré peut mémoriser jusqu'à 30 noms et numéros. Trois touches de mémoire directe peuvent être programmées pour les numéros fréquemment utilisés ou les numéros d'urgence. Un journal des appels enregistre les 15 derniers appels entrants et sortants.
Une fonction mains libres vous permet, par une simple pression sur un bouton, de téléphoner en gardant les mains libres.
Cet équipement est conçu pour être utilisé sur le réseau téléphonique analogique AT, BE, BG, CH, CY, CZ, DE, DK, EE, ES, FI, FR, GB, GR, HU, IE, IS, IT, LV, LT, LU, MT, NL, NO, PL, PT, RO, SI, SK, SE.
Installation
Raccordement
- Reliez le cordon spiralé au combiné et à la prise marquée du téléphone.
- Reliez le cordon de ligne téléphonique à une prise téléphonique murale et à la prise située à l'arrière du téléphone.
- Branchez le bloc d'alimentation à la prise de courant secteur et à la prise 9 V DC du téléphone.
- Décrochez le combiné et vérifiez que vous avez la tonalité.
Piles
Pour protéger les données en mémoire et d'autres fonctions en cas de panne de courant, le téléphone nécessite quatre piles AA de 1,5V. Lorsque BATT. LOW s'affiche, remplacez les 4 piles. N'utilisez que des piles alcalines AA de bonne qualité (non incluses).
Remarque :
Avant d'installer ou de remplacer les piles, assurez-vous que le téléphone n'est pas branché sur le réseau téléphonique.
- Retirez la trappe du compartiment à piles et placez les piles en veillant bien à respecter les polarités.
- Remettez la trappe en place et rebranchez le cordon de ligne téléphonique.
Réglages de base
Avant d'utiliser le téléphone pour la première fois, vous devez procéder aux réglages de base ci-dessous.
Une fois un réglage confirmé, le réglage suivant s'affiche automatiquement. Pour passer au réglage suivant, appuyez sur 📂
Le téléphone repasse en mode veille après 30 secondes d'inactivité ou lorsque vous appuyez sur C/←
Lors de la première configuration, l'horloge de l'écran affiche 00:00.
- Maintenez la touche ✪ enfoncée pendant environ 5 secondes jusqu'à ce que l'heure clignote.
- Utilisez les touches △ / ▽ pour modifier la valeur et confirmez à l'aide de la touche ↗
- Répétez les étapes 1–2 pour régler les minutes, le jour et le mois.
ENGLISH s'affiche.
Utilisez les touches △ / ▽ pour sélectionner la langue de votre choix, puis confirmez à l'aide de la touche
-2- CONTRAST
Utilisez les touches △ / ▽ pour définir la valeur de contraste de l'écran (1–4), puis confirmez avec la touche ↗
KEYT. ON
Utilisez les touches △ / ▽ pour activer/désactiver les touches sonores et confirmez à l'aide de la touche ↗
-100- FLASH
Utilisez les touches △ / ▽ pour régler l'intervalle de la touche R (100/300/600 ms) et confirmez à l'aide de la touche ↗
La valeur standard est 100 pour la plupart des pays, 300 pour la France et le Portugal, 600 pour la Nouvelle-Zélande.
LED OFF
Utilisez les touches △ / ▽ pour activer/désactiver le témoin lumineux (LED) signalant des appels en absence et confirmez à l'aide de la touche ↗
TONE
Utilisez les touches △ / ▽ pour sélectionner le mode de numérotation par tonalité ou par impulsion et confirmez à l'aide de la touche ↗
Remarque :
Si vous n'êtes pas certain du mode à utiliser, sélectionnez l'option TONE qui fonctionnera dans la plupart des cas.
Fixation au mur
Le téléphone peut être fixé au mur à l'aide du support de fixation mural fourni et de deux vis (non incluses).
Avertissement !
Assurez-vous qu'aucun câble, aucune conduite d'eau ou de gaz ne se trouve dans le mur avant de perforer.
Percez deux trous dans le mur en respectant un écartement vertical de 83 mm.
- Insérez les vis en les laissant dépasser du mur sur environ 5 mm.
- Débranchez et retirez le combiné.
- Placez les onglets de guidage (A) du support dans les fentes (B) situées à l'arrière du téléphone, puis faites glisser le support vers le haut jusqu'à ce qu'il se mette en place.

text_image
B A- Placez le téléphone de sorte que les vis du mur correspondent aux fentes du support, puis glissez le téléphone vers le bas jusqu'à ce qu'il s'accroche aux vis.
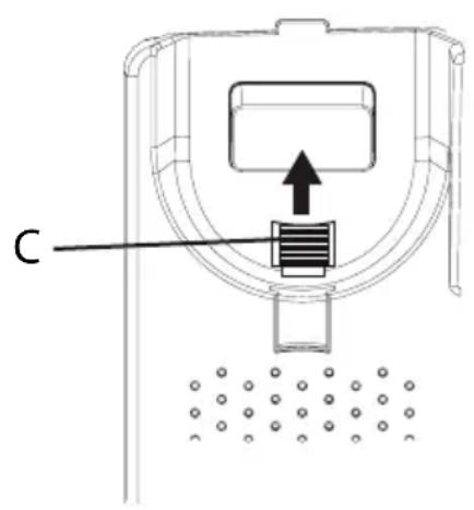
- Retirez le décrocheur de combiné (C) en le poussant vers le haut et introduisez-le dans la position inverse de manière à ce que le petit onglet (D) fasse saillie. Le décrocheur sera désormais maintenue dans le support lorsque le téléphone est fixé au mur.

text_image
C
text_image
D C- Rebranchez le combiné et placez-le dans le support.
Remarque :
Si le téléphone doit être à nouveau utilisé comme téléphone de bureau, rappelez-vous d'inverser la position de la languette de support du combiné.
Utilisation
Passer un appel
Numérotation normale
- Décrochez le combiné.
- Composez le numéro. Raccrochez le combiné pour mettre fin à l'appel.
Mode mains libres
Remarque : Le mode mains libres ne fonctionne qu'en présence de piles dans l'appareil ou si le bloc d'alimentation est branché.
- Appuyez sur la touche 🔍 pour activer le mode mains libres. Le témoin lumineux (LED) situé à côté de la touche s'allume.
- Composez le numéro. Appuyez une nouvelle fois sur la touche ↔ pour mettre fin à l'appel.
Décrochez le combiné pour passer du haut-parleur au combiné pendant un appel.
Pré-numérotation
-
Saisissez le numéro de téléphone. Appuyez sur la touche Cœur supprimer le dernier chiffre saisi.
-
Décrochez le combiné ou appuyez sur la touche pour composer.
Composition rapide du numéro
- Décrochez le combiné ou appuyez sur ↩.
- Appuyez sur la touche pour composer le dernier numéro composé.
Composition des numéros enregistrés dans la mémoire des appels
- Appuyez sur la touche pour afficher l'appel le plus récent.
- Utilisez les touches △ / ▽ pour parcourir les 15 derniers appels entrants et sortants.
B = Appel entrant
→ = Appel sortant
- Décrochez le combiné ou appuyez sur la touche pour composer le numéro affiché.
Mémoires directes (numéros abrégés)
- Appuyez sur l'une des touches des mémoires directes A/B/C. Le numéro de téléphone mémorisé s'affiche.
- Décrochez le combiné ou appuyez sur la touche pour composer.
Composition des numéros mémorisés dans le répertoire
- Appuyez sur la touche 📄 pour ouvrir le répertoire.
- Utilisez les touches △ / ▽ pour parcourir le répertoire ou saisissez le premier caractère du nom pour trouver rapidement une entrée (voir Caractères du clavier).
- Décrochez le combiné ou appuyez sur la touche pour composer.
Répondre à un appel
Décrochez le combiné pour répondre à un appel entrant ou appuyez sur la touche 🔊 pour répondre en mode mains libres.
Sonnerie
La mélodie et la tonalité de la sonnerie peuvent être réglés à l'aide des curseurs situés sur le fond du téléphone.

Mélodie
Tonalité d'appel
Le volume de la sonnerie se règle à l'aide du commutateur situé sur le côté droit du téléphone.
Réglage du volume
Le volume du haut-parleur se règle à l'aide d'un curseur situé sur le côté droit du téléphone.
Le réglage du volume du combiné se trouve sous le combiné.
Caractères du clavier
1 ....[Space] + & - / X 1
2 ....A B C Å Ä A E æ å ä β 2 Γ
3 ....D E F ë 3 Δ
4 ....G H I ë 4 Θ
5 ....J K L 5 Ł
6 ....M N O Ñ ñ Ö ø ö 6 Ξ
7 ....P Q R S 7 Π Σ
8 ....T U V Ü ü 8
9 ....W X Y Z 9 Φ Ψ Ω
* ....`@ () * < > |
0 ...., . : ? = 0
<h1 id="_-5">....$ _ % ! #</h1>
Fonctions supplémentaires
Répertoire
Le répertoire peut mémoriser jusqu'à 30 entrées.
Lorsque la mémoire est pleine, l'écran affiche ----100%.
Mémorisation de numéros dans le répertoire
- Maintenez la touche 📄 enfoncée jusqu'à ce qu'un curseur clignotant s'affiche.
- Saisissez un numéro de téléphone (jusqu'à 22 chiffres). Utilisez les touches △ / ▽ pour déplacer le curseur et la touche C pour effacer si nécessaire. Utilisez la touche # pour insérer une pause dans le numéro.
- Appuyez sur la touche pour confirmer. Un curseur clignotant s'affichera sur la deuxième ligne de l'afficheur.
- Saisissez un nom (jusqu'à 9 caractères) à associer au numéro à mémoriser (voir Caractères du clavier).
- Appuyez sur la touche pour confirmer. OK s'affiche à l'écran.
- Répétez les étapes 1 à 5 pour mémoriser un autre numéro ou maintenez la touche C/← enfoncée pour quitter.
Suppression de numéros mémorisés dans le répertoire
- Appuyez sur la touche 📄 pour ouvrir le répertoire.
- Utilisez les touches △ / ▽ pour parcourir le répertoire ou saisissez le premier caractère pour trouver rapidement une entrée.
- Appuyez sur la touche Cet-maintenez-la enfoncée pour supprimer l'entrée.
Modification de numéros mémorisés dans le répertoire
- Appuyez sur la touche 📄 pour ouvrir le répertoire.
- Utilisez les touches △ / ▽ pour parcourir le répertoire ou saisissez le premier caractère pour trouver rapidement une entrée.
- Maintenez la touche 📄 enfoncée jusqu'à ce qu'un curseur clignotant s'affiche.
- Utilisez les touches △ / ▽ pour déplacer le curseur et utilisez la touche Cet le clavier pour effacer et saisir les nouvelles données.
- Appuyez sur la touche pour confirmer. Le curseur passe à la deuxième ligne.
- Répétez l'étape 4 pour modifier le nom ou la description.
- Appuyez sur pour confirmer. OK s'affiche.
Mémorisation de numéros abrégés
- Appuyez et maintenez enfoncée l'une des touches de numérotation rapide A/B/C jusqu'à ce qu'un curseur clignotant apparaisse sur la première ligne de l'écran.
- Saisissez un numéro de téléphone (jusqu'à 22 chiffres) à l'aide du clavier. Utilisez les touches △ / ▽ pour déplacer le curseur et la touche C/← pour effacer si nécessaire. Utilisez la touche # pour insérer une pause dans le numéro.
- Appuyez sur la touche pour confirmer. Un curseur clignotant s'affichera sur la deuxième ligne de l'afficheur.
- Saisissez un nom (jusqu'à 9 caractères) à associer au numéro à mémoriser (voir Caractères du clavier).
- Appuyez sur la touche pour confirmer. OK s'affiche.
- Répétez les étapes 1 à 5 pour mémoriser les numéros des autres touches de numérotation rapide.
Suppression de mémoires directes
Les numéros abrégés ne peuvent pas être supprimés, ils peuvent uniquement être remplacées en mémorisant un nouveau numéro.
Présentation du numéro/nom et du journal des appels
La présentation du numéro/nom vous permet de voir qui vous appelle avant de répondre et qui a appelé en votre absence.
Remarque :
La fonction de présentation du numéro/nom doit être activée par abonnement. Veuillez contacter votre opérateur pour de plus amples informations.
La mémoire des appels enregistrera les 15 derniers appels entrants et les 15 derniers appels sortants. Sur l'afficheur, les appels entrants (avec ou sans réponse) sont indiqués par le symbole et les appels sortants par le symbole.
Si la fonction Témoin d'appel est active, un témoin clignotant vous indique qu'un appel sans réponse a été reçu depuis la dernière vérification de la mémoire des appels.
Parcourir la mémoire des appels
- Appuyez sur la touche △ puis sur les touches △ / ▽ pour parcourir la mémoire des appels. Le numéro et l'heure de chaque appel s'afficheront. Pour les appels remontant à plus de 24 heures, l'appareil affiche la date de l'appel plutôt que l'heure.
- Appuyez sur C pour quitter la mémoire des appels.
Suppression de numéros enregistrés dans la mémoire des appels
-
Appuyez sur la touche ↗, puis sur les touches △ / ▽ pour parcourir la mémoire des appels.
-
Appuyez sur la touche Cet-maintenez-la enfoncée pour supprimer l'entrée sélectionnée.
Copie des entrées de le journal des appelants dans le répertoire
- Appuyez sur la touche 📋 puis sur les touches △ / ▽ pour parcourir le journal des appelants.
- Maintenez la touche ✪ enfoncée jusqu'à ce que OK s'affiche. Le numéro sélectionné est maintenant mémorisé dans le répertoire.
Minuterie de temps d'appel
L'afficheur indique l'heure actuelle en mode de veille. Pendant un appel, l'afficheur indiquera la durée de l'appel. La durée de l'appel s'affiche pendant 5 secondes après la fin de l'appel.
Touche " R "

Appuyez sur la touche R suivie du numéro d'extension pour transférer un appel si vous êtes connecté à un système PBX.
D'autres services réseau peuvent être accessibles à l'aide des touches R, ✱ et #. Veuillez contacter votre opérateur pour obtenir plus d'informations sur les services réseau disponibles.
Prothèse auditive
Ce téléphone est compatible avec l'usage d'une prothèse auditive. Sélectionnez le mode T sur votre prothèse auditive pour activer cette fonction.
Amplification du volume

Le volume du combiné peut être augmenté de 10 dB en appuyant sur la touche d'amplification du volume pendant la conversation. Le témoin lumineux (LED) sur la touche s'allume. Appuyez de nouveau sur cette touche ou terminez l'appel pour annuler l'amplification du volume.
Avertissement !
Le volume du combiné peut être très élevé avec ce réglage. L'amplification du volume ne doit être utilisée que par des personnes souffrant de troubles de l'audition.
Tonalité du combiné

Vous pouvez ajuster la tonalité vocale (basses et aiguës) pour obtenir un son plus intelligible. Utilisez pour ce faire le réglage de tonalité du combiné sur le côté droit du téléphone. REMARQUE ! Ne fonctionne que lorsque le niveau extra-fort est activé.
Précautions et entretien
Votre téléphone est un produit de haute technologie et il doit être manipulé avec le plus grand soin. Une négligence peut annuler la garantie.
- Maintenez l'appareil au sec. L'eau de pluie ou la neige, l'humidité et les liquides contiennent des minéraux susceptibles d'oxyder et de détériorer les composants électroniques. Si votre appareil est humide, retirez les piles et laissez l'appareil sécher complètement avant de la remettre en place.
- N'utilisez pas et ne rangez pas votre appareil dans un endroit sale ou poussiéreux. Les parties mobiles et les composants électroniques de l'appareil pourraient être endommagés.
- Ne rangez pas l'appareil dans des endroits où la température est élevée. Des températures élevées peuvent réduire la durée de vie des appareils électroniques, endommager les piles et faire fondre certains composants en plastique.
- Ne rangez pas l'appareil dans des endroits où la température est basse. Lorsqu'il repasse à température normale, de la condensation peut se former à l'intérieur de l'appareil et endommager les circuits électroniques.
- N'essayez pas d'ouvrir l'appareil autrement que selon les instructions de ce manuel.
- Ne faites pas tomber l'appareil. Ne le heurtez pas et ne le secouez pas. Une manipulation brutale risquerait de détruire les circuits internes et les pièces mécaniques.
- N'utilisez pas de produits chimiques puissants pour nettoyer votre appareil.
- L'adaptateur secteur sert de dispositif de sectionnement de l'alimentation 230 V. Il doit donc être installé, par précaution, près de l'appareil et être facilement accessible.
Les recommandations ci-dessus s'appliquent à votre appareil ainsi qu'aux piles, au bloc d'alimentation et à tout autre accessoire. Si le téléphone ne fonctionne pas correctement, rapportez-le au S.A.V. de votre revendeur. N'oubliez pas de vous munir du ticket de caisse ou d'une copie de la facture.
Garantie et données techniques
Garantie et S.A.V.
Pour la France
Cet appareil est garanti deux ans à partir de sa date d'achat, la facture faisant foi. En cas de problèmes, contactez votre revendeur. La réparation dans le cadre de cette garantie sera effectuée gratuitement.
La garantie est valable pour un usage normal de l'appareil tel qu'il est défini dans la notice d'utilisation. Les fournitures utilisées avec l'appareil ne sont pas couvertes par la garantie. Sont exclues de cette garantie les détériorations dues à une cause étrangère à l'appareil. Les dommages dus à des manipulations ou à un emploi non conformes, à un montage ou entreposage dans de mauvaises conditions, à un branchement ou une installation non-conformes ne sont pas pris en charge par la garantie. Par ailleurs, la garantie ne s'appliquera pas si l'appareil a été endommagé à la suite d'un choc ou d'une chute, d'une fausse manoeuvre, d'un branchement non-conforme aux instructions mentionnées dans la notice, de l'effet de la foudre, de surtensions électriques ou électrostatiques, d'une protection insuffisante contre l'humidité, la chaleur ou le gel. En tout état de cause, la garantie légale pour vices cachés s'appliquera conformément aux articles 1641 et suivants du Code Civil. En tant que consommables, les piles sont exclues de la garantie.
N'utilisez que des piles alcalines AA de bonne qualité.
REMARQUE Cette Garantie n'affecte pas les droits dont vous jouissez au titre des lois en vigueur dans votre pays relatives à la vente des produits de consommation.
Spécifications
Dimensions : 175 mm x 175 mm x 60 mm Poids : 750 g (avec piles) Piles : 4 piles alcalines 1,5 V AA
Déclaration de conformité
Doro certifie que cet appareil Doro HearPlus 313ci est compatible avec l'essentiel des spécifications requises et autres points des directives 1999/5/CE (R&TTE) et 2002/95/CE (RoHS).
Une copie de la déclaration de conformité du fabricant peut être consultée sur www.doro.com/dofc
Descripción
HearPlus 313ci de Doro
Batteria: 4 batterie alcaline AA da 1,5 V
Notice Facile