HearPlus 313ci - Telefon DORO - Gratis bruksanvisning och manual
Hitta enhetens manual gratis HearPlus 313ci DORO i PDF-format.
Användarfrågor om HearPlus 313ci DORO
0 fråga om denna apparat. Svara på dem du kan eller ställ din egen.
Ställ en ny fråga om denna apparat
Ladda ner instruktionerna för din Telefon i PDF-format gratis! Hitta din manual HearPlus 313ci - DORO och ta tillbaka ditt elektroniska enhet i hand. På denna sida publiceras alla dokument som behövs för att använda din enhet. HearPlus 313ci av märket DORO.
BRUKSANVISNING HearPlus 313ci DORO
- Uttag för telefonsladd
- Hake för luren
- Knappsats
- Uttag för sladd till luren
- Volymkontroll för luren
- R-knapp
- Volymförstärkning
- Samtalsminne / OK
- Radera
- Uttag för strömadapter
-
Ringsignal
-
Ringsignalsmelodi
- Ringsignalsvolym
- Snabbvalsknappar
- Telefonbok
- Lurens ton
- Högtalarvolym
- Högtalartelefon
- UPP/NED
- Indikator för nytt samtal
- Ringningsindikator
Norsk
- Telefonlinjekontakt
- Krok til telefonrør
- Tastatur
- Kontakt til telefonrør
- Volumkontroll, telefonrør
- R-knapp
- Volumforsterker
- Anropsminne / OK
- Slett
- Strømadapterkontakt
-
Ringetone
-
Ringemelodi
- Ringevolum
- Hurtigtaster
- Telefonbok
- Tone i telefonrøret
- Høyttalervolum
- Høyttalerfunksjon
- OPP/NED
- Indikator for nytt anrop
- Ringeindikator
Dansk
Denna produkt kan användas antingen som bordstelefon eller som väggmonterad telefon.
Kontroll av lurens ton, volymförstärkning, starkare ringvolym och visuell samtalsindikation gör att telefonen passar mycket bra för personer med nedsatt hörsel.
Den extra stora knappsatsen och displayen, som har tydliga tecken, gör att telefonen också kan användas av personer med nedsatt syn.
Den inbyggda telefonboken kan lagra upp till 30 namn och nummer. Tre minnesknappar kan programmeras för att lagra ofta uppringda nummer eller akutnummer. Ett samtalsminne lagrar de 15 senast inkommande och utgående samtalen.
En högtalarfunktion gör att du kan prata utan att behöva hålla i luren, med hjälp av ett knapptryck.
Utrustningen är avsedd att användas i analoga telefonnät i AT, BE, BG, CH, CY, CZ, DE, DK, EE, ES, FI, FR, GB, GR, HU, IE, IS, IT, LV, LT, LU, MT, NL, NO, PL, PT, RO, SI, SK, SE.
Inkoppling
- Anslut spiralsladden till luren samt till uttaget markerat med 📋 på telefonen.
- Anslut telefonsladden till ett telejack samt till uttaget 📞 på telefonens baksida.
- Anslut strömadaptern till vägguttaget och till strömuttaget (9V) på telefonen.
- Lyft luren och kontrollera att kopplingston hörs.
Batterier
Fyra alkaliska AA--batterier behövs för samtalsminnet och högtalartelefonen skall fungera under strömavbrott. När BATT. LOW visas i displayen, byt ut alla 4 batterierna. Använd endast alkaliska AA-batterier av god kvalitet (medföljer ej).
Obs!
Innan du installerar eller byter ut batterierna, kontrollera att telefonen inte är ansluten till telefonjacket.
- Ta loss batteriluckan och sätt i batterierna med rätt polaritet.
- Sätt tillbaka batteriluckan och koppla in telefonsladden igen.
Grundinställningar
Innan du använder telefonen för första gången bör du göra följande grundinställningar. Efter att du bekräftat en inställning, visas nästa inställning automatiskt i displayen. För att hoppa till nästa inställning, tryck på 📋
Telefonen kommer att återgå till standby-läget efter 30 sekunders inaktivitet eller om du trycker på C/←.
Vid den första inställningen visar displayens klocka 00:00.
- Tryck på och håll in ✪ under ca. 5 sekunder tills timtalet börjar blinka.
- Använd △ / ▽ för att ändra tiden och bekräfta med ↗
- Upprepa steg 1–2 för att ställa in minuter, datum och månad.
ENGLISH visas.
Använd △ / ▽ för att välja önskat språk, och bekräfta med ↗
-2- CONTRAST
Använd △ / ▽ för att ställa in displayens kontrast (1–4) och bekräfta med ↗
KEYT. ON
Använd △ / ▽ för att ställa in knappljudet på ON/OFF (PÅ/AV), och bekräfta med ↗
-100- FLASH
Använd △ / ▽ för att ställa in R-knappstid (100/300/600 ms) och bekräfta med ↗
Standardinställningen för de flesta länder är 100,300 för Frankrike/Portugal, 600 för Nya Zeeland.
LED OFF
Använd △ / ▽ för att aktivera/avaktivera lysdiodsindikatorn för inkommande samtal, och bekräfta med ↗
TONE
Använd △ / ▽ för att ställa in antingen ton- eller pulsläge, och bekräfta med ↗
Obs!
Om du är osäker på vilket läge du ska välja, välj TONE, då detta fungerar på de flesta platser.
Väggmontering
Du kan montera telefonen på väggen med hjälp av den medföljande vägghållaren och två skruvar (medföljer ej).
Varning!
Kontrollera så att inga kablar, vattenledningar eller gasledningar finns innanför väggen innan du börjar borra i den.
- Borra två hål i väggen, lodrätt och med 83 mm mellanrum.
- Sätt i skruvarna och låt dem sticka ut cirka 5 mm från väggen.
- Dra ur och ta bort luren.
- Passa in vägghållarens flikar (A) i springorna (B) på telefonens baksida, och för vägghållaren uppåt tills den klickar på plats.

text_image
B A- Placera telefonen så att skruvarna på väggen passar in i vägghållarens springor, och för telefonen nedåt tills den hänger på skruvarna.
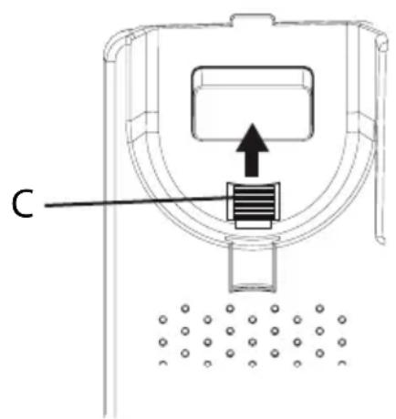
- Ta bort lurens hake (C) genom att trycka den uppåt, och sätt tillbaka den åt andra hålllet så att den lilla fliken (D) sticker fram. Haken håller nu luren på dess plats när telefonen hänger på väggen.

text_image
C
text_image
D C- Koppla in luren igen och sätt den på plats.
Obs!
Om telefonen senare ska användas som en bordstelefon på nytt, kom ihåg att vända på lurens hake.
Använda telefonen
Ringa ett samtal
Normal uppringning
- Lyft luren.
- Slå numret. Lägg på luren igen för att avsluta samtalet.
Högtalartelefon
Obs!
Högtalartelefonen fungerar bara när batterier är isatta eller när strömadaptern är ansluten.
-
Tryck in ↔ för att aktivera högtalartelefonen. Lysdioden bredvid knappen börjar lysa.
-
Slå numret. Tryck på ➔ igen för att avsluta samtalet.
Lyft upp luren för att växla från högtalaren till luren under samtalets gång.
Föruppringning
-
Slå telefonnumret. Tryck på C för att radera den senast slagna siffran.
-
Lyft på luren eller tryck på ↔ för att slå numret.
Snabb återuppringning
- Lyft luren eller tryck in
- Tryck in för att ringa upp det senast uppringda numret.
Ringa nummer från samtalsminnet
- Tryck in för att visa det senaste samtalet.
- Använd △ / ▽ för att bläddra igenom de 15 senast inkomna och utgående samtalen.
K = Inkommande samtal
↗ = Utgående samtal
- Lyft luren eller tryck på för att slå det nummer som visas i displayen.
Snabbuppringning (direktvalsuppringning)
- Tryck in en av snabbvalsknapparna A/B/C. Det lagrade telefonnumret visas i displayen.
- Lyft på luren eller tryck på ↔ för att slå numret.
Ringa nummer från telefonboken
- Tryck in 📄 för att öppna telefonboken.
- Använd △ / ▽ för att bläddra i telefonboken, eller slå in den första bokstaven i namnet för att snabbt hitta en kontakt (se Tecken på knappsatsen).
- Lyft på luren eller tryck på ↔ för att slå numret.
Svara
Lyft på luren för att svara på ett inkommande samtal, eller tryck in ↔ → för att svara med högtalartelefonen.
Ringsignal
Ringvolym, melodi och ton kan du justera genom att använda reglagen på telefonens högra sida.

Ringsignalsmelodi
Ringsignal
Ringvolymen ställs in med ett reglage på telefonens högra sida.
Volymkontroll
Högtalarvolymen ställs in med ett reglage på telefonens högra sida.
Lurens volymkontroll hittar du under luren.
Tecken på knappsatsen
1 ....[Space] + & - / X 1
2 ....A B C Å Ä A E æ å ä β 2 Γ
3 ....D E F ë 3 Δ
4 ....G H I ù 4 Θ
5 ....J K L 5 Ł
6 ....M N O Ñ ñ Ö ø ö 6 Ξ
7 ....P Q R S 7 Π Σ
8 ....T U V Ü ü 8
9 ....W X Y Z 9 Φ Ψ Ω
* ....`@() * < > |
0 ...., . : ? = 0
<h1 id="_">....$ _ % ! #</h1>
Övriga funktioner
Telefonbok
Den inbyggda telefonboken kan lagra upp till 30 kontakter. När telefonbokens minne är fullt visas ----100 % i displayen.
Lagra nummer i telefonboken
- Tryck ned och håll in 📄 tills en blinkande pil visas.
- Slå ett telefonnummer (upp till 22 siffror). Använd △ / ▽ för att flytta pilen och Cför att radera vid behov. Använd # för att lägga in en paus i numret.
- Tryck in för att bekräfta En blinkande pil visas på displayens andra rad.
- Ange ett namn (upp till 9 tecken) för det nummer som ska lagras (se Tecken på knappsatsen).
- Tryck in för att bekräfta. OK visas.
- Upprepa steg 1–5 för att lagra ett nytt nummer, eller tryck ned och håll in Cför att lämna telefonboken.
Radera nummer från telefonboken
- Tryck in 📄 för att öppna telefonboken.
- Använd △ / ▽ för att bläddra i telefonboken, eller slå in den första bokstaven i namnet för att snabbt hitta en kontakt.
- Håll in Cför att radera posten.
Redigera nummer i telefonboken
- Tryck in 📄 för att öppna telefonboken.
- Använd △ / ▽ för att bläddra i telefonboken, eller slå in den första bokstaven i namnet för att snabbt hitta en kontakt.
- Tryck ned och håll in 📄 tills en blinkande pil visas.
- Använd △ / ▽ för att flytta pilen, och använd C/← och knappsatsen för att radera och skriva in ny information.
- Tryck in för att bekräfta Pilen flyttas till den andra raden.
- Upprepa steg 4 för att redigera namnet/beskrivningen.
- Tryck in för att bekräfta. OK visas.
Lagra snabbvalsnummer
- Tryck ned och håll in en av snabbvalsknapparna A/B/C tills en blinkande pil visas på displayens första rad.
-
Ange ett telefonnummer (upp till 22 siffror) med knappsatsen. Använd △ / ▽ för att flytta pilen och Cför att radera vid behov. Använd # för att lägga in en paus i numret.
-
Tryck in för att bekräfta En blinkande pil visas på displayens andra rad.
-
Ange ett namn (upp till 9 tecken) för det nummer som ska lagras (se Tecken på knappsatsen).
-
Tryck in för att bekräfta OK visas.
-
Upprepa steg 1-5 för att lagra nummer på de andra snabbvalsknapparna.
Radera snabbvalsnummer
Snabbvalsnummer kan inte raderas, de kan endast bytas ut genom lagring av ett nytt nummer.
Nummerpresentatör och samtalsminne
Nummerpresentatören gör att du kan se vem som ringer innan du svarar och vem som har försökt att ringa när du inte varit tillgänglig.
Obs!
Nummerpresentatörsfunktionen måste du abonnera på. Kontakta din telefonoperatör för mer information.
Samtalsminnet lagrar de 15 senast inkomna och de 15 senast utgående samtalen. På displayen visas inkommande (både besvarade och obesvarade) samtal med och utgående samtal med . ↗
Om funktionen Samtalsindikator är aktiv, indikerar ett blinkande ljus att ett obesvarat samtal har kommit in sedan samtalsminnet senast kontrollerades.
Bläddra i samtalsminnet
-
Tryck in följt av △ / ▽ för att bläddra i samtalsminnet. Nummer samt tid och datum för varje samtal visas. När det gäller samtal som är äldre än 24 timmar, visas datum för samtalet istället för klockslag.
-
Tryck in C för att lämna samtalsminnet.
Radera nummer från samtalsminnet
- Tryck in följt av i samtalsminnet.
- Håll in Cför att radera den valda posten.
Kopiera poster ur samtalsminnet till telefonboken
- Tryck in följt av i samtalsminnet.
- Tryck ned och håll in ✪ tills OK visas i displayen. Det valda numret har nu sparats i telefonboken.
Samtalstid
När telefonen är i standby-läge visas den aktuella tiden. Under ett samtal visas istället samtalstiden, som anger hur länge samtalet har pågått.
Samtalstiden visas under 5 sekunder efter att samtalet avslutats.
R-knapp (R)

Tryck in knappen R följt av anknytningsnumret för att överföra ett samtal när du är inkopplad till en telefonväxel.
Ytterligare nätverkstjänster kan finnas tillgängliga via knapparna R, ✱ och #. Kontakta din telefonoperatör för mer information om tillgängliga nätverkstjänster.
Hörapparater
Denna telefon är kompatibel med hörapparater. Välj läge T på din hörapparat för att aktivera denna funktion.
Volymförstärkning
Lurens volym kan höjas med 10 dB genom att man trycker på knappen för volymförstärkning (Volume Boost) under samtalet. Lysdioden på knappen börjar lysa. Tryck på knappen igen eller avsluta samtalet för att stänga av volymförstärkningen.
Varning!
Lurens volym kan bli väldigt hög om denna inställning används. Volymförstärkning ska bara användas av personer med nedsatt hörsel.
Lurens ton
Samtalstonen (bas/diskant) kan ställas in så att den blir tydligare. Detta görs via reglaget för lurens ton på telefonens högra sida. OBS! Fungerar endast när volymförstärkningen är aktiv.
Skötsel och underhåll
Telefonen är en tekniskt avancerad produkt och måste behandlas försiktigt. Oförsiktig behandling kan leda till att garantin blir ogiltig.
- Utsätt inte telefonen för fukt. Regn, snö, fukt och alla typer av vätskor innehåller ämnen som korroderar elektroniska kretsar. Om enheten blir blöt, måste du ta bort batteriet och låta telefonen torka helt innan batteriet sätts in på nytt.
- Använd eller förvara inte telefonen i dammiga och smutsiga miljöer. Telefonens rörliga delar och elektroniska komponenter kan skadas.
- Förvara inte telefonen på varma platser. Höga temperaturer kan reducera livslängden för elektronisk utrustning, skada batterier och deformera eller smälta vissa plastmaterial.
- Förvara inte telefonen på kalla platser. När telefonen värms upp till normal temperatur kan kondens bildas på insidan och skada de elektroniska kretsarna.
- Försök aldrig att öppna telefonen på något annat sätt än de som anges här.
- Tappa inte telefonen. Slå inte på den och skaka den inte. Om den hanteras ovarsamt kan kretsarna och precisionsmekaniken skadas.
- Använd inte starka kemikalier för att rengöra telefonen.
- Strömadaptern fungerar som frånkopplingsenhet mellan produkten och elnätet. Uttaget för strömadaptern måste finnas nära utrustningen och vara lättillgängligt.
Råden ovan gäller för telefonen, batteriet, strömadaptern och andra tillbehör. Kontakta inköpsstället om telefonen inte fungerar som den ska. Glöm inte inköpskvittot eller en kopia av fakturan.
Svenska
Garanti och tekniska data
Den här produkten omfattas av en garanti på 12 månader från inköpsdatum. Kontakta inköpsstället om ett fel inträffar under denna period. Kvitto eller liknande krävs för service- och underhållsarbeten under garantiperioden.
Garantin omfattar inte fel som orsakats av olyckor och liknande incidenter eller skador, fuktskador, misskötsel, onormal användning, felaktig service eller andra omständigheter som användaren ansvarar för. Garantin omfattar heller inte skador som orsakats av blixtnedslag eller andra spänningsvariationer. För säkerhets skull rekommenderar vi att du alltid kopplar ifrån telefonen under åskväder.
Batterierna är förbrukningsvaror och omfattas inte av garantin.
Använd endast alkaliska AA-batterier av god kvalitet.
OBS! Denna garanti påverkar inte dina lagliga rättigheter (lagstadgade) enligt tillämpliga nationella lagar angående försäljning av konsumentprodukter
Specifikationer
Mått: 175 mm x 175 mm x 60 mm
Vikt: 00 g (inkl. batterier)
Batteri: 4 x 1,5 V alkaliska AA-batterier
Försäkran om överensstämmelse
Doro intygar att Doro HearPlus 313ci uppfyller de grundläggande krav och andra relevanta bestämmelser som anges i direktiven 1999/5/EG (R&TTE) och 2002/95/EG (RoHS).
En kopia av denna försäkran finns på www.doro.com/dofc
EnkelManual