HearPlus 313ci - Puhelin DORO - Ilmainen käyttöohje ja opas
Löydä laitteen käyttöohje ilmaiseksi HearPlus 313ci DORO PDF-muodossa.
Käyttäjien kysymyksiä aiheesta HearPlus 313ci DORO
0 kysymys tästä laitteesta. Vastaa tuntemiisi tai esitä omasi.
Esitä uusi kysymys tästä laitteesta
Lataa ohjeet laitteellesi Puhelin PDF-muodossa ilmaiseksi! Löydä käyttöohjeesi HearPlus 313ci - DORO ja ota elektroninen laitteesi takaisin hallintaan. Tällä sivulla julkaistaan kaikki laitteidesi käyttöön tarvittavat asiakirjat. HearPlus 313ci merkiltä DORO.
KÄYTTÖOHJE HearPlus 313ci DORO
- Puhelinjohdon liitäntä
- Luurin pidike
- Näppäimet
- Luurijohdon liitäntä
- Luurin äänenvoimakkuus
- R-painike
- Äänenvoimakkuuden tehostus
- Puhelutiedot / OK
- Poista
- Verkkovirta-adapterin liitäntä
-
Soittoääni
-
Soittomelodia
- Soittoäänen voimakkuus
- Pikavalintanäppäimet
- Puhelinmuistio
- Luurin ääni
- Kaiuttimen äänenvoimakkuus
- Kaiutintoiminto
- YLÖS/ALAS
- Uuden puhelun merkkivalo
- Tulevan puhelun merkkivalo
Français
Tätä puhelinta voidaan käyttää pöytäpuhelimena tai se voidaan kiinnittää seinään. Luurin äänen säädön, äänenvoimakkuuden tehostuksen ja tavanomaista voimakkaamman soittoäänen ja sisään tulevan puhelun visuaalisen ilmaisun ansiosta tämä puhelin soveltuu erityisen hyvin huonosti kuuleville henkilöille.
Puhelin soveltuu myös huonosti näkeville sen erittäin suurikokoisen näppäimistön ja selkeillä ja suurikokoisilla merkeillä varustetun näytön ansiosta.
Puhelimen puhelinmuistioon voidaan tallentaa jopa 30 nimeä ja numeroa. Kolmeen pikavalintanäppäimeen voidaan ohjelmoida usein käytetyt puhelinnumerot tai hätänumerot. Puhelintietoihin tallentuu 15 viimeisintä vastaanotettua ja soitettua puhelua.
Kaiutintoiminto aktivoituu näppäimen painalluksella ja se mahdollistaa puhujan käsien vapauden.
Tämä laite on suunniteltu käytettäväksi analogisessa puhelinverkossa, seuraavissa maissa AT, BE, BG, CH, CY, CZ, DE, DK, EE, ES, FI, FR, GB, GR, HU, IE, IS, IT, LV, LT, LU, MT, NL, NO, PL, PT, RO, SI, SK, SE.
Asentaminen
Liitännät
- Liitä kierteinen johto puhelimen luuriin ja puhelimen merkillä varustettuun liitäntään.
- Liitä puhelinlinjan johto seinässä sijaitsevaan puhelinpistorasiaan ja puhelimen takana sijaitsevaan merkillä varustettuun liitäntään.
- Kytke verkkovirtasovitin pistorasiaan ja puhelimen DC 9V-liitäntään.
- Puhelimen valintaäänen pitäisi kuulua, kun nostat puhelimen luurin.
Paristot
Esimerkiksi numeronäyttötoiminnon ja muistin sisällön toimiminen virtakatkoksen aikana edellyttää neljää 1,5 voltin AA-paristoa. Kun BATT. LOWilmestyy näyttöön, vaihda kaikki 4 paristoa. Käytä ainoastaan hyvälaatuisia AA-alkaliparistoja (eivät sisälly pakkaukseen).
Ota huomioon!
Varmista ennen paristojen asentamista tai vaihtamista, että puhelin ei ole liitettynä puhelinverkkoon.
- Irrota paristosuojus ja aseta paristot niin, että niiden navat ovat varmasti oikeinpäin
- Aseta paristosuojus paikoilleen ja liitä puhelinlinjan johto takaisin paikoilleen.
Perusasetusten ohjelmointi
Ennen puhelimen käyttöönottamista on ohjelmoitava seuraavat perusasetukset. Asetuksen vahvistamisen jälkeen näytölle ilmestyy automaattisesti seuraavaa asetettava asetus. Voit hypätä seuraavaan asetukseen painamalla 📋
Puhelin pala valmiustilaan, jos 30 sekunnin aikana ei tehdä mitään tai kun painetaan C/←
Alussa näytön kello näyttää 00:00.
- Paina * -näppäintä noin 5 sekunnin ajan, kunnes tunnit välkkyvät.
- Muuta arvoa näppäimillä △ / ▽ ja vahvista valinta painamalla ↗
- Toista vaiheet 1–2 minuuttien, päivän ja kuukauden asettamiseksi.
ENGLISH näkyy näytössä.
Valitse haluttu näyttökieli näppäimillä △ / ▽ ja vahvista valinta painamalla 🚫 Suomen kieli ei ole saatavilla.
-2- CONTRAST
Aseta näytön kontrastiasetus näppäimillä △ / ▽ (1–4), ja vahvista painamalla 📋
KEYT. ON
Aseta näppäinääni päälle tai pois päältä "ON/OFF" näppäimillä △ / ▽ ja vahvista valinta painamalla 📂
-100- FLASH
Valitse sopiva flash-aika (100/300/600 ms) näppäimillä △ / ▽ ja vahvista valinta näppäimellä 📋
Useimmissa maissa, myös Suomessa, standardiasetus on 100, Ranskassa ja Portugalissa asetus on 300 ja Uudessa Seelannissa 600.
LED OFF
Kytke uusien puhelujen LED-merkkivalo päälle tai pois päältä näppäimillä △ / ▽ ja vahvista valinta painamalla 📋
TONE
Voit asettaa valintatavaksi äänitaajuus (TONE), tai impulssi-valinan (PULSE) näppäimillä △ / ▽ ja vahvista valinta painamalla 📋
Ota huomioon!
Jos et ole varma, mitä tilaa käyttää, valitse TONE, sillä se toimii useimmissa paikoissa.
Seinäkiinnitys
Puhelin voidaan myös kiinnittää seinälle puhelimen mukana tulevan seinäkiinnittimen ja kahden ruuvin avulla (ruuvit eivät sisälly pakkaukseen).
Varoitus!
Varmista ennen poraamista, että valitsemasi seinän sisällä ei ole sähköjohtoja tai vesi- tai kaasuputkia.
- Poraa seinään kaksi reikää, 83 mm päähän toisistaan päällekkäin.
- Aseta ruuvit siten, että ne jäävät näkymään noin 5 mm ulos seinästä.
- Irrota luurin kytkentä ja luuri.
- Aseta kannattimen ohjaintapit (A) puhelimen takana oleviin reikiin (B), liu'uta sen jälkeen kannatinta ylöspäin kunnes se napsahtaa paikalleen.

text_image
B A- Aseta puhelin siten, että seinällä olevat ruuvit kiinnittyvät kannattimen reikiin. Liu'uta sen jälkeen puhelinta alaspäin, kunnes se roikkuu ruuveista.
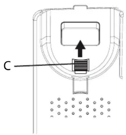
- Irrota luurin pidike (C) painamalla sitä ylöspäin. Asenna se ylösalaisin siten, että sen pieni liuska (D) osoittaa ylöspäin. Pidike pitää luurin paikoillaan sen kannattimessa, kun puhelin on asennettu seinälle.

text_image
C
text_image
D C- Kiinnitä luuri uudelleen paikoilleen ja aseta se kannattimeen.
Ota huomioon!
Jos puhelinta käytetään myöhemmin pöytäpuhelimena, muista kääntää luurin pidike taas toisinpäin.
Käyttäminen
Soittaminen
Numeron tavanomainen valinta
- Nosta luuri.
- Valitse numero. Aseta luuri paikoilleen puhelun lopettamiseksi.
Kaiutintoiminto
Ota huomioon!
Kaiutinpuhelin toimii vain, kun paristot ovat paikallaan tai kun verkkovirtasovitin on kytketty.
-
Paina kaiutintoiminnon käyttöönottamiseksi. Näppäimen viereinen LED-merkkivalo syttyy.
-
Valitse numero. Paina näppäintä uudelleen puhelun lopettamiseksi.
Nostamalla luurin voit vaihtaa kaiutintoiminnosta luurin käyttämiseen kesken puhelun.
Numeron ennakkovalinta
-
Syötä numero. Poista viimeksi näppäilty numero painamalla C/←
-
Nosta luuri tai soita painamalla
Numeron nopea uudelleenvalinta
- Nosta luuri tai paina
- Paina vimeksi soitetun numeron uudelleenvalitsemiseksi.
Puhelutietoihin tallentuneiden numeroiden valinta
-
Paina 📋vimeisimmän numeron näyttämiseksi.
-
Selaa 15 viimeisintä sisääntullutta ja soitettua puhelua näppäimillä △ / ▽.
$$ \begin{array}{l} \text { ∵ } = \text { Saapuva puhelu } \ \nearrow = \text { Lähtevä puhelu } \ \end{array} $$
- Nosta luuri tai paina ↔ näytössä näkyvään numeroon soittamiseksi.
Pikavalinnat (yhden kosketuksen valinta)
-
Paina yhtä pikavalintanäppäintä A/B/C. Pikavalintamuistipaikkaan tallennettu numero näkyy näytössä.
-
Nosta luuri tai soita painamalla
Puhelinmuistion numeroiden valinta
- Paina 📄 puhelinmuistion avaamiseksi.
- Selaa puhelinmuistiota näppäimillä △ / ▽ tai valitse etsimäsi nimen ensimmäinen merkki (ks. Näppäimistön merkit).
- Nosta luuri tai soita painamalla
Puheluun vastaaminen
Nosta luuri sisääntulevaan puheluun vastaamiseksi, tai paina ↔, kun haluat käyttää kaiutintoimintoa vastatessasi puheluun.
Soittoääni
Soittoääntä, sen voimakkuutta ja melodiaa voidaan vaihtaa ja säätää puhelimen alapuolella olevien säätimien avulla.

Soittomelodia
Soittoääni
Soittoäänen voimakkuutta voi säätää puhelimen oikealla puolella olevalla säätimellä.
Äänenvoimakkuuden säätö
Kaiuttimen äänenvoimakkuutta voi säätää puhelimen oikealla puolella olevalla säätimellä.
Luurin äänenvoimakkuuden säädin sijaitsee luurin alapuolella.
Näppäimistön merkit
1 ....[Space] + & - / X 1
2 ....A B C Å Ä A E æ å ä β 2 Γ
3 ....D E F ë 3 Δ
4 ....G H I i 4 Θ
5 ....J K L 5 Ł
6 ....M N O Ñ ñ Ö ø ö 6 ≡
7 ....P Q R S 7 Π Σ
8 ....T U V Ü ü 8
9 ....W X Y Z 9 Φ Ψ Ω
* ....`@ ( ) * < > |
0 ...., . : ? = 0
<h1 id="_-4">... $ _ % ! #</h1>
Lisätoiminnot
Puhelinmuistio
Puhelinmuistioon voidaan tallentaa jopa 30 nimeä ja numeroa. Kun puhelinmuistion muisti on täynnä, ----100% näkyy näytössä.
Numeroiden tallentaminen puhelinmuistioon
- Paina 📄-näppäintä niin pitkään, että näyttöön ilmestyy vilkkuva kohdistin.
- Näppäile puhelinnumero (enintään 22 merkkiä). Siirrä osoitinta näppäimillä △ / ▽ ja poista numeroita tarvittaessa näppäimellä C/Lisää numeroon tauko näppäimellä #.
- Vahvista painamalla painiketta. Vilkkuva kohdistin ilmestyy näytön toiselle riville.
- Näppäile nimi (enintään 9 merkkiä) tallennettavalle numerolle (ks. Näppäimistön merkit).
- Vahvista painamalla näppäintä. OK näkyy nyt näytössä.
- Tallenna toinen numero toistamalla vaiheet 1–5, tai poistu painamalla pitkään Cnäppäintä.
Numeroiden poistaminen puhelinmuistiosta
- Paina 📄 puhelinmuistion avaamiseksi.
- Selaa puhelinmuistiota näppäimillä △ / ▽ tai valitse etsimäsi nimen ensimmäinen merkki.
- Poista merkintä painamalla pitkään C/← näppäintä.
Puhelinmuistion numeroiden muuttaminen
- Paina 📄 puhelinmuistion avaamiseksi.
- Selaa puhelinmuistiota näppäimillä △ / ▽ tai valitse etsimäsi nimen ensimmäinen merkki.
- Paina 📄-näppäintä niin pitkään, että näyttöön ilmestyy vilkkuva kohdistin.
- Liikuta kohdistinta näppäimillä △ / ▽ ja käytä C/← näppäintä ja numeronäppäimiä vanhan tiedon poistamiseksi ja uuden tiedon lisäämiseksi.
- Vahvista painamalla 📂äppäintä. Kohdistin liikkuu toiselle riville.
- Muokkaa nimeä ja kuvausta toistamalla vaihe 4.
- Vahvista painamalla 📂appäintä. OK näkyy näytössä.
Pikavalintanumeroiden tallentaminen
- Paina yhtä pikavalintanäppäintä A/B/C niin pitkään, että näytön ensimmäisellä rivillä näkyy vilkkuva osoitin.
- Näppäile puhelinnumero (enintään 22 merkkiä) numeronäppäimillä. Liikuta kohdistinta näppäimillä △ / ▽ ja poista numero tarvittaessa näppäimellä C/←. Voit lisätä tauon numeroon näppäimellä #.
- Vahvista painamalla painiketta. Vilkkuva kohdistin ilmestyy näytön toiselle riville.
- Näppäile nimi (enintään 9 merkkiä) tallennettavalle numerolle (ks. Näppäimistön merkit).
- Vahvista painamalla 📂 painiketta. OK näkyy näytössä.
- Toista vaiheet 1-5 numeroiden tallentamiseksi muihin pikavalintanäppäimiin.
Pikavalintanumeroiden poistaminen
Pikavalintanäppäimiä ei voi poistaa, vaan ne voi korvata ainoastaan uusilla pikavalintanumeroilla.
Soittajan tiedot ja puhelutiedot
Soittajan tietojen avulla näet kuka soittaa ennen kuin vastaat puheluun. Sen avulla näet myös kuka on soittanut, jos et ole voinut vastata puhelimeen.
Ota huomioon!
Soittajan tiedot näyttävä toiminto on tilattava. Lisätietoja saat teleoperaattoriltasi.
Puhelutietoihin tallentuvat viimeisimmät 15 sisääntulevaa ja 15 soitettua puhelua. Näytössä sisääntulevat (vastatut ja vastaamattomat) puhelut ilmoitetaan ✅merkillä ja soitetut puhelut ilmoitetaan ✅merkillä.
Jos soiton merkkivalo -toiminto on käytössä, vilkkuva valo ilmaisee, että puhelutietojen edellisen tarkistuksen jälkeen on saapunut vastaamaton puhelu.
Puhelutietojen selaaminen
-
Paina ja selaa sen jälkeen puhelutietoja △ / ▽ -näppäimillä. Jokaisen puhelun numero ja aika näytetään näytössä. Yli 24 tuntia sitten saapuneissa puheluissa näytetään kellonajan sijaan päivämäärä.
-
Poistu puhelutiedoista painamalla Cnöppäintä.
Puhelutietoihin tallentuneiden numeroiden poistaminen
- Paina ↗ ja selaa sen jälkeen puhelutietoja △ / ▽ -näppäimillä.
- Poista valittu merkintä painamalla pitkään C/← -näppäintä.
Puhelutietoihin tallentuneiden tietojen kopioiminen puhelinmuistioon
-
Paina ↗ ja selaa sen jälkeen puhelutietoja △ / ▽ -näppäimillä.
-
Paina niin pitkään, että näytössä näkyy OK. Valittu puhelinnumero on nyt tallennettu puhelinmuistioon.
R-näppäin (R)

Paina R-näppäintä ja näppäile alanumero puhelun siirtämiseksi, jos käytössä on PBX-puhelinjärjestelmä.
Teleoperaattorin lisäpalveluita voidaan käyttää R, ja näppäimillä. Ota yhteys teleoperaattoriin saadaksesi lisätietoja tarjolla olevista lisäpalveluista.
Puhelun ajastin
Puhelimen ollessa valmiustilassa näytössä näkyy kellonaika. Puhelun aikana näytössä näkyy puhelun ajastin, joka näyttää puhelun keston. Puhelun kesto näkyy näytössä 5 sekunnin ajan sen jälkeen, kun puhelu on lopetettu.
Kuulolaitteet
Tätä puhelinta voidaan käyttää yleisimpien kuulolaitteiden. Valitse T-tila kuulolaitteesta toiminnon käyttämiseksi.
Äänenvoimakkuuden tehostus

Luurin äänenvoimakkuutta voidaan nostaa 10 dB painamalla puhelun aikana Äänenvoimakkuuden tehostus -näppäintä. Näppäimen LED-merkkivalo syttyy. Äänenvoimakkuuden tehostus lakkaa, kun näppäintä painetaan uudelleen tai puhelu lopetetaan.
Varoitus!
Puhelimen äänenvoimakkuus voi tällä asetuksella olla erittäin suuri. Tehostustilan käyttöä suositellaan ainoastaan huonokuuloisille käyttäjille.
Luurin ääni

Puheääntä (basso/diskantti) voidaan säätää selkeämmäksi puhelimen oikealla puolella olevalla luurin äänen säädöllä. HUOMIO! Toimii vain voimakkaan vahvistuksen ollessa käytössä.
Huolto ja kunnossapito
Tämä puhelin on teknisesti kehittynyt laite. Sitä on käsiteltävä varovaisesti. Takuu ei ole voimassa, jos laitetta on käytetty epääasianmukaisesti.
- Suojaa puhelinta kosteudelta. Sade, kosteus ja kaikenlaiset nesteet syövyttävät elektroniikkapiirejä. Jos puhelin kastuu, irrota akku ja anna puhelimen kuivua kokonaan ennen akun asettamista takaisin paikoilleen.
- Älä käytä tai säilytä laitetta pölyisissä tai likaisissa paikoissa. Muutoin laitteen liikkuvat osat ja elektroniset komponentit voivat vaurioitua.
- Älä säilytä puhelinta lämpimissä paikoissa. Korkeat lämpötilat voivat lyhentää elektronisten laitteiden elinikää, vahingoittaa akkuja tai saada tietyt muoviosat vääntymään tai sulamaan.
- Älä säilytä puhelinta kylmissä paikoissa. Kun puhelin jälleen lämpenee normaaliin lämpötilaan, sen sisälle voi tiivistyä kosteutta, joka voi vaurioittaa elektroniikkapiirejä.
- Älä yritä avata puhelinta muulla kuin tässä käyttöohjeessa kuvatulla tavalla.
- Älä pudota puhelinta. Älä altista sitä iskuille tai tärinälle. Raju käsittely voi rikkoa piirilevyn ja hienomekaniikan.
- Älä puhdista puhelinta käyttämällä voimakkaita kemikaaleja.
- Verkkovirtasovitin on irtikytkentälaite tuotteen ja verkkovirran välillä. Sähköpistorasian on sijaittava laitteen lähellä ja siihen on oltava helppo pääsy.
Nämä neuvot koskevat puhelinta, akkua, verkkovirta-adapteria ja muita varusteita. Jos puhelin ei toimi oikein, ota yhteys laitteen ostopaikkaan. Takuuhuolto suoritetaan vain alkuperäistä kuittia tai laskukopiota vastaan.
Takuu ja tekniset tiedot
Tällä laitteella on yhden vuoden DORO-takuu. Mahdollisen käyttöhäiriön yhteydessä ota yhteys liikkeeseen, josta ostit laitteen. Takuuhuolto suoritetaan vain alkuperäistä ostokuittia tai laskukopiota vastaan. Takuu ei ole voimassa, jos vika johtuu onnettomuudesta tai siihen verrattavasta tapahtumasta, tehdyistä muutoksista, kosteuden tai nesteen pääsystä puhelimeen, hoidon laiminlyömisestä, ohjeiden vastaisesta käytöstä, huonosta hoidosta tai muusta ostajan toimenpiteestä. Takuu ei kata myöskään ukkosen aiheuttamia eikä muita sähköjännitteen vaihteluja. On suositeltavaa irrottaa laitteen liitännät ukkosen ajaksi. Akut ovat kuluvia osia eivätkä kuulu takuun piiriin.
Käytä ainoastaan hyvälaatuisia AA-alkaliparistoja.
HUOM! Tämä takuu ei kuluttajan oikeutta vedota kansallisen kuluttajasuojalain kuluttajan suojaksi säätämiin pakottaviin oikeuksiin.
Tekniset tiedot
Koko: 175 mm x 175 mm x 60 mm
Paino: 750 g (mukaan lukien akut)
Akku: 4 x 1,5 V AA-alkaliparisto
Vakuutus vaatimusten täyttämisestä
Doro vakuuttaa, että Doro HearPlus 313ci täyttää 1999/5/EY (R&TTE) ja 2002/95/EY (ROHS) -direktiivien tärkeimmät vaatimukset ja asiaankuuluvat säädökset.
Vakuutus on nähtävissä osoitteessa: www.doro.com/dofc
HelppoOhje