AX396 - Hemmabioförstärkare YAMAHA - Gratis bruksanvisning och manual
Hitta enhetens manual gratis AX396 YAMAHA i PDF-format.
Användarfrågor om AX396 YAMAHA
0 fråga om denna apparat. Svara på dem du kan eller ställ din egen.
Ställ en ny fråga om denna apparat
Ladda ner instruktionerna för din Hemmabioförstärkare i PDF-format gratis! Hitta din manual AX396 - YAMAHA och ta tillbaka ditt elektroniska enhet i hand. På denna sida publiceras alla dokument som behövs för att använda din enhet. AX396 av märket YAMAHA.
BRUKSANVISNING AX396 YAMAHA
UPPACKING Kontrollera after det apparaten packats upp att foljande delar finns med.
Öppning och stängning av frontluckan
Ha frontluckan stangd nar kontrollerna innanfor den inte anvands.
Stängning av frontluckan
Chiusura
Hög dynamikeffekt, kan driva högtalare med lag impedans
- Steglöst variabel loudness-kontroll (LOUDNESS)
CD/DVD DIRECT AMP-omkopplare anvands for att ge klarast tankbara ljud fran en CD-spelare och DVD-spelare
Fjarrstyrbar
Endast AX-496
Väljare für inspelningsutgang (REC OUT) oberende av valet av ingängskälla
PURE DIRECT-omkopplare anvands for renaste ljudatergivning
INNEHÄLL
OBSERVERA: Läs dessa anvisningar innan apparaten böjrar användas.
- Läs denna bruksanvisning noggrant for att få ut det mesta av denna enchets fina prestanda. Bevara anvisingarna for framtida referens.
- Installera denna enchet på attsvalt, torrt och rent stalle på avstand frän fönster, värmekällor, mycket vibrationer, damm, fukt och kyla. Undvik bruskällor (transformatorer, elmotorer). Enheten far inte utsattas För regn och vata, daß risk För brand och elektrisk stöt foreligger.
- Oppna aldrig apparatholjet. Kontakta aterforsaljaren om frammande foremal skulle hamna inuti apparaten.
- Använd inte onödig våld på kontroller eller anslutningskaplar. Lossa Först nätsladden och kablar anslutna till andra componenter Near apparaten skall flyttas. Dra aldrig i själva kablarna.
- Oppingarna i apparatholjet tillforsakrar en god ventilation av apparaten. Om dessa oppningar blockeras,kommen temperaturen innate i apparaten att stiga snabbt; undvik darfor att placera foremal mot dessa oppningar. Var noga med att placera apparaten pa en valventilerad plats for att forhindra brand ellr skador. Se till sa att det finns ett fritt utrymme pa minst 20 cm bakom, 20 cm pa bada sidorna och 30 cm ovenfor apparatens ovensida for att forhindra brand och skador.
- Apparaten fär inte drivas med annan spanning an den angivna. Att använda apparaten med högre spanning an angiven ar farligt och kan orsaka brand aller andra olyckor. YAMAHA pâtager sig inget ansvar for skada som orsakats genom användning av fel spanning.
- Satt alltid volymkontrollen i lage “∞” fore start av avspelning av ljudkällan. Höj)darefter ljudstyrkan gradvis till önskad niva.
- Rengör aldrig holjet med kemiska losningar: det kan skada dess ytfinish. Använd en ren, torr trasa.
- Se till att du lase avsnittet "FELSOKNING" vid vanliga manovringsfel, innan du drar slutsaten att det foreligger nagot fel pa apparaten.
- Dra ut stickontakten fran natauttaget om encheten intestka anvandas en langre tid (under semestern t ex).
- Dra ut stickkontakten vid askvader for att undgå skador vid blixtnedslag.
- Jordning eller polarisering - Se noga till att jordning och polarisering inte sätts ur Funktion for相关政策 av komponenterna.
- Anslut inga ljudkomponenter till natuttagen på apparatens baksida, vars effektforbrukning overstiger utagens nominella.Varde.
OBSERVERA
Apparaten koplasinte bort fran vaxelstromskallan (naret) sa lange som den ar ansluten till vagguttaget, aven om sjalva apparaten har stangts av.
ADVARSEL
STANDBY-indikatorn på apparatens framsida tänds, Near du stänger avenna apparat genom att trycka in STANDBY/ON på apparatens framsida erler pa fjarrkontrollen. Detta tillstand kallas beredskapslaget. I detta tillstand forbrukar apparaten fortfarande en mycket liters strommängd. Strömmatningen till apparaten kan inte avskaras helt fran elnätet forran du sätter POWER-knappen på apparatens framsida i OFF-lage erler apparatens nätkabel lossas fran vagguttaget.
WARNING!
Ändra inte laget på IMPEDANCE SELECTOR-väljaren medan strömmen tillennaenhet ar pâslagen, eftersom det kan skada encheten.
Om encheten inte slås på här POWER trycks in: Det kan bero på att IMPEDANCE SELECTOR-väljaren inte skjutits till enderaändläget. Skjut i sä fallennavaljare sä langt det gär ar enderaändläget;närenna apparats strömmatning ar helt avskuren frän elnätet.

Fjarrkontrollen anvands nastan alltid for att styra denna enhet. Darfor bocrjar vi med att lagga batterier i fjarrkontrollen.
- Vänd upp och ned på fjärrkontrollen och tag bort batterifacksloket genom att skjuta locket i pilens riktning.
- Satti batterierna (AA, R6, UM-3) enligt indikeringarna i batterifacet.
- Satt pa locket for batterifacetien.

Byte av batteri
Om du upptäcker att fjarrkontrollen maste användas nara huvudenheten betyder det att batteriena ar svaga. Byt d'ut bada batterierna mot nya.
Anmärkningar
- Använd AA, R6, UM-3 batterier.
- Se till att polariteten ar ratt. (Följ illustrationen inuti batterifacet.)
- Avlagsna batterierna om fjarrkontrollen inte skall anvandas under en langre tid.
- Kasta omedelbart bort alla batterier som lacker. Undvik att vidrora utlackta amnen och komma i kontakt med klädsel etc. Rengör batterifacet noggrant innan nya batterier laggs i.
Fjarrkontrollens manoveromfang

Anmärkningar
- Det fär inte finnas nagot stort hinder mellan fjärrkontrollen och huvudenheten.
- Utsatt inte fjarrkontrollensorn for kraftigt ljus, i synnerhet inte lysrorsbelysning av inverterad form. Annars kan det handa att fjarrkontrollen inte fungerar pa ratt satt. Om sa erfordras, skall du vanda bort huvudapparaten fran direkt kraftig belysning.
ANSLUTNINGAR
Observera: Anslutenna och andra apparater till vagguttaget nara alla andra anslutningar ar klara.
- Alla ansluttingar maste utforas korrekt, det vill saga L (vänster) till L, R (höger) till R, “+” till “+” och “-” till “-”. Se ocksä bruksanvisingen for var och en av dina apparater.
- Använd anslutningsledningar med RCA-typsstift für audio/videoapparater, utom für högtalare.
- Utgangar (eller ingangar) på YAMAHA audio/videoapparater numreration som [1, 2, 3, 4], etc. på baksidan, mäste anslutas till uttagen med sama nummer påenna apparat.

^1, ^2, ^3 : Se sidan 5 für beskrivningar.
:Indikerar signalens vag
Anslutning av högtalare
Anslut högtilarna till SPEAKERS-uttagen med ledninger som har lamplig tradtjocklek (hall dem sa korta som möjligt). Glappkontakt gör att inget ljud áterges frän högtilarna. Se till att högtilarledningarnas polaritetsmärkningar + och -kontroleras och valjes rätt. Vid omkastad polaritet blir det átergivna ljudet onaturligt med brister i basen.
Observera
Se till att blottade tradandor inte vidrornagon metalldel pa denna apparat ell varandra. Detta kan orsaka skada pa denna enchet ell Hogtalarna, ell bada.
Anslutningsmetod:
ROD till uttaget med plusmarkt (+)
SVART till uttaget med minusmarkt (-)

① Lossa knuppen en bit.
② Skjut in den avskalade ledningen. (Avlagsna ungefär 10 mm isolering på högtalarledningarna.)
③ Skruva àt knoppen sa att ledningen sitter fast.
- Ett eller två par högtalare kan anslutas tillenna apparat. Anslut antingen till uttagen SPEAKERS A eller B vid användning av endast att par högtalare.
- Använd högtalare med det impedansvara de som anges påenna,enhets baksida.
- Banankontakter kan också användas. Tryck helt enkelt in banankontakten i avsett uttag.

Delarna på baksidan IMPEDANCE SELECTOR-välj
WARNING!
Ändra inte laget på IMPEDANCE SELECTOR-väljaren medan strömmen tillenna entet ar pâslagen, eftersom det kan skada encheten.
Om encheten inte slås pad njr POWER trycks in: Det kan bero pa att IMPEDANCE SELECTOR-väljaren inte skjutits till enderaändlaget. Skjut i sa fallenna väljare sá langt det gár ar enderaändlaget njrenna apparats strömmatning ar helt avskuren fran elnätet.
Valj det lage som lampar sig for de hegtalare som anvands.

(Hogralaget)
Om du anvander endast ett par higtalare, maste impedansen for varje higtalare vara 4 ohm erer mer. Om du anvander tva par higtalare, maste impedansen for varje higtalare vara 8 ohm erer mer.
(Vanstra Iaget)
Om du anvander endast ett par higtalare, maste impedansen for varje higtalare vara 6 ohm erer mer. Om du anvander tva par higtalare, maste impedansen for varje higtalare vara 12 ohm erer mer.
NATUTTAGEN [AC OUTLET(S)] (SWITCHED)
Modell for Europa, Kina och allman modell) 3 omkopplingsbara natuttag (Modell for Storbritannien och Australien) 1 omkopplingsbart natuttag
Dessa uttag anvands for anslutning av andra apparaters natsladdar tillenna apparat.
Strömmen via uttagen SWITCHED styrs av POWER aller STANDBY/ON påenna apparat. Ström matas till alla anslutna apparater söngeenna apparat ar pascalgen. De till SWITCHED AC OUTLETS anslutna apparaternas totala strömforbrukning fär inte overstiga 100 W.
Jord (GND) (När skiv spelare används) *³
Anslutning av jordkabeln till GND-uttaget minimerar normalt störning. Men ibland kan resultatet bli bättreutan anslutning av jordkabeln.
KONTROLLERNA OCH DERAS FUNKTIONER
FRAMSIDAN
AX-496

AX-396


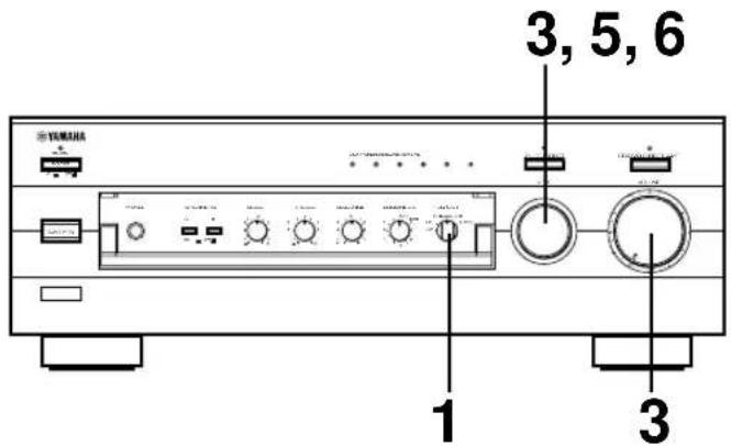
POWER
Tryck in denna (ON) for att anvanda apparaten. I detta tillstand kan du satta pa denna apparat eller satta den i beredskaplage genom att trycka in STANDBY/ON. Tryck in denna sa att den slapps ut (OFF) for att helt avskara apparatens strommatning fran elnatet.

Beredskapsindikator (STANDBY)
Lyser endast nar apparaten ar i beredskapslage.

STANDBY/ON
Tryck in denna for att satta pa strommen. Tryck in denigen for att satta apparaten i beredskapslage.
- Denna knapp kan endast användas Near POWER Är i ON-läge.
Beredskapsläge
Denna apparat forbrukar en liten strommängd i detta.
lage for att vara redo for mottagning av infraroda
signaler fran fjarrkontrollen.

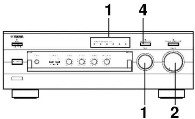
Ingångsindikatorer
Indikatorn for den just valda ingangskallan tands.

PURE DIRECT med indikato Endast AX-49
Tryck inenna knapp sa att indikatorn ovanfor den tands. D'a kan du lyssna pa en programkalla med renast tankbara ljud. (Se sidan 12 forytterligare uppliesninger.) Tryck inenna knappigen for att stanga av Funktionen.

TAPE MONITOR med indikato Endast AX-39
Tryck inenna for att tanda indicatorn ovenfor knappen. Då kan du lyssna på det ljud som avspelas på det kassettdäck, som har anslutits till TAPE-uttagen på baksidan avenna apparat. När kassettdäcket används for inpelning, kan du också kontrollavyssna det ljud som spelas in.
- Tryck inenna knapp igen sa att indikatorn slocknar, om du vill lyssna pa den programkalla som har valts med INPUT-väljaren.
- Närenna Funktion har aktiverats (indikatorn lyser), kan du inte valja kassettdäcket (TAPE) med INPUT-väljaren.
- När kassettdäcket (TAPE) har valts med INPUT-väljaren, aktiveras inteenna Funktion även om du trycker in TAPE MONITOR.

CD/DVD DIRECT AMP med indicator
Tryck inenna knapp sa att indicatorn ovanfor den tands. D'a kan du lyssna pa en CD-skiva ell DVDskiva med renast tankbara ljud. (Se sidan 12 forytterligare uppliesninger.) Tryck inenna knappigen foratt stanga av Funktionen.

Fjarrkontrollsensor
Mottager signalerna fran fjarrkontrollen.

PHONES
Höretelefonuttag (PHONES)
När du lyssnar med hörlunar, skall du ansluta hörlurarna trucka in
PHONES-uttaget och trycka in bada SPEAKERS knapparna A och B till OFF.


SPEAKERS
Tryck in (ON) knappen A eller B (eller báda knapparna) for att välja de högtalare du vill använda. Tryck in och släpp ut (OFF) knappen für de högtalare du inte vill använda.

Klangfargskontroller
BASS
Vrid pa denna for att forstärka eller dampa basljudet.
Laget 0 ger rak frekvensgang.
TREBLE
Vrid pa denna for att forstarka ell er dampa diskantljudet. Laget 0 ger rak frekvensgang.

BALANCE
Balansen for Höger och vänster högtalare kan justeras for att kompensera obalans orsakad av högtalaruppställningen eller lyssningsrummets kondition.

LOUDNESS
Anvands for att kompensera for det manskliga orats dalgia uppfattningsformaga nar det galler diskant och bas med lag ljudniva. (Se sidan 12 for ytterligare uppliesningar).

Kontroll for inspelningsutgang (REC OUT) Endast AX-496
Vrid på denna kontroll for att valja programkälla for inpelling på en MD-spelare eller kassettdäck. Dennainstalling ar oberoende av INPUT-valjarens installing, sä denna Funktion ger dig möljeh att spelal in frän den valda programkällan medan du lyssnar på en annan programkälla.

Frontlucka
Se insidan av det främre omslaget om hur du öppnan och stänger frontluckan.

Ingängsväljare (INPUT)
Vrid paenna for att valja ingangskalla.
Den valda programkallan visas genom att motvarsande ingangsindikator tands.

VOLUME
Vrid pa denna for att hoja och sanka ljudnish. (REC OUT-nivan paverkas inte.)
FJÄRRKONTROLLEN
Fjarrkontroll har utformats for att manovrera de vanligen anvanda Funktionerna for huvudapparaten. Om du har en YAMAHA CD-spelare, tuner, kassettdack, etc., utrustad for fjarrkontroll, kanenna fjarrkontroll oksa anvandas for att manovrera deras olika funktioner.

För manövrering avenna apparat
1 STANDBY/ON
Tryck inenna knapp for att satta pa denna apparat ellser satta den i beredskapslage.
Denna knapp kan endast anecdas nar POWERknappen pa huvudapparaten ar i ON-lage.
Beredskapslage
I detta tillstand forbrukar apparaten en mycket liters strommangd for att mojiggora mottagning av infraroda signaler fran fjarrkontrollen.
2 Ingangsväljare
Tryck in en knapp for att valja ingangskalla.
3 VOLUME + / -
Tryck in dessa knappar for att hoja aller sanka ljudnivan.
För manövrering av andra apparater
Anmarkning
Knapparnas Funktioner for kontroll av andra YAMAHA- apparater ar desamma som motvarsande knappar. Se dessa apparaters bruksanvisningar for ytterligare uppliesningar.
① Knappar for kassettdäcket
- Om du trycker in DIR A änderas bandgangsriktningen für att enkelkassettdäck som har automatisk reverseringsfunktion.
② Knappar for CD-spelaren
Med dessa knappar kan du manovrera CD-spelare.
- DISC SKIP kan endast användas für skivväxlare.
③ Tunerknappar
Dessa knappar manovrerar tuners.
PRESET +: Tryck inenna knapp for att valja nasta snabbvalsnummer.
PRESET -: Tryck inenna knapp for att valja foregående snabbvalsnummer.
A/B/C/D/E: Tryck inenna knapp for att valja onskad grupp (A-E) av snabbvalsstationer.
MANÖVRERING
Avspelning av en kalla

1

Stali lage "oo".
2
Om STANDBY-indikatorn lyser, skall du trycka in STANDBY/ON for att satta pa apparaten. (STANDBY-indikatorn slocknar.)

4 Valj onskad ingangskalla.

Indikatorn for den valda programkallan tands.
5
Välj högtalarpar para A aller B.

SPEAKERS
- Du kan välja báde högtalarpar A och B.
- Kontrollera att IMPEDANCE SELECTOR har ställts in korrekt enigt anvisingarna på sidan 5.
- Om du vill lyssna med hörtelefoner, skall du trycka in bada knapparna for att släppa ut dem (OFF).
6
Spela kallan.
7

Stall in Ijudniva.
8
Justera Ijudets klangfarg med kontrollerna BASS, TREBLE, BALANCE, LOUDNESS eller CD/DVD DIRECT AMP (eller PURE DIRECT; endast for AX-496). (Se sidan 12.)
Endast AX-396
Om TAPE MONITOR-indikatorn lyser nár du lyssnar pa en programkälla, skall du trycka in TAPE MONITOR sa att TAPE MONITOR-indikatorn slocknar.
När du inte vill användaenna apparat langre
Tryck in STANDBY/ON igen sa att apparaten satti beredskapslage. (STANDBY-indikatorn tand.)
Foratt helt avskara apparatens strömmating frän elnätet
Tryck in POWER sa att den släpps ut (OFF).
■ Inspelning frän en programkälla på band (eller MD-spelare)
AX-496

1 Valj kalla du vill spelaln fran.

2 Spela kallan.
3 Valj ingangskalla med INPUT-valjaren och justera VOLUME for att kontrollera ljudnivan.


4 Starta inpelningen på kassettdäcket (eller MD-spelaren).
5 Inspelningens ljud kan kontrolleras genom att du väljer kassettdäcket (eller MD-spelaren) med INPUT-väljaren.

6 Att lyssna pa en annan programkalla genom att valja den med INPUT-valjaren, paverkar inte inpelningen.
AX-396

1 Valj den programkalla du vill spelaln fran.

2 Avspela kallan och vrid sedan upp VOLUME for att kontrollera ljudutgangen.

3 Starta inpelningen på kassettdäcket (eller MD-spelaren).
4 Om kassettdäcket används für inpelning, kan du kontrollavyssna inpeliningens ljud. För att kontrollavyssna ljudet frän en inpelning, skall du tända TAPE MONITOR-indikatorn på displayen genom att trycka in TAPE MONITOR.

Anmärkning När inspelningen ar klar skall du släcka TAPE MONITOR-indikatorn genom att trycka in TAPE MONITOR.
Anmärkningar om inpelning
- Kontrollerna VOLUME, BASS, TREBLE, BALANCE, LOUDNESS och CD/DVD DIRECT AMP (och PURE DIRECT; endast for AX-496) paverkar inte materialet som spelas in.
- Kontrollera vilka lagar och regler for upphovsratt som gäller for inpelning frän skivor, CD:s, radio o.dyl. i ditt land. Inspelning av upphovsrattsskyddat material kan vara ett brott mot lagen om upphovsratt.
Ljudkontroll
Installingn av BALANCE
Reglera utsignalsnivans balans for hoger och vanderhogtalare for att kompensera obalans orsakad avhogtalaruppstallningen erller lyssningsrummets kondition.

Användning av CD/DVD DIRECT AMP
Du kan njuta av renast tankbara ljud fran din CD-ller DVD-spelare genom att trycka inenna knapp. Indikatorn ovenfor knappen tands. Narenna Funktion har aktiverats, sands ingangssignalerna fran CD-spelaren erer DVD-spelaren direkt till den inbyggda specialforstarkaren for CD/ DVD-ljud, utan att passera genom INPUT-valjaren ellert kontrollerna BASS, TREBLE, BALANCE och LOUDNESS (och TAPE MONITOR; endast for AX-396), och sands darefter till effektforstarkaren. Denna signalvag ger renast tankbara ljud genom att eliminera alla forandringar av CD-eller DVD-signalen.

Användning av PURE DIRECT.
Endast AX-496
Största mögla renhet i ljudátergivningen fran dina ljudkällor erhalles genom att trycka inenna. Indikatorn ovenfor knappen tands. Närenna Funktion har aktiverats, passerar ljudsignalen forbi kontrollerna BASS, TREBLE, BALANCE och LOUDNESS vilket tar bort alla Förändringar av ljudet.

Anmärkning
Om du har tryckt in bade CD/DVD DIRECT AMP och PURE DIRECT, fungerar endast CD/DVD DIRECT AMP.
Installingn av BASS och TREBLE


BASS: Vrid kontrollen medurs for att öka (eller moturs für att minsa)lagfrekvensgangen (basen).
TREBLE: Vrid kontrollen medurs for att öka (eller moturs für att minska) högfrekvensgangen (diskanten).
Inställning av steglös LOUDNESS
Detta reglage kompenserar for det manskliga orats bristande kanslighet i de hoga och laga frekvensomradena vid laga ljudnivaer. Reglaget kan stallas in sa att helatonskalan aterges vid alla ljudnivaer.
1

Satt i lage "FLAT".
2

Om du trycker in CD/DVD DIRECT AMP (eller PURE DIRECT; endast for AX-496) for att aktivera Funktionen纳税 LOUDNESS har ställts in pa en viss niva, hojs ljudnish plotsligt och kan skada dina oron erler högtalarna. (Du kan passera forbi LOUDNESS-funktionen.) Av detta skäl skall du vara noga med att trycka in CD/DVD DIRECT AMP (eller PURE DIRECT; endast for AX-496) after att du har sankt ljudnish erler after att du har kontrollerat att LOUDNESS har ställts in korrekt.
Se nedanstäende tabell om apparaten inte fungerar på rätt satt. Om de problem du upplever inte finns uppräknade i nedanstäende tabell eller om anvisingarna här nedan inte hjälper, skall du lossa nätkabelns kontakt och kontakta din auktoriserade YAMAHA-Äterförsäljare eller din serviceverkstad.
| Problem | Orsak | Vad gōr? |
| Apparaten kan inte sättas på, eller stängs av plötsligt kört after att den sats på. | Nätkabelns kontakt inte isatt erler inte inskjuten helt. | Skjut in nätkabelns kontakt ordentlich. |
| IMPEDANCE SELECTOR-väljaren på baksidan har inte sats helt i nagot avändlägena. | Sätt väljaren helt i enderaändåget;närenna apparat ar helt avständ. | |
| Apparaten fungerar inte på rätt sätt. | Kraftiga yttre störninger påverkar anlögngningen (askväder, kraftig statisk elektricitet, etc.), erler apparaten har manövrerats felaktigt. | Stäng avenna apparat genom att trycka in POWER. Efter ca. 30 sekunder skall du äter sättåpparatten och manövrera den igen. |
| Inget ljud. | Utgångskablarna侦 felanslutna. | Anslut korrekt. Felet kan liggahos kablarna om detta inte hjälper. |
| Rätt ingångskälla侦 inte valid. | Välj rätt ingångskälla med INPUT-väljaren. | |
| SPEAKERS har inte ställts in korrekt. | Tryck in motsvarande SPEAKERS till ON-läge. | |
| Högitalarnas anslutning har inte skett på rätt sätt. | Anslut högtalarna ordentlich. | |
| Ljudet forsvinner plötsligt. | Skyddskretsen har aktiverats p.g.a.kortslutning. | Stäng avenna apparat genom att trycka in POWER och sätt på den igen,så ästerställes skyddskretsen. |
| Bara en av högtalarna ger ifrän sig ljud. | Felaktig inställning av BALANCE. | Ställ in det korrektla侦get. |
| Felaktig kabelanslutting | Anslut korrekt. Felet kan liggahos kablarna om detta inte hjälper. | |
| BASFLOUST i Ijudätergivning, ljudet har ingen rymd. | Plus- (+) och minusledningarna (-)mellan högtalarna och Förstärkaren harkastats om. | Anslut högtarledningarna i rätt fas (dvs till + och -). |
| Brumljud | Felaktig kabelanslutting | Anslut kabeln ordentlich. Om feletfortfarande侦 kvar kan det vara felpá kabeln. |
| Ingen anslutting frän skivspelaren till GND jorduttag. | Utför anslutting till jord (GND) mellanenna entohoch skivspelaren. | |
| Ljudnivan är lagg vid avspelning av grammofonskiva | Av spelning utförs på en skivspelare medMC-pickup | Skivspelare bör anslutas till mottagaren genom MC-huvudforstärkaren. |
| Ljudnivan kan inte höjas, eller ljudet läter forvṛngt. | Den apparat, som har anslutits tilluttagen TAPE OUT erler MD OUT pådenna apparat,侦 avslagen. | Sätt på den anslutna apparaten. |
| Ljudet blir sämre;nar du lyssnar med hjälp av hörllurarna ansluttn till CD-spelaren eller kasettdäcket som ar anslutna tillenna enhet. | Denna apparat侦 avstängd erler iberedskapläge. | Sätt påenna apparat. |
| Ljudnivan är lagg | LOUDNESS侦 aktiverad | SättLOUDNESS på FLAT. |
| Ingångskällanändras inte;narINPUT-väljaren manövreras. | CD/DVD DIRECT AMP har tryckts in tillON-läge. | Sätt CD/DVD DIRECT AMP i OFF-läge. |
| Ljudet päverkas inte om du vramer på BASS, TREBLE, BALANCE och LOUDNESS. | CD/DVD DIRECT AMP (eller PUREDIRECT; endast for AX-496) haraktiverats. | CD/DVD DIRECT AMP (eller PUREDIRECT; endast for AX-496) mastevara i OFF-läge for att dessa kontrller skull fungera. |
| Fjällkontrollen fungerar inte. | Batterierna forenna fjällkontroll侦 forsvaga. | Byt ut batterierna med nya. |
| Fjällkontrollen fungerar inte rätt. | För stort avständ erler for stor vinkel. | Fjällkontrollen fungerar på upp till 6 meters avstand i en vinkel på max. 30 grader sett rakt fram frän apparaten. |
| Direkt soljus erler ljes (inverteratlysörsljus el.dyl.) skiner på sensorn forfjällkontrollen på huvudheneten. | Flytta på huvudheneten. |
Strömdelen
Minimum RMS uteffekt
8Ω, 20 Hz till 20 kHz, 0,019 % THD
Maximal uteffekt (EIAJ)
(1 kHz, 10% THD)
8/6Ω 130/150W
6Ω 110W
Dynamisk effekt (IHF)
8/6/4/2Ω
DIN standard uteffekt
Ingångskänslighet/-impedans
CD/DVD, etc. 150 mV/47 kΩ
PHONO 2,5 mV/47 kΩ
Utgangsniva
[Modell for Europa och Storbritannien]
Växelström 230 V, 50 Hz
[Modell for Australien] .Voxelström 240 V,50 Hz
[Modell for Kina]. Vaxelstrom 220 V, 50 Hz
[Modellforallmanmodell]
Vaxelstrom 110/120/220/240 V, 60/50 Hz
Effektförbrukning
Växelströmsuttag
3 omkopplingsbara vaxelströmsuttag
[Modell for Europa, Kina och allman modell] 100 W max. total
1 omkopplingsbart vaxelstromsuttag
[Modell for Storbritannien och Australien] 100 W max. total
Dimensioner (× × ) 435 x 151 x 391 mm
Vikt
EnkelManual