AX396 - Heimkinoverstärker YAMAHA - Kostenlose Bedienungsanleitung
Finden Sie kostenlos die Bedienungsanleitung des Geräts AX396 YAMAHA als PDF.
Benutzerfragen zu AX396 YAMAHA
0 Frage zu diesem Gerät. Beantworten Sie die, die Sie kennen, oder stellen Sie Ihre eigene.
Eine neue Frage zu diesem Gerät stellen
Laden Sie die Anleitung für Ihr Heimkinoverstärker kostenlos im PDF-Format! Finden Sie Ihr Handbuch AX396 - YAMAHA und nehmen Sie Ihr elektronisches Gerät wieder in die Hand. Auf dieser Seite sind alle Dokumente veröffentlicht, die für die Verwendung Ihres Geräts notwendig sind. AX396 von der Marke YAMAHA.
BEDIENUNGSANLEITUNG AX396 YAMAHA
BEDIENUNGSCANLEITUNG
BRUKSANVISNING
AUSPACKEN Nach dem Auspacken überprüfen, ob die folgenden Teile vorhanden sind.
Öffnen und Schlieben der Reglerfachklappe
Schlieben Sie die Reglerfachklappe, wenn Sie die Regler im Fach nicht verwenden.
ÖffnenderReglerfachklappe
Schlieben der Reglerfachklappe
2 x 85W (8Ω) RMS-Ausgangsleistung, Gesamtklirrfaktor 0,019%, 20-20.000Hz
AX-396
2 x 60W (8Ω) RMS-Ausgangsleistung, Gesamtklirrfaktor 0,019%, 20-20.000Hz
Hohe dynamische Leistung, Niederimpedanzsteuerung
Lautstärkekorrekturregler (LOUDNESS)
CD/DVD DIRECT AMP-Schalter für reinste CD und DVD Tonwiedergabe
Fernbedienung
nur AX-496
REC OUT-Wahlschalter unabhängig von der Wahl der Eingangsquelle
PURE DIRECT-Schalter für reinste Tonwiedergabe
INHALT
AUSPACKEN innere Reglerfachklappeseite
BESONDERHEITEN 1
ZUR BEACHTUNG 2
HINWEISE FÜR DIE FERNBEDIENUNG 3
ANSCHLUSSE 4
BEDIENUNGSELEMENTE UND IHRE FUNKTIONEN 6
BEDIENUNG 9
STÖRUNGSSUCHE 13
TECHNISCHE DATEN 14
ZUR BEACHTUNG:itte lessen Sie diese Bedienungsanleitung vor Inbetriebnahme des Gerates.
1.itte lessen Sie these Bedienungsanleitung sorgfaltig durch,um sich grundlich mit dem Gerat vertraut zu machen.Heben Sie die Bedienungsanleitung auf,um auch später noch nachschlagen zu konnen.
2. Das Gerät an einem kühlen, trockenen und sauberen Platz aufstellen - entfernt von Fenstern, Wärmequellen, Erschütterungen, Staub, Feuchtigkeit und Kälte. Stellen Sie das Gerät nicht in der Höhe von elektrischen Störquellen (Transformatoren, Motoren) auf und setzen Sie es nicht Regen oder Feuchtigkeit aus, um elektrische Schläge und Feuer zu vermeiden.
3. Niemals das Gehäuse öffnen. Wenden Sie sich an ihren Fachhändler, wenn Gegenstände in das Geräte eingedrungen sind.
4. Keine Gewalt auf die Bedienungselemente und Kabel ausüb. Zum Aufstellen an einem anderen Ort zuerst das Netzkabel und dann die Verbindungskabel zu anderen Geräten loseh. Immer an den Steckern, niemals an den Kabeln selbst, ziehen.
5. Die Öffnungen in der Geräteabdeckung dienen zur Belüfung des Gerätes. Wenn diese abgedeckt sind, steigt die Innentemperatur des Gerätes rasch an. Blockieren Sie deshalb die Entlüftungsöffnungen nicht mit Gegenständen und stellen Sie zur Verhütung eines Brandausbruchs oder anderer Beschädigungen das Gerät an einem gut belufteten Ort auf. Auf beiden Seiten, sollte ein freier Abstand von 20 cm, auf der Rückseite ein Abstand von 20 cm und auf der Oberseite ein Abstand von 30 cm vorhanden sein, um einen Brandausbruch oder andere Beschädigungen zu vermeiden.
6. Die auf thisem Gerät angegebene Netzspannung muß verwendet werden. Der Betrieb des Gerätes mit einer Netzspannung, diehigheristalsdie angegebene,ist gefährlich und kann zu Unfallen,z.B.Brand,oder zu Beschädigungen führen.YAMAHA kann nicht für Schaden verantwortlich gemacht werden, die aus Betrieb mit einer unvorschriftsmäßigen Netzspannung resultieren.
7. Stellen Sie den Lautstärkeregler (VOLUME) immer auf "∞" bevor Sie mit der Tonwiedergabe beginnen, und stellen Sie danach den gewünschten Lautstärkepegel ein.
8. Zur Reinigung keine chemischen Lösungsmittel verwenden, weil dadurch die Gehäuseoberfläche beschädigt werden kann. Das Gerät mit einem sauberen, trockenen Tuch reinigen.
9. Der Abschnitt "STÖRUNGSSUCHE" beschreibenhäufige Bedienungsfehler. Lesen Sie diesen Abschnitt, bevor Sie auf einen Defekt des Gerätes schreiben.
10. Falls Sie das Gerät für längerere Zeit nicht benutzen (z.B. während der Ferien), sollen den Netzstecker aus der Steckdoseziehen.
11. Bei Blitzschlaggefahr das Netzkabel aus der Steckdoseziehen.
- Erdung oder Polarisation - Es muß beachtet werden, daß die Erdung oder Polarität eines Gerätes nicht unterbrochen bzw. geändert werden damit.
- An die Netzsteckdose an der Rückseite keine Geräte anschließen, die mehr als die Nennleistung aufnehmen.
Wenn das Gerät mit der Netztaste (STANDBY/ON) an der Gerätefrontseite oder der Fernbedienung ausgeschaltet wird, leuchtet die Netzanzeige (STANDBY) auf der Frontseite. Dieser Zustand wird als Betriebsbereitschaft bezeichnet. Bei angeschlossenem Netzstecker wird immer eine geringe Leistung aufgenommen. Die Stromversorgung des Gerätes wird erst vollständig unterbrochen, wenn der Netzschalter (POWER) in die Position "OFF" gestellt wird oder das Netzkabel aus der Steckdose gezogen wird.
WARNING
Betätigen Sie den Impedanzwahlschalter (IMPEDANCE SELECTOR) nicht, solange das Geräteingeschaltet ist. Andernfalls könnte das Gerätebowen gehalten.
Falls these Gerat beim Drucken des Netzschalters (POWER) nicht eingeschaltet wird: Der Impedanzwahlschalter (IMPEDANCE SELECTOR) ist möglichereweise nicht in eine der Endstellungen eingerastet. In dieser Fall das Gerat auschalten und den Wahlschalter fest in die richtige Stellung schiben.

IMPEDANCE SELECTOR
Einlagen der Batterien
Da die Fernbedienung für fast alle Steuerfunktionen des Gerätes verwendet wird, sollenn Sie zuerst die Batterien in die Fernbedienung einsetzen, damit sie betriebsbereit ist.
- Drehen Sie dazu die Fernbedienung um und schiben Sie den Batteriefachdeckel zum Entfernen in Pfeilrichtung.
- Die Batterien (AA, R6, UM-3) richtig gegelt einlagen, wie im Batteriefach angegeben.
- Bringen Sie den Batteriefachdeckel wieder an.

Auswechseln der Batterien
Falls der Abstand zum Gerät, in dem die Fernbedienung benutzt werden kann, abnimmt, sind die Batterien erschöpf. Tauschen Sie immer beide Batterien zusammen aus.
Hinweise
- Verwenden Sie Batterien der Höhe AA, R6, UM-3.
- Beachten Sie die im Batterienfach gezeugten Polaritäten.
- Falls die Fernbedienung für langere Zeit nicht verwendet wird, müssen Sie die Batterien herausnahmen.
- Ausgelaufene Batterien müssen(sofort beseitigt werden und dürfen nicht mit Kleidern usw. in Berührung kommt. Vor dem Einsetzen neuer Batterien muß das Fach sorgfältig gereinigt werden.
Fernbedienungsbetrieb

Hinweise
- Zwischen der Fernbedienung und dem Gerat dürfen sich keine großen Gegenstände befinden.
- Setzen Sie den Fernbedienungssensor keinem starken Licht, insbesondere von Inverter-Fluoreszenzlampen aus, weil sonst Betriebsstörungen aufreten können.
Gegebenenfalls müssen Sie das Gerät so aufstellen, daß es nicht direkt von einer Lichtquelle getroffen wird.
ANSCHLUSSE
Vorsicht: Der Netzstecker theses Gerätes und der anderen Komponenten darf erst angeschlossen werden, nach dem alle anderen Anschlüsse richtig ausgehrt worden sind.
- Für die Anschlüsse müssen die Seiten links (L), rechts (R), plus (+) und minus (-) genau beachtet werden. Außer dem wird auf die Bedienungsanleitung der einzelnen Geräte verwiesen.
- Verwenden Sie zum Anschlieben von Audio- bzw. Videogeräten RCA-Steckerkabel, außer für Laufsprecher.
Die Ausgangs- bzw. Eingangsbuchsen der YAMAHA-Audio- bzw. Videogeräten sind auf der Rückseite mit 1,2,3,4, usw. gekennzeichnet. Diese Buchsen müssen mit den gleich bezeichneten Buchsen these Gerätes verbunden werden.

^1, ^2, ^3 : Für die Beschreibung wird auf Seite 5 verwiesen.
bezeichnet die Signalrichtung
Laatsprecheranschluss
Schlieben Sie die Laufsprecher mit Kabeln von ausreichendem Querschnitt an die Klemmen SPEAKERS an (halten Sie die Kabel so kurz wie möglich). Bei fehlerhaften Anschlüssen ist keine Tonwiedergabe möglich. Beachten Sie die an den Klemmen angezeichneten Polaritäten (d.h. + und - Zeichen). Falls die Kabel mit umgekehrter Polarität angeschlossen werden, ist die Tonwiedergabe unnaturlich und die Baßwiedergabe schwach.
Vorsicht
Die abisolierte Laatsprecherkabel)durfen nicht kurzgeschlossen werden oder Metallteile把这些 Gerätes berühren, weil dadurch das Gerät bzw. die Laatsprecher beschädigt werden können.
Anschluß
ROT fur das (+) Zeichen SCHWARZ fur das (-) Zeichen

① Losen Sie den Knopf.
② Stecken Sie das abisolierte Lautsprecherkabel (ca. 10mm Isolation entfernt) hinein.
③ Den Knopf zum Befestigen des Kabels festziehen.
- An thisem Gerät konnen ein oder zwei Laufsprecherpaare angeschlossen werden. Bei Verwendung eines Laufsprehcerpaares müssen die Laufsprecher an die Klemmen "SPEAKERS A oder B" angeschlossen werden.
- Verwenden Sie Laufsprecher mit der auf der Geräterückseite angegebenen Impedanz.
Für den Anschluß können auch Bananenstecker verwendet werden. Stecken Sie die Bananenstecker einfach in die entsprechende Klemme.

Elemente auf der Rückseite
Impedanzwahlschalter (IMPEDANCE SELECTOR)
WARNING
Betätigen Sie den Impedanzwahlschalter (IMPEDANCE SELECTOR) nicht, solange das Geräteingeschaltet ist. Andernfalls konnte das Gerät damit Schadennehmen.
Falls these Gerat beim Drucken des Netzschalters (POWER) nicht eingeschaltet wird: Der Impedanzwahlschalter (IMPEDANCE SELECTOR) ist möglichereweise nicht in eine der Endstellungen eingerastet. In dieser Fall das Gerat aushalten und den Wahlschalter fest in die richtige Stellung schieben.
Stellen Sie die Position ein, die den verwendeten Lautsprechern entspricht.

(Rechte Position)
Bei Verwendung von einem Lautsprecherpaar muß die Impedanz jeder Lautsprechers 4 Ω oder mehr betragen.
Bei Verwendung von zwei Laufsprecherpaaren muß die Impedanz jeder Laufsprechers 8 Ω oder mehr betragen.
(Linke Position)
Bei Verwendung von einem Laufsprecherpaar muß die Impedanz jeder Laufsprechers 6 Ω oder mehr betragen.
Bei Verwendung von zwei Laufsprecherpaaren muß die Impedanz jeder Laufsprechers 12 Ω oder mehr betragen.

Netzsteckdosen [AC OUTLET(S)] (SWITCHED) ^2
(Europa-, China- und allgemeines Modell) 3 beschaltete Netzsteckdosen (Großbritannien- und Australien-Modell) 1 beschaltete Netzsteckdose
An diese Netzbuchsen können Sie weitere Systemkomponenten anschließen.
Die Stromversorgung der Steckdose SWITCHED wird mit dem Netzschalter (POWER oder STANDBY/ON) des Gerats ein- und ausgeschelt. Immer wenn diese Gerät eingeschaltet ist, diese Steckdose wird alle angeschlossenen Geräte mit dem Strom versorgen.
An der Steckdose SWITCHED AC OUTLETS konnen Sie Geräte mit gesamten maximalen Leistungsaufnahme von 100W anschließen.
Erdungsklemme (GND) (für Plattenspieler)
Die GND-Klemme ist für die Erdung eines Plattenspielers vorgesehen, um Brummgeräutsche zu verringn. Es gibt aber auch Fälle in denen bessere Resultate mit nicht angeschlossen Erdungskabel erzielt werden.
BEDIENUNGSELEMENTE UND IHRE FUNKTIONEN
FRONTSEITE
AX-496

AX-396

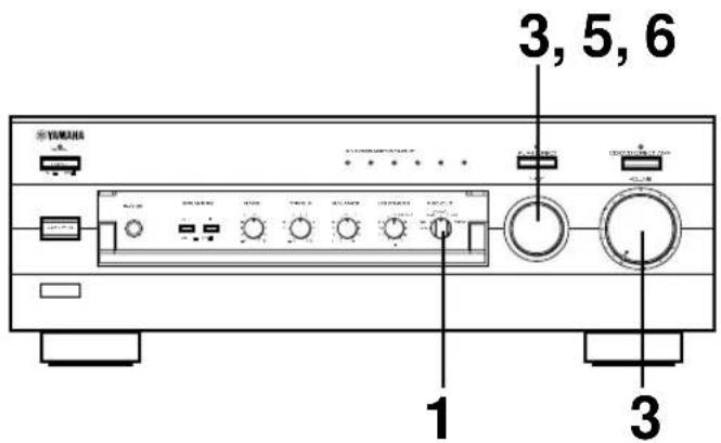
1 Netzschalter (POWER)
Rasten Sie diesen Schalter in die Position "ON" ein, um das Gerät in Betrieb zunehmen. Mit der Netztaste (STANDBY/ON) können Sie das Gerät einschalten oder in die Betriebsbereitschaft umschalten. Wenn Sie diese Taste in die Position "OFF" ausrasten, so wird die Stromversorgung vom Netz vollständig unterbrochen.
2 Netzanzeige (STANDBY)
Die Anzeige leuchtet nur bei eingeschalteten Betriebsbereitschaft auf.
3 Netztaste (STANDBY/ON)
Drucken Sie diese Taste zum Einsatzen des Gerätes.
Durch nochmaliges Drucken wird das Gerät in die Betriebsbereitschaft umgeschaltet.
- These Taste kann nur verwendet werden, wenn der Netzschalter (POWER) in die Position "ON" eingerastet ist.
Betriebsbereitschaft
Das Gerat nimmt in dieser Betriebsart eine geringe Leistung fur den Empfang der Infrarotsignale von der Fernbedienung auf.
Eingangsquellenanzeigen
Die Anzeige fur die gegenwärig eingestellte Eingangssquelle leuchtet auf.
5 Direktschalter und Anzeige (PURE DIRECT) nur AX-496
Drucken Sie diesen Schalter für eine reinste
Wiedergabe, so daß die Anzeige über dem Schalter aufleucht. (Für weitere Einzelheiten wird auf Seite 12 verwiesen.) Durch nochmaliges Drücken des Schalters kann diese Funktion wieder ausgeschelt werden.
6 Monitorschalter und Anzeige (TAPE MONITOR) nur AX-396
Drucken Sie den Schalter, so daß die Anzeige über dem Schalter schaltet ein. Die Wiedergabe des an den rückseitigen Buchsen "TAPE" angeschlossenen Kassettendecks ist dann möglich. Wenn das Kassettendeck für die Aufnahme verwendet wird, konnen Sie die Tonaufnahme mithören.
- Zur Wiedergabe der mit dem Eingangswahlschalter (INPUT) eingestellen Quelle drücken Sie den Schalter erneut, um die Anzeige auszuschalten.
- Bei eingeschalteter Funktion (leuchtende Anzeige) kann das Kassettendeck nicht mit dem Eingangswahlschalter (INPUT) eingestellt werden.
- Wenn das Kassettendeck mit dem Eingangswahlschalter (INPUT) eingestellt ist, so kann diese Funktion nicht eingestellt werden, selbst wenn der Monitorschalter (TAPE MONITOR) gedrückt wird.
CD/DVD-Direktschalter und Anzeige (CD/DVD DIRECT AMP)
Drücken Sie diesen Schalter für eine reinte CD/DVD-Wiedergabe, so daß die Anzeige über dem Schalter aufleucht. (Für weitere Einzelheiten wird auf Seite 12 verwiesen.) Durch nochmaliges Drücken des Schalters kann diese Funktion wieder ausgeschelt werden.
Fernbedienungssensor
Dieser Sensor empfängt die Steuersignale von der Fernbedienung.
PHONES
Kopfhörerbuchse (PHONES)
Bei Verwendung eines Kopfhörers, schlieben Sie den Kopfhörer an die Kopfhörerbuchse
(PHONES) an und stellen Sie die Laufsprecherschalter A und B in die Position OFF.

10 Lautspecherschalter (SPEAKERS)
Rasten Sie die Laufsprecherschalter (SPEAKERS) A bzw. B für die zu verwendeten Laufsprecher in die Position (ON) ein. Rasten Sie den Schalter für die nicht zu verwendeten Laufsprecher in die Position (OFF) aus.
11 Klangregler BASS
Mit diesen Regler können Sie die Baßwiedergabe verstärken oder abschwächen. In der Position "0" wird ein linearer Frequenzgang wiedergegeben.
TREBLE
Mit diesen Regler können Sie die Höhenwiedergabe verstärken oder abschwächen. In der Position "0" wird ein linearer Frequenzgang wiedergegeben.
12 Balanceregler (BALANCE)
Mit thisem Regler wird die Balance für den Ausgleich der Lautstärke von den beiden Laufsprechern zur Kompensation für die Laufsprecheraufstellung und die Raumbedingungen richtig eingestellt.
13 Lautstärkekorrekturregler (LOUDNESS)
Mit diesen Regler können Sie die Wiedergabe für das menschliche Gehör kompensieren, das bei niedrigem Lautstärkepegel die hohen und tiefen Frenzenz nicht mit der gleichen Empfindlichkeit zu erfassen vermag. (Für Einzelheiten wird auf die Seite 12 verwiesen.)
14 Aufnahmequellenwahlschalter (REC OUT) nur AX-496
Stellen Sie mit diesen Schalter die Aufnahmequelle für den MD-Recorder oder das Kassettendeck ein. Diese Einstellung ist unabhängig von der Einstellung des Eingangswahlschalters (INPUT), so daß Sie während der Aufnahme der eingeselten Quelle eine andere Quelle wiedergeben konnen.
15 Reglerfachabdeckung
Zum Öffnen und Schlieben der Reglerfachklappe wird auf dem Innere der Reglerfachklappe verwiesen.
Eingangswahlschafter (INPUT)
Stellen Sie die Eingangsquelle mit thisem Schalter ein. Die Eingangsanzeige für die eingeselte Eingangsquelle leuchtet.
17 Lautstärkeregler (VOLUME)
Mit diesen Regler konnen Sie den Lautstärkepegel einstellen. (Der REC OUT-Pegel wird nicht beeinflübt.)
FERNBEDIENUNG
Mit der Fernbedienung konnen die wichtigsten Funktionen des Hauptgerätes gesteuert werden. Falls an thisem Gerät ein CD-Spieler, ein Tuner, ein Kassettendeck usw. mit kompatibler Fernbedienungsfunktion von YAMAHA angeschlossen ist, so konnen mit dieser Fernbedienung auch verschiedene Funktionen gesteuert werden.

Steuerung deses Gerätes

Netztaste (STANDBY/ON)
Drücken Sie diese Taste, um das Gerät in Betrieb zunehmen oder in die Betriebsbereitschaft umzuschalten. Diese Taste laßt sich nur bedieten, wenn sich der Netzschalter (POWER) des Hauptgerätes in der Position "ON" befindet.
Betriebsbereitschaft
In thisem Zustand wird ein sehr geringer Strom für den Empfang der Infrarotsignale von der Fernbedienung verbraucht.

Eingangswahltasten
Drucken Sie eine Taste zum einstellen der Eingangsquelle.

Lautstärketaste (VOLUME +/-)
Mit diesen Tasten können Sie den Lautstärkepegel erhöhen oder verringern.
Steuerung anderer Geräte
Hinweis
Die Funktionen der Tasten zur Steuerung anderer YAMAHA-Geräte sind gleich wie die betreffenden Tasten dieser Geräte. Für weitere Einzelheiten wird deshalb auf die Bedienungsanleitung der betreffenden Geräte verwiesen.

Kassettendecktasten
These Tasten sind für die Bedienung von Kassettendecks.
- Die Tasten DIR A, B und A/B sind nur für Doppelkassettendecks.
- Mit der Taste DIR A können Sie bei einem Kassettendeck mit automatischer Reversefunktion die Bandlaufrichtung umschalten.

CD-Spielertasten
These Tasten sind fur die Bedienung von CD-Spielern.
- Die Überspringtasten (DISC SKIP) wird nur für Wechselspieler verwendet.

Tunertasten
These Tasten sind für die Bedienung von Tunern.
PRESET +: Drücken Sie diese Taste zum Einstellen des nachsten Speicherplatzes.
PRESET -: Drücken Sie diese Taste zum Einstellungen des vorhergehenden Speicherplatzes.
A/B/C/D/E: Drucken Sie diese Taste zum Einstellen der Gruppe (A - E) der Senderspeicher.
BEDIENUNG
Wiedergabe einer Tonquelle

1

In die Position "∞" stellen.
2
Rasten Sie den Netzschalter (POWER) in die Position "ON" ein.

3
Falls die Netzanzeige (STANDBY) leuchtet, schalten Sie das Gerät mit der Netztaste (STANDBY/ON) ein. (Die Netzanzeige (STANDBY) wird ausgeschaltet.)

4 Wahlen Sie die gewünschte Eingangsquelle.

Die Anzeige der eingestellen Tonquelle leuchtet auf.
5
Stellen Sie das Laufsprecherpaar A oder B ein. SPEAKERS

- Sie können auch bereits Laufsprecherpaare A und B einschalten.
- Kontrollieren Sie, ob der Impedanzwahlschalter (IMPEDANCE SELECTOR) richtig eingestellt ist, wie auf Seite 5 beschrieben.
- Rasten Sie für die Wiedergabe über einen Kopfhörer, beide Schalter in die Position "OFF" aus.
6
Schalten Sie die Tonquelle ein.

Stellen Sie den Lautstärkepegel ein.
8
Stellen Sie die Tonwiedergabe mit dem Baß(BASS), dem Höhen-(TREBLE), dem Balanceregler (BALANCE), und dem Lautstärkekorrekturregler (LOUDNESS) oder dem CD/DVD-Direktschalter (CD/DVD DIRECT AMP) (oder dem Direktschalter (PURE DIRECT), nur für AX-496) ein. (Siehe Seite 12.)
nur AX-396
Falls bei der Wiedergabe einer Tonquelle die Monitoranzeige (TAPE MONITOR) leuchtet, müssen Sie die Anzeige durch Drucken der Monitorschalter (TAPE MONITOR) ausschalten.
Nach beendeter Wiedergabe
Drücken Sie die Netztaste (STANDBY/ON) nochmals, um das Gerät in die Betriebsbereitschaft umzuschalten. Die Netzanzeige (STANDBY) leuchtet auf.
Für die vollständige Unterbrechung des Gerätes von der Stromversorgung
Rasten Sie den Netzschalter (POWER) in die Position "OFF" aus.
■ Aufnahme einer Tonquelle auf eine Kassette (oder MD)
AX-496

1 Wahlen Sie die gewünschte Aufnahmetonquelle.

2 Schalten Sie die Tonquelle ein.
3 Stellen Sie die Tonquelle mit dem Eingangswahlschalter (INPUT) ein und stellen Sie zum Überprüfen des Tonausgangs die Lautstärke mit dem Lautstärkeregler (VOLUME) ein.


4 Schalten Sie den Kassettendeck (bzw. den MD-Recorder) auf Aufnahme.
5 Der Ton der Aufnahme kann überwacht werden, wenn mit dem Eingangswahlschalter (INPUT) das Kassettendeck (bzw. der MD-Recorder) eingestellt wird.

6 Die Aufnahme wird nicht beeinflübt, falls Sie mit dem Eingangswahlschalter (INPUT) eine andere Quelle für die Wiedergabe einstehen.
AX-396

1 Wahlen Sie die gewünschte Aufnahmetonquelle.

3 Schalten Sie den Kassettendeck (bzw. den MD-Recorder) auf Aufnahme.
4 Falls das Kassettendeck zum Aufnahmen verwendt wird, konnen Sie die Tonaufnahme überprüfen. Schalten Sie dazu die Monitoranzeige (TAPE MONITOR) durch Drücken des Monitorschalters (TAPE MONITOR) ein.

2 Geben Sie die Tonquelle wieder und erhöhen Sie zur Kontrolle des Tonausgangs den Lautstärkepegel mit dem Lautstärkeregler (VOLUME).

Hinweis
Schalten Sie die Monitoranzeige (TAPE MONITOR) nach abgeschlossener Aufnahme durch Drucken des Monitorschalters (TAPE MONITOR) aus.
Hinweise für die Aufnahme
Die Einstellung des Lautstärkereglers (VOLUME), des BaBreglers (BASS), des Höhenreglers (TREBLE), des Balancereglers (BALANCE), des Lautstärkekorrekturreglers (LOUDNESS) und des CD/DVD-Direktschalters (CD/DVD DIRECT AMP) (und Direktschalters (PURE DIRECT), nur für AX-496) haben keinen Einflüß auf die Aufnahme.
- Für das Aufzeichnen von Schallplatten, CDs, Radioübertragungen usw. sind die Urheberrechte in Ihr dem Land zu beachten, die durch das Aufzeichnen verletzt werden konnen.
Klangeinstellung
Einstellen des Balancereglers (BALANCE)
Stellen Sie die Balance für den Ausgleich der Lautstärke von den beiden Laufsprechern zur Kompensation für die Laufsprecheraufstellung und die Raumbedingungen richtig ein.

BALANCE
Verwendung des CD/DVD-Direktschalters (CD/DVD DIRECT AMP)
Für den Genuß der reinsten Tonwiedergabe vom CD- oder DVD-Spieler konnen Sie diesen Schalter drücken, so daß die Anzeige über dem Schalter leuchtetauf auf. In thisem Fall fließen die Tonsignale vom CD- oder DVD-Spieler direkt zum eingebauten speziellen CD/DVD-Verträker und danach zum Endverträker, ohne über die Schaltungen des Eingangswahlschalters (INPUT), des Baß- (BASS), Höhen-TREBLE), des Balance- (BALANCE) und des Lautstärkekorrekturreglers (LOUDNESS) (und des Monitorschalters (TAPE MONITOR), nur AX-396) geleitet zu werden. Auf diese Weise kann die reinste Tonwiedergabe garantiert werden, weil die CD- oder DVD-Signale nicht beeinflübt werden konnen.

Verwendung des Direktschalters (PURE DIRECT) nur AX-496
Drücken Sie diesen Schalter für die reinste Wiedergabe ihrer Tonquelle, so daß die Anzeige über dem Schalter leuchtet auf. In dieser Stellung werden die Signale nicht beeinflübt, weil sie nicht über die Baß- (BASS), Höhen-TREBLE), Balance-(BALANCE) und Lautstärkekorrekturreglenn (LOUDNESS) fließen.

Hinweis
Falls sowohl der CD/DVD-Direktschalter (CD/DVD DIRECT AMP) als auch der Direktschalter (PURE DIRECT) eingeschaltet sind, ist nur die Funktion des CD/DVD-Direktschalters (CD/DVD DIRECT AMP) vorhanden.
Einstellen des Baß-(BASS) und Höhenreglers (TREBLE)


BASS: Drehen Sie den Regler zum Erhöhen, bzw. Verringern der Baßlautstärke nach rechts bzw. links.
TREBLE: Drehen Sie den Regler zum Erhohen, bzw. Verringern der Höhenlautstärke nach rechts bzw. links.
Einstellen des Lautstärkekorrekturreglers (LOUDNESS)
Mit diesen Regler kann die Tonwiedergabe für eine volle Wiedergabe bei niedrigem Lautstärkepegel kompensiert werden, weil das menschliche Gehör die hohen und tiefen Frenzen bei niedrigem Pegel nicht richtig erfassen kann.
1

In die Position "FLAT" stellen.
2

Stellen Sie ihre gewünschte maximale Wiedergabelautstärke ein.
3

Drehen Sie den Regler, bis der gewünschte Lautstärkepegel eingestellt ist.
WARNING
Falls der CD/DVD-Direktschalter (CD/DVD DIRECT AMP) (oder der Direktschalter (PURE DIRECT), nur AX-496) bei eingestellter Lautstärkekorrekturregler (LOUDNESS) gedrückt wird, können durch den plottlichen Anstieg des Lautstärkepegels Gehorschaden oder Lautsprecherbeschädigungen verursacht werden. (Die Lautstärkekorrekturregler (LOUDNESS) wird umgangen.) Aus thisem Grund müssen Sie vor dem Betätigten des CD/DVD-Direktschalters (CD/DVD DIRECT AMP) (oder des Direktschalters (PURE DIRECT), nur AX-496) den Lautstärkepegel verringn oder kontrollieren, daß der Lautstärkekorrekturregler (LOUDNESS) richtig eingestellt ist.
Bei Funktionstörungen these Gerätes wird auf die nachstehende Tabelle verwiesen. Falls die vorliegende Störung nicht aufgeführ ist, oder falls die Störung nicht behoben werden kann, offen Sie das Netzkabel aus der Steckdose und wenden Sie sich an ihren autorisierten YAMAHA-Handler oder an ein Kundendienstzentrum.
| Störung | Ursache | Abhilfe |
| Gerät kann nicht eingeschalt werden oder wird nach dem Einsatzalten plötzlich wider ausgeschalt. | Das Netzkabel ist nicht richtig angeschlossen. | Den Stecker fest an die Steckdose anschließen. |
| Der rückseite Impedanzwahlschalter (IMPEDANCE SELECTOR) ist nicht richtig auf eine Seite gestellt. | Den Schalter richtig auf eine Seite stellen,azo zu muß das Gerät ausgeschalte werden. | |
| Das Gerät arbeitet nicht normal. | Es liegt eine Beeinflussung durch externe Störungen (Beleuchtung, starke statische Elektrizität, etc.) oder eine Fehlbedienung des Gerätes vor. | Schalien Sie das Gerät mit dem Netzschalter (POWER) aus. Nach ca. 30 Sekunden wieder ein und schalten Sie das Gerät erneut ein. |
| Kein Ton. | Falsche Anschlüsse der Ausgangskabel. | Die Kabel richtig anschließen. Wenn die Störung dadurch nicht behoben wird, kann das Kabel defekt sein. |
| Die Eingangstonquelle ist nicht richtig eingestellt. | Die Eingangstonquelle mit dem Eingangswahlschalter (INPUT) einstellen. | |
| Die Laufsprecherschalter (SPEAKERS) sind nicht richtig eingestellt. | Den entsprichenden Laufsprecherschalter (SPEAKERS) einschalten (Position "ON"). | |
| Die Laufsprecher sind nicht richtig angeschlossen. | Schließen Sie sie richtig an. | |
| Unterbrechung der Tonwiedergabe | Die Schutzschaltung hat wegen eines Kurzschlusses, usw., angesprochen. | Das Gerät mit dem Netzschalter (POWER) ausschalten und danach wieder einschalten, um die Schutzschaltung zürückzustellen. |
| Tonwiedergabe nur über einen Laufsprecher | Der Balanceregler (BALANCE) ist nicht richtig eingestellt. | Den Balanceregler (BALANCE) richtig einsstellen. |
| Die Kabel sind nicht richtig angeschlossen. | Die Kabel richtig anschließen. Wenn die Störung dadurch nicht behoben wird, kann das Kabel defekt sein. | |
| Schwache Baß- oder Raumklangwiedergabe. | Die Kabel + und - wurden entweder an dem Verständiger oder am Verständiger verwechselt. | Kehren Sie den Anschluß um. |
| Brummgeräusche | Die Kabel sind nicht richtig angeschlossen. | Die Kabelstecker richtig anschließen, falls die Störung dadurch nicht behoben wird, sind die Kabel defekt. |
| Der Plattenspieler ist nicht an der Klemme GND angeschlossen. | Den Plattenspieler an der Klemme GND these Geåtes anschließen. | |
| Geringer Lautstärkepegel bei der Wiedergabe von Schallplatten | Der Plattenspieler verwendet ein MC-System. | Den Plattenspieler über einen MC-Vorstandar an these Gerätsanchreiben. |
| Der Lautstärkepegel kann nicht erhöht werden oder der Wiedergabeton ist verzerrt. | Das an den Gerätbuchsen TAPE OUT oder MD OUT angeschlossene Gerät ist ausgeschalten. | Das Gerät einschalten. |
| Schwacher Tonpegel, wenn eine Wiedergabe über einen am CD-Spieler oder Kassettendeck angeschlossenen Kopfhorer mitgehört wird | Das Gerät ist ausgeschalten oder in die Betriebsbereitschaft umgeschalten. | Die Stromversorgung these Gerätes einschalten. |
| Geringer Lautstärkepegel | Die Lautstärkekorrekturregler (LOUDNESS) ist eingeselt. | Den Lautstärkekorrekturregler (LOUDNESS) in die Position FLAT stellen. |
| Die Eingangstonquelle kann nicht mit dem Eingangswahlschalter (INPUT) eingestellt werden. | Der CD/DVD-Direktschalter (CD/DVD DIRECT AMP) ist eingeselt. | Den CD/DVD-Direktschalter (CD/DVD DIRECT AMP) ausschalten. |
| Die Betätigung der BASS-, TREBLE-, BALANCE- und LOUDNESS-Regler hat keine Auswirkung. | Der CD/DVD-Direchtschalter (CD/DVD DIRECT AMP) (oder Direktschalter (PURE DIRECT), nur AX-496) ist eingeselt. | Schalien Sie den CD/DVD-Direktschalter (CD/DVD DIRECT AMP) (oder Direktschalter (PURE DIRECT), nur AX-496) aus, um die Tonregler verwenden zu können. |
| Keine Funktion der Fernbedienung | Die Batterien der Fernbedienung sind erschöptf. | Die Batterien durch neue ersetzen. |
| Funktionstörung der Fernbedienung | Falscher Abstand oder Abstrahlwinkel. | Die Fernbedienung arbeitet bis zu einem Höchstabstand von 6 m und einem Abstrahlwinkel von 30° zur optischen Achse des IR-Empfängers an der Frontplatte. |
| Starkes Licht, wie direkte Sonneneinstrahlung oder von einer Fluoreszenlampe trifft auf den Fernbedienungssensor. | Ändern Sie die Aufstellungsposition des Hauptgerätes. |
Leistung
Minimale Sinusausgangsleistung
8Ω, 20 Hz bis 20 kHz, 0,019% Kllrrgrad
Maximale Ausgangsleistung (EIAJ)
Dynamikleistung (IHF)
8/6/4/2Ω
DIN-Ausgangsleistung
(4Ω,1kHz,0,7% Kllrgrad)
IEC-Ausgangsleistung (8 Ω, 1 kHz, 0,019% Klirrgrad)
Leistungsbandbreite
8Ω, halbe Leistung, 0,04% Klirrgrad...... 10 Hz bis 50 kHz
Dampfungsfaktor
8Ω,20Hz bis 20 kHz 240
Frequenzgang 20 Hz bis 20 kHz ±0,5 dB
Kllrgrad (20 Hz bis 20 kHz)
CD/DVD bis SP OUT (8 Ω, halbe Leistung) 0,008%
Störspannungsabstand (IHF-A Netzwerk)
CD/DVD (Eingang kurzgeschlossen, CD/DVD DIRECT
AMP:ON) 110 dB
PHONO (Eingang kurzgeschlossen) 88 dB
Eigenrauschen (IHF-A Netzwerk)
CD/DVD DIRECT AMP: ON 35 V
Steuerung
Eingangsempfindlichkeit/Impedanz
CD/DVD, etc. 150 mV/47 kΩ
PHONO 2.5 mV/47 kΩ
Ausgangspiegel
REC OUT 150 mV/1,6 kΩ
Kopfhorerbuchsenausgang 0,25V/680Ω
Kanalabstand (1 kHz/10 kHz)
CD/DVD (Eingang 5,1 kΩ abgeschlossen) 65 dB/50 dB
Klangreglereigenschaften
BaB (BASS) ±10 dB (20 Hz)
[Europa- und Großbritannien-Modell] ....... Netz 230V, 50 Hz
[Australien-Modell] .Netz 240V,50 Hz
[China-Modell] .Netz 220V,50 Hz
[Allgemeines Modell] .... Netz 110/120/220/240V, 60/50 Hz
Leistungsaufnahme
Netzstecker
3 beschaltete Netzsteckdosen
[Europa-, China- und allgemeines Modell] insgesamt max. 100W
1 beschalte Netzsteckdose
[Großbritannien- und Australien-Modell] insgesamt max. 100W
Abmessungen (B x H x T) 435 x 151 x 391 mm
Gewich
Zubehor. .Fernbedienung
Batterien
Änderungen der technischen Daten sind vorbehalten.
EGENSKAPER
AX-496
85W + 85W (8Ω) RMS uteffekt, 0,019 % THD, 20-20.000 Hz
AX-396
60W + 60W (8Ω) RMS uteffekt, 0,019 % THD, 20-20.000 Hz
REC OUT 150 mV/1,6 kΩ
Hortelefonutgang 0,25 V/680 Ω
Tillbehör Fjarrkontroll
Batterier
Rätten till andringar forbeháles.
CARATTERISTICHE
AX-496
REC OUT 150 mV/1,6 kΩ
REC OUT 150 mV/1,6 kΩ
Dynamische Vermogen (IHF)
8/6/4/2Ω
REC OUT 150 mV/1,6 kΩ
CD/DVD (Ingangsvermögen 5,1 kΩ Begrensd)
65 dB/50 dB
EinfachAnleitung