IKE84471XB - Furre AEG - Manual falas për përdoruesin
Gjeni manualet e pajisjes falas IKE84471XB AEG në format PDF.
Pyetjet më të shpeshta - IKE84471XB AEG
Questions des utilisateurs sur IKE84471XB AEG
0 question sur cet appareil. Repondez a celles que vous connaissez ou posez la votre.
Poser une nouvelle question sur cet appareil
Shkarko udhëzimet për tuajin Furre në format PDF falas! Gjeni manualin tuaj IKE84471XB - AEG dhe merrni pajisjen tuaj elektronike sërish në duar. Në këtë faqe janë publikuar të gjitha dokumentet e nevojshme për përdorimin e pajisjes suaj. IKE84471XB e markës AEG.
MANUAL I PËRDORUESIT IKE84471XB AEG
Faleminderit që keni zgjedhur këtë produit AEG. Ne e kemi krijuar atë per t'ju ofruar performance të përsosur per shumë vite, me teklogji novatore që ndihmojne në thjeshtimin e jetës - veçori që mund të mos i gjeni ne pajisjet e zakonshme. Kushtojini pak minuta leximit per ta shfrytëzuar sa më mire.
Vizitoni faqen tonë të internetit për:

Të marre këshilla mbi përdorimin, broshura, informacion rreth zgjidhjes SSE problemeve, sherbimit dhe riparimit
www.aeg.com/support
Regjastrojen produktin per sherbim me tê mire:
www.registeraeg.com


Blini aksesore, pjese konsumi dhe pjese originale kembimi per pajisjen:
www.aeg.com/shop
KUJDESI DHE SHERBIMINDAJ KCLIENTIT
Perdorni githmoné pjesekmbimi origjinae.
Kur kontaktoni Qendren tonë te Autorizuar te Sherbimit, sigurohuni që te keni ned disposizione të dhënat e mëposhtme: Modeli, PNC, numri serial.
Ky Informacioni mund te gjendet ne PLLaken e klasifikimit.
Paralajmerim / Tcdhena rrethsigurise dhe kujdesit
i Tcdhena tepergjithshme dhe keshilla
Të dhëna rreth ambientit
Rezervohet mundesia e ndryshimeve.
PERMBAJTJA
- INFORMACIONI I SIGURISE 2
2.UDHEZIMETPERSIGURINE 5 - INSTALIMI 7
4.PERSHKRIMIPRODUKTIT 8
5.PERDORIMIPERDITSHEM. 10 - SIPERFAQE GATIMI FLEKSIBEL ME INDUKSION 14
7.UDHEZIME DHE KESHILLA 17 - KUJDESI DHE PASTRIMI 20
9.ZGJIDHJA E PROBLEMEVE 20
10.TEDHENATTEKNIKE 22 - EFIKASITETI ENERGJETIK 23
- CESHTJE QE LIDHEN ME AMBIENTIN 24
1. INFORMACIONI SIGURISE
Pörpara instalimit dhe pērdorimit tè pajisjes, lexoni me kujdes udhézimet e ofruara. Prodhesi nuk ᵓshte pērgjegjës per
lendimet apo demet si rezultat i instalimit apo perdorimit te papershtatshem. Gjithmonë mbajini udhezimet ne një vend te sigurt dhe ku mund të arrihen lehte per t'u referuar të ardhmen.
1.1 Siguria e fëmijëve dhe personave vulnerability
Kjo pajisje mund te perdoret nga fëmijë te moshës 8 vjc e sipér dhe persona me aftësi te kufizuara fizike, ndijimesh ose mendore ose që nuk kanë ekspereciencë dhe njohuri, nëse këta mbahren nen mbikëqyrjce ose udhëzohen per perdorimin e sigurt te pajisjes dhe i kuptojne rreziqet e perdorimit. Fëmijët nga nen 8 vjc dhe personat me aftësi te kufizuara shume të theksuara dhe komplekse duhet te mbahren larg nga pajisja, përveçse kur mbahren nen monitorim të vazhdueshem.
- Fëmijët duhet të monitorohen per t'u siguruar se nuk luajnë me pajisjen.
- Mbajeni tee gjithë paketimin larg nga fëmjët dhe hidheni atë siç kerkohet.
PARALAJMERIM: Mbajini femijet dhe kafshet shtepiake larg pajisjes gjaté kohes qe ajo eshte ne pune ose qeftohet. Pjeset e arritshme nxehen gjaté perdorimit.
- Nese pajisja ka një mekanizëm per sigurine e femijëve, ai duhet aktivizuar.
Femijet nuk duhet te kryejne pastrimin dhe mirembajtjen e pajisjes pa mbikiqyrje.
1.2 Siguria e pergjithshme
PARALAJMERIM: Pajisja dhe pjeset e saj te arritshmenxehen gjateperdorimit. Duhet te keni kujdes q te shmangni prekjen e elementeve ngrohese.
PARALAJMERIM: Gatimi i pamonitoruar me yndyrre ose vaj mbi pianure mund te yete i rrezikshem dhe mund te shkaktoje zjarr.
- Mos provoni ASNJEHERE ta fikni zjarrin me uje, por fikni pajisjen dhe pastaj mbuloni flakén, p.sh. me një kapak ose me batanije kunder zjarrit.
PARALAJMÖRIM: Pajisja nuk duhet te furnizohet pörmes një pajisjeje te jashtme ndeşese, si p.sh. kohemates, apo të lidhet me një qark që ndizet dhe fiket rregullisht nga një mjet.
- KUJDES: Procesi i gatimit duhet të mbikeqyret. Proceset e shkurtra të gatimit duhet të mbikeqyren vazhdimisht.
- PARALAJMERIM: Rrezik zjarri: Mos ruani artikuj mbi siperfaqet e gatimit.
- Objektet metalike si thikat, pirunët, lugët dhe kapakët nuk duhet të vendosen mbi sipërfaqen e pianurës, sepse mund të nxehen.
- Mos e perdorni pajisjen perpara se ta instaloni ne strukturen inkaso.
- Mos perdorni pastrues me avull per te pastruar pajisjen.
- Pas perversit, fikni elementin e pianurës me Çelesin e kontrollit dhe mos u mbështetni te funkSIONimi i detektorit të tiganit.
- Nëse sipërfaqja prej qeramike/xhami kiset, fikeni pajisjen per dhe shkëputeni nga rryma elektrike. Në rast se pajisjaështe e lidhur me rrymën elektrike direkt duke përdoru kuti lidhëse, hiqeni siguresen per të shkëputur pajisjen nga furnizimi me rrymë. Nëçdo rast, kontaktoni me Qendrën e Autorizuar të Shërbimit.
- Per te shmangur rreziqet, nese kabilloja e furnizimit eshte e demtuar, ajo duhet zëvendësuar nga prodhuesi, sherbimi i autorizuar ose persona me kualifikim të ngjashëm.
- PARALAJMÈRIM: Pērdorni vetēm mbrojtëset e pianurës tē pērcaktuara nga prodhuesi i pajisjes sè gatimit ose tè cileśuara si tè pērshtatshme nga ky i fundit né udhézimet e pērdorimit, ose mbrojtëset e pianurës tè integruara né pajisje. Pērdorimi i mbrojtëseve tè papērshtatshme mund tè shkaktojë akside.
2.UDHEZIMETPERSIGURINE
2.1 Instalimi

PARALAJMÈRIM!
Vetem një person i kualifikuar duhet ta instalojë këtë pajisje.

PARALAJMÈRIM!
Rrezik plagosjeje osedemtimipajisjes.
- Hiqni tē gijthē paketimin.
- Mos instaloni ose mos pērdorni një pajisje tè demtuar.
- Ndiqni udhezimet e instalimit te dhena me pajisjen.
- Ruani largësitë minimale nga pajisjet dhe njësitë e tjera.
Gjithmone beni kujdes kur e levizni pajisjen sepse eshte e rende. Perdorni gjithnjedoreza sigurie dhe képucë të mbyllura. - Mbyllini siperfaqet e prera me një izolues per të mos lejuan që lagështira të shkaktojë fryrje.
- Mbroni pjesen e poshtme tepajisjes nga avulli dhe lageshtira.
- Mos e instaloni pajisjen pranë dyerve ose nén dritare. Duke veprüar kështu do te parandaloni renien e enëve të nxhepta të gatimit nga pajisja kur hapetdera ose dritarja.
Cdo pajisje ka poshte ventilatore ftohjeje. -
Nëse pajisja ßeshtë e instaluar mbi një sirtar:
-
Mos vendosni copa te vogla ose flete letre qe mund te terhifen brenda, sepse ato mund te demtojne ventilatoret e fthjes ose mund te demtojne sistemin e fthjes.
-Mbani njedistanceprej minimumi 2 cm mes fundit te pajisjes dhe pjeseve te ruajtura ne sirtar.
- Hiqni cdo panel ndarës te instaluar ne kabinet nen pajisje.
2.2 Ladhja elektrike

PARALAJMÈRIM!
Rrezik zjarri dhe goditjee elektrike.
- Të gjitha lidhjet elektrike duhen kryer nga nje elektricist i kualifikuar.
Pajisja duhet tokëzuar. - Perpara se tě kryeni ndonji veprim, sigurohuni qě pajisja tě jotě shképutur nga rryma.
- Sigurohuni që parametrat në PLLaken e specifikimeve të perkojne me vlerat elektrike të rrjetit elektrik.
- Sigurohuni që pajisja të instalohet në rregull. Kablloja ose spina elektrike e lire ose e papërshtatshme (nëse ka) mund ta nxehë shumë terminalin.
- Pördorni kabllon e duhur elektrike.
- Mos lejoni tengatterrohet kabilloja elektrike.
- Sigurohuni qè tè jetsé instaluar tokëzimi.
Vendoseni kabllon nmberthyesen e lilimit te tensionit. - Sigurohuni që kabloja ose spina elektrike (nëse ka) të mos prekë pajisjen e nxehtë ose enët e nxehta të gatimit, kur e lidhni pajisjen ne przyë.
- Mos perdorni pershtates me shume spina dhe kablo zgjatuese.
- Sigurohuni që të mos demtoni spinen ose kabllon elektrike (nëse vlen për rastin) ose në kabllon elektrike. Kontaktoni me qendren e autorizuar të sherbimit ose me një elektricist për nderrimin e kabllos elektrike të demtuar.
- Mbrojtja nga goditja e pjesëve me korrent dhe te izoluara duhet te shtrëngohet ne menyre te tillë që te mos hiqet pa vegla.
Pajisjen futeni ne przye vetem ne fund te instalimit. Sigurohuni qe spina te yete e arritshme pas montimit te pajisjes. - Nëse priza ùshte ë lire, mos e futni spinen.
-
Mos e shkëputni pajisjen nga rrjeti duke e tãrhequr nga kabilloja elektrike. Gjithmonë tãrhiqeni kabllon elektrike duke e kapur nga spina.
-
Pērdorni mjetet e duhura izoluese: Çelesat mbrojtës, siguresat (siguresat që vidhosen duhet të hiqen nga foleja), salvavitat dhe kontaktorët.
- Instalimi elektrik duhet te kete një pajisje instaluese e cila ju lejon te shkëpusni pajisjen nga rryma elektrike ne te gjitha polet. Pajisja instaluese duhet te kete një hapje kontakti me gjerësi minimale 3 mm.
2.3 Pördorimi

PARALAJMÈRIM!
Rrezik plagosjeje, djegiesh dhe goditjeje elektrike.
Higni te gjithe paketimin, etiketimin dhe filmin mbrojttes (nese ka) para perdorimit per here te pare.
Kjo pajisje ehte vetem per perdorim shtepiak (t brendshem).
- Mos i ndryshoni specifikimet e pajisjes.
- Sigurohuni qè vendet e ventilimit tē mos jène bllokuar.
- Mos harroni ta kontrolloni pajisjen gjatë punës.
- Fikni zonën e gatimit pas cdo perdorimi.
- Mos vendosni takëme ose kapakë tenxheresh ne zonat e gatimit. Ato mund të nxehen.
- Mos e vendosni ne punë pajisjen me duartë lagura ose kur keni pasur kontakt me ujin.
- Mos e perdorni pajisjen si siperfaqe pune ose si siperfaqe mbeshtetese.
- Nese siperfaqja e pajisjes eshte e plasaritur, shkeputeni menjehere pajisjen nga przya. Beni kete per te parandaluar ndonje tronditje elektrike.
- Pördoruesit me stimulues kardiak duhet těmbajné një distance minimale prej 30 cm nga zonat e gatimit me induksion kur pajisja éshte né punë.
Kur futi nishqim ne uj e t nxhe, mund te krijohen sperkatje.

PARALAJMÈRIM!
Rrezik zjarri dhe shperthimi
-
Yndyrat dhe vajrat kur nxehen mund te leshojne avuj te ndezhem. Mbajini flaket ose objektet e nxehura larg yndyrave dhe vajrave kur gatuani me ato.
-
Avujte cîlruar nga vajrat e nxehtë mund tê shkaktojne djegie spontane.
Vajrat e perdorur qe permbajne mbetje ushqimesh mund te shkaktojne zjarr neta temperature me te ulet sesa vajrat e perdorur per here te pare. - Mos vendosni produkte që marrin fläke osende të lagura me produktë të ndezhme brenda, pranë pajisjes ose mbi të.

PARALAJMÈRIM!
Rrezik děmtimi i pajisjes.
- Mos i mbani enèt e nxehta tè gatimit né panelin e kontrollit.
- Mos vendosni kapak tē nxehté tigani né një sipérfagen e xhamit tē pianurës.
- Mos i lini enèt e gatimit tê thahren duke zier.
- Běni kujdes tě mos lini sende apo ené gatimi tě bien mbi pajisje. Siperfaqja mund tě demtohet.
- Mos i aktivizoni zonat e gatimit me ene bosh apo pa ene fare.
- Mos vendosni fletë alumni në pajisje.
- Enét e gatimit prej gize, alumni apo me fund te démtuar mund te shaktojnè gervishtje ne xham/ qeramiken e xhamit. Ngrijini githnjë lart keto sende kur t'ju duhet t'i levizni ne siperefagen e gatimit.
Kjo pajisje perdoret vetem per gatim. Nuk duhet te perdoret per qellime te tjera, per shembull ngrohja e dhomes.
2.4 Kujdesi dhe pastrimi
- Pastrojeni pajisjen rregullisht per te parandaluar demtimin e materialit tse siperfaces.
- Fikeni pajisjen dhe lereni teftohet para seta pastroni.
- Mos perdorni uje me spörkatje dhe avull per te pastruar pajisjen.
- Pastrojeni pajisjen me një leckë të butë të lagësht. Përdorni vetëm detergjente neutrale. Mos përdorni produkte gërryese, materiale pastruese të ashpra, tretës ose objekte metalike.
2.5 Sherbimi
-
Per tê riparuar pajisjenkontaktoni me gendren tê autorizaru tê sherbimit. Perdorni vetem pjeserezervé originale.
-
Né lidhje me llambat brenda produktit dhe llambat e pjesëve te këmbimit te shitura vecmas: Këto llamba janë prodhuar perkushte ekstreme fizike ne pajisjet elektroshtëpiake, si p.sh. temperature, dridhje, lageshtire, ose janë prodhuar per të sinjalizuar informacion reth statusit të perdorimit të pajisjes. Ato nuk janë prodhuar per t'u perdorur ne aplikacione të tjera dhe nuk janë të pershtatshme per ndriçim ne ambiente shtëpiake.
3. INSTALIMI

PARALAJMÈRIM!
Referojuni kapitujve per sigurine.
3.1 Perpara instalimit
Perpara se te instaloni pianuren, shkruani informacionin e meposhtem nga PLLaka e specifikimeve. Pllaka e specifikimeve gjendet ne pjesen e poshtme te pianures.
Numri i serise
3.2 Planurat inkaso
Pianurat inkaso perdorini vetem pasi ta keni montuar pianuren si duhet ne njesite inkaso dhe ne planin e punes, sipas standardeve ne fuqi.
3.3 Kablloja e linjës
- Pianura vjen me një kabllo elektrike.
- Per te zëvendësuar kabllon e demtuar elektrike, perdorni llojin e kabllos: H05V2V2-F e cila duron temperaturen 90 °C ose më të larte. Kontaktoni një Qender te Autorizuar te Sherbimit. Kabloja elektrike duhet zëvendësuar vetem nga një elektricist i kualifikuar.
3.4 Montimi
Nese e instaloni pianuren nen një aspirator, shikoni udhezimet e instalimit te aspiratorit per distancen minimale mes pajisjeve.
2.6 Hedhja

PARALAJMÈRIM!
Rrezik plagosjeje osembytjeje.
- Kontaktoni me autoritetin tuaj komunal per informacion se si ta hidhni pajisjen.
- Shkëputeni pajisjen nga rrjeti i furnizimit me energia.
- Priteni kabllon e rrjetit elektrik pranë pajisjes dhe hidheni atë.

Nese pajisja instalohet mbi një sirtar, ventilimi i pianurës mund te ngrohë artikujt që ruhen brenda ne sirtar gjatë procesit të gatimit.

Gjeni videon udhezuese "Si te montoni pianuren me induksion AEG - Montimi i banakut" duke shkruar emrin e plote te treguar ne grafiken me poshte.

YouTube
www.youtube.com/electrolux www.youtube.com/aeg
| Fusha e sensori t | Funkzioni Komenti | |
| 1 | ① | NDEZUR / FIKUR Për të aktivizuar dhe çaktivizuar pianurën. |
| 2 | ® | Kççje / Pajisja për Sigurinë e fëmijës Për të bllokuar/zhblokuar panelin e kontrollit. |
| 3 | ® | PowerSlide Për të aktivizuar dhe çaktivizuar funksionin. |
| Fusha Funksioni Komenti e sensori t | ||
| 4 | 890 | FlexiBridge Pör tí kaluar ndörmt jet tre modaliteteve tí funksionit. |
| 5 | - Ekrani i cilésimit tí nxhehtësisë Pör tí treguar cilésimin e nxhehtësisë. | |
| 6 | - Treguesit e kohëmatësit nézonat e gatimit | Pör tí treguar se pörcilën zone po vendosni kohën. |
| 7 | - Ekrani i kohëmatësit Pör tí treguar kohën né minuta. | |
| 8 | - Hob²Hood Pör tí aktivizuar dhe çaktivizuar modalitetin manual tí funksionit. | |
| 9 | P | PowerBoost Pör tí aktivizuar dhe çaktivizuar funksionin. |
| 10 | - Shirti i komandimit Pör tí vendosur cilésimin e nxhehtësisë. | |
| 11 | - Pör tí zgjedhur zonee gatimit. | |
| 12 | +/- | - Pör tí shtuar ose pakësuar kohën. |
| 13 | - Shirti i komandimit Pör tí caktuarg cilësimin e nxhehtësisë pör sipëfquin e gatimit me induksion fleksibël. | |
4.3 Ekranet e cillesimit tnxhehtesise
| Ekrani Përeshkrimi | |
| Ø | Zona e gatimit öshti e çaktivizuar. |
| I-IV | Zona e gatimit öshti né punë. |
| R | Nxehja automatike öshti aktive. |
| P | PowerBoost öshti aktive. |
| E+ numri | Ka një keqfunksionim. |
| E/Ø | OptiHeat Control (treguesi 3-hapësh i nxhehtësisë sö mbetur): vazhdoni gatimin/mbani ngrohtë/nxehtësia e mbetur. |
| L | Kççje / Pajisja për Sigurinë e fëmijës vihet né punë. |
| F | Enë gatimi jo e duhur ose shumë e vogël ose mbi zonën e gatimit nuk ka enë. |
| - | Fikja automatike öshti aktive. |
| I,-/I- | PowerSlide öshti aktive. |
4.4 OptiHeat Control (treguesi 3-hapësh i nxehtësisë së mbetur)

PARALAJMÈRIM!
3/7 Per sa kohé që treguesi eshté i ndezur, ka rrezik djegiesh nga nxhehtësia e mbetur.
Zonat e gatimit me induksion prodhojne nxehtesine e nevojshme per procesin e gatimit drejtperdrejt ne bazamentin e enes. Vitrozeramika ngrohet nga nxhetesia e eneve te gatimit.
Treguesit 3 /7 shfaqen kur një zone gatimi eshte enxehte. Ata tregojne nivelin e
nxhehtesise se mbetur per zonat e gatimit qe po perdorniactualisht.
Treguesi mund te shfaqet edhe:
- per zonat e gatimit ne krah, edhe nese nuk jeni duke i perdorur,
- kur enèt e nxehta tè gatimit vendosen mbi njie zone tè ftohté gatimi,
- kur pianura Çaktivizohet, por zona e gatimit éshteende nхhet.
Treguesi shuhet kur zona e gatimit aeshteftohur.
5. PÉRDORIMI PÉRDITSHÉM

PARALAJMÈRIM!
Referojuni kapitujve pér sigurinè.
- të gjitha zonat e gatimit janë të caktivizuara,
- nuk cilesoni nxhehtesine pasi aktivizoni pianuren,
- derdhni osfutni dka nene panelin e kontrollit per me shumse 10 sekonda, (tavé, lecké, etj.). Bie një sinjal akustik dhe pianura caktivizohet. Hiqni objektin ospeastroni panelin e kontrollit.
- pianura nxehet shume (p.sh. kur njeteenxhere zien pa uje brenda). Lereni zonen e gatimit te ftohet perpara se ta perdorni pianuren serish.
- po pērdorni njè enè tè pasaktè. Ndizet simboli F dhe pas 2 minutash zona e gatimit caktivizohet automatikisht.
- nuk e çaktivizoni një zone gatimi ose ndryshoni cilesimin e nxhehtësisë. Pas pak kohe shfaqet the pianura çaktivizohet.
Lidhja ndermjet cilesimit te nxehtesise dhe kohes pas se ciles caktivizohet pianura:
Cilesimi i nxhehtesise Pianura caktivizohet pas

6 oresh
4-75oresh
8-94oreesh
10-14 1,5 ore
5.3 Cilesimi i nxehtesise
Pér técaktuar ose pér tédryshuar cilesimin e nxehtésise:
Prekni shiritin e kontrollit ne cilesimin e duhur te nxehtesisse ose levizni gishtin pergjatshiritit te kontrollit derisa te arrini cilesimin eduhur te nxehtesisse.

5.4 Pördorimi i zonave tē gatimit
Vendosini enet ne gendert te zones se zgjedhur. Zonat e gatimit me induksion u pershtaten permasave te bazamentit te eneve.
5.5 Nxehja automatike
Aktivizoni kete fungson per te arritur njc cilésim te déshiruar nxehtésie brenda njekohe me te shkurtér. Kur te aktivizohet, zona fungsinin ne cilesimin me te larté ne fillim dhe me pas vazhdon te gatuaje ne cilesimine déshiruar te nxehtésise.

Pér ta aktivizuar funkzionin, zona e gatimit duhet tè juste e ftohté.
Pertaktivizuar funksionin per nje zone gatimi: prekni Pndizet).Brekni menjehere cilesimin e deshiruar tnxhehtesise. Pas 3 sekondash ndizet
Pertcaktivizuar funksionin: ndryshoni cilesimin enxhehtesise.
5.6 PowerBoost
Ky funkions vë më shumë fuqi në disposicion tëzonave të gatimit me induksson. Funksioni mund të aktivizohet per zonen e gatimit me induksson vetem per një periudhë të kufizuar kohe. Pas kësaj kohe, zona e gatimit me induksson kthehet automatikisht ne cilesimine nxhetesise më të lartë.

Referojuni kapitullit "Tedhena teknike".
Per te aktivizar funksionin per një zone gatimi: prekni P. ndizet.
Pertcaktivizuar funksionin: ndryshoni cilesimin enxhehtesise.
5.7 Kohematesti
Kohematemesi me numerim mbrapsht
Mund ta perdorni kete funksion per te caktuar
kohezgatjen e një sessioni te vetem gatimi.
Në fillim vendosni cilesimin enxehtësisë per
zonen e gatimit, me pas vendosni fungsionin.
Pertevendosur zonenegatimit: prekni vazhdimisht derisa tendizet treguesi i zones se gatimit.
Pertaktivizuar funksionin: prekni te kohematemiset per tecaktuar kohen (00 - 99 minuta).Kur treguesi i zones se gatimit fillonte pulsoje, koha fillon te zbrese.
Pertparekohene mbetur: prekni pertcaktuar zonenegatimit.Treguesi zonesse gatimit fillon tepulsoje.Ne ekran shfaqet koha embetur.
Pertendryshuaroren: preknpertecaktuar zonen e gatimit.Preknpse
Pertcaktivizuar funksionin: prekni pertcaktuar zonen e gatimit dhe me pas prekni Koha embetur shkon mbrapsht deri ne 00. Treguesi i zones se gatimit zhduket.

Kur perfundon numerimi mbrapsht, bie një sinhjal akustik dhe pulson 00. Zona e gatimit caktivizohet.
Pertendaluar tingullin: prekni
- CountUp Timer
Mund ta perdorni kete funksion per te monitoruar kohezgatjen e punes se zones sgetatimit.
Perté vendosur zone n e gatimit: prekni ① vazhdimisht derisa t ndizet treguesi i zones se gatimit.
Per te aktivizuar funksionin: prekni te kohematesit. Ushfaqet. Kur treguesi i zones se gatimit fillon te pulsojë, koha fillon te rritet. Ekrani kalon mes UP dhe kohës se numeruar (ne minuta).
Pertparekohenepunessezonessegatimit: prekniper tecaktuar zonenegatimit.Treguesiizonesse gatimitfillon tepulsoje.Ekrani tregon kohenefunksionimitte zones.
Pertéçaktivizuar funksionin: prekni dhe me pas prekni lose . Treguesi i zones se gatimit zhduket.
Kujtuesi i minutave
Mund ta perdorni kete funksion kur pianura aktivizohet dhe zonat e gatimit nuk funksionojne. Ekrani i cilesimit te nxhehtesite shfaq
Pertaktivizuar funksionin: prekni dhe me pas prekni +ose te kohematesit pert caktuar kohen. Kur koha perfunden, bie nje sinjal akustik dhe pulson 00.
Pertendaluar tingullin: prekni

Ky fungskion nuk ndikon ne
funkssonimin e zonave tē gatimit.
5.8 Kycje
Mund ta bllokoni panelin e kontrollit gjatefunksionimit tezonave te gatimit. Kjo parandalon ndryshimin aksidential te cilesimit te nxehtesise.
Vendosni ne fillim cilesimin en xhehtesise.
Pertaktivizuar funksionin: prekni ndizet per 4 sekonda. Kohematesi mbetet i ndezur.
Pertcaktivizuar funksionin: prekni Aktivizohet cilesimi i meparshem i nxehtesise.

Kur caktivizoni pianuren, caktivizoni edhe kete funksion.
5.9 Pajisja per sigurine e fëmijës
Ky fungsion parandalon perdorimin aksidental t' pianures.
Pertaktivizuar funksionin:aktivizoni pianuren me Mos caktoni asnjcilesim nxhehtesie.Prekni per 4 sekonda. ndizet.Caktivizoni pianuren me
Per te caktivizuar funksionin: aktivizoni pianuren me Mos caktoni asnjc cilésim nxhethesie. Prekni per 4 sekonda. ndizet. Caktivizoni pianuren me
Pér t'é anuluar funksionin vetém per njè sesion gatimi: aktivizoni pianurren me ① L
ndizet. Prekni 4 sekonda. Caktoni cilesimin enxhehtesise ne 10 sekonda. Ju mund ta perdorni pianuren. Kur caktivzoni pianuren me funksioni vazhdon te funksionoje.
5.10 OffSound Control (Aktivizim dhe caktivizimi i tingujve)
Çaktivizoni pianuren. Prekni per 3 sekonda. Ekrani ndizet dhe fiket. Prekni per 3 sekonda. Bese neizet. Prekni te kohematesit per te zgjedhur njenga me poshte:
- -tingujt jané tê caktivizuar
- -tigujt jané te aktivizuar
Pér te konfirmuar zgjedhjen, prisni derisa pianura teçaktivizohet automatikisht.
Kur funksioni tè caktohet né [b], ju mund t'i degjoni tingujt vetem kur:
-prekni ①
Kujtuesi i minutave ulet
Kohematësi me numërim mbrapsht ulet
- vendosni dika ne panelin e kontrollit.
5.11 Menaxhimi i energjise
Nese jané aktive disa zona dhe energia e konsumuar tejkalon kuoten e linjés, ky funkcion e ndan energiae e marre mes te gjithazonave tggatimit.Pianura kontrollon cillesimet enxhehtesise per te mbrojtur siguresat instalimit n shtepi.
- Zonat e gatimit grupohen sipas vendndodhjes dhe numrit te fazave ne pianurë. Secila fazë ka ngarkesë maksimale elektrike prej (3700 W). Nëse pianura arrin kufirin e energjisë maksimale te disponueshme brenda një faze, energia e zonave te gatimit reduktohet automatiskisht.
Cilesimi i ngrohjes i zones s e gatimit te zgjedhur te fundit merr gjithnjpeperaresi. Energja e mbetur do te ndahet mes zonave te aktivizuara me pare me radhen e kundert te zgjedhjes. -
Afishimi i cilesimit te nxehtesise sezonave te reduktuara alternohet mes cilesimit te zgjedhur te nxehtesise dhe cilesimit te nxehtesise se reduktuar.
-
Prisni derisa ekrani te ndalojë se pulsuari ose reduktoni cilësimin e ngrohjes se zones sê gatimit te zgjedhur se fundmi. Zonat e gatimit do te viojne ne punojne me cilësimin e ngrohjes se reduktuar. Ndryshojini manualisht cilësimet e ngrohjes se zonave te gatimit, nese eshte nevoja.
Shihni ilustrimin per kombinime te mundshme ne tê cilat mund tê shperndahet energia meszonave tê gatimit.

5.12 Hob²Hood
Esfte njf funksion i perparuar automatik i cili lidh pianuren me nje aspirator te veçante. Si pianura ashtu edhe aspiratori kanë njekomunikues me rreze infra te kuqe. Shpejtësia e ventilatorit percaktohet automatikisht ne bazë te cilesimit te modalitetit dhe temperatures se enës me tnxhe tne pianure. Mund ta perdornigjithashtu manualisht ventilatorin nga pianura.

Pér shumicén e aspiratoreve, systemi né distance éshte i caktivizuar. Aktivizojeni até perpara se tê perdorni funkzionin. Per me shume information referojuni manua! tê perdorimit tê aspiratorit.
Pörderimi automatik i funkSIONIT
Pér ta pédorur funksionin automatikisht, caktoni regjimin automatik né H1-H6. Pianura fillimisht éshte e vendosur né H5.Aspiratori vepron saHERE qé vini nè pédorim pianuren. Pianura e njeh automatikisht temperaturén e enève tē gatimit dhe rregullon shpejtésiné e ventilatorit.
Regjimet automatike
| Drita | Zierja1) | Skuqja2) |
| automati ke | ||
| Regjimi H0 Fikur Fikur Fikur | ||
| Regjimi H1 Aktiv Fikur Fikur | ||
| Modaliteti H2 3) | Aktiv Shpejtësia | Shpejtësia |
| eventilatorit | eventilatorit | |
| 1 | 1 | |
| Regjimi H3 Aktiv Fikur Shpejtësia | ||
| eventilatorit | ||
| 1 | ||
| Regjimi H4 Aktiv Shpejtësia | Shpejtësia | |
| eventilatorit | eventilatorit | |
| 1 | 1 | |
| Regjimi H5 Aktiv Shpejtësia | Shpejtësia | |
| eventilatorit | eventilatorit | |
| 1 | 2 | |
| Regjimi H6 Aktiv Shpejtësia | Shpejtësia | |
| eventilatorit | eventilatorit | |
| 2 | 3 | |
1) Pianura e dikton procesin e zierjes dhe e aktivizon shpejtësinë e ventilatorit ne perputhjem modalitetin automatik.
2) Pianura e dikton procesin e skuqjes dhe e aktivizon shpejtesine ventilatorit ne perputhje me modalitetin automatik.
3) Ky modalitet aktivizon ventilatorin dhe dritanuk mbeshtetet tek temperatura.
Ndryshimi i regjimit automatik
- Çaktivizoni pajisjen.
- Prekni per 3 sekonda. Ekrani ndizet dhe fiket.
- Prekni 3 sekonda.
- Prekni ① vazhdimisht derisa tendizet H.
- Prekni te kohematesi per te zgjedhur njregjim automatik.
i Per ta perdorur aspiratorin direkt mbi panelin e aspiratorit, caktivizoni regjimin automatik te funksionit.
i Pas te keni perfunduar gatimin dhe fikur pianuren, ventilatori i aspiratorit mund te vazhdoje te funksionoje per njeperiudhkohe te caktuar. Pas kesaj kohe, sistemi e caktivizon ventilatorin automatiskisht dhe ndalon aktivizimin aksidental te ventilatorit per 30 sekondat e pasuese.
Caktimi manual i shpejtësisë se ventilatorit
Funkzion mund ta perdorni edhe
manualisht. Per ta berë kete prekni kur
pianura ehte e ndzur. Ky veprim caktivizon
funkzionimin automatik tefunkionit dhe ju
mundeson ndryshimin e shpejtësisë se
ventilimit ne menyre manuale. Kur shtypni vlera e shpejtësisë se ventilatorit rritet me një. Nëse, pasi te keni arritur një nivel te lartë, shtypni särish shpejtësinë e ventilatorit e caktoni ne 0, gjë e cila caktivizon ventilatorin e aspiratorit. Per térinisur ventilatorin me shpejtësi ventilimi 1, prekni
i Per te aktivizuar funksionimin automatik te funksionit, caktivizoni dhe aktivizoni sereish pianuren.
Aktivizimi i dritës
Mund ta caktoni pianuren qe ta aktivizojedriten automatikisht sa here qe ndizni pianuren. Per ta bere kete, caktojeni regimin automatik ne H1-H6.
Drita mbi aspirator caktivizohet 2 minuta pas caktivizimit tepianures.
6. SIPERFAQE GATIMI FLEKSIBEL ME INDUKSION

PARALAJMÈRIM!
Referojuni kapitujve per sigurine.
6.1 Funksioni FlexiBridge
Zona e gatimit fleksibel me induksson perbēhet nga kater pjese. Pjeset mund te kombinohen né dy zona gatimi me permasa te ndryshme, ose né një zone te madhe gatimi. Ju zgjidhni kombimin e pjeseve duke zgjedhur modalitetin e aplikueshem per permasen e enève te gatimit që dešironi te perdorni. Ka tre modalitete: "Standard" (e aktivizuar automatikisht kur aktivizoni pianuren), "Big Bridge" dhe "Max Bridge".

Pér te vendosur cillesimin en xhehtésise perdorni dy shrirat e kontrollit ne te majte.
Kalimi mes modaliteteve
Pér te kaluar mes modaliteteve, perdorni fushén me sensor:


Kur kaloni mes modaliteteve, cilesimi nxehtesise vendoset serish ne 0.
Diametri dhe pzioni i eneve
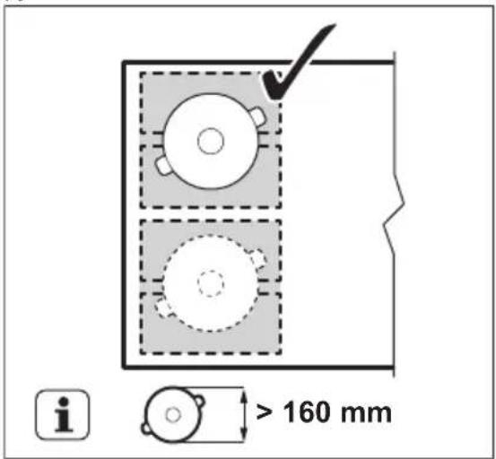
Zgjidhni modalitetin që i aplikohet madhësisëdhe formës se enës. Ena duhet të mbulojëzonën e zgjedhur sa më shumë te të emundur. Vendosni enen ne qender nëzonëne perzgjedhur!
Vendosni enen me diameter t poshtem me te vogel se 160 mm ne qender ne nje pjese njeshe.

Vendosni enen me diameter t poshtem mete madh se 160 mm ne qender mes dy pjeseve.

6.2 FlexiBridge Modaliteti "Standard"
Ky regjim eshte aktiv kur aktivzoni pianuren. Ai lidh pjeset ne dy zona te ndara gatimi. Mund ta vendosni cilesimin e nxehtesise per secilen zone me vete. Perdorni dy shiritat e kontrollit ne te majte.

Pozizioni i duhuri enés:

Pozizioni i gabuar i enés:

6.3 FlexiBridge Regjimi "Big Bridge"
Pér tê aktivizuar kétê regjim, prekni dederisa tê shikoni treguesin e regjimit tê duhur. Ky regjim lidh tre sekzionet e pasme nè një zone tê vetme gatimi. Seksioni i perparmé nuk lidhet dhe funkzionon si një zone gatimi me vete. Mund ta vendosni cilesimin enxhe:tésise pér secilén zone mè vete. Pédorni dy shiritat e kontrollit nè tê majtê.

Pér te aktivizuar kété regjim, prekni derisa te shikoni treguesin e regjimit te duhur. Ky regjim lidh te gjitha sektionet ne njé zone te vetme gatimi. Pér te vendosur cilesimin enxhehtésise perdorni cilindo nga dy shiritat e kontrollit ne tê majte.

Informacione te pergjithshme:
- 160 mmèshte diametri minimal i fundit tê enës per kétë Funktion.
- Afishimi i cilesimit te nxehtesise per shiritin e pasme majtas te kontrollit tregon poziconin e enes per zonen e gatimit me induksion. Perpara I-, ne mes I-prapa I

- Afishimi i cilesisse nxhehtesispe shiritin e kontrollit te perparme majtas tregon cilesimin enxhehtesise. Per te ndryshuar cilesimin enxhehtesiseperdorni shririn e kontrollit perpara majtas.
Kur aktivonzifunksin per here te pare, do temerrnic cilésimin enxhehtésise 14 per poziconin e perparme, per
- Bazamenti i enès se gatimit duhet tè jetë sa me itrashë dhe i sheshtë që mundet.
- Sigurohuni që bazamentet e tiganëve te jene të pastra dhe të thata perpara se t'i vendosni mbi sipëfaqen e pianures.
-
Per te shangur gervishtjet, mos e rreshqisni ose ferkoni tenxheren neper xhamin qeramik. Materiali i enes se gatimit
-
të sakta: giza, Çeliku, Çeliku i emaluar, inoksi, bazamenti me shume shtresa (me shënimin e duhur nga prodhuesi).
- të gabuara: alumni, bakri, tunxhi, qelqi, geramika, porcelani.
Enaèshte e pershtatshme per një pianurë me induksion nëse:
- uji zien shpejt nè njè zone è vendosur nè shkallen mè tè larte tè nxheṭésise.
- magneti tērhiqet drejt fundit te enës sé gatimit.
Dimensionet e enes sègatimit
- Zonat e gatimit me induksion u pershtaten automatikisht permasave te bazamentit te eneve.
- Efikasiteti i zones sè gatimit lidhet mediametrin e enès sè gatimit. Enèt mediameter mè tè vogél se diametri minimal thithin vetem njè pjesë tè energjise sè krijuar nga zona e gatimit.
- Per arsye sigurie dhe rezultate te gatimit, mos perdorni enè gatimi me tè madhe sesa dimensionet e treguara né „Specifikimi i zonave tè gatimit". Shmangni mbajtjen e enève tè gatimit afler panelit tè kontrollit gjatè seancès sé gatimit. Kjo mund tè ndikoje ne funkionsimin e panelit tè kontrollit ose tè aktivizojë aksidentalisht funkionsenet e pianurës.

Referojuni kapitullit "Të dhënat teknike".
7.2 Zhurmat gjatë punës
Nëse arrini të degjoni:
-
zhurme kercitese: enet jané te perbera nga materiale tendryshme (strukture sandvic).
-
tingull fishkellime: perdorni një zone gatimi me nivel te larte fuqie dhe ena ehte e perbere nga materiale tendryshme (një strukturë sandvic).
- gumezhitje: po perdorni nivel te larte fuqie.
- klikime: po ndodh një proces shkëmbimi elektrik.
- fershellima, zukatje: ventilatori ehtene nepune.
Zhurmat janënormale dhe nuk tregojne se ka keqfunksionim.
7.3 Öko Timer (Kohematësi Eco)
Per t kursyer energji, ngrohesi i zones se gatimit caktivizohet perpara se te bjere sinjali i kohematesit me numerim mbrapsht. Ndryshimi ne kohen e punes varet nga niveli i cilesimit te nxhehtesise dhe kohezgjatja e procesit t gatimit.
7.4 Shembuj te aplicacioneve tegatimit
Lidhja midis cilesimit te nxehtesise se njé zone dhe konsumit te energjise se zonesse gatimit nuk eshte lineare. Kur ju rritni cilesimin enxehtesise, rritja nuk eshte ne proporcion me rritjen e konsumit te energjise. Kjo do te thote se njé zone gatimi me cilesim mesatar nxehtesie perdor me pak segjysmene fuqise se saj.

Té dhénat né tabelle jané vetém orientuese.
| Cilësimet e ngrohjes | Përdorni që të: Koha | Ndihmë (minuta) |
| ü-1 | Mbajeni ushqimin e gatuar të ngrohtë. sipas nevojës | Vendosni kapakun mbi enën e gatimit. |
| 1 - 3 Salçë Hollandaise, shkirje: gjalë, çokollatë, xhelatinë. | 5 - 25 Përziejeni herë pas here. | |
| 1 - 3 Mpiksje: omëletä të shkrifëta, vezë të pjekura. | 10 - 40 Gatuani me kapakun të vendosur. | |
| 3 - 5 Zierje orizi dhe gatesa me bazëqumështi; ngrohje ushqimesh têgatshme. | 25 - 50 Shtoni të paktën dy here lëng sa orizi,trazojini gatimet me qumësht ne mesëtë kohës SSEgatimit. | |
| 5 - 7 Ngrohni zaravatet, peshkun, mishin. 20 - 45 Shtoni disa lugë gjelle lëng. | ||
| 7 - 9 Ngrohni patatet. 20 - 60 Përdorni maksimumi ¼ I uëp ër 750 gpatate. | ||
| 7 - 9 Gatuani sasi me të medha ushqimesh,gjellërash dhe supash. | 60 - 150 Deri në 3 litra lëng plus përbëresit. | |
| 9 - 12 Skuqe e lehtë: eskallop, copa mishi me djathë e proshutë, kotëleta, qofte,salsić, mëlçì, brumë salcash, vezë,petulla, petulla të émbla. | sipasnevojës | Kthejeni pasi të ketë kaluar giysma e kohës. |
| 12 - 13 Skuqe e mire, qofte me patate, filetomishi, biftekë. | 5 - 15 Kthejeni pasi të ketë kaluar giysma e kohës. | |
| 14 Zierje e ujit, gatimi i makaronave, përcëllimi i mishit (gulash, rosto e majme, patate të pjakura mire. | ||
| P | Zierje sasish të medha uji. PowerBoost ështe i aktivizuar. | |
7.5 Keshilla dhe sugjerime per Hob²Hood
- Pastrojeni pianuren pas cdo perdorimi.
- Pördorni gjithmoné enée me bazament te pastér.
Gervishtjet ose njollat e erreta mbisiuperfaqeneuk ndikojne ne menyrenefunkzionimit te pianurres. - Pördorni një pastrues të veçante të përshtatshem per sipërfagen e pianures.
- Pördorni njè kruajtëse të veçante per xhamin.

Printimi mbi zonen fleksibel te gatimit me indukson mund te ndotet ose tndryshojngjre nga rreehqitja e eneve te gatimit. Zonen mund ta pastroni me menyren e zakonshme.
8.2 Pastrimi i pianurës
- Hiqni menjehere: plastmasé tē shkrire, celofan, sheqer dhe ushqime me sheqer, ndryshe pianura mund tē demtohet nga papastertia. Kini kujdes tē shmangni djegiet. Perdorni kruajtesen speciale tē pianures mbi siperefaqen e xhamit nè një Kend tē ngushte dhe rreshqiteni tehun mbi siperefage.
Hiqeni kur pianura tejeteftohur mjaftueshem: njollat e cmsersit,rrkete e ujit, njollat eyndyrres, cngjyrosjet e ndritshme metalike. Pastrojeni pianuren me nje lecke tenuomede me detergentjent jo-gerryes.Pas pastrimit, thajeni pianuren me nje lecke tute. - Heqja e cngjyrosjeve t ndritshme metalike: perdorni njéSolution me ujë dhe uthull dhe pastroni siperfaqen e xhamit me një leckë.
9. ZGJIDHJA E PROBLEMEVE

PARALAJMÈRIM!
Referojuni kapitujve per sigurine.
9.1 Çfare duhet berë nëse...
Problem Shkaku i mundshem Ndreqja
| Nuk arrini ta aktivizoni ose ta vini né punë pianurën. | Pianura nuk öshtë e lidhur me rrjetin elektrik ose nuk öshtë lidhur sakte. | Kontrolloni nëse pianura öshtë lidhur siç duhet me rrjetin elektrik. |
| Éshte djegur siguresa. Sigurohuni që siguresa të ketë | shkaktuar keqfunksionimin. Nëse siguresa digjet vazhdimisht, kontaktoni një elektricist të kualifikuar. | |
| Mos e caktoni cilësimin e nxehtësisë për 10 sekonda. | Aktivizoni përsëri pianurën dhe vendosni cilësimin e nxehtësisë në më pak se 10 sekonda. | |
| Ju prekët 2 ose më shumë fusha sensori në të njëjtën kohë. | Prekni vetëm një fushë sensori. | |
| Ka uë ose njolla yndyre në panelin e kontrollit. | Pastroni panelin e kontrollit. | |
Problem Shkaku i mundshem Ndreqja
| Tingëllon një sinjal akustik dheçaktivizohet pianura.Tingëllon një sinjal akustik kurgçaktivizohet pianura. | Vendosët dhe mbi një a të shumë prej fushave me sensor. | Hiqni objektin nga fushat me sensor. |
| Pianuraçaktivizohet.Vendosët dhe mbi fushën mesensor ① | Hiqni objektin nga fusha me sensor. | |
| Treguesi i xnehtësisëssembetur nuk ndizet. | Zona nuk ùshti e xnehtë, sepske punar vetëm për pak kohë ose sensori ùshti i dëmtuar. | Nëse zona ka funkionsuar mjaftueshëm për të genë e xnehtë, flisni me një qendãr të shërbimit të autorizuar. |
| Hob? Hood nuk punon.Ju mbuluat panelin e kontrollit.Hiqni objektin nga paneli i kontrollit. | ||
| Ju përdorni një tenxhere shumë têlartë që bllokon sinjalin. | Përdorni një enë të vogël, ndryshoni zonën e gatimit ose përdoreni aspiratorin manualisht. | |
| Nxehja automatike nuk vihet nèpunë. | Zona ùshti e xnehtë. Lëreni zonën të ftohet mjafteshëm. | |
| Éshti vendosur cilesimi i xnehtësisëme tê lartë. | Cilësimi i xnehtësisë më të lartë ka të njëtin fuqi si funksoni. | |
| Cilësimi i xnehtësisë alternohetmes dy niveleve. | Menaxhimi i energjisë ùshti aktiv. Referojuni kapitullit "Përdorimi i përidtshëm". | |
| Fushat e sensorit nxhen. Ena e gatimit ùshti shumë e madheose ju e keni vendosur shumë afterpanelit të kontrollit. | Nëse ùshti e mundur, vendosini enëte medha nëzonat e pasme të gatimit. | |
| Nuk bie asnjë sinjal kur prekni fushat me sensor të panelit. | Sinjalet janë të caktivizuara. Aktivizoni tingullin. Referojuni kapitullit "Përdorimi i përidtshëm". | |
| Zona fleksibël e gatimit meinduksin nuk e xnh enën. | Ena e gatimit nuk ndodhet nèposcision të duhur mbi sipëfagen fleksibël të gatimit me induktion. | Vendosni enëe gatimit në poziconin e duhur mbi sipëfagen fleksibël të gatimit me induktion. Poziconi i enësëgatimit varet nga funksoni i aktivizar ose regjimi i funksonit.Referojuni kapitullit "Zona e gatimit me induktion fleksibël". |
| Diametri i bazamentit të enës SSEgatimit nuk ùshti i sakte përfunksionin e aktivizar ose regjiminafksionit. | Përdorni enëgatimi me diameterëpërshtatsbëm për regimin e funksonit ose funksonin e aktivizar. Referojuni kapitullit "Zona e gatimit me induktion fleksibël". | |
| Lndizet. | Pajisja për sigurinë e fëmjës oséKycje vihet nè punë. | Referojuni kapitullit "Përdorimi i përidtshëm". |
| Fndizet. | Nuk ka enë mbi zone. Vendosni enë mbi zone. | |
| Ena ßështi e papërshtatshme. Përdorni enë të përshtatshme. | Drejtojuni kapitullit "Udhëzime dhe këshilla". | |
| Diametri i bazamentit të enës ùshti tepër i vogël të zonën. | Përdorni enëme dimensione të sakta.Referojuni kapitullit "Të dhënat teknikë". | |
Problem Shkaku i mundshem Ndreqja
| FlexiBridge (Flexible Bridge) éshte aktiv. Një ose më shumë seksione të regijit të funkionsit në punë nuk éshte mbuluar nga ena e gatimit. | Vendoseni enën e gatimit në numrin e sakktë të sekcioneve të regijit të funkionsit në punë ose ndryshoni regijin e funkionsit. Referojuni kapitullit "Zona e gatimit me induksion fleksibël". | |
| PowerSlide éshte aktiv. Dy tenxhere vendosen në zonën fleksibile të gatimit me induksion. | Përdorni vetëm në tenxhere. Referojuni kapitullit "Zona e gatimit me induksion fleksibël". | |
| dhe një numér afishohet. | Ka një gabim në pianurë. Çaktivizojeni pianurën dhe aktivizojeni sörish pas 30 sekondash. Nëse E ndizet sörish, shkëputeni pianurën nga energia elektrike. Pas 30 sekondave, lidheni sörish pianurën. Nëse problemi vazhdon, flisni me qendrèn e autorizuar të shërbimit. | |
| Dëgohet një sinjal konstant bip. Lidhja elektrike nuk éshte e sakktë. Shkëputeni pianurën nga energia elektrike. Kërkojini një elektriciesti të kualifikuar të kontrollojë instalimin. | ||
9.2 Nese nuk gjeni zgjidhje...
Nese nuk e gjeni dot vete një zgjidhje, kontaktoni me shitësin tuaj ose me një qender sherbimi te autorizuar. Jepni te dhénat nga etiketa e vlerësimeve. Jepni githashtu kodin prej tri shkronjave shifrore per qeramiken e xhamit (gjendet neisoshe te siperefaqes s xhamit) dhe shfaqet një
mesazh gabimi. Sigurohuni qè e keni vendosur pianuren né punë sic duhet. Nese jo, sherbimi nga një teknik ose sipermarrës nuk do të jegë falas, edhe gjate kohës se garancise. Informacioni rreth kohës se garancise dhe qendrave të autorizuara të sherbimit gjenden ne librezen e garancise.
| Zona e gatimit Fuqia nominale (cilësimi maksimal i nxehtësisë) [W] | PowerBoost [W] Kohëzgjatja maksimale PowerBoost [min] | Diametri i enës se gatimit [mm] |
| E pasme e mesme 2300 3200 10 180 - 210 | ||
| Djathtas përpara 1800 2800 10 145 - 180 | ||
| Sipërfaqe gatimi fleksibël me indukSION | 2300 3200 10 minimum 100 | |
| Fuqia e zonave të gatimit mund të jegë pak më e ndryshme nga të dhënat në tabelë. Ajo ndryshon në varësi të materialit dhe të përmasave të enëve të gatimit. | Për rezultate optimale gatimi, përdorni enë gatimi me diametër jo më të madh se ai i dhënë në tabelë. | |
11. EFIKASITETI ENERGJETIK
11.1 Informacioni i produktit*
| Identifikimi i modelit IKE84471XB | ||
| Lloji i pianurës Pianurë inkaso | ||
| Numri i zonave të gatimit 2 | ||
| Numri i sipëfAQve të gatimit 1 | ||
| Teknologji nkrogheje IndukSION | ||
| Diametri i zonave rrethore të gatimit (Ø) E pasme e mesme | Djathtas përpara | 21.0 cm18.0 cm |
| Gjatësia (L) dhe gjerësia (W) e zones së gatimit Majtas L 45,8 cm | W 21,4 cm | |
| Konsumi i energjësseper zone gamiti (EC electric cooking) | E pasme e mesmeDjathtas përpara | 177,0 Wh/kg174,6 Wh/kg |
| Konsumi i energjësseperfaques SSEgatimit (EC electric cooking) | Majtas 182,6 Wh/kg | |
| Konsumi i energjësse pianurës (EC electric hob) 179,9 Wh/kg | ||
- Pör Bashkimin Evropian sipas EU 66/2014. Pör Bjellorusinö sipas STB 2477-2017, shtojca A. Pör Ukrainé sipas 742/2019.
EN 60350-2 - Pajisje shtepiake katimi me energji elektrike - Pjesa 2: Pianura - Menyra per matjen e rendimentit
11.2 Kursimi i energjise
Mund te kurseni energji gjategatimit te perditshem nese ndiqni keshillat ne vijim.
Kur ngrohni uje, perdorni vetem sasinqe ju nevojitet.
- Nëse ùshte e mundur, vendosni gjithmonë kapakët mbi enët e gatimit.
Vendosni ene e gatimit ne zonen e gatimit perpara se ta aktivizoni.
- Enét mè tè vogla vendosini nèzonat mè tè vogla tè gatimit.
Vendosini enét direkt ne qender te zones se gatimit.
- Pērdorni nxehtësinë e mbetur per ta mbajtur ushqimin ngrohtë ose per ta shkrië atë.
12.ÇESHTJE QëLIDHEN ME AMBIENTIN
Ricikloni materialet me simbolin
Vendoseni ambalazhin te kontejneret e riciklimit nese ka. Ndihmoni ne mbrojtjen emjedisit dhe shendetit te njerezve dhe nereciklimin embetjeve te pajisjeve elektrike
dhe elektronike. Mos hidhni pajisjet e shenuara me simbolin mbeturinave shtepiake. Ktheni produktin ne piken lokale t ericiklimit ose kontaktoni me zyren komunale.
3A OTJIuHn PE3yIITATN
Бларпьи Bn, Ye n36paxTe npdyKT ha AEG. Hne ro cb3daoxme, 3a da Bn npocTabm 6e3ynpceHa ekcnloatauB npodbIjxehne Ha MHORO rOHN, c INOBATNBHn TexHOLOrN, KOnTO npabT JINBOTa NO-JIeCEH - cyHKcN, KOINTo He MoXeTe Da OTKPnEte npn obNKHOBeHnTe ypeDn. MoJra, OTdJeTe HRAKOJIko MNHyTu 3a YeTeHe, 3a Da n3BLeYeTe Na-Do6poto.
PoceteTe hauyye6caT 3a:

BuxTe nOle3Hn CbBETn 3a yNoTpe6a, 6poUpyn, OTCpaHraBaHe Ha Hen3npaBHOCTN, HOpMaunr 3a cepBu3 n peMOHT:
www.aeg.com/support
PernctpaIte Baun npOdyKT 3a no-do6po o6cnyXbaHe:
www.registeraeg.com


Kynete akcecoapn, KOncymatnbN i opunHaJIHn pe3epBn qactn 3a Bauny ypei: www.aeg.com/shop
ManualiLehtë