IKE84471XB - štedilnik AEG - Brezplačna navodila za uporabo
Brezplačno poiščite navodila za napravo IKE84471XB AEG v formatu PDF.
Pogosto zastavljena vprašanja - IKE84471XB AEG
Questions des utilisateurs sur IKE84471XB AEG
0 question sur cet appareil. Repondez a celles que vous connaissez ou posez la votre.
Poser une nouvelle question sur cet appareil
Prenesite navodila za vaš štedilnik v formatu PDF brezplačno! Poiščite svoja navodila IKE84471XB - AEG in vzemite svojo elektronsko napravo nazaj v roke. Na tej strani so objavljeni vsi dokumenti, potrebni za uporabo vaše naprave. IKE84471XB znamke AEG.
NAVODILA ZA UPORABO IKE84471XB AEG
Posude je pogodno za indukcijsku plocu ako:
- voda brzo ključa u polju postavljenom na najvisu postavku topline.
- magnet povlači za dno posuža.
Dimenzije posuda
-
Indukcijske polja za kuhanje automatiski se prilagočavaju dimenzijama dna posuda.
-
Učinkovitost polja za kuhanje povezano jest promjerom posuda. Posude s promjerom manjim od minimalnog prima samo dio snage koju stvara polje za kuhanje.
- Iz sigurnosnih razloga i zbog optimalnih rezultata kuhanja, nemojte koristiti posude vece od navenedog u "Specifikacija polja kuhanja". Izbjugavaje držanje posuda u blizini upravljacke ploce tijekom kuhanja. To moze utjecati na rad upravljacke ploce ili slucajno aktivirati funkcije ploce za kuhanje.

Automatischke režimi
Obisčite nase splétrno mesto za

Pridobitev nasvetov glede uporabe, brošure, odpravljanje težav, servisne informacije in informacije glede popravil:

www.aeg.com/support
Registrarajte izdelek za večjo uporabnost:
www.registeraeg.com

Kupite dodatno opremo, potrošno blago in originalne nadomestne dele za vašo napravo:
www.aeg.com/shop
SKRB ZA STRANKE IN SERVIS
Vedno uporabite samo originalne rezervne dele.
Ko klicete servis, imeje pri roki naslednje podatke: Model, stevilka izdelka, serijska stevilka.
Podatke najdete na plošćici za tehnčne navedbe.
Opozorilo / varnostne informacije
① Splošni podatki in nasveti
Informaci e o varovanju okolja
Pridržujemo si pravico do spremb.
KAZALO
- VARNOSTNE INFORMACIJE 373
- VARNOSTNA NAVODILA 375
- NAMESTITEV 377
- OPIS IZDELKA 379
5.VSAKODNEVNAUPORABA 381 - PRILAGODLJIVA INDUKCIJSKA KUHALNA POVRŠINA 384
- NAMIGI IN NASVETI 388
8.VZDRZEVANJE IN CISCENJE 390 - ODPRAVLJANJE TEZAV 390
- TEHNICNI PODATKI 392
- ENERGIJSKA UČINKOVITOST 393
- SKRB ZA OKOLJE 394
1. VARNOSTNE INFORMACije
Pred namestitvijo in uporabo naprave natančno preberite priložena navodila. Proizvajalec ni odgovoren za poškodbe ali
skodo, nastalo zaradi nepravilne namestitve ali uporabe. Navodila vedno shranite na varnem in dostopnem mestu za poznejso uporabo.
1.1 Varnost otrok in ranljivih oseb
To napravo lahko otroci od osmega leta naprej ter osebe z zmanjsanimi telesnimi, Čutnimi ali razumskimi sposobnostmi ali s pomanjkanjem izkušenj ter znanja uporabljajo le pod nadzorom aliČe so dobile ustrezna navodila glede varne uporabe naprave inČe se zavedajo nevarnosti, ki obstajajo. Otroci, mlajski od osem (8) let, ter osebe z visoko stopnio invalidnosti se ne smejo priblževati napravi,Če niso pod nenehnim nadzorom.
- Otroci morajo biti pod nadzorom, da se ne igrajo z napravo.
Vso embalažo hranite zunaj dosega otrok in jo ustrezno zavrzite.
- OPOZORILO: Ko naprava deluje ali se ohlaja, poskrbite, da so otroci in hišni ljubljenčki dovolj oddaljeni od naprave. Dostopni deli se med uporabo segrejo.
- Ce je naprava opremljena z zašcit o za otroke, mora biti zašcit a vklopljena.
- Otroci ne smejo izvajati cisćenja in uporabniškega vzdřevanja naprave, Če ni zagotovljen nadzor.
1.2 Splośna varnost
- OPOZORILO: Naprava in dostopni deli med uporabo postanejo vroci. Pazite, da se ne dotaknete grelcev.
- OPOZORILO: Kuhanje na kuhalni plošci z mašćobo ali oljem brez nadzora je lahko nevarno in lahko pripelje do požara.
Ognja NIKOLI ne poskušajte pogasiti z vodo, ampak izklopite napravo in nato prekrijte ogenj, nth. sPokrovom ali požarno odejo. -
OPOZORILO: Naprava se ne sme napajati preko zunanje preklopne naprave, kot je programska ura, in ne sme biti priključena na tokokrog, kjer si redno sledijo vklopi in izklopi.
-
POZOR: Kuhanje mora biti nadzorovano. Kratkotrajno kuhanje mora biti stalno nadzorovano.
- OPOZORILO: Nevarnost požara: Na kuhalnih povrsinah ne shranjujte predmetov.
- Ne postavljajte kovinskih predmetov, kot so noži, vilice,Žlice inPokrovke na povrsino kuhalne plošće, ker se lahko segrejejo.
- Ne uporabljajte, preden jo namestite v vgrajeno strukturo.
- Za cisćenje naprave ne uporabljajte parnega Čistilnika.
- Po uporabi kuhalne plošće jo izklopite s pomočjo tipke na njej, ne zanašajte se na tipalo za posodo.
- V primeru počene povrsine steklokeramične plošće izklopite napravo in jo izključite iz napajanja. Če je naprava priključena na elektricno omrežje negosredno preko razdelilne omarice, odstranite varovalko, da napravo izključite iz napajanja. V obeh primerih se obrnite na pooblašćeni servisni center.
- Če je napajalni kabel poškodovan, ga mora v izogib nevarnostim zamenjati proizvajalec, zastopnik njegoveya pooblašćenega servisnegа centra ali druga strokovno usposobljena oseba.
- OPOZORILO: Uporabljaje samo varovala kuhalne plošće, ki jih je zasnoval proizvajalec kuhalne naprave ali ki jih proizvajalec naprave navede kot primerne v navodilih za uporabo, ali varovala kuhalne plošće, priložena napravi. Zaradi uporabe neprimernih varoval lahko pride do nezgode.
2. VARNOSTNA NAVODILA
2.1 Namecitev

OPOZORILO!
To napravo lahko namesti le strokovno usposobljena oseba.

OPOZORILO!
Nevarnost telesnih poskodb ali poskodb naprave.
- Odstranite vso embalazo.
- Ne namesčajte ali uporabljajte poskodovane naprave.
- Upostevajte navodila za namestitev, prilozena napravi.
- Upostevajte predpisano rajmanjso razdaljo do drugih naprav in enot.
-
Pri premikanju naprave bodite pazljivi, ker je težka. Vedno uporabljaje zašcitne rokavice in priloženo obutev.
-
Izreze zatesnite s tesnilom, da vlaga ne povzroci nabrekanja.
- Spodnjo stran naprave zašcitite pred paro in vlago.
- Naprave ne namescajte v blizino vrat ali pod okna. Na ta način preprećite, da bi vroča posoda padla z naprave, ko odprete vrata ali okno.
- Vsaka naprava ima na dnu ventilatorje za hlajenje.
- Ce je naprava namescena nad predal:
- Ne shranjujte nobenih malih kosckov ali listov papirja, ki bi jih lahko povleklo noter, ker lahko poskodujejo ventilatorje za hlajenje ali poslabšajo delovanje hladilnega sistema.
- Med spodnjim delom naprave in deli, shranjenimi v predalu, nj bo vsaj 2 cm razmika.
- Odstranite vse locevalne plošće iz omare pod napravo.
2.2 Elektricne povezave

OPOZORILO!
Nevarnost požara in elektricnega udara.
- Elektricno priključitev mora opraviti usposobljen elektricar.
- Naprava mora biti ozemljena.
Pred katerimkoli posegom se prepričajte, da naprava ni prikljucena na elektricno omrežje. - Preverite, ali so parametri s plošće za tehnicične navedbe združljivi z elektricno napetostjo omrežja.
- Naprava mora biti namescena pravilno. Zaradi slabo pritjenega in napacnegaprikljucmega kabla ali vtica (ce je na voljo) se lahko pregreje priključek.
- Uporabite pravi elektrichi priključni kabel.
- Priključni kabel se ne sme zaplesti.
- Prepricajte se, da je namescena zašcita pred elektrčnim udarom.
- Na kablu uporabite objemko za razbremenitev napetosti.
- Prepričajte se, da se priključni kabel ali vtič (če obstaja) ne dotika vroče napravé ali posode, ko napravo vkljucite v vtičnico.
- Ne uporabljajte razdelilnikov in podaljskov.
- Pazite, da ne poskodujete vtica (ce obstaja) ali kabla. Za zamenjavo
poskodovanega kabla se obrnite na nas pooblasceni servisni center ali elektricarja.
- Zašcita pred udarom elektricnega toka izoliranih delov in delov pod elektricno napetostjo mora biti pritrjena tak, da je ni mogoce odstraniti brez orodja.
Vtic vtaknite v vticnico sele ob koncu namescanja. Poskrbite, da bo vtic dosegljiv tudi po namestitvi. - Ce je omrežna vtichnica zrahljana, ne vtikajte vtica.
- Ne vlecite za elektricni priključni kabel,Če zeilite izključiti napravo. Vedno povlecite za vtic.
- Uporabite le prave izolacijski ne naprave: odklopnike, varovalke (talilne varovalke odvijte iz nosilca), zašcitne naprave na diferenčni tok in kontaktorje.
- Elektricna napeljava mora imeti izolacijsko napravo, ki omogoca odklop naprave z omrežja na vseh polih. Izolacijska naprava mora imeti med posameznimi kontakti minimalno razdaljo 3 mm.
2.3 Uporaba

OPOZORILO!
Nevarnost poskodbe, opeklin in elektricnega udara.
Pred prvo uporabo odstranite vso embalazo, etikete in zašcitno folijo (ce obstaja).
- Naprava je namenjenaismo za (notranjo) uporabo v gospodinjstvu.
- Ne spreminjaje specifikacij te naprave.
- Prepricajte se, da prezracevalne odprtineniso ovirane.
- Naprave med delovanjem ne puscajte brez nadzora.
Kuhalisce izklopite po vsaki uporabi.
- Ne postavlajte Jedilnega pribora aliPokrovk kozic na kuhalisca. Lahko se močno segrejo.
- Naprave se ne dotikajte z mokrimi rokami, ali kadar je v stiku z vodo.
- Naprave ne uporabljajte kot delovno povrsino ali povrsino za odlaganje.
- Ce je povrsina naprave počena, takoj odklopite napravo iz napajanja. S tem preprečite elektrčni udar.
- Osebe s srcnim spodbujevalnikom morajo biti med delovanjem naprave vsaj 30 cm oddaljene od indukcijsikh kuhalisch.
- Ko položite hrano v vroce olje, lahko olje pljuska na vse strani.

OPOZORILO!
Obstaja nevarnost požara in eksplozije.
Mašcobe in olja lahko ob segrevanju sprošćajo vnetljive hlape. Plamenov ali segretih predmetov ne priblizuje masčobam in olju, kadar kuhate z njimi.
- Hlapi, ki jih sprošca zelo vroce olje, lahko povzročijo spontani vžig.
Rabljeno olje, ki lahko vsebuje ostanke hrane, lahko povzroci pozar pri nižji temperaturi kot olje, ki se uporablja prvic.
- Ne postavlajte vnetljivih izdelkov ali predmetov, ki so prepojeni z vnetljivimi izdelki, v napravo, blizu nje ali nanjo.

OPOZORILO!
Obstaja nevarnost skode na napravi.
Vroce posode ne postavljaje na nadzorno plošco.
- Ne postavljaje vrocega Pokrova posode na stekleno povrsino kuhalne plošće.
- Ne dovolite, da iz posode povre vsa tekocina.
- Pazite, da predmeti ali posoda ne padejo na napravo. Povrsina se lahko poškoduje.
- Ne vklapljaje kuhališč, na katerih je prazna posoda ali pa so sploh ni nobene posode.
- Na napravo ne postavljaje aluminijaste folije.
- Posoda, ki je izdelana iz litega zeleza ali aluminija oz. ima poskodovano dno, lahko opraska steklo/steklokeramiko. Te predmete vedno dvignite, kadar jih morate premakniti na kuhalni povrsini.
- Ta naprava je namenjena le kuhanju. Izdelka ne smete uporabljati v druge namene, npr. za ogrevanje prostorov.
3. NAMESTITEV

OPOZORILO!
Oglete si poglavja o varnosti.
2.4 Vzdrževanje in cisčenje
- Napravo redno Čistite, da preprečite poskodbe materiala na povrsini.
- Preden se lotite cischenja naprave, jo izklopite in pocakajte, da se ohladi.
- Za cischenje naprave ne uporabljaje vodnegaprca in pare.
- Napravo očistite z vlažno mehko krpo. Uporabljaje samo nevtralna Čistilna sredstva. Za Čišcenje ne uporabljaje abrazivnih Čistil, grobih gobic, topil ali kovinskih predmetov.
2.5 Servis
- Za popravilo naprave se obrnite na pooblasceni servisni center. Uporabite samo originalne rezervne dele.
- O Žarnicah v izdelku in nadomestnih Žarnicah, ki se prodajajo ločeno: Te Žarnice so zasnovane za ekstremne pogoje v gospodinjskih aparath, kot so izjemne temperature, vibracije in VLCznosti, ali za sporočanje informacij o delovanju aparata. Niso namenjene za uporabo drugje in niso primerne za sobno razsvetljavo v gospodinjstvu
2.6 Odlaganje

OPOZORILO!
Nevarnost poskodbe ali zadusitve.
- Za informacije o pravilnem odlaganjupravne obrnite na obcinsko upravo.
- Napravo izključite iz napajanja.
- Odrežite elektrčni priključni kabel tik ob napravi in napravo zavrzite.
3.1 Pred namestitvijo
Preden namestite kuhalno plošco, si zapišite podatke s plošcice za tehnicne navedbe.
Plošcica za tehnicne navedbe se nahaja na dnu kuhalne plošće.
Serijska stevilka
3.2 Vgradne kuhalne plošće
Vgradne kuhalne plošće se lahko uporabljaco samo po vgradnji v ustrezne vgradne enote in delovne povrsine, ki ustrezajo standardom.
3.3 Priključni kabel
Kuhalna plošča ima priložen priključni kabel.
Za zamenjavo poskodovanega priključnega kabla uporabite priključni kabel:H05V2V2-F ki prenese temperaturo 90^ ali vec. Obrnite se na pooblasčeni servisni center. Priključni kabel sme zamenjati le usposobljen elektricar.
3.4 Montaža
Če namescate kuhalno plošco pod kuhinjsko napo, si ogleje navodila za namestitev nape za majmanjso razdaljo med napravami.

Če je naprava namescena nad predal, se lahko med kuhanjem zaradi prezracevanja kuhalne plošće predmeti v njem segrejejo.

Videonavodila „Kako namestiti indukcijsko kuhalno plošco AEG – namestitev delovne povrsine" pošcite tako, da vnesete polno ime, prikazano na spodnji sliki.

YouTube
www.youtube.com/electrolux
www.youtube.com/aeg
4.1 Postavitev kuhalne povrsine

1 Indukcijsko kuhališće
2 Upravljalna plošča
3 Prilagodljivo indukcijsko kuhalno povrsino sestavljajo stiri podroćja
4.2 Postavitev nadzorne plošće

Napravo upravlajte s senzorskimi polji. Prikazovalniki, indicatorji in zvoki vas opozorijo na vklopljene funkcjie.
| Senzor- sko po- lje | Funkcija Opomba | |
| 1 | ① | VKLOP / IZKLOP Za vklop in izklop kuhalne plošće. |
| 2 | Kljucavnica / Varovalo za otroke Za zaklepanje/odklepanje upravljalne plošće. | |
| 3 | PowerSlide Za vklop in izklop funkcjije. | |
| 4 | FlexiBridge Za preklop med tremi načini funkcjije. | |
| 5 | - Prikaz stopnje kuhanja Za prikaz stopnje kuhanja. | |
| 6 | - Indikatorji programske ure kuha- lišć | Prikaz, za katero kuhališće ste nastavili šas. |
| 7 | - Prikazovalnik programske ure Za prikaz šasa v minutah. | |
| 8 | - | Hob?Hood Za vklop in izklop ročnega načina funkcjë. |
| 9 | P | PowerBoost Za vklop in izklop funkcjë. |
| 10 | - Upravljalna vrstica Za nastavitev stopnje kuhanja. | |
| 11 | 0 | - Za izbiro kuhališča. |
| 12 | +/- | - Za podaljišanje ali skrajšanje Časa. |
| 13 | - Upravljalna vrstica Za nastavitev stopnje kuhanja za preragodljivo indukcjij- sku kuhalno površino. | |
4.3 Prikazovalniki stopnje kuhanja
| Prikazovalnik Opis | |
| 0 | Kuhališće je izklopljeno. |
| 1-14 | Kuhališće deluje. |
| A | Deluje funkcjja Samodejno segrevanje. |
| P | Deluje funkcjja PowerBoost. |
| E+ stevilka | Prišlo je do okvare. |
| /7 | OptiHeat Control (3-koračni indicator akumulirane toplote): nadaljevanje kuhanja/ohra-nanje toptlote/akumulirana toptola. |
| L | Deluje funkcjja Ključavnica/ Varovalo za otroke. |
| F | Posoda ni prava ali je premajhna oz. na kuhališću ni posode. |
| - | Deluje funkcjja Samodejni izklop. |
| I,-/I- | Deluje funkcjja PowerSlide. |
4.4 OptiHeat Control (3-koračni indicator akumulirane toplote)

OPOZORILO!
3/7 Dokler indicator sveti, obstaja nevarnost opeklin zaradi akumulirane toplote.
Indukcijska kuhalisca ustvarjajo toploto, ki je potrebna za kuhanje, neposredno na dnu
posode. Steklokeramiko segreje topota posode.
Indikatorji 7 /Zasvetijo, ko je kuhalische vroce. Prikazujejo stopnjo akumulirane toploe za kuhalisca, ki jih trenutno uporabljate.
Indikator lahko zasveti tudi:
-
za sosednja kuhalisca, cetudi jih ne uporabljate,
-
ko vročo posodo postavite na hladno kuhališće,
ko je kuhalna plošča izklopljena, vendar je kuhalisče še vedno vroče.
5. VSAKODNEVNA UPORABA

OPOZORILO!
Oglete si poglavja o varnosti.
5.1 Vklop in izklop
Za vklop ali izklop kuhalne plošće za eno sekundo pritisnite ①
5.2 Samodejni izklop
Funkcija samodejno izklopi kuhaln o plošco,Če:
- So vsa kuhališča izklopljena.
- Ne nastavite stopnje kuhanja po vklopu kuhalne plošće.
- Ste nekaj polili ali položili na upravljalno plošco za vec kot 10 sekund (posodo, krpo itd.). Zasliši se zvočni signal in kuhalna plošca se izklopi. Odstranite predmet ali ocistite upravljalno plošco.
- Se kuhalna plošca prevec segreje (na primer, ko povre vsa voda iz posode). Pocakajte, da se kuhališce ohladi, preden ponovno uporabite kuhalno plošco.
- Uporabljate neustrezno posodo. Prikaže se simbol F, nato pa se po dveh minutah kuhališće samodejno izklopi.
- Ne izklopite kuhališca oziroma ne spremenite stopnje kuhanja. Podolocenem casu se prikaze in kuhalna plošca se izklopi.
Razmerje med stopnjo kuhanja in casom, po katerem se kuhalna plošča izklopi:
Stopnja kuhanja Kuhalna plošca se izklopi po

1-3
6 urah
4-75 urah
8-94 urah
10-14 1,5 ure
Indikator ugasne, ko se kuhališće ohladi.
5.3 Stopnja kuhanja
Zanastavitevali spremembo stopnje kuhanja:
Dotaknite se upravljalne vrstice na pravi stopnji kuhanja ali pa se s prstom pomikajte po upravljalni vrstici, dokler ne pridete do prave stopnje kuhanja.

Posodo postavite na sredino izbranega kuhalisca. Indukcijska kuhalisca se samodejno prilagodijo dimenziji dna posode.
5.5 Samodejno segrevanje
To fungcijo vklopite, ce zeite doseci zeeleno stopnjo kuhanja v krajsem casu. Ko je kuhalisce vklopljeno, na zaetku deluje pri najvisji stopnji kuhanja, nato pa nadaljuje pri zeleni nastavitvi.

Za vklop funkcije mora biti kuhalisic hladno.
Za vklop fungcije za kuhalische: dotaknite se P (zasveti Takoj se dotaknite zelene stopnje kuhanja. Po treh sekundah zasveti
Za izklop fungkcije: spremenite stopnjo kuhanja.
5.6 PowerBoost
Ta funkcija zagotavlja dodatno moč za indukcijska kuhalisča. Funkcijo lahko vklopite samo za omejen čas za indukcijsko kuhalisše. Po tem Času se indukcijsko
kuhalisce samodejno preklopi nazaj na Najvisjo stopnjo kuhanja.
i
Oglejte si poglavje »Tehnicni podatki«.
Za vklop fungcije za kuhalische: dotaknite se Pzasveti.
Za izklop fungkcije: spremenite stopnjo kuhanja.
5.7 Programska ura
- Casovnik z odstevanjem ure
To funkcijo lahko uporabite za nastavitev dolzine posameznega postopka kuhanja.
Najprej nastavite stopnjo kuhanja za kuhalisce, nato pa funkcijo.
Zanastavitevkuhalisca:pritiskajte 1 dokler se ne prikaze indicator kuhalisca.
Za vklop fungcije: dotaknite se + programske ure za nastavitev casa (00 - 99 minut). Ko začne indicatorkuhalisca utripati, se Čas odšteva.
Čeželite videti preostali Čas: se dotaknite ①, da nastavite kuhalisće. Indikator kuhalisča začne utripati. Na prikazovalniku se prikažе preostali Čas.
Zaspremembo casa: se dotaknite da nastavite kuhalisce. Dotaknite seali
Za izklop fungcije: se dotaknite da nastavite kuhalisce, nato se dotaknite Preostali cas se odsteva do 00. Indikator kuhalisca ugasne.
i
Ko se odstevanje konca, se oglasi zvočni signal in utripata 00. Kuhalisče se izklopi.
Čeželite izklopiti zvok: se dotaknite
- CountUp Timer
S to funkcijo lahko nadzorujete, kako dolgo deluje kuhalisce.
Zanastavitevkuhalisca:pritiskajte 1 dokler se ne prikaze indicator kuhalisca.
Za vklop funkcije: dotaknite se programske ure. Prikaze se Uko zane utripati indicatorkuhalisca,se cas pristeva. Prikazovalnik preklaplja med un stetim casom (minutami).
To fungcijo lahko uporabite, ko je kuhalna plošca vklopljena in kuhališca ne delujejo. Prikazovalnik stopnje kuhanja prikazuje
Za vklop fungcije: se dotaknite nato +ali programske ure, da nastavite cas. KoCAS potece,seoglasi zvočni signal in utripata 00.
Čeželite izklopiti zvok: se dotaknite
i
Funkcija ne vpliva na delovanje kuhalisic.
5.8 Ključavnica
Upravljalno plošco lahko zaklenete med delovanjem kuhalisč. Zaklepanje preprećuje nehoteno spreminjanje stopnje kuhanja.
Najprej nastavite stopnjo kuhanja.
Za vklop funkcije: dotaknite se Za stiri sekunde zasveti Programska ura ostane vklopljena.
Za izklop fungcije: dotaknite se Vklopi se predhodna stopnja kuhanja.
i
Ko izklopite kuhalno plosco, izklopite tudi to funkcijo.
5.9 Varovalo za otroke
Funkcija preprecuje nehoten vklop kuhalne plošće.
Za vklop funkcije: kuhalno plošco vklopite z dotikom polja Ne nastavite nobene stopnje kuhanja. Stiri sekunde pritiskajte Zasveti Kuhalno plošco izklopite z dotikom polja
Za izklop fungcije: kuhalno plošćo vklopite z dotikom polja ①. Ne nastavite nobene stopnje kuhanja. Štiri sekunde pritiskajte Zasveti Kuhalno plošćo izklopite z dotikom polja ①
kuhanja: kuhalno plosco vklopite s ①.
Zasveti Za stiri sekunde se dotaknite V 10 sekundah nastavite stopnio kuhanja.
Kuhalno plosco lahko uporabljate. Ko
kuhalno plosco izklopite z dotikom polja ①
se funkcija ponovno vklopi.
5.10 OffSound Control (Izklop in vklop zvokov)
Izklopite kuhalno plosco. Za tri sekunde se dotaknite ①. Zaslon se vklopi in izklopi. Za tri sekunde se dotaknite Prikaze se at. Dotaknite se programske ure, da izberete nekaj od naslednjega:
- -Zvoki so izklopljeni.
- -2voki so vklopljeni.
ČeŽelite potrditi svoj izbor, počakajte, da se kuhalna plošca samodejno izklopi.
Ko je funkcija nastavljena na bahko zvok slisite samo v naslednjih primerih: - ko se dotaknete, ①
- ko se izklopi Odstevalna ura,
- ko se izklopi Časovnik z odštevanjem ure,
- ko postavite kaj na upravljalno plošćo.
5.11 Upravljanje moči
Če je vklopljenih vec kuhalisč in porabljena moč presega omejitev napajanja, ta funkcjija razdeli razpoložljivo moč med vsemi kuhalisči. Kuhalna plošca nadzoruje stopnje kuhanja, da zašciti varovalke elektricnega omrežja.
Kuhalisca so zdruzena glede na mesto in stevilo faz v kuhalni plošci. Vsaka faza imajvecjo elektricno obremenitev (3700 W). Ce kuhalna plošca doseze omejitev najvecje razpoložljive moci veni fazi, se moč kuhalisc samodejno zmanjsa.
- Stopnja kuhanja zadnjega izbranega kuhališča ima vedno prednost. Preostala moč bo razdeljena med predhodno vklopljenimi kuhališci po obratnem vrstnem redu izbire.
Prikazovalnik stopnje kuhanja za kuhalisca z nizjo mocjo se spreminja med prvotno izbrano stopnjo kuhanja in znižano stopnjo kuhanja.
- Pocakajte, da prikazovalnik preneha utripati, ali znižajte stopnjo kuhanja zadnjega izbranega kuhalisca. Kuhalisca bodo še napraj delovala z znižano stopnjo kuhanja. Po potrebi ročno spremenite stopnje kuhanja kuhalisc.
Gleje sliko za mayne kombinacije, pri katerih je mogoce moc porazdeliti med kuhalisci.

5.12 Hob²Hood
Je izpopolnjena samodejna funkcija, ki poveze kuhalno plošco s posebno kuhinjsko napo. Kuhalna plošca in napa imata komunikator infrardečega signala. Hitrost ventilatorja se nastavi samodejno glede na nestavitev načina in temperaturo njbolj vroče posode na kuhalni plošci. Ventilator lahko upravljate tudi ročno s kuhalne plošce.
i Pri večini kuhinjskh nap je system za daljinski upravljanje tovarnísko izklopljen. Vklopite ga pred uporabo funkcije. Za dodatne informacije si oglejte navodila za uporabo kuhinjske nape.
Samodejno upravljanje funkcije
Za samodejno upravljanje funkcjje nastavite samodejni način na H1-H6. Kuhalna plošča je tovarnísko nastavljena na H5.Kuhinjska napa se odzove ob vsaki uporabi kuhalne plošće. Kuhalna plošča samodejno zazna temperaturo posode in preragodi hitrost ventilatorja.
Samodejni načini
| Samodej- na osve- tlitev | Vretje1) | Cvrenje2) |
| Način H0 Izklopljeno Izklopljeno Izklopljeno | ||
| Način H1 Vklopljeno Izklopljeno Izklopljeno | ||
| Način Vklopljeno Hitrost ven- tilatorja 1 | Hitrost ven- tilatorja 1 | |
| Način H3 Vklopljeno Izklopljeno Hitrost ven- tilatorja 1 | ||
| Način H4 Vklopljeno Hitrost ven- tilatorja 1 | Hitrost ven- tilatorja 1 | |
| Način H5 Vklopljeno Hitrost ven- tilatorja 1 | Hitrost ven- tilatorja 2 | |
| Način H6 Vklopljeno Hitrost ven- tilatorja 2 | Hitrost ven- tilatorja 3 | |
1) Kuhalna plosca zazna vretje in aktivira hitrost ventilatorja glede na samodejni nacin.
2) Kuhalna plosca zazna cvrenje in aktivira hitrost ventilatorjga glede na samodejni nacin.
3) Ta nacin vklopi ventilator in luc ter ni odvisen od temperature.
Spreminanje samodejnga načina
- Izklopite napravo.
- Za tri sekunde se dotaknite .① Prikazovalnik se vklopi in izklop
- Za tri sekunde se dotaknite
-
Nekajkrat se dotaknite ①, da zasveti
-
Dotaknite se programske ure, da izberete samodejni način.
i Ce zeite kuhinjsko napo upravljati neposredno s plošce nape, izklopite samodejni način funkcije.
i Ko koncate s kuhanjem in izklopite kuhalno plošco, lahko ventilator nape še nekaj ācas deluje. Po tem sistem samodejno izklopi ventilator in za naslednjih 30 sekund prepreci nenameren vklop ventilatorja.
Ročno nastavljanje hitrosti ventilatorja
Funkcijo lahko nastavljate tudi rochno. Za to se dotaknite ko kuhalna plosca deluje. Na ta naacin izklopite samodejno delovanje funkcije in lahko rochno spremenite hitrost ventilatorja. Ko pritisnetehitrost ventilatorja zviase za ena. Ko dosezete intenzivno stopnio in ponovno pritisnete, hitrost ventilatorja nastavite na 0, ob cemer se ventilator kuhnjske nape izklopi. Za ponoven vklop ventilatorja s hitrostjo 1 se dotaknite
Za vklop samodejnga delovanja
funkcije izklopite in ponovno
vklopite kuhalno plošćo.
Vklop luči
Kuhalno plošco lahko nastavite tak, da ob vsakem vklopu samodejno vklopi luc. Za to samodejni način nastavite na H1-H6.
i Luč na kuhinjski napi se izklopi dve minuti po izklopu kuhalne plošće.
6. PRILAGODLJIVA INDUKCIJSKA KUHALNA POVRŠINA

OPOZORILO!
Oglejte si poglavja o varnosti.
6.1 Funkcija FlexiBridge
Prilagodljivo indukcijsko kuhalno povrsino sestavljao stiri podroça. Podroça lahko združite v dve kuhališci razliche velikosti ali v eno veliko kuhališće. Kombinatorio področij
izberete z izbiro načina, ki ustreza velikosti posode, ki joŽelite uporabiti. Obstajajo trije načini: Standardno (se samodejno vklopi ob vklopu kuhalne plošće), Big Bridge in Max Bridge.

Zanastavitev stopnje kuhanja uporabite dva upravljalna gumba na levi.
Preklapljanje med načini
Za preklapljanje med načini uporabite senzorsko polje:


Ko preklapljate med načini, semoc ponastavi na 0.
Premer in položaj posode
Izberite način, ki ustreza velikosti in obliki posode. Posoda mora Čim boljPokrivati izbrano področje. Posodo postavite na sredino izbranega področja!
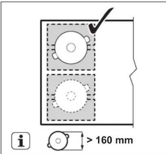
Posodo s premerom dna, manjšim od 160 mm, postavite na sredino enega dela.



100-160mm
Posodo s premerom dna, vecjim od 160 mm, postavite na sredino med dve podroci.

6.2 FlexiBridge Standardni način
Ta nacin je vklopljen, ko vklopite kuhaln o plosco. Področja poveže v dve ločeni kuhališci. Moc lahko nastavite za vsako področje posebej. Uporabite dve upravljalni vrstici na levi.

Za vklop načina se dotikajte dokler se ne prikaže pravi indicator načina. Ta nacin poveže tri zadnja področja v eno kuhalisće. Sprednje ni povezano in deluje kot loćeno kuhalisće. Moc lahko nastavite za vsako področje posebej.Uporabite dve upravljalni vrstici na levi.

6.4 FlexiBridge Način Max Bridge
Za vklop nacin se dotikajte dokler se neprikaze pravi indicator nacin . Ta nacin poveze vsa podroćja v eno kuhalisce. Za nastavitev stopnje kuhanja uporabite dve upravljalni vrstici na levi.

Če Želite uporabiti ta nacin, morate posodo postaviti na štiri povezana področja. Če uporabite posodo, ki ne sega na tri področja, se na prikazovalniku izpiše in po 2 minutah se kuhalisče izklopi.

Nepravilen položaj posode:
Nepravilen položaj posode:

6.5 PowerPoint
Ta funkcija omogoča nastavitev temperatures premikom posode na drugo mesto na indukcijski kuhalnem območju.
Funkcija razdeli indukcijsko kuhalno povrsino na tri podroćja z razlicnimi nastavitvami segrevanja. Kuhalna plošca zazna položaj posode in prilagodi nastavitev segrevanja glide na položaj. Posodo lahko postavite spreddaj, na sredino ali zadaj. Če posodo postavite spreddaj, je zagotovljena najvisja nastavitev segrevanja. Za znižanje stopnej premaknite posodo na sredino ali nazaj.

Kofunkcija deluje,lahkouporabite le en lonec.

Splošne informacije:
- Najmanji si premer dna posode za to funkcijo je 160 nm.
- Prikazovalnik stopnje kuhanja za zadnjo levo upravljalno vrstico prikazuje položaj posode na indukcijski kuhalni povrsini.

L Sprednji, srednji, zadni
- Prikazovalnik stopnje kuhanja za upravljalno vrstico sprej levo prikazuje stopnjo kuhanja. Za spremembo privzete nastavitve segrevanja uporabite upravljalno vrstico sprej levo.
Ob prvem vklopu funkcije se stopnja kuhanja nastavi 14 na sprednji položaj, 9 srednji položaj in 3 zadnji položaj.

Stopnje kuhanja lahko spremenite za vsak položaj posebej. Kuhalna plošča si zapomni nastavitve za naslednji vklop funkcije.
Vklop fungkcije
Za vklop funkcije postavite posodo v pravi položaj na kuhaliscu. Dotaknite se Zasveti indicator nad simbolom. Ce posode ne postavite na kuhalno povrsino, se vklopi F in po dveh minutah se prerligodljiva indukcijska kuhalna povrsina nastavi na
Izklop fungkije
Za izklop fungcije se dotaknite Ali pa stopnjo kuhanja nastavite na Indikator nad simbolom ugasne.
7. NAMIGI IN NASVETI

OPOZORILO!
Oglete si poglavja o varnosti.
7.1 Posoda

Pri indukcijskih kuhalisich mochno elektromagnetno polje izjemno hitro segreje posodo.
Indukcijske kuhalne plošće uporabite s primerno posodo.
Dno posode mora biti cim bolj deblo in ravno.
Dno posode mora biti cisto in suho, preden jo postavite na kuhalno plošco.
- Ce ze lite prepreci praske, ne drsajte ali drgnite s posodo po steklo-keramicni plošci.
Material posode
- pravilno: lito Železo, jaklo, emajlrano jaklo, nerjavno jaklo, večplastno dno (označeno kot ustrezno s strani proizvajalca).
- ni pravilno: aluminij, baker, medenina, steklo, keramika, porcelain.
Posoda je primerna za indukcijsko kuhalno plošco v naslednjihprimerih:
- ce voda zavre zelo hitro, ko kuhalno plošco nastavite na najvisjo stopnjo kuhanja,
-
Ce se na dno posode prilepi magnet. Dimenzije posode
-
Indukcijske kuhalne plošće se samodejno prilagodijo dimenziji dna posode.
- Učinkovitost kuhalne plošće je povezana s premerom posode. Posoda s premerom, manjsim od majmanjšega, sprejme le del moči, ki jo ustvari kuhalna plošća.
Tako iz varnostnih razlogov kot za optimalne rezultate kuhanja ne uporabljaje posode, ki je večja od navedb v „Specifikacija za kuhinjske plošće". Med
kuhanjem naj posoda ne bo preblizu nadzorne plošće. To bi lahko vplivalo na delovanje kuhalne plošće ali nehote aktiviralo funkcije kuhalne plošće.

Oglejte si »Tehnični podatki«.
7.2 Zvoki med uporabo
Če zaslisi:
-Pokanje:posoda je izdelana iz razlicnih materialov (konstrukcija z dvojnim dnom).
- Žvižganje: uporabljate kuhališće pri visoki stopnji kuhanja in posoda je izdelana iz razlignih materialov (konstrukcija z dvojnim dnom).
- brencanje: uporabljate visoko stopnjo kuhanja.
- klikanje: prihaja do elektricnega preklapljanja.
- sikanje, brnenje: deluje ventilator.
Ti zvoki so obicajni in ne predstavljajo napake.
7.3 Öko Timer (Eko programska ura)
Za varcevanje z energijo se grelnik kuhališča izklopi prej, kot se oglasi programska ura.
Razlka v Času delovanja je odvisna od ravni stopnje kuhanja in trajanja kuhanja.
7.4 Primeri kuhanja
Razmerje med stopnjo kuhanja in porabo energije kuhalisca ni linearno. Ko zvišate stopnjo kuhanja, ta ni sorazmerna s povečanjem porabe energije. To pomeni, da kuhalisce s srednjo stopnjo kuhanja porabi manj kot polovico celotne energije.

Podatki v razpredelnici soismo za primer.
| Nastavitev se-grevanja | Uporabite za: Čas | Namigi(min.) |
| U-1 | KuhanaŽivila ohranite topla. po potrebi PosodoPokrijte sPokrovom. | |
| 1-3 Holandska omaka, topljenje: maslo,ćokolada, Želatina. | 5-25 Občasno premešajte. | |
| 1-3 Strjevanje: puhaste omlete, pečena jaj-ca. | 10-40 Kuhajte tokrito. | |
| 3-5 Počasno kuhanje riža in mlečnih Jedi,pogrevanje pripravljenih Jedi. | 25-50 Vode dodajte vsaj dvakrat toliko, kot je riža, mlečne Jedi na polovici postopka premešajte. | |
| 5-7 Kuhanje zelenjave na pari, ribe, meso. 20-45 Dodajte nekajŽlic vode. | ||
| 7-9 Kuhanje krompirja na pari. 20-60 Uporabite največ 1/1 vode za 750 gkrompirja. | ||
| 7-9 Kuhanje večje količine hrane, enolonč-nice in juhe. | 60-150 Do 3 | tekočine s sestavinami. | |
| 9-12 Lahko cvrtje: zrezek, telečji cordonbleu, zarebrnice, polpete, klobase, je-tra, prežganje, jajca, palačinke, krofi. | po potrebi Obrnite na polovici priprave. | |
| 12-13 Težko cvrtje, praženi krompir - Rosti,ledveni zrezki, zrezki. | 5-15 Obrnite na polovici priprave. | |
| 14 Vrenje vode, kuhanje testenin, pečenje mesa (golaž, dušena pečenka), cvrtje krompirja. | ||
| P | Prekuhavanje večijh količin vode. PowerBoost je vklopljena. | |
7.5 Namigi in nasveti za Hob²Hood
Plošco kuhinjske nape zašcitite pred nepsredno sončno svetlobo.
- Na plosco kuhnjske nape ne usmerjaje halogenske svetlobe.
- NePokrivajte upravljalne plošće kuhalne plošće.
- Ne prekinjaje signala med kuhalno plošco in kuhinjsko napo (npr. z roko, ročajem posode ali veliko posodo). Glejte sliko.
Kuhnjska napa na sliki je samo primer.


Druge daljinski upravljanje naprave lahko ovirajo signal. Ne uporablijaje takih naprav v blizini kuhalne plošće, ko je Hob²Hood vklopljen.
Kuhnjske nape s funkcijo Hob²Hood
Za celotno ponudbo kuhnjskih nap, ki delujejo s to funkcijo, si oglejte naše splétrno
mesto za potrošnike. Kuhinjske nape AEG, ki delujejo s to funkcijo, morajo imeti simbol
8. VZDRŽEVANJE IN ČIŠČENJE

OPOZORILO!
Oglete si poglavja o varnosti.
8.1 Splošne informacije
- Po vsaki uporabi stedilnik očistite.
- Vedno uporabljajte posodo s cistim dnom.
- Praske ali temni madezi na povrsini ne vplivajo na delovanje plošće.
- Uporabite posebno cistilno sredstvo za povrsine kuhalnih plošć.
- Uporabite posebno strgalo za steklo.

Zaradi potiskanja posode po prilagodljivi indukcijski kuhalni povrsini lahko natisjeni znaki na njej potemnijo ali spremenijo barvo. Povrsino lahko očistite na standarden način.
8.2 Ciscenje kuhalne plošće
Takoj odstranite: stopljeno plastiko, plasticno folijo, sladkor in sladko hrano, v nasprotnem primeru se lahko zaradi umazanje poskoduje kuhalna plošca. Pazite, da ne pride do opeklin. Posebno strgalo postavite pod ostrim kotom na stekleno povrsino in z rezilom potegnite po povrsini.
- Odstranite, ko je plošča ze dovolj hladna: ostanke vodnega kamna in vode, masćobne madeže in svetla kovinska obarvanja. Plošćo ocistite z vlžno krpo in cistilnim sredstvom, ki ni grobo. Po cisćenju plošćo osusite z mehko krpo.
- Odstranite svetla kovinska obarvanja: uporabite raztopino vode in kisa ter očistite stekleno povrsino s krpo.
9. ODPRAVLJANJE TEžAV

OPOZORILO!
Oglete si poglavja o varnosti.
9.1 Kaj storite v primeru ...
Težava Možni vzrok Rešitev
| Kuhalne plošće ni mogоće vklopi-ti ali je uporabljati. | Kuhalna plošće ni priključena na elektricno napajanje ali je priključena nepravilno. | Preverite, ali je kuhalna plošće pravil-no priključena na elektricno napajanje. |
| Pregorela je varovalka. Prepričajte se, če ni morda vzrok za | okvaro varovalka. Če varovalka večk-rat zapored pregori, se obrnite na usposobljenega elektricarja. | |
| 10 sekund ne nastavite stopnje se-grevanja. | Kuhalno plošćo ponovno vklopite in v manj kot 10 sekundah nastavite segre-vanje. | |
| Sočasno ste se dotaknili 2 ali več senzorskih polj. | Dotaknite se samo enega senzorskega polja. | |
Težava Možni vzrok Resitev
| Na nadzorni plošči je voda ali mastni madeži. | Očistite nadzorno ploščo. | |
| Zaslisi se zvočni signal in kuhal- na plošča se izključi. Zaslisi se zvočni signal, ko se ku- halna plošča izključi. | Na senzorska polja ste odložili eno ali več stvari. | Odstranite predmet s senzorskih polj. |
| Kuhalna plošča se izključi. | Senzorsko polje ste z nečim pre- krili. | Odstranite predmet s senzorskega po- lja. |
| Indikator akumulirane toplate ne zasveti. | Kuhališće ni vroče, ker je bilo vklop- ljeno samo kratek Čas, ali pa je po- škodovano tipalo. | Če je bilo kuhališće vklučeno dovolj dolgo, da bi morale biti vroče, se po- svetujte s pooblašćenim servisnim centrom. |
| Hobž Hood ne deluje. Prekrili ste nadzorno ploščo. Odstranite predmet ali očistite nadzor- no ploščo. | ||
| Uporabljate zelo visoko posodo, ki blokira signal. | Uporabite manjšo posodo, zamenjale kuhališće ali ročno upravljaje napo. | |
| Samodejno segrevanje ne deluje. Kuhališće je vroče. Pustite, da se kuhališće dovolj ohladi. | ||
| Nastavljena je najvišja moč segre- nja. | Najvišja nastavitev moč segrevanja imai enako moč kot funkcjja. | |
| Nastavitev moči se med dvema stopnjama spreminja. | Upravljanje moči deluje. Oglejte si «Vsačodnevna uporaba«. | |
| Senzorska polja so postala vr- oča. | Posoda je prevelika ali pa ste jo po- stavili preblizu nadzornih gumbov. | Većjo posodo postavite na zadnje ku- halisišće, Če je možno. |
| Ob dotiku senzorskih polj na plo- šci ni zvoka. | Zvočni signali so izklopljeni. Vklopite zvočni signali. Oglejte si «Vsa- kodnevna uporaba«. | |
| Prilagodljivo indukcijsko kuhališ- će ne segreje kuhinjske posode. | Posoda je na napačnem položaju na prilagodljivi indukcijski kuhalni po- vršini. | Posodo postavite na pravilen položaj na prilagodljivi indukcijski kuhalni po- vršini. Položaj kuhinjske posode je od- visen od vklopljene funkcjije ali načina delovanja. Oglejte si «Prilagodljiva in- dukcijska kuhalna povrsina«. |
| Premer dna kuhinjske posode je na- pačen za vklopljeno funkcjio ali na- čin delovanja. | Uporabite posodo s premerom, ustre- znim za vklopljeno funkcjio ali način delovanja. Oglejte si «Prilagodljiva in- dukcijska kuhalna povrsina«. | |
| L se prižge. | Deluje funkcjja Varovalo za otroke ali Ključavnica. | Oglejte si «Vsačodnevna uporaba«. |
| F se prižge. | Na tem kuhališću jeŽe kuhinjska po- soda. | Posodo postavite na kuhališće. |
| Posoda ni primerna. Uparabite primerno posodo. Oglejte si | »Namigi in nasveti«. | |
| Premer dna posode je premajhen za kuhališće. | Uparabite posodo ustrezne velikosti. Oglejte si «Tehnični podatki«. | |
Težava Možni vzrok Rešitev
| FlexiBridge (Flexible Bridge) deluje. Kuhinjska posoda nePokriva enega ali več predelov delujočega funkcjj-skega načina. | Kuhinjsko posodo postavite na pravil- no število predelov delujočega funkcjj- skega načina, ali spremenite funkcijski način. Ogleje si »Prilagodljiva indukcjj- ska kuhalna povrsina«. |
| PowerSlide deluje. Na prerigodljivo indukcijsko kuhalno področje sta po- stavljeni dve posodi. | Uporabite samo eno posodo. Ogleje si »Prilagodljiva indukcijska kuhalna po- vršina«. |
| E in prikaže se številka. | Na kuhalni plošči je napaka. Izklopite kuhalno plošćo in jo po 30 se- kundah ponovno vklopite. Če Žno- va zasveti, kuhalno plošćo izključite iz elektrićnegа omrežja. Po 30 sekundah kuhalno plošćo ponovno priljučite. Če se težava nadaljuje, se obrnite na po- oblašćeni servisni center. |
| Slišite lahko neprekinjeno piska- nje. | Elektricna povezava je nepravilna. Kuhalno plošćo izključite iz elektricne- ga omrežja. Oblnite se na usposoblje- nega elektricarja, da preveri namesti- tev. |
9.2 Ce ne najdete resitve ...
Če težave ne morete razresiti sami, se obrnite na prodajalca ali pooblascen servisni center. Navedite podatke s plošcice za tehnicne navedbe. Navedite tudi trimestno crkovno kodo za steklokeramicno plošco (v vogalu steklene povrsine) in sporocilo o
napaki, ki se prikaze. Poskrbite za pravilno upravljanje kuhalne plošće. V nasprotnemprimeru servisiranje s strani serviserja ali prodajalca ne bo brezplačno, tudi v Času garancijske dobe. Informacije o garancijskem odobju in pooblašćenih servisnih centrih so navedene v garancijski knjižici.
10. TEHNICNI PODATKI
10.1 Ploščica za tehnicine navedbe
Model IKE84471XB Stevilka izdelka 949 597 229 00
Vrsta 62 D4A 05 AA 220-240 V/400 V, 2N, 50-60 Hz
Indukcija 7.35 kW Izdelano v Nemciji
Ser. st. 7.35 kW
AEG

Moč kuhalisč se lahko malce razlikuje od podatkov v razpredelnici. Spreminja se z materialom in merami posode.
Za najboljse rezultate kuhanja uporabljajte posodo, ki nima vecjega premera od premera, navedenega v razpredelnici.
11. ENERGIJSKA UČINKOVITOST
11.1 Podatki o izdelku*
Identifikaciona modela IKE84471XB
| Vrsta kuhalne plošće Vgrajena kuhalna plošće | |
| Število kuhališć 2 | |
| Število kuhalnih površin 1 | |
| Tecnologija segrebanja Indukcija | |
| Premer crožnih kuhališć (Ø) Srednje zadaj | 21,0 cm |
| Desno sprejad 18,0 cm | |
| Dolžina (d) in širina (s) kuhalne povrsine Levo d 45,8 cm | s 21,4 cm |
| Poraba energije na kuhališće (EC electric cooking) Srednje zadaj | 177,0 Wh/kg |
| Desno sprejad 174,6 Wh/kg | |
| Poraba energije kuhalne povrsine (EC electric cook-ing) | Levo 182,6 Wh/kg |
| Poraba energije kuhalne plošće (EC electric hob) 179,9 Wh/kg | |
| * Za Evropsko unijo glede na EU 66/2014. Za Belorusijo glede na 2477-2017, priloga A. Za Ukrajino glede na 742/2019. | |
| EN 60350-2 - Gospodinjski elektrichi ni kuhalni aparati - 2. del: Kuhalne plošće - metode za merjenje funkcionalno-sti | |
11.2 Varčevanje z energhi je
Med vsakodnevim kuhanjem lahko varcujete z energijo, ce upostevate spodnje namige.
Pri segrevanju vode uporabite samo potrebno kolicino.
- Posodo po możnosti pokrijte sPokrovko.
- Pred vklopom kuhališča nanj postavite posodo.
Manjse posode postavite na manjsa kuhalisca. - Posodo postavite neposredno na sredino kuhališča.
- Uporabite akumulirano toplo, da ohranite hrano toplo ali da jo stopite.
12. SKRB ZA OKOLJE
Reciklirajte materiale, ki jih označuje simbol
Embalazo odložite v ustrezne zabojnike za reciklazo. Pomagajte zašcititi okolje in zdravje lijudi ter reciklirati oppadke elektricnih in elektronskih naprav. Naprav, označenih s
simbolom ne odstranjujte z gospodinjskimi opadki. Izdelek vrnite na krajevno zbiralisce za recikliranje ali se obrnite na obcinski urad.
C
LahkaNavodila