IKE84471XB - Fornuis AEG - Gratis gebruiksaanwijzing en handleiding
Vind de handleiding van het apparaat gratis IKE84471XB AEG in PDF-formaat.
Veelgestelde vragen - IKE84471XB AEG
Questions des utilisateurs sur IKE84471XB AEG
0 question sur cet appareil. Repondez a celles que vous connaissez ou posez la votre.
Poser une nouvelle question sur cet appareil
Download de handleiding voor uw Fornuis in PDF-formaat gratis! Vind uw handleiding IKE84471XB - AEG en neem uw elektronisch apparaat weer in handen. Op deze pagina staan alle documenten die nodig zijn voor het gebruik van uw apparaat. IKE84471XB van het merk AEG.
GEBRUIKSAANWIJZING IKE84471XB AEG
Bedankt dat je voor dit AEG-product hebt gekozen. We hebben het gecreered om jarenlang onberispelijke prestaties te leveren, met innovatieve technologieen die het leven eenvoudiger make - functies die je wellicht Niet op gewone apparaten aantreft. Neem eenaar minuten de tijd om het Beste uit het apparaat te halen.
Gaaaronzewebsitevoor:

Advies over gebruik, brochures, het oplossen van problemen, service- en reparatie-informatie:

www.aeg.com/support
Registreer je product voor een betere service: www.registeraeg.com

Koop accessoires, verbruiksartikelen en originele reserveonderdelen voor je apparaat: www.aeg.com/shop
KLANTENSERVICE EN SERVICE
Gebruik alkijd originele onderdelen.
Als u contact opneemt met once erkende servicedienst, zorg er dan voor dat u de volgende gegevens tot uw beschikking heb: Model, PNC, seriENUMmer.
De informatatie vindt u op het typeplaatje.
Waarschuwingen en veiligheidsinformatie
i Algemene informatatie en tips
Milieu-informatie
Wijzigingen voorbehonden.
INHOUDSOPGAVE
1.VEILIGHEIDSINFORMATIE 94
2.VEILIGHEIDSVOORSCHRIFTEN 97
3. INSTALLATIE 99
4. BESCHRIJVING VAN HET PRODUCT 100
5.DAGELIJKSGEBRUIK 102
6. FLEXIBELE INDUCTIEKOOKZONE 106
7.AANWIJZINGEN EN TIPS 109
8. ONDERHOUD EN REINIGING 112
9.PROBLEEMOPLOSSING 112
10. TECHNISCHE GEGEVENS 114
11. ENERGIEZUINIGHEID 115
12. MILIEUBESCHERMING 116
1. VEILIGHEIDSINFORMATIE
Lees zorgvuldig de meegeleverde instructies voor installmenten gebruik van het apparaat. De fabrikant is nicht
verantwoordelijk voor verwondingen of schade die voortvloeituit de onjuiste installmentie of het onjuiste gebruik. Bewaar de instructies.altijd op een veilige,toegankelijkpek voortoekomstig gebruik.
1.1 Veiligkeit van kinderen en kwetsbare Personen
- Dit apparaat kan worden gebruikt door kinderen van 8年龄段 en ouder en door mensen met een beperkt lichamelijk, zintuiglijk of verstandelijk vermogen of een gebrek aan ervaring en kennis, indien zij onder toezicht staan of instructies hebben gekreten over het veilig gebruiken van het apparaat en indien zij de bevaren begrijpen. Kinderenjonger dan 8年龄段 en personen met zware en complexe beperkingen dienen.altijd uit de buurt van het apparaat te worden gehouden, tenzij ze voortdurend onder toezicht staan.
- Houd toezicht op kinderen om te voorkomen dat zij met het apparaat gaan spelen..
- Houd alle verpakking uit de buurt van kinderen en gooi het op passende wijze weg.
WAARSCHUWING: Houd kinderen en huisdieren uit de buurt van het apparaat als die in werkung is of afkoelt. Makkelijk toegankelijke onderdelen worden heetijdens het gebruik. - Als het apparaat is voorzien van een kinderslot, dient dit te worden geactiveerd.
- Kinderen mogen zonder toezicht geen reinigings- en onderhoudswerkzaamheden aan het apparaatuitvoeren.
1.2 Algemene veiligheid
WAARSCHUWING: Het apparaat en de toegankelijke onderdelen ervan worden heetijdens het gebruik. U dient te voorkomen de verwarmingselementen aan te raken.
WAARSCHUWING: Onbewaakt koken op een kookplaat met vet of olie kan gevaarlijk zijn en tot brand leiden.
- Probeer NOOIT om een brand te blussen met water. Schakel het apparaat uit en bedek cervolgens de vlam, bv. met een deksel of een vuurdeken.
WAARSCHUWING: Het apparaat mag nicht van stroom worden voorzien door een extern schakelapparaat, zoals een tijdklok, of aangesloten worden op een circuit dat door het elektriciteitsbedrijf regelmatig aan en uit worden geschakeld. - LET OP: Het kookproces要去 bewaakt worden. Een kort kookproces要去 voortdurend bewaakt worden.
WAARSCHUWING: Brandgevaar: Bewaar geen voorwerpen op de kookoppervlakken. - Metalen voorwerpen, zoals messen, vorken, lepels en deksels mogen Niet op het oppervlak van de kookplaat worden geplaatst, aangezien ze heet hunnen worden.
- Gebruik het apparaat Niet voordat u het in de ingebouwde constructie installeert.
- Gebruik geen stoomreiniger om het apparaat schoon te make.
- Schakel het kookplaatelement na elk gebruik UIT met de bedieningstoetsen. Vertrouw Niet op de pandetector.
- Als de glaskeramische / glazen oppervlakte gebarsten is, schakel het apparaat dan uit en trek de stekker uit het stopcontact. In het geval het apparaatrechtstreeks op de stroom is aangesloten met een aansluitdoos, verwijdert u de zekering om het apparaat van de stroom te halen. Neem altijd contact op met de erkende servicedienst.
- Indien het netsnoor beschadigd is, moet het worden verrangen door de fabrikant, een erkende service of vergelijkbaar gekwalificeerde Personen om gevaar te voorkomen.
WAARSCHUWING: Gebruik alleen kookplaatbeschemmers die door de fabrikant van het kookapparaat� ontworpen of door de fabrikant van het apparaat in de gebruiksinstructies als geschikt� aangegeven of kookplaatbeschemmers die in het apparaat
geintegreerd. Het gebruik van ongeschikte kookplaatbeschemmers kan ongelukken veroorzaken.
2. VEILIGHEIDSVOORSCHRIFTEN
2.1 Installatie

WAARSCHUWING!
Alleen een erkende installatietechnicus mag het apparaat installereren.

WAARSCHUWING!
Gevaar voor letsel of schade aan het apparaat.
- Verwijder alle verpakkingsmaterialien.
- Installee en gebruik geen beschadigd apparatus.
- Volg de installment-instructies die zijn meegeleverd met het apparatus.
- Houd de minimumafstand maar andere apparaten en units in acht.
- Pas.altijd op bij verplaatsing van het apparaat,want het is zwaar. Gebruik.altijd veiligheidshandschoenen en geslotenschoeisel.
Dicht de oppervlakken af met kit om te voorkomen dat ze gaan opzetten door vocht. - Bescherm de bodem van het apparaat gegen stoom en vocht.
- Installeeer het apparaat Niet naast een deur of onder een raam. Dit voorkomt dat heet kookgerei van het apparaat valt als de deur of het raam worden geopend.
- Elk apparatus heeft koelventilatoren op de bodem.
-
Als het apparaat gemonteerd wordt boven een lade:
-
Leg geenkleine dingen of papier dewelke kuren binnengezogen worden,omidat ze de koelventilatoren kuren beschadigen of het koelsystemeum kuren belemmeren.
-
Houd een minimumafstand van 2 cm tussen de bodem van het apparaat en de zaken die u in de lade bewaart.
-
Verwijder de afterschadingsspanelen die in de kast onder het apparaat zich geinstalleerd.
2.2 Elektrische aansluiting

WAARSCHUWING!
Gevaar voor brand en elektrische schokken.
- Alle elektrische aansluitingen要去en door een gediplomeerd elektromonteur worden gemaakt.
- Dit apparaat moet worden aangesloten op een geaard stopcontact.
- Verzeker gezelf ervan dat de stekker uithet stopcontact is getrokken, voordat jewelke werkzaamheden dan ook uitvoert.
- Zorg ervoor dat de parameters op het vermogensplaatje overeenkomen met elektrische vermogen van de netstroom.
- Controller of het apparaat correct geinstalleerd is. Losse en onjuiste stroomkabels of stekkers (indien van toepassing) hunnen ertoe leiden dat de contactklem te heet worden.
- Gebruik het juiste elektriciteitssnoer.
- Zorg dat de stroomkabel Niet verstrikt raakt.
- Zorg ervoor dat er een schokbescheming is geinstalleerd.
Zorg ervoor dat het snoer Niet worden belast door trekken. - Zorg ervoor dat de stroomkabel of stekker (indien van toepassing) het hare apparaat of heet kookgerei Niet aanraakt als je het apparaat op een nabijgelegen contactdoos aansluit.
- Gebruik geen adapters met meerderstekkers en verlangkabels.
- Zorg ervoor dat je de stekker (indien van toepassing) of het netsnoer nicht beschadigt. Neem contact op met ons erkende servicecentrum of een elektricien om een beschadigde stroomkabel te verrangen.
-
De schokbescherming van delen onder stroom en geisoleerde delen moet op zo'n manier worden bevestigd dat het nicht zonder gereedschap kan worden verplaatst.
-
Steek de stekker pas in het stopcontact als de installmentie is voltooid. Zorg ervoor dat het netsnoer na installmentie bereikbaar is.
- Als het stopcontact los zit, mag u de stekker Niet in het stopcontact steken.
- Trek Niet aan het netsnoer om het apparaat los te koppelen. Trek.altijd aan de stekker.
- Gebruik enkel correcte isolatievoorzieningen: stroomonderbrekers, zekeringen (schroefzekeringen要去en uit de houder worden verwijderd), aardlekschakelaars en contactgevers.
- De elektrische installmentie moet een isolatieapparaat bevatten waardoor het apparaat volledig van het lichtnet afgesloten kan worden. Het isolatieapparaat moet een contactopening hebben met een minimale bredte van 3 mm.
2.3 Gebruik

WAARSCHUWING!
Gevaar voor letsel, brandwonden of elektrische schokken.
- Verwijder voor het eerste gebruik alle verpakking, etikettering en beschemfolie (indien van toepassing).
- Dit apparaat is uitsluitend bestemd voor (binnenshuis) huishoudelijk gebruik.
- De specificatie van dit apparaat nicht wijzigen.
Zorg ervoor dat de ventilatieopengingen Niet geblokkeerd worden. - Laat het apparaatijdens de werkung nicht onbeheerd anschter.
- Zet de kookzone op "uit" na ieder gebruik.
- Plaats geen bestek of deksels van steelpannen op de kookzones. Ze können heet worden.
- Gebruik het apparaat Niet met natte handen of als het contact maakt met water.
- Gebruik het apparaat Niet als werkblad of als opslagoppervlak.
-
Als het oppervlak van het apparaat gebarsten is, haal dan onmiddelijk de stekker uit het stopcontact. Dit voorkomt elektrische schokken.
-
Gebruikers met een pacemaker moeten een afstand van minimaal 30~cm bewaren van de inductiekookzones als het apparatus in werkung is.
- Als u voedsel in hete olie plaatst, kan het spatten.

WAARSCHUWING!
Risico op brand en explosie
- Wanner ze verwarmd worden,{kunnen vetten en oliën ontvlambare dampen afgeven.Houd vlammen of verwarmde voorwerpen uit de buurt van vetten en oliën als u ermee koott.
- De dampen die erg hete olie vrijkomen, kunnen spontane ontbrandingveroorzaken.
- Gebrukke olie die voedselresten kan bevatten, kan brand verooorzaken bij een lagere temperatuur dan olie die voor de eerste keer worden gebruikt.
- Plaats geen ontvlambare producten of articiken die vochtig zijn met ontvlambare producten in, bij of op het apparaat.

WAARSCHUWING!
Risico op schade aan het apparaat.
- Laat geen heet kookgerei op het bedieningsspaneel staan.
Leg geen hete deksel op het glazen oppervlak van de kookplaat. - Laat kookgerei niedroogkoken.
- Zorg ervoor dat je geen voorwerpen of kookgerei op het apparaat LAST vallen. Het oppervlak kan beschadigd raken.
- Schakel de kookzones nicht in met leeg kookgerei of zonder kookgerei.
- Plaats geen aluminiumfolie op het apparatus.
Kookgerei gemaakt van gietijzer, aluminium of met een beschadigde bodem kan krassen op het glas/ glaskeramiek veroorzaken. Til deze voorwerpen algtd op als je ze op de kookplaat moet verplaatsen. - Dit apparaat is uitsluitend bestemd om mee te koken. Het mag nicht worden gebruikt voor andere doeleinden, bijvoorbeeld het verwarmen van de ruimte.
2.4 Onderhoud en reiniging
- Reinig het apparaat regelmatig om te voorkomen dat het materiaal van het oppervlak achechteruitgaat.
Schakel het apparaat uit en laat het afkoelen voordatu het schoonmaakt. - Gebruik geen waterstralen en stoom om het apparaat te reinigen.
Maak het apparaat schoon met een vochtige zacht doek. Gebruik alleen neutrale schoonmaakmiddelen. Gebruik geen schuurmiddelen, schuursponsjes, oplosmiddelen of metalen voorwerpen.
2.5 Service
- Neem contact op met de erkende servicedienst voor reparatie van het apparaat. Gebruik alleen originele reserveonderdelen.
- Met betrekking tot de lamp(en) in dit product en reservelampen die afzonderlijk
worden verkocht: Deze lampen+zijn bedoeld om bestand te zich gegen extreme fysielse omstandigheden in huishoudelijkke apparaten, zoals temperatuur, trillingen, vochtigheid, of zich bedoeld om informatatie te given over de operationele status van het apparaat. Ze zich Niet bedoeld voor gebruik in andere toepassingen en zich Niet geschikt voor verlichting in huishoudelijkke ruimten.
2.6 Verwijdering

WAARSCHUWING! Gevaar voor letsel of verstikking.
- Neem contact op met uwplaatselijke overheid voor informatie over het afvoeren van het apparatus.
Haal de stekker uit het stopcontact. - Snijd het netsnoer vlak bij het apparaat af en gooi het weg.
3. INSTALLATIE

WAARSCHUWING! Raadpleeg de hoofdstukken Veiligheid.
3.1 Voor montage
Voordat u de kookplaat installeert, dient u de onderstaande informatatie van het typeplaatje te noteren. Het typeplaatje bevindt zich onderop de kookplaat.
Serienummer
3.2 Ingebouwde kookplaten
Inbouwkookplaten mogen alleen worden gebruikt nadat zij ingebouwd zich in geschikte inbouwunits of werkbladen die aan denormen voldoen.
3.3 Aansluitsnoer
- De kookplaat worden geleverd met een aansluijkabel
- Gebruik als verwangting van het beschadigde netsnoer het volgende snoertype: H05V2V2-F dat bestand is tegen een temperatuur van 90^ of
hoger. Neem contact op met een erkend servicecentrum. Het aansluitsnoor mag alleen worden verrangen door een gekwalificierde elektricien.
3.4 Montage
Als je de kookplaat onder een kap installeert, raadpleeg je de installment-instructies van de afzuigkap voor de minimumafstandussen de apparaten.

Als het apparaat boven een lade worden geinstalleerd, kan de ventilatie van de kookplaat de artikelen die zich in de lade bevindenijdens het bereidingsproces opwarmen.

Zoek de videotutorial "Hoe installeert u uw AEG inductiekookplaat - installment op het aanrecht" door de volledige naam die in de onderstaande afbeelding staat in te typen.

YouTube
www.youtube.com/electrolux www.youtube.com/aeg
1 Inductiekookzone
2 Bedieningspaneel
3 Flexibele inductiekookzone die bestaatuit vier secties
4.2 Indeling Bedieningspaneel

Gebruik de tiptoetsen om het apparaat te bedieren. De displays, indicatielampjes en geluiden tonen welke functies worden gebruikt.
| Tip- toets | Functie Opmerking | |
| 1 | ① | AAN / UIT De kookplaat in- en uitschakelen. |
| 2 | ® | Blokkering / Kinderbeveiligingsin- Het bedieningspaneel vergrendelen/ontgrendelen.richting |
| 3 | ◎ | PowerSlide De functie in- en uitschakelen. |
| 4 | ®® | FlexiBridge Om over te schakelenCUSen drie modi van de functie. |
| 5 | - Kookstanddisplay De kookstand weergeven. | |
| 6 | - Timerindicatie voor de kookzones Geeft aan voor welke zone u deijd instelt. | |
| 7 | - Timerdisplay Deijd in minuten weergeven. | |
| 8 | ® | Hob²Hood De handmatige modus van functie in- en uitschakelen. |
| 9 | P | PowerBoost De functie in- en uitschakelen. |
| 10 | - Bedieningsstrip Het instellen van de kookstand. | |
| 11 | ® | - Om de kookzone te selecteren. |
| 12 | +/- | - Deijd verlengen of verdorten. |
| 13 | - Bedieningsstrip Het instellen van de warmteinstelling voor de flexibele in-ductiekookzone. | |
4.3 Kookstanddisplays
| Schem Beschrijving | |
| O | De kookzone is uitgeschakeld. |
| I - H | De kookzone worden gelebruikt. |
| A | Automatisch opwarmen werkt. |
| P | PowerBoost werkt. |
| E + cijfer | Er is een storing. |
| E / Z | OptiHeat Control (3-staps restwarmte-indicator): doorgaan met koken / warmhoud-stand / restwarmte. |
| L | Blokkering / Kinderbeveiligingsinrichting werkt. |
| F | Het kookgerei is nicht geschikt of te Klein, of er is geen kookgerei op de kookzone ge-ptaatst. |
Scherm Beschrijving

Automatische uitschakeling werkt.

PowerSlide werkt.
indicatielampje aanstaat, bestaat er een risico op brandwonden door restwarmte.
De inductiekookzones creeren de voor het kookproces benodigde warmte rechtstreeks in de bodem van het kookgerei. Het glaskeramiek worden verwarmd door de warmte van het kookgerei.
De individielampjes / Verschijnen als een kookzone heet is. De aanduidingen
tonen het niveau van de restwarmte voor de kookzones die je momenteel gebruikt.
Het indicatielampje kan ook verschijnen:
- voor de aangrenzende kookzones, zichs als je ze Niet gebruikt,
- als er heet kookgerei op de koude kookzone worden geplaatst,
- als de kookplaat is uitgeschakeld, maar de kookzone nog heet is.
Het indicatielampje verdwijnt als de kookzone is afgekoeld.
5. DAGELIJKS GEBRUIK

WAARSCHUWING!
Raadpleeg de hoofdstukken Veiligheid.
5.1 In- of uitschakelen
Raak 4 seconde aan om de kookplaat in ofuit te schakelen.
5.2 Automatische uitschakeling
De functie schakelt de kookplaat automatisch uit als:
- alle kookzones়uiquschakeld,
- u de kookstand nicht instelt nadat u de kookplaat hebt ingeschakeld,
- u iets hebt gemorst of iets longer dan 10 seconden op het bedieningspaneel hebt gelegd (een pan, doek, etc.). Er klinkt een geluidssignaal en de kookplaat wordenuitgeschakeld. Verwijder het voorwerp of reinig het bedieningspaneel.
- De kookplaat te heet worden (bijvoorbeeld als een steelpan droog kookit). De
kookzone moet afgekoeld zich voordat u de kookplaat waar=kunt gebruiken.
- u ongeschichte pannen gebrukt. Het symbool F gaat branden en na 2 minutes schakelt de kookzone automatischuit.
- u een kookzone nicht uitschakelt of de kookstand verandert. Na eenijdje gaat aan en schakelt de kookplaat UIT.
De verhouding:tussen kookstand en de tijd waarna de kookplaat uitschakelt:
Warmte-instelling De kookplaat wordenuitgeschakeld na

1-3
6 aur
4-75uur
8-94 uur
10-14 1,5 ur
5.3 De kookstand
Voor het instellen of wijzigen van de kookstand:
Raak de bedieningsstrip aan bij de juiste kookstand of beweeg uw vinger langs de bedieningsstrip totdat u de jusite kookstand heeft bereikt.

5.4 Het gebruik van de kookzones
Plaats het kookgerei in het midden van de gekozen kookzone. Inductiekookzones passen zich tot op zekere hoogte automatisch aan de afmeting van het kookgerei aan.
Activeer deze functie om in een kortereijd een gewenste kookstand te krijgen. Als het aan staat, werkt de zone in het begin op de hoogste kookstand en gaat daarna verder met koken op de gewenste kookstand.

Om de functie in werkung te stellen要去ekokzone koud zich.
Omde functie voor een kookzone in te schakelen:raak Paan (gaat aan).Raak meteen de gewenste kookstand aan. Na 3 seconden gaat branden.
De functie uitschakelen: wijzig de kookstand.
5.6 PowerBoost
Deze functie maakt meer vermogen beschikbaar voor de inductiekookzones.De functie kan voor een beperkte tijdsduur vooruitsluitend de inductiekookzone wordengeactiveerd.Daarna wordt deinductiekookzone automatischteruggeschakeldaar de hoogste kookstand.

Zie het hoofdstuk 'Technische gegevens'.
Om de functie voor een kookzone in te schakelen: raak P aan. Raat aan.
De functie uitschakelen: wijzig de kookstand.
5.7 Timer
- Timer met aftelfunctie
U kunt deze functie gebruiken om de lenghte van een kooksessie in te stellen.
Stel eerst de warmtestand voor de kookzone in en dan de functie.
Om de kookzone in te stellen: tik
herhaaldelijk op totdat het lampje van een kookzone verschijnt.
Om de functie te activeren: tik op + van de timer om deijd in te stellen (00 - 99 minutes). Als het lampje van de kookzone gaat knipperen, worden deijd afgeteld.
Om de resterende hijd te zien: tik op om de kookzone in te stellen. Het indicatielampje van de kookzone begint te knipperen. Op het display worden de resterende hijd weergegeven.
Om de hij te wijzigen: tik op om de kookzone in te stellen. Tik op + of -
Om de functie te deactiveren: tik op om de kookzone in te stellen en tik verrolgens op. De resterendeijd teelt terug tot 00. Het indicatielampje van de kookzone verdwijnt.

Als de aftelling beeindigd is, klinkt er een geluidssignaal en knippert 00. De kookzone wordenuitgeschakeld.
Om de functie te stoppen: tik op
- CountUp Timer
Gebruik deze functie om in de gaten te houden hoe lang de kookzone werkt.
Om de kookzone in te stellen: tik
herhaaldelijk op totdat het lampje van een kookzone verschijnt.
Om de functie te activeren: tik op van de timer. Uverschijnt. Als het lampje van de kookzone gaat knipperen, worden deijd opgeteld. Het display schakeltussen en de getelde tijd (in minutes).
Om in de gaten te houden hoelang de kookzone werkt: tik op ① om de kookzone in te stellen. Het indicatielampje van de kookzone begint te knipperen. De display geeft aan hoe lang de zone werkt.
Om de functie te deactiveren: tik op en tik verwolgens op of . Het indicatielampje van de kookzone verdwijnt
Kookwekker U kunt deze functie gebruiken wanner de kookplaat is ingeschakeld maar de kookzones Niet werken. De warmtestand op het display toont
Om de functie te activeren: tik op en tik verzolgens op van de timer om deijd in te stellen. Als deijd verstreken is, klinkt er een geluidssignaal en knippert 00.
Om de functie te stoppen: tik op ①
i
De functie heeft geen invloed op de werkking van de kookzones.
5.8 Blokkering
U kunt het bedieningspaneel vergrendelen terwijl de kookzones in werking zijn. Hiermee worden voorkomen dat de kookstand per ongeluk worden veranderd.
Stel eerst de kookstand in.
De functie inschakelen: raak ana. L gaat gedurende 4 seconden aan. De timer blijft aan.
De functie uitschakelen: Raak aan. De vorige kookstand gaat aan.
i
Als u de kookplaat uitzet, stopt u deze functie ook.
5.9 Kinderbeveiligingsinrichting
Deze functie voorkomt dat de kookplaat onbedoeld worden gezruikt.
Om de functie te activeren: activeer de kookplaat met ①Stel geen warmteinstelling in. Raak ② seconden aan. gaat aan. Schakel de kookplaatuit met ①
Om de functie te deactiveren: activeer de kookplaat met ①. Stel geen warmteinstelling in. Raak 2 seconden aan. gaat aan. Schakel de kookplaat uit met ①
Om de functie voor slechts een kooksessie te onderdukken: activeer de kookplaat met ① gaat aan. Raak 4 seconden aan. Stel de kookstand in binnen 10 seconden. U Aunt de kookplaat bedieren. Als u de kookplaat uitschakelt met ①treedt de functie wee in werking.
5.10 OffSound Control (De geluiden in- en uitschakelen)
Schakel de kookplaat UIT. Raak 3
seconden aan. Het display gaat aan enuit. Raak 3 seconden aan. of gaat branden. Raak van de timer aan om een van het volgende te kiezen:
- -de signalenংn uit
- de signalen zijn aan Om uw keuze te bevestigen要去 wachtent tot de kookplaat automatisch uitschakelt.
Als de functie op bstaat, kunt u de geluiden alleen horen als:
·u aahraakt
- Kookwekker maar beneden kommt
- Timer met aftelfunctie maar beneden kommt
- u iets op het bedieningspaneelplaatst.
Als er meertere zones actief zijn en het verbruike vermogen de limiet van de stroomtoevoer overschrijdt, verdweit deze functie het beschikbare vermogen:tussen alle kookzones.De kookplaat regelt de warmte
installingen om de zekeringen van de installmentie in het huis te beschermen.
- Kookzones zijn gegroepeerd volgens de locatie en het aantal fasen van de kookplaat. Elke fase heeft een maximale elektriciteitslading van 3700 W. Als de kookplaat de limiet van het maximaal beschikbare vermogen bereikt binnen een fase, worden het vermogen van de kookzones automatisch verlaagd.
- De warmte-instelling van de gekozen kookzone heeft.altijd prioriteit. Het resterende vermogen zal:tussen deeer geactiveerde kookzones worden verdoeffeld, in omgekeerde volgorde van selectie.
- De weergave van de warmte-instelling van de verlaagde zones wisseltussen de aanvankelijk gekozen warmte-instelling en de verlaagde warmte-instelling.
Wacht totdat het display stopt met knipperen of verlaag de kookstand van de LAST geselecteerde kookzone. De kookzones blijven werken met de verlaagde warmte-instelling. Wijzig indien nodig handmatig de warmte-instellenen van de kookzones.
Zie de afbeelding voor möglichke combinaties waarin vermogen over de kookzones kan worden verdelijk.

5.12 Hob²Hood
Het is een geavanceerde automatische functie die de kookplaat op een speciale afzuigkap aansluit. Zowel de kookplaat als de afzuigkap heeft een infraroodontvanger. De snugelid van de ventilator wordt automatisch bepaald op basis van de modusinstelling en de temperatuur van de heetste pan op de kookplaat. U sunt de ventilator van de kookplaat handmatig bedieren.
Voor de meeste afzuigkappen wordt het afstandsbedieningssystemeuitgeschakeld. Inschakelen voordat u de functie gebruikt. Zie voormeer informatie de gebruikershandleiding van de afzuigkap.
De functie automatisch bedienen
Stel de automatische modus in op H1-H6 om de functie automatisch te bedieren. De kookplaat worden oorspronkelijk ingesteld op H5.De afzuigkap reageert als u de kookplaat in gebruik neemt. De kookplaat herkent de temperatuur van de pannen automatisch en stelt de snelheid van de ventilator erop af.
Automatische modi
| Automata-tische verlich-ting | Koken1) | Bakken2) |
| Modus H0 Uit Uit Uit | ||
| Modus H1 Aan Uit Uit | ||
| Modus Aan Ventilator-snelheid 1 | Ventilator-snelheid 1 | |
| Modus H3 Aan Uit Ventilator- | snelheid 1 | |
| Modus H4 Aan Ventilator-snelheid 1 | Ventilator-snelheid 1 | |
| Modus H5 Aan Ventilator-snelheid 1 | Ventilator-snelheid 2 | |
| Modus H6 Aan Ventilator-snelheid 2 | Ventilator-snelheid 3 | |
1) De kookplaat detecteert het kookproces en activeert de ventilatorsnelheid overeenkomstig de automatische modus.
2) De kookplaat detecteert het bakproces en activeert de ventilatorsnelheid overeenkomstig de automatische modus.
3) Deze modus activeert de ventilator en de verlichting en reageert nicht op de temperatuur.
- Schakel het apparaatuit.
- Raak ① 3 seconden aan. Het display gaat aan enuit.
3.Raak seconds aan.
4. Raak en paar keer aan tot aa gaat.
5. Raak van de timer aan om een automatische modus te selecteren.

Schakel de automatische modus van de functieuit om de kookplaat direct te bedieren op het kookplaatpaneel.

Als u stopt met koken en de kookplaat uitschakelt, kan de ventilator nog even blijven werken. Daarna schakelt het systeem de ventilator automatisch uit en worden voorkomen dat u de ventilator per ongeluk de komende 30 seconden activeert.
De ventilatorsnelheid handmatig bedieren U kunt de functie ook handmatig bedieren.
Raak daartoe aan als de kookplaat actief is. Dit schakelt de automatische bediening
van de functie uit zodat u de ventilatorsnelheid handmatig kunt veranderen. Als u op drukt, wordt de ventilatorsnelheid met een verhoogd. Als u een intensief niveau bereikt en weeer op drukt, stelt u de ventilatorsnelheid in op 0 waardoor de afzuigkapventilator uitschakelt. Om de ventilator wee te starten met ventilatorsnelheid 1, raakt u aan.

Schakel de kookplaatuit en\ weer aan om de automatische\ bediening van de functie te\ activeren.
Deverlichtingactiveren
U kunt de kookplaat instellen om de verlichting automatisch te activeren als u de kookplaat aan zet. Zet waarvoor de automatische modus op H1-H6.

De verlichting van de afzuigkap gaat uit 2 minuten nadat u de kookplaat heeftuitgeschakeld.
Raadpleeg de hoofdstukken Veiligheid.
6.1 FlexiBridge -functie
De flexibele inductiekookzone bestaat uit vier gedeelten. De gedeelten können worden gecombineerd in twee kookzones met verschillende maten, of in een große kookzone. U kiest de combinatie van de zones door de modus te kiezen die van toepassing is op het formaat van het kookgerei dat u wilt gebruiken. Er bestaan drie modi: Standaard (automatisch geactiveerd als u de kookplaat aanzet), Big Bridge (grote overbrugging) en Max Bridge (maximale overbrugging).

Gebruik de twee regelbalken aan de linkerkant om de kookstand in te stellen.
Schakelen tussen de modi
Gebruik de tiptoets om:tussen de modi te schakelen:


Als u:tussen de modi schakelt dan wordt de warmte-instelling teruggezet op 0.
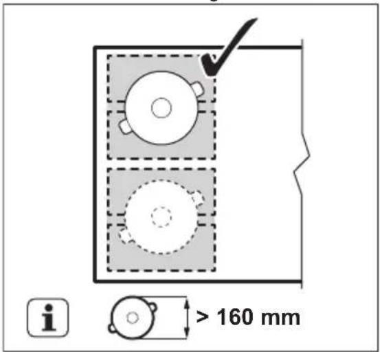
Diameter en positie van het kookgerei
Kies de modus die aansluit op de afmeting en de vorm van het kookgerei. Het kookgerei要去 de geseleerde zone zoveel möglichk bedekken. Plaats het kookgerei in het midden van de geseleerde zone!
Plaats kookgerei met een bodem diameter die kleiner is dan 160 mm op het midden van een enkel gedeelte.

Plaats het kookgerei met een bodem diameter die groter is dan 160~mm in het midden van twee gedeelten.

6.2 FlexiBridge Standaardmodus
Deze modus worden geactiveerd als u de kookplaat aanzet. Het brengt de gedeelten samen in twee afzonderlijke kookzones. U kunt de warmte-instelling voor iedere zone apart instellen. Gebruik de twee regelbalken aan de linkerkant.

Juiste positie voor kookgerei:

Onjuiste positie kookgerei:

6.3 FlexiBridge Big Bridge-modus (grote overbrugging)
Om de modus te activeren, drukt u op totdat u het lampje van de juiste modus ziet. Deze modus brengt drie achefterste gedeelten samen in een kookzone. Het voorste gedeelte is Niet verbonden en blijft werkken als afzonderlijke kookzone. U kurz de warmte-instelling voor elke zone afzonderlijk instellen. Gebruik twee regelbalken aan de linker zijkant.

Juiste positie voor kookgerei:
Om deze modus te gelebruiken moet u het kookgerei op de drie samengebrachte gedeeltenplaatsen. Als u kookgerei gebruikt datkleiner is dan twee gedeelten, geeft het
display Weer en schakelt de zone na 2 minutesuit.

Onjuiste positie kookgerei:

6.4 FlexiBridge Max Bridge mode (Maximale overbrugging)
Om de modus te activeren, drukt u op 80 totdat u het lampje van de juiste modus ziet. Deze modus brengt alle gedeelten samen in een kookzone. Gebruik een van de twee regelbalken links om de warmte-installling te bedieren.

Juiste positie voor kookgerei:
Om deze modus te gebruiken moet u het kookgerei op de vier samengebrachte gedeeltenplaatsen. Als u kookgerei gebruikt datkleiner is dan drie gedeelten, geeft het displayFweer en schakelt de zone na 2 minutesuit.

Onjuiste positie kookgerei:

6.5 PowerPoint
Deze functie maakt het u möglichk de temperatuur aan te passen door het kookgerei maar een andere positie op de inductiekookzone te bewegen.
De functie verdweit de inductiekookzone in drie zones met verschillende warmteinstellungen. De kookplaat neemt de positie van het kookgerei wee en past de warmteinstelling aan op de positie. U kurz het kookgerei in de voorste, de middelste of de achterste positie zetten. Als u het kookgerei in de voorste positie plaatst, krijgt u de hoogste kookstand. Om het te verminderen, verplaatst u het kookgerei maar de middelste ofchterste positie.
i Gebruik maar een pot als u met\ deze functie werkt.

Algemene informatatie:
- de minimale bodem diameter van het kookgerei要去 voor deze functie 160 mm়n.
- Het display van de warmte-instelling voor de bedieningsstrip linksachter geeft de positie van het kookgerei op de inductiekookzone waar. Voor 1 , midden 1 , anschter 1

- Display van de warmte-instelling voor de bedieningsstrip linksachter geeft de warmerinstelling waar. Gebruik de bedieningsstrip linksvoor om de warmte-instelling te wijzigen.
- Als u de functie voor het eerst activeert, krijgt u een warmte-instelling voor de
voorste positie, voor de middelste positie en voor dechterste positie.

U kunt de warmte-instelling voor elke positie afzonderlijk wijzigen. De kookplaat za uw warmte-instellenen onthouden voor de volgende keer dat u de functie activeert.
De functie inschakelen
Plaats om de functie te activeren het kookgerei in de juiste positie op de kookzone. Tik op . Het lampje boven het symbool gaat aan. Als u geen kookgerei op de kookzone plaatst, gaat aan en na 2 minutes worden de flexibele inductiekookzone ingesteld op .
De functie uitschakelen
Druk op om de functie uit te schakelen of zet de warmte-instelling op. Het lampje boven het symbol gaat uit.
7. AANWIJZINGEN EN TIPS

WAARSCHUWING!
Raadpleeg de hoofdstukken
Veiligheid.
7.1 Pannen

Voor inductiekookzones creëert een sterk elektromagnetisch veld de但它 in de pannen zeer snug.
Gebruik de inductiekookzones met geschikte pannen.
- De bodem van de pannen moet zo dik en vlak möglichk�.
- Zorg ervoor dat bodems schoon en droog zich voordat de pannen op de kookplaat worden gezet.
Schuif of wrijf de pan Niet over het keramische glas, om krassen te voorkomen.
Panmaterialen
- goed: gietijzer, staal, geëmailleerd staal, roestvrij staal,meerlaagse bodem
(aangemerkt als geschikt door de fabrikant).
- nied goed: aluminium, koper, messing, glas, keramiek, porselein.
Een pan is geschikt voor een inductiekookplaat als:
water op de hoogste kookstand binnen korteijd worden verwarmd,
- een magneet op de onderkant van het kookgerei plakt.
Afmetingen van pannen
- Inductiekookzones passen zich tot op zekere hoogte automatisch aan de afmetingen van pannen aan.
- De efficiente van de kookzone hangt samen met de diameter van de pan. Pannen met een diameter kleiner dan het minimum ontvangen slechts een deel van het vermogen dat door de kookzone worden gegeneerd.
- Gebruik zowel om veiligheidsredenen als voor optimale kookresultaten geen pannen groter dan aangegeven in de kookzonespecificaties. Zorg ervoor dat pannenijdens het koken Niet zich bij het bedieningspaneel blijven. Dit kan invloed hebben op de werkung van het bedieningspaneel of onbedoeld de kookplaatfuncties activeren.

Raadpleeg de technische gegevens.
7.2 Lawaai tijdens gebruik
Als u dit hoort:
-
kraakgeluid: de pan is gemaakt van verschillende materialen (een sandwich-constructie).
-
fluitend geluid: bij gebruik van een kookzone met een hoge kookstand en als het kookgerei is gemaatk van verschillende materialen (een sandwich-constructie).
- zoemend geluid: als u hoge kookstandengebruikt.
- klikken: er treedt elektrische schakeling op.
- sissend, brommend: de ventilator werkt.
Deze geluiden zijn normal en hebben niets met een defect te make.
Om energia te besparen schakelt het verwarmingselement van de kookzone eerderuit dan het signaal van de timer met aftelfunctie klinkt. Het verschil in werkingsstijd hangt af van het niveau van de kookstand en de tijd dat u kockt.
7.4 Voorbeelden van kooktoepassingen
De correlatie:tussen de kookstand en het stroomverbruik van de kookzone is nicht linear. Wanner u de kookstand verhoogt, is dit Niet proportioneel met de toename in stroomverbruik van de kookzone. Het betekent dat een kookzone op de medium kookstand minder dan de helft van het vermogen gezruikt.

De gegevens in de tabel dienen alleen als richtig.
| Warmte-instel- ling | Gebruin om het volgende te doen: | Tijd (min) | Aanwijzingen |
| -1 | Houd gekockt voedsel warm. indien no-dig | Doe een deksel op het kookgerei. | |
| 1 - 3 Hollandisesaus, smelten: boter, cho-colade, gelatine. | 5 - 25 Vanarend totarend mouthsen. | ||
| 1 - 3 Harden: pluizige omeletten, gebakken eieren. | 10 - 40 Kook met een deksel erop. | ||
| Warmte-instel- ling | Gebruik om het volgende te doen: | Tijd (min) | Aanwijzingen |
| 3 - 5 Zachtjes aan de kook brengen van rijst engerechten op melkbasis, reeds be-reide gerechten opwarmen. | 25 - 50 Voeg minimaal twee koer zo veel vocht toe als rijst en roer gerechten op melkbasis halverwege de procedure door. | ||
| 5 - 7 Stoom groenten, vis, vlees. 20 - 45 Voeg eenaar eetlepels vocht toe. | |||
| 7 - 9 Stoom aardappelen. 20 - 60 Gebruik max. 1/4 l water voor 750 g | |||
| aardappelen. | |||
| 7 - 9 Bereid grotere hoeveelheden voedsel, stoofschotels en soepen. | 60 - 150 Tot 3 liter vloeistof plus ingredienten. | ||
| 9 - 12 Zachtjes bakken: escalope, kalfsvlees cordon bleu, cutlets, rissoles, worstjes, lever, roux, eieren, pannenkoeken, do-nuts. | indien no-dig | Halverwege de bereidingstijd omdraai- en. | |
| 12 - 13 Zware friet, hash browns, lenden-steaks, steaks. | 5 - 15 Halverwege de bereidingstijd omdraai- en. | ||
| 14 Kook water, kook pasta, braadvlees (goulash, stoovlees), frietjes bakken. | |||
| P | Grote hoeveelheden water koken. PowerBoost is ingeschakeld. | ||
7.5 Praktische tips voor Hob²Hood
Wonneer je de kookplaat gebruikt met de functie:
- Bescherm het paneel van de afzuigkap gegen direct zonlicht.
- Plaats geen halogeneenlicht op het paneel van de afzuigkap.
- Dek het bedieningspaneel van de afzuigkap Niet af.
- Onderbreek het signaalussen de kookplaat en de afzuigkapiet (bijvoorbeeld met een hand, een handgreep van een pan of een grope pan). Zie de afbeelding.
De afzuigkap in de afbeelding is slechts een voorbeeld.

i Andere op afstand bediende apparaten kuren het signaal hinderen. Gebruik dergelijkke apparaten Niet in de buurt van de kookplaat verwijl Hob2Hood ingeschakeld is.
Afzuigkappen met de Hob²Hood-functie Voor het volledige assortment afzuigkappen dat met deze functie werkt, raadpleeg je once website van de consument. De AEG-
8. ONDERHOUD EN REINIGING

WAARSCHUWING!
Raadpleeg de hoofdstukken
Veiligheid.
8.1 Algemene informatie
- Reinig de kookplaat na elk gebruik.
- Gebruik alsijd kookgerei met een schone bodem.
- Krassen of donkere vlekken op het oppervlak hebben geen invloed op de werking van de kookplaat.
- Gebruik een specifiek schoonmaakmiddel voor het oppervlak van de kookplaat.
- Gebruik een speciale schraper voor het glas.

De afdruk op de flexibele inductiekookzone kan vies worden of van kleur veranderen door het schuiven van kookgerei. Je kunt het gebied op een standardmanier reinigen.
8.2 De kookplaat schoonmaken
- Verwijder direct: gesmolten kunststof, plastic folie, suiker en suikerhoudend voedsel, anders kan dit schade aan de kookplaat veroorzaken. Doe voorzichtig om brandwonden te voorkomen. Gebruik de speciale schraper op de glazenplaat en verwijder resten door het blad over het oppervlak te schuiven.
- Verwijder nadat de kookplaat voldoende is afgekoeld: kalk-en waterkringen, vetspatten en metaalachtig glanzende verkleuringen. Reinig de kookplaat met een vochtige doek en een beetje nicht-schurend reinigingsmiddel. Droog de kookplaat na reiniging af met een zachte doek.
- Verkleuring glanzende metalen verwijderen: reinig het glazen oppervlak met een doek en een oplossing van water met azijn.
9.PROBLEEMOPLOSSING

WAARSCHUWING!
Raadpleeg de hoofdstukken Veiligheid.
9.1 Wat moet je doen als ...
Problem Mogelijk oorzaak Oplossing
Je kunt de kookplaat Niet inschakelen of bedieren.
De kookplaat is nicht aangesloten op een stopcontact of Niet goed geinstalleerd.
Controleer of de kookplaat goed aangesloten is op het lichtnet.
De zekering is doorgeslagen. Verzeker je ervan dat de zekering de
oorzaak van de storing is. Als de zekeringen keer op koer doorslaan, neem je contact op met een erkende instal-. teur.
Probleem Mogelijk oorzaak Oplossing
| Stel gedurende 10 seconden geen kookstand in. | Schakel de kookplaat opnieuw in en stel de kookstand binnen 10 seconden in. | |
| Je heb 2 ofmeer sensorvelden te-gelijkkertijd aangeraakt. | Raak slechts=eén sensorveld aan. | |
| Water of vetvlekken op het bedie-ningspaneel. | Reinig het bedieningspaneel. | |
| Er klinkt een geluidssignaal en de kookplaat worden uitzgeschakeld. Als de kookplaat worden uitzgeschakeld, klinkt er een geluids-signaal. | Je hebiets op een ofmeer sensor- velden geplaatst. | Verwijder het voorwerp van de sensor- velden. |
| De kookplaat worden uitzgeschakeld. | Je hebiets op het sensorveld ge- plaatst① | Verwijder het voorwerp van het sen-sorveld. |
| De restwarmte-indicator gaat Niet aan. | De zone is Niet heet onderdeze slechts kortstondig is gebruikt, of de sensor is beschadigd. | Als de zone voldoende lang gebruikt is om heet teijken, neem je contact op met een erkende servicedienst. |
| Hob?Hood werknet. Je heb het bedieningspaneel afge- dekt. | Verwijder het voorwerp van het bedie-ningspaneel. | |
| Je maakt gebruik van een—hele hoge pan die het signaal blokkeert. | Gebruik eenkleiner pan, verander van kookzone of bedien de afzuigkap handmatig. | |
| Automatisch opwarmen werknt Niet. | De zone is heet. Laat de zone voldoende afkoelen. | |
| De hoogste kookstand is ingesteld. De hoogste kookstand heeft hetzelfde vermogen als de functie. | ||
| De kookstand schakeltussen twee niveaus. | Stroommanagement is in werking. Raadpleeg 'Dagelijks gebruik'. | |
| De sensorvelden worden heet. De pan is te groot of je plaatst deze te dicht bij de bedieningsknoppen. | Plaats grotere pannen indien möglich op dechterste kookzones. | |
| Er klinkt geen geluidssignaal wan- neer je de tiptoetsen van het be-dieningspaneel aanraakt. | De signalen+zijnuit. Schakel de geluiden in. Raadpleeg 'Dagelijks gebruik'. | |
| De flexibele inductiekookzone verwarmt de pan Niet. | De pan staat op een verkeerde plek op de flexibele inductiekookzone. | Plaats de pan op de juiste plek op de flexibele inductiekookzone. De plaatsvan de pan is afhankelijk van de inge-schakelde functie of modus. Zie 'Flexi-bele inductiekookruimte'. |
| De diameter van de panbodem is vekererd voor de ingeschakelde functie of functiemodus. | Gebruik alleen pannen met een diame- ter die geschikt is voor de ingeschakel- de functie of functiemodus. Zie 'Flexi-bele inductiekookruimte'. | |
| Lgaat aan. | Kinderbeveiligingsinrichting of Blo-kering werkct. | Raadpleeg 'Dagelijks gebruik'. |
| Fgaat aan. | Er staat geen pan op de zone. Plaats een pan op de zone. | |
Probleem Mogelijk oorzaak Oplossing
| De pan is nicht geschikt. Gebruik geschichte pannen. Zie 'Aan- | wijzingen en tips'. | |
| De diameter van de bodem van de pan is te Klein voor de zone. | Gebruik pannen met de juiste afmetinen. Raadpleeg de technische gevevens. | |
| FlexiBridge (Flexible Bridge) werk. Eén of meerere delen van de werkende functiemodus Niet afgedekt door de pan. | Plaats de pan op het juiste anteile geelten van de functiemodus die in werkking is of wijzig de functiemodus. Zie 'Flexibele inductiekookruimte'. | |
| PowerSlide werk. Er zijn twee pan- nen op de flexibele inductiekookzo- ne geplaatst. | Gebruik slechts=eén pan. Zie 'Flexibele inductiekookruimte'. | |
| en een getal gaan branden. Er is een fout opgetreden in de kookplaat. | Schakel de kookplaatuit en schakel deze na 30 seconden weein. Wan- neer leververschijnt, trek je de stekker van de kookplaatuit het stop- contact. Steek de stekker van de kook- plaat er na 30 seconden weein. Als het probleem zich blijft voordoen, neem je contact op met een ergende servicedienst. | |
| Je kunt een constant piepgeluid horen. De elektrische aansluiting is ver- keerd. | Trek de stekker van de kookplaatuit het stopcontact. Laat de installmentie controleren door een erkende elektr- cien. | |
9.2 Als je geen oplossing kunt vinden...
Als je Niet zich het probleem(Int)kunt verhopen, neem dan contact op met je verkoper of een erkende serviceafdeling. Geef de gegevens op het typeplaatje. Geef ook de driecijferige code voor het glaskeramiek (bevindt zich in de hoek van het glazen oppervlak) en een
foutmelding die gaat branden. Zorg ervoor dat je de kookplaat correct gebruikt. Als dit Niet het geval is, is het onderhoud van een servicemonteur of dealer nicht gratis, ookijdens de garantiperiode. De informatatie over garantiperiode en geauthoriseerde servicecentra vind je in het garantieboekje.
Inductie 7.35 kW Gemaakt in Duitsland
Serienr. 7.35 kW
AEG

10.2 Specificatie kookzones
| Kookzone Nominal ver-mogen (max warmte-instel-ling) [W] | PowerBoost [W] PowerBoost maximale duur [min] | Diameter van het kookgerei [mm] |
| Midden acheter 2300 3200 10 180 - 210 | ||
| Rechtsvoor 1800 2800 10 145 - 180 | ||
| Flexibele inductie-kookzone | 2300 3200 10 minimum 100 | |
| Het vermogen van de kookzones kan enigszins afwijken van de gegevens in de tabel. Het verandert met het materiaal en de afmetingen van het kookgerei. | Gebruik voor optimale kookresultaten alleen kookgerei met een diameter nicht groter dan vermeld in de tabel. | |
11. ENERGIEZUINIGHEID
11.1 Productinformatie
| Modelnummer IKE84471XB | |
| Type kookplaat Inbouwkookplaat | |
| Aantal kookzones 2 | |
| Aantal kookgebieden 1 | |
| Verwarmingstechnologie Inductie | |
| Diameter van Ronde kookzones (Ø) Midden anschter | 21,0 cm |
| 18,0 cm | |
| Lengte (L) en bredte (W) van het kookgebied Links L 45,8 cm | W 21,4 cm |
| Energieverbruik per kookzone (EC electric cooking) Midden anschter | 177,0 Wh / kg |
| 174,6 Wh/kg | |
| Energieverbruik van het kookgebied (EC electric cooking) | Links 182,6 W • uur/kg |
| Energieverbruik van de kookplaat (EC electric hob) 179,9 W • uur/kg | |
| * Voor Europese Unie volgens EU 66/2014. Voor Belarus volgens STB 2477-2017, Annex A. Voor Oekraïne vol-gens 742/2019. | |
| EN 60350-2 - Huishoudelijkke elektrische kookapparaten - deel 2: Kookplaten - Methoden voor het meten van prestaties | |
11.2 Energiebesparing
U kunt elke dag energia besparenijdens het koken door de onderstaande tips te volgen.
- Warm alleen de hoeveelheid water op die u nodig hebft.
-
Doe indien möglich als任何时候 een deksel op de pan.
-
Zet uw kookgerei op de kookzone voordat u deze activeert.
- Zet kleiner kookgerei op Kleinere kookzones.
-
Plaats het kookgerei precies in het midden van de kookzone.
-
Gebruik de restwarmte om het eten warm te houden of te smelten.
12. MILIEUBESCHERMING
Recycler de materialen met het symbol
Gooi de verpakking in een geschikte afvalcontainer om het te recycleren. Bescherm het milieu en de volksgezondheid en recycler op een correcte manier het afval van elektrische en elektronische apparaten.
Gooi apparaten gemarkeerd met het symbol
niet weg met het huishoudelijk afval. Breng het productaar het milieuustation bij u in de buurt of neem contact op met de gemeente.
PARIMATE TULEMUSTE SAAVUTAMISEKS
Dezactivarea functiei
Inductie 7.35 kW Fabricat in Germania
Nr. ser. 7.35 kW
AEG

SimpelGids