CCG5100SW1 - Aragaz CANDY - Manual de utilizare gratuit
Găsiți gratuit manualul dispozitivului CCG5100SW1 CANDY în format PDF.
Întrebări frecvente - CCG5100SW1 CANDY
Questions des utilisateurs sur CCG5100SW1 CANDY
0 question sur cet appareil. Repondez a celles que vous connaissez ou posez la votre.
Poser une nouvelle question sur cet appareil
Descărcați instrucțiunile pentru Aragaz în format PDF gratuit! Găsiți manualul dvs. CCG5100SW1 - CANDY și luați din nou în mână dispozitivul dvs. electronic. Pe această pagină sunt publicate toate documentele necesare pentru utilizarea dispozitivului dvs. CCG5100SW1 mărcii CANDY.
MANUAL DE UTILIZARE CCG5100SW1 CANDY
- Nu permitei copilor mai mici de 8 ani să stea în preajma aparatului, fără supravegherea adulților.
- Nu permitei copiilor si personelor cu capabilitati fizice, senzoriale sau mentale reduse sau care nu cunosc modul deutilizare al aparatului sa il utilizeze, fara stricta supraveghere a unui adult responsabil pentru siguranta lor Sau dacau au fost instrui asupra modului deutilizare si a potentialelor pericole care pot apare in tampul utilizarii aparatului.
- Nu permieti copilor să se joace cu acest aparat.
- Nu permitei copilor sā realizeze operatiuni de curātare sī intreīnere, fārā supravegherea unui adult.
AVERTIZARE: Nu lasati nesupravegheate recipientele in care preparati alimente cu ulei sau grasime, deoarece exista pericol de incendiu. - NU incercati să stingeti focul cu apă, ci opriti functiOnarea aparatuluiși acoperiti flacăra, de exemplu cu un capac sau o pătura.
AVERTIZARE: Pericol de incendiu: nu depositi obiecte pe suprafata de preparare. - In tampul utilizarii, aparatul devine fierbinte. Aveti grijä sa nu atingeti elementele fierbinti din interiorul cuptorului.
AVERTIZARE: Părtile accesibile devin fierbinti in timpul utilizarii. Nu permiteți copilor să stea în preajma aparatului. - Nu utilizati produse de curătare abrazive sau spatule metalice ascuțite pentru a curăța ușa din stică a cuctorului deoarece există riscul zgáriorii suprafeteiși geomul va deveni mat.
- Partea interioară a sertarului de la bază devine fierbinte.
- Cuptorul trebuie oprit inainte de a scoate dispositivul de protectie si apoi, dupa curatare, dispositivul de protectie trebuie reinstalat in conformitate cu instructiunile.
- Utilizati numai proba de temperatura recomandata pentru acest cuptor.
- Nu utilizati un dispositiv pe bază de abur pentru curățarea aparatului.
- Reziduurile alimentare trebuie indepartate de pe capac inante de schidere.
- Lasahti suprafata plitei sa se raceasca inainte de a inhide capacul.
AVERTIZARE: Verificazioni ca aparatul sα fie oprit din functiionare inainte de a inlocui becul, pertru a se evita orice pericol de electrocutare.
- Daca aparatul este asezat pe un suport, trebuie luate masuri pentru a preveni alunecarea aparatului de pe suportul respectiv.
- O masura pentru deconectarea de la tensiunea de retea avand o separatie a contactului in toti poli ce furnizeazao deconectare complea in cazul condiilor categorii lI de supratensiune, trebuie sa fie incorporata in cablajul de fixare conform regulilor de cablare.
- in instruţiuni trebuie specificat tipul de cablu care trebuie適用, avand în vedere temperatura din partea din spate a aparatului.
- In cazul in care cablul de alimentare este deteriorat, acesta trebuie inlocuit cu un cablu special de catre o persona calificata de la un centru de service autorizat.
ATENTIE: Pour a se evita orice pericol ca urmare a resetarii dispositivului de siguranta, acest aparat nu trebuie alimentat prin intermediul unui echipament de intrerupere extern, cum ar fi un programator sau un alt tip de circuit care este pornit si oprit periodice de catre un alt disposizitiv.
- Acest aparat trebuie instalat in conformitate cu reglementarile in vigoare 日 trebuie Utilizat numai intr-un spatiu bine ventilat. Citi instructiunile inainte de a instalala sau utiliza acest aparat.
- Aceste instruetioni sunt valabile numai pentru tara al carui cod apare mentionat pe aparat. Daca nu apare pe aparat simbolul corespunzator, va fi NEEDAR sA citi i instruetiune tehnice care va oferă informatiile necesare pentru modificarea aparatului in functie de tara unde este Utilizat.
- "inaine de instalare, verificati dacă acele condiții de distribuție locale (tipul de gazși presiunea gazului)și reglajele aparatului sunt compatibile";
- "conditiile de reglare pentru acest aparat sunt mentionate pe placuţa cu date tehnice";
- "acent aparat nu trebuie conectat la un echipament pentru evacuarea produselor rezulate prin combustie. Acesta trebuie instalat si conectat in conformitate cu reglementarile de instalare in vigoare. O atentie deosebita trebuie acordata cerintelor specifie referitoare la ventilatie".
- "Utilizarea unui aparat de preparare pe gaz duce la formarea de caldurăși umezeală în incaperea în care este instalat. Verificati ca bucătâria sa fie bine aerisita: lasati spatiiile de ventilatie naturață beschise sau instalati un echipament pentru ventilatie mecanica (o hotă de evacuare). Utilizareaindhelungatași prelungită a aparatului poate necesita o sursă de ventilatie suplimentara, de exemplu deschiderea unei ferestre sau marirea vitezei de evacuare a hotei, acolo unde este instalata o hotă".
ATENTIE: Pàrtile accesible pot deveni fierbinti atunci cánd se utilizesza grill-ul. Nu permitei copilor sa se apropie de aparat.
AVERTISMENT: Pourtu prevenirea inclinarii aparatului, masuri de stabilizare trebuie sa fie instalate. Va rugam faceti referire la instruetiunile de pe pagina 131 al acestui manual.
1. MÁSURI GENERALE PRIVIND SIGURANTA
Vã multumim pentru achizitionarea acestui produs. Pentru a obtine cele mai bune performante de la acest aragaz, vã recomandam urmatoarele:
-Citi ci atentie acest manual deutilizare: contine informatii importante referitoare la instalarea,utilizarea sintretinerea aragazului in condi tii de siguranta. Pastrati acest manual pentru referinte ulterioare.
- In cazul in care transferati aparatul unei terte persone, va recomandam sa ii inmanati si manualul deutilizare.
In timpul functiari, toate partile accesible ale acestua devin fierbinti. Aveci grijsa nu atingeti aceste elemente. La prima punere in functiune a cuptorului, este posibil ca acesta sa emane un miros de fum. Lasati cuptorul sa functioneze tamp de 2 ore, fara alimente in interior.
1.1. SIMBOLURI UTILIZE IN ACEST MANUAL
Pentru o intelegere mai u spar a informa ior din acest manual, au fost utilize urmatoarele symboluri:

Informati referitoare la siguranta
Informati pentru protejarea mediului
Acest aparat este in conformitate cu directivele CEE ale UE

Avertizare, posibilitate de basculare.
Limitāri impotrivaba basculārii.
1.2. DECLARATIE DE CONFORMITATE
Toate piesele acestui aparat care vin in contact cu alimentele sunt in conformitate cu prevederile Directivei CEE 89/109. Aparatul este in conformitate cu Directivee Europene 73/23/CEE, 89/336/CEE si 90/396/CEE, inlocuite de 2006/CE, 2004/108/CE si 2003/55/CE si amendamente te ulcerioare. Acest aparat este de asemenea in conformitate cu Directa Generala 93/68 si amendamente te ulcerioare.
1.3. RECOMANDÄRIPRIVINDSIGURANTA
- Acest aragaz trebuie'utilizat numai in scopul pentru care a fost creat: prepararea alimentelor. Orice alta utiliser, de exemplu ca sursa de incalzire, nu este adecvatăși, implicit, este periculoasă.
- Producatorul nu işi asumă nicio responsabilitate pentru eventualele deteriorari care apar ca urmare a unei utilizări inadecate, incorecte sau irresponsabile.
- Atunci cánd utilizes aparate electrice, trebuie sa respectati másurile de siguranta de bazá. In cazul in care aparatul este defect, opriti fonctionarea acestua si deconectati-l de la sursa de alimentare cu energia electrică. Nu il atingeti. Luati legătura cu un centru de service autorizat.
- In tampul utilizarii, aparatul devine fierbinte, in special geamul usii cuctorului. Nu permitei copilor să se aproprie de captor, mai ales atunci candutilizati functia de preparare grill.
- Utilizati manusi de protectie pentru a scaote alimententele din cuctor.
- Păstrati intotdeauna aparatul curat, din motive de sigurantași igenia. Reziudurile de grasimeși cele alimentare potlua foc.
- Reziduurile alimentare trebuie indepartate de pe capacul aragazului.
- Lásati suprafata aragazului să se răceasca îniate de a închide capacul.
- Nu introduciţimana intre cuptor Şi balamalele capacului superior. Nu perimeteti copilor să stea in preajma aparatului!
- Verificazioni alla toate butoanele sa fie in positia INCHIS dupa utilizare a paratului.
- Sertarul cuptorului este destinat pentru păstrarea tăvilor goale sau pentru a mentine alimentele calde.
- Nu deposizatiţi în acest sortar materiale inflamabile, exploszive sau materiale de curătare, de exemplu sacose din nylon, hârtie, haine etc.
- Este interzisă modificarea criteristicilor aparatului.
-
O atentie deosebita trebuie acordata atunci cand prajiti alimente: nu lasati recipientele cu ulei nesupravegheate.
Aparatul este greu. Aveti grijata unci cand il deplasati. -
Este normal să se emita aer cald in timpul prepararii. Nu blocati fantele de aeresire ale aparatului.
- Este posibil ca pe suprafata aragazului sa sare stropi de apa sau de grasime in timpul prepararii. Dupa finalizarea preaparari, stergeti aceste reziduuri pentru a se evita formarea unor mirosuri neplacute. Inainte de an indeparta recipientele de pe suprafata de preparare, reduceti intensitatea flacarii sa opriti functionarea arzatorului.
- Atunci candi utilizi un aparal 'electric, trebuie respectate urmatoarele reguli de bazà:
-Nu utilizati adaptoare, cabluri de prelimungire, prize multiple.
-Nu trageti de cablu pentru a scoate stecherul din przyă.
-Nu atingeti aparatul dacă aveti mainile sau picioarele ude.
-Cablul de alimentare trebuie inlocuit daca este deteriorat.
-Inlocuirea cablului de alimentare trebuie realizata numai de câtre un tehnician calificat de la un centru de service autorizat, pentru a fi siguri cà piesele utilize sunt originale Sau agreate.
-Dacă este besoinar, cablul de alimentare poate fi inlocuit cu un cablu de tipul H05RR-F, H05VVF sau H05V2V2-F. Cablul trebuie ša iabă capacitatea besoinara produsului. - Verificati periodic tubul flexibil pentru gaz.
Tubul de alimentare cu gaz trebuie sa se afle la distanta fata de partile fierbinti ale aragazului si sa nu vina in contact cu acestea. Conectorul pentru alimentarea cu gaz poate fi deplasat catre parte din stanga tau catre partea din dreapta a aparatului. Dupo astfel de modificare, trebuie sa verificati etanseitatea racordului cu o solutie cu apa si sapan.
-Dupa fixarea tubului de gaz la conector, prindei-o cu un colier. Verificati ci atentie eventuale scurgeri de gaze cu o solutie de apa si sapun.
Nu lasati aparatul nesupravegheat inante de a se raci.

In cazul nerespectarii instruetiunilor de mai sus, producatorul nu garanteazutilizarea in siguranta a aragazului
1.4. SFATURI UTILE
Pentru o curatare mai usoara, toate capacele, suprafeetele emailate sau din sticl pot fi demontate.
Dacă aparatul este prevázut cu un capac superior, acesta are rolul de a preveni stropirea peretelui din spatele aragazului in timpul prepararii sau de a preveni depunerile de graf in perioadele de neutilizare a aparatului.
- Nu utiliziati capacul aragazului in alte scopuri.
- ATENTIE! (Pentru modelecu capac din sticla) Exista riscul spargerii capacului in cazul in care acesta este expus la temperaturi foarte ridicate. Intotdeuna verificati dacarzatoarele sunt oprite inainte de a inhide capacul.
- Nu utilizati recipiente deformate sau instabile.
-Curatati gratarul si tava colectoare inainte de prima utilizare.
-Dacautilizati spray-uri pentru curatarea aragazului,evita stropirealelementelor de incalzire sau a termostatului. - Verificati dacă rafturile cuctorului sunt corect asezate.
Pentru o aprindere mai rapida, se recomanda ca arzatorul sa fie aprins inainte de a aseza recipientul peste acesta.
-Verificati dacă flacă arzătorului este normală. - Nu acoperiti suprafata cuptorului cu folie din aluminiu.
2. INSTALARE
Instalarea trebuie efectuata de catre personal calificat si autorizat. Instalarea aparatului nu este in sarcina producatorului. In cazul in care se solicitata asistenta producatorului pentru rectificarea unor probleme care apar ca urmare a unei instalari incorecte, intervenția nu va fi acoperita de garantie.
Instructiunile de instalare trebuie respectate de catre personalul calificat. O instalare incorecta poate duce la vátamarea personelor, animalelor sau distrugerea unor obiecte. Producatorul nu işi asumăsicno responsabilitate pentru astfel de probleme.
AVERTIZARE! O atentie deosebita trebuie acordata locatiei in care va fi instalat aparat. Acesta poate fi instalat numai intr-o locatie unde este asiqurap a aerisire continua.
Inainte de a realiza orice operatiune de reparare, instalare sau modificare, aparatul trebuie deconnectat de la sursa de alimentare cu energie electrica. In urmautilizarii aparatelor de preparare pe gaz, in incaperea in care sunt instalate acestea se produ caldurà si umezealà. Verificati ca in bucatarie sá fie asigurata o ventilatie corespunzatoare: lasati onificile care asigurā ventilatia naturala descrihise sau instalati un echipament mecanic pentru ventilatie (o hota de evacuare). Utilizarea intensa si prelimungita a aparatului poate necessita surse suplimentare pentru aerisire, cum ar fi de exemplu desciderea unei ferestre sau selectarea unei trepte de vitezza superioarà, in cazul unei hote.
- Inainte de a instalata aparatul, verificati characteristice circuitului de alimentare cu gaz (tip de gaz, presiune) si verificati dacă aparatul este regiat corespunzator.
- Acest aparat nu trebuie conectat la sistemas de evacuare la care sunt conectate alte echipamente.
- Aparatul nu trebuie instalat in aproprierea unor obiecte inflamabile (mobila,
-Dacaparatul estinstalapat un suport,trebuie luate masuri astfel incat aparatul sa nu alunec de pe acesta.
2.1. LOCATIA ADECVATA PENTRU INSTALARE
Aparatul nu trebuie asezat pe un suport.
- In incaperea in care este instalat aparatul trebuie sa se asigure o ventilatie naturala a aerului suficientă, pentru a se realiza corect combustia gazului.
- Fluxul de aer trebuie sa patrunda prin grilajul de ventilatie din peretii exteriori.


Grilajul de ventilatie trebuie sa aibā o sectiune transversalā de 100 cm2 care sa permittedtrecerea aerului sā fi e adevat pentru aparate cu flacara cu dispositiv de siguranta. Pentru aparatele cu flacara fara dispositiv de siguranta, sectiunea transversalā trebuie sa fié de 200 cm2 (pot fi utilizez grilaje simple Sau multiple).
Emisia gazelor rezultate din combustie
Gazele de combustie reultate de la aparatele de preparare trebuie eliberate direct in exterior prin usi sau ferestre sau prin intermediul unei hote de evacaque (Figura 1)
Dacau se poate amplasa o hota, trebuie instalat un ventilator in perete sau intr-o fereastr (Figura 2)
- Ventilatoaretre trebuie sa aibao capacitate care sa permita inlocuarea aerului din incapere de 3-5 ori pe ora.


- Grilaje trebuie positionate astfel incat sā nu poata fi inchise din niciuna d reintre parti s i este preferabilit s fi montate CAT mai aproape de podea. Grilaje ne tue trebuie s intersecteze conducte prin care se evacueazà alte gaze de combustie tau fum.
Dacau se pot instala grilaje de ventilatie in incaperea in care se aflaparatul, aerul poate fi furnizat de la o incapere adiacenta, cu condita caacea camera sa nu fie un dormitor Sau o incapere in care curentul de aer produ sse priculos.
2.2.AMPLASARE

Aparatul a fost proiectat pentru bucatai in care blaturile adiacea nu sunt mai inalte decat suprafata pitei.
2.3. ASEZARE LA NIVEL
Aparatul este prevazut cu picioare reglabile situate la baza acestuia.
- Picioarele pot fi reglate individual, cu ajutorul unei chei pentru a asigura aragazului o echilibrare perfecta, astfel incat recipientele să fie CAT mai stabilé.
Picoare s rotite regabile

A

A1

B

C
- năltimea maxima a aragazului este de 868mm după fixarea picoarelor reglabile și a rotitelor în cele 4 orificii de la bază.
- Rotitele din spate trebuie introduse in cel de-al doilea orificiu (imaginea A1), pentru inaltimea standard. Astfel, inltimea standard va fi de 850 mm.
Picoare reglabile

2.4. CONEXIUNEA ELECTRICA
Aragazurile pot fi sau nu prevăzute cu cablu de alimentare. Cabul trebuie să fie conectat de CATRE o persona calificata de la un centru de service autorizat, in conformitate cu instructiunile de mai jos. Conexiunea electrică trebuie efectuata in conformitate cu standardeleși reglementarile in vigoare. Inainte de a realiza connexiunile electrice, verificati următoarele:
- Este capacitatea circuitului electric si a sigurantelor suficienta pentru a face fata consumului aparatului? (Verificati placuta cu date tehnice)
-
Priza este prevazută cu impamantare? Priza la care va fi connectat cabul aparatului trebuie sa aibă o impamantare corespunzatoare. In cazul in care priza nu are impamantare, luathi legatura cu un electricia calificat pentru a realiza impamantarea.
-
Priza este uşor accesibla din locul unde este instalat aparatul?
Cablul de alimentare trebuie prevazut cu un stecher care sa corespunda standardelor.
- Intre aparat.si circuitul electric trebuie instalat un comutator multipolar in cazul in care este necessitiesa connectarea directa a aparatului la circuitul electric. (Trebuie sa corespunda standardelor si sa fie adeqvat consumului)
Firul pentru impamantare de culoare verde-galben nu trebuie intrerupt de comutator.
Cablul'maro, pentru fază (de la conectorul marcat cu „L" al aragazului) trebuie intotdeauna conectat la terminalul pentru fază.
Cablul de alimentare trebuie amplasat astfel incat sa nu fie expus la temperaturi mai mari de 500C.
-Dacă trebuie fînlocuit cablul de alimentare, se recomandață'utilizarea unui cablu cu o sectiune similara. Firul pentru impamantare de culoare verde-galben trebuie să fie cu 2 cm mai lung decât firul pentru fazăși cel pentru nul.
- Verificati plitele electrice prin pornerea acestora tamp de 3 minute, dupa finalizarea conexiunii.
Producatorul nu işi asumă nicio responsabilitate pentru eventualele deteriorar care apar ca urmare a nerespectarii instructiunilor de mai sus.
Pentru conectare directa la un circuit fix, trebuie asigurata modalitate de deconnectare de la sursa de alimentare care sa aiba un separator de contacte intre poli, astfel incat sa se asigure o deconnectare completeness in cazul unei supratensiuni de categorie I1, in conformitate cu regulile de connectare.
2.5. ARAGAZURI CU CABLU DE ALIMENTARE
Conxiunea este destinata numai sub tensiuni de 220-240V intre faze sau intre faze si nul.

- Inlocuirea cablului de alimentare trebuie efectuată numai de către o personă calificata de la un centru de service autorizat și trebuie Utilizat cu cablu de alimentare similar cu cel original.
Sectiunea cablului de alimentare
| Putere (kW) | Voltaj (V) | Current (A) | Cablu allimentare |
| 2.3 kW | 220 - 240 V | 9.1 A | \( 3 \times 1.0 mm^2 \) |
| 3.5 kW | 220 - 240 V | 15.9 A | \( 3 \times 1.5 mm^2 \) |
| 4.0 kW | 220 - 240 V | 18.2 A | \( 3 \times 2.5 mm^2 \) |
2.6. CONECTAREA LA GAZE
Conectarea aparatului la gaze trebuie realizata in conformitate cu standardele si reglementarile in vigoare.
-
Din fabricatie, aparatul a fost regiat pe tipul de gaz mentionat pe eticheta de langă admisia pentru gaze din partea din spate a acestuia. Verificati ca tipul de gaz'utilizat sa fie acelasi cu cel mentionat pe eticheta. Dacă tipul de gaz este diferit, respectati instruetiunile din capitolul referitor la modificarea aparatului pentru un alt tip de gaz.
-
Verificazioni ca presiunea gazului sa aibă aceeasi valoare cu cele indicate in tabelele pentru categoria tipului de gaze (ultimele 3 pagini din manualul de utilizare) pentru a se obține o efficiență maximăși pentru un consum mai redus. Daca presiunea gazelor este diferită, trebuie instalat un regulator la admisia pentru gaze. Este permisă utilizeszonea unui regulator de gaze care respectă standardele pentru GPL.
Conectarea prin intermediul unei tevi metalice flexibile sau fixe
- Conectarea la gaze se poate realiza prin intermediul unei tevi flexibile din inox, in conformitate cu standardele de siguranta in vigoare. In astfel de cazuri, nu va mai fi necessar sa deplasati aparatul. Conectorul de admisie pentru gaze al aparatului este Gc 1 / 2
Conectarea prin intermediul unei tevi flexibile nemetalice
- In cazul in care connectarea la gaze se poate realiza intr-o positie din care se poate deschide sau inchide atunci cand este besoinar, se poate utilizes o teava flexibila care este in conformitate cu standardele in vigoare. Teava flexibila trebuie bine fixata prin intermediul unui colier.
- Atunci cänd conectati teava flexibla, trebuie să aveti in vedere urmatoarele:
- Deoarece teava flexibla va fi amplasata in spatele aragazului, aceasta nu trebuie sa fie expusa la temperaturi mai mari de 300C. Lungimea acesteia nu trebuie sa depaseasca 150 cm.
- Nu trebuie expusă la actiunea aburului.
Teava nu trebuie indoita sa rasucita. - Trebuie protejata impotriviva objectelor ascutite pau contondente.
-Trebuie sa fie accesibla, pentru verificari periodice. - Trebuie verifie urmátoarele probleme care pot aparea in tamp:
- Verificati sà nu existe crapluri, taituri sau urme de arsura pe traseul tevii sau la capetele acesteia.
Materialul trebuie sa işi mentina elasticitatea. Nu este permis sa fie foarte rigida.
-Colierele nu trebuie sa fie ruginite.
-Trebuie inlocuita dupa 5 ani deutilizare.



Verificati etanseitatea conxiunii la gaze cu o solutie de apa si sapun. NU utilizi fiacara pentru verificarea scurgerilor de gaze!
2.7. MODIFICAREA PENTRU DIVERSE TIPURI DE GAZ
Aceastà modificare trebuie realizata de câtre o persona calificata. Respectati instruţiunile de mai jos pentru a modifica aparatul de la setarea din fabricatie la un alt tip de gaz.
Aragazurile sunt reglate pentru GN si tipul de conexiune este cilindric (1). Pentru furtunurile cu conexiune tip GN, se poate fixa un adaptor o furtun (2) la adaptorul cilindric prevazut cu garnitură.
Pentru conexiunea GPL, se poate fixa un adaptor de furtun GPL (3) la adaptorul cilindric prevazur cu garnitur.

Reglarea sichimbarea injectoarelor Schimbarea injectoarelor
Scoateti gratarele metalice.
-Indepartati capacele arzatoarelor si arzatoarele.
- Scoateti injectoarele prin utilizarea unei chei de 7 mm, apoi insurubati injectorul corespunzator pentru tipul de gaze selectat (vezi tabel de la finalul manualulul).
- Parcurgeti etapele de mai sus in ordine inversa dupa montarea noului injector.
Reglare Stand by
Reglare Stand by pentru aragazurile fara dispositiv de protectie sau cu dispositiv de protectie si buton de aprindere
- Rotiti butonul arzatorului in posita pentru flacara mica si scoatei butonul.
-Daca este necessara modificarea de la gaze naturale la GPL, rotiti in sensul acelor de ceasornic surubul by-pass al supapei de gaz, cu ajutorul unei surubelnite, in positie finala.
Daca este necessar modificarea de la GPL la gaze naturale, rotiti n sens invers acelor de ceasornic surubul by-pass al supapei de gaz cu ajutorul unei surubelnite, pana se atinge o flacara cu dimensiunea de 1 / 4
-Dupa finalizarea reglajului, fixati butonul la loc.
- Verificati reglajul prin rotirea rapida a butonului corespunzator arzatorului respectiv de la poziţia maxim la poziţia minim. Daca nu se stinge flacara, inseamna ca reglajul este corect.
Pentru dispositivele de siguranta, setarea normala a flacarii se poate realiza cu ajutorul unei surubelnite, pe corporal valvei. Daca butonul respectiveste prevazutcuprindere,pentru setarea flacarii normale, trebuie sa indepartati capacul superior si panoul superior.

- Pentru setarea flacari normale pentru aragazurile prevazute cu valva termostat, trebuie sa indepartati capacul superior si panoul superior.

Cuptorul pe gaz
Scoatel capacul din spale (Figura 3)
Indepartatadaptorul pentru injectoare (Figura 4)
Scoatei injectoarele prin utilizesa unei chei de 7 mm, apoi insurubati injectoarele corespunzatoare pentru tipul de gaz selectat (vezi tabelul de la finalul manualului) (Figura 5)
- Parcurgeti etapele de mai sus in ordine inversa dupa montarea noului injector.
- Spatiul pentru arzator este de 4,5±0,3 mm pentru GN Şi GPL (Figura 6).

Figura 3


Figura 4

Figura 5

Figura 6
2.8. DIMENSIUNILE APARATULUI
| 50 x 60 | 60 x 60 | |
| Înăltime (mm) | 863 | 850 |
| Lăltime (mm) | 510 | 598-600 |
| Adâncime | 600 | 600 |

2.9. PREZENTARE GENERALÄ A APARATULUI
Acest manual de utiliser este destinat pentru mai multe modele de aragazuri. Este posibil ca anumite caracteristici mentionate in acest manual sa nu fie disponibile pentru aparatul dumneavoastră
1-Panou superior
2-Panou de control
3-Sertar
4-Uscaptor (usafrontal)
5-Capac din sticlau metalic
6-Arzator auxiliar
7-Arzator rapid (arzator semi rapid)
8-Arzator ultra rapid
(arzator rapid)
9-Arzator semi rapid
10- Gratar stanga
11- Gratar dreapta
12- Butoane control arzatoare
13- Buton termostat cuptor
14- Buton aprindere sau buton ventilator
15- Buton aprindere bec
16- Buton programator
17-Picioare deplasare (reglabile)
18-Picioare fixe (reglabile)

1-Panou superior
2- Panou de control
3-Sertar
4-Usacuptor(ua frontala)
5- Capac din sticlă sau metallic
6-Arzator auxiliar
7-Arzator rapid (arzator semi rapid)
8-Arzator ultra rapid (Arzator rapid)
9- Plita electrica
10- Gratar stanga
11- Gratar drepta
12- Butoane control arzatoare
13- Buton control plita electrica
14- Buton termostat captor
15- Buton aprindere sau buton ventilator
16-Indicator luminos
17-Picoare deplasare (reglabile)
18-Picioare fixe (reglabile)

1-Panou superior
2- Panou de control
3- Sertar
4-Usacuptor (usafrontal)
5- Capac din sticlă Sau metallic
6-Arzator auxiliar
7-Arzatrorapid
8- Plita electrica
9- Plita electrica
10- Gratar dreapta
11- Buton control arzatoare
12- Buton control plite electrice
13- Buton termostat cuptor
14- Buton aprindere sau buton ventilator
15-Indicator luminos


1-Panou superior
2-Panou de control
3-Sertar
4-Usacuptor (usafrontal)
5-Capac din sticlà Sau metallic
6-Plitáelectrica
7-Plitä electrica
8- Butoane control plite electrice
9- Buton termostat cuptor
0-Indicator luminos
DEMONTAREA SICURATAREA RAFTURILOR GRILA
Demontati rafturile grilă tratgändu-le in direcția săgetilor (potrivit imaginii de mai jos)
Pentru a curata rafturile, positonati-le in masina de spalat vase sau folositi un burete de vase umed, asigurandu-va ca au fost apoi uscate. Dupa curatarea acestora, montati rafturile grilafecuand aceleasi operatiuni ca la demontare in ordine inversa.

3. UTILIZAREA ARZÄTOARELOR
3.1. UTILIZAREA ARZÁTOARELOR PE GAZ
Butoanele pentru controlul arzatoarelor pe gaz sunt amplasate pe panoul de control.

Figura 7
Oprit
Dacà marcajul de pe butonul de control este in dreptul punctului negru de pe panou, arzatorul este oprit Ş supapa pentru gaz este inchisă iar filacăre stinge.

Flacara mare
Apasati butonul pentru arzator si rotigi-l caret stanga, pana cand marcajul de pe buton ajunge in dreptul simbolului pentru flacara mare.
Flacara este mare.
In aceastapozitie, supapa pentru gaz este complet deschia.

Flacara mica
Intensitatea flacarii poate fi diminuata prin rotirea butonului de control al arzatorului astfel incat marcajul de pe buton sa ajunga in dreptul simbolului pentru flacara mica. Supapa este partial deschisa si flacara este mica.

Figura 8
Aprinderea arzatoarelor
Arzatoarepe gaz de pe aragaz
Arzatoare trebuie aprinse inante de a aseza recipientele pe acestea. Pentru modelele cu aprindere automata, trebuie sa apasati butonul de aprindere.
Apasati butonul corespunzator arzatorului pe care doriti sa il aprindei si apoi rotiti-I caret dreapta, spre simbolul pentru flacara mare. Apasati butonul de aprindei. La modelele cu aprindei incorporeata pe butonul pentru controlul arzatorului, apasati si rotiti butonul corespunzator arzatorului pe care doriti sa il aprindei pana la simbolul in forma de stelufa; electrodul va fi activat automat. Toti electrozii vor fi activati automat si se va aprinde arzatorul care este alimentat cu gaz (cel pentru care a fost apasat butonul de control).
Arzatorul din cuptor
Nu apasati butonul de control pentru aprinderea captorului mai mult de 15 sec. Dacă arzatorul nu se aprinde intr-un interval de 15 sec., eliberati butonul, descidieti uça captoruluiși asteptati 1 minut inainte de a incerca sa aprindeti din nou arzatorul captorului. Pentru alte modele gazul se aprinde prin intermediul buoanelor de control.

Verificati dacas-a aprins flacaa. In caz contrar, repetati procedura.
Dupä aprindere, reglati flacàra la intensitatea dorita.
Aprindere manuala (dacn ueste disponibilaprindere electrica) Menteti o sursa de flacara (chibrit sau aprinzator special pentru aragaz) in apropierea arzatorului.
AVERTIZARE! Asteptati 1 minut pentru a incerca din nou sa aprindeti arzatorul.
Apasati si rotiti butonul corespunzator arzatorului pe care doriti sā i aprindeti la simbolul pentru flacara mare. Daca arzatorul nu se aprinde de la prima incercare, incercati din nou si mentineti apasat butonul un pic mai mult. Dupa aprinderea arzatorului, reglati intensitatea flacarii.
Daca arzatorul nu se aprinde dupa mai multe incercari, verificati dacar zatorul si capacul acestua sunt azeate corect.
Rotiti butonul de control al arzatorului in sens invers acelor de ceasornic, la simbolul "O" pentru a opri alimentarea cu gaz. In situata in care arzatorul se stinge accidental, astepta 山 cel putin un minut inainte de a incerca sa il reaprindeti.
Unele aragazuri sunt prevăzute cu un disposizit de siguranta pentru flacara (vezi imaginea de pe pagina anterioara, elementul F). Daca se stinge flacara, alimentarea cu gaz va fi intrerupta automat.
Diametre minim.si maxim al recipientelor de preparare
| Arzător | Diametre min [mm] | Diametre max [mm] |
| Arzător mare | Ø 240 MM | Ø 280 MM |
| Arzător meniu | Ø 180 MM | Ø 240 MM |
| Arzător mic | Ø 120 MM | Ø 180 MM |
| Arzător ultra rapid | Ø 400 MM | Ø 280 MM |
-
Zona exteriorar a flacari este mai fierbinte decat cea de la baza. Varfurile flacari trebuie sa atinga baza recipientului. Flacarile care depasec baza recipientului duc la un consum de gaze inutil. Pentru arzatoarele pe gaz, spre deosebire de plitele electrice, nu este necessar ca baza recipientelor sa fie perfect plata. Flacarile care ating baza recipientului sunt conductoare de caldur.
-
Cu toate cã pentru arzâtoarele pe gaz nu sunt necessare recipientene speciale, recipientele care sunt realizate din material mai subtire se incâlzesc mai repede decât cele care sunt din material mai gros.
- Este posibil ca anumite portiuni ale alimentenor sa fie incalzite, iar alte portiuni sra mana reci, din cauza distributiei neuniforme a caldurii in recipient. De aceea, in cazul utilizarii unor recipiente cu baza subtire este necessar sā amestecati in continuu alimentele. Caldura este distributà mai uniform si mai eficient in recipientele cu baza groasă. -Nu se recomanda/utilizarea unor recipiente foarte mici. Recipientele mai largi, cu pereti nu foarte inalti sunt mult mai adevate pentru o preparare mai rapidă si mai eficientă.
Durata de preparare nu va fi scurtata dacá veṭi utilizes un recipient mic sau dacá preperati pe arzátorul mare. In acest mod, consumul de gaze va fi mai mare. Pentru a economisi energia, se recomanda ca recipientele sá fie acoperite in timpul preparàri.
3.2. UTILIZAREA PLITELOR ELECTRICE
Rotiti butonul in positia necessara pentru a se atinge temperatura dorita pentru plita respectiva. Indicatorul luminos corespunzator plitei respective se aprinde si plita incepe sa se incalzeasca.
La finalul prepararii, rotiti butonul in positia ^ .Nu lasati plita electrica.
pornita dac ape aceasta nu este asezat niciun recipient. Diametrul sibaza recipientului sunt foarte importante. Diametrul minim al bazei
recipientulri trebuie sa fie de 14 cm sI baza trebuie sa fie perfect plata
Lasati plita electrica sa se incalzeasca timp de 5 minute inante de a aseza recipientul pe aceasta, atunci cand o utilizati prima data. In
acent mod invelisul termorezistent al plitei se va intari prin ardere.
Utilizi o laveta umeda si un detergent lichid neutru pentru curatarea
plitelor elecrice. Nu utilizati cutite tau alte obiecte ascutite pentru a
indeparta rezidururile alimentare de pe suprafata plitelor elecrice.
Porniti functionara plitei pentru cateva momente dupa ce ati curatato, pentru a se usca.
Cu toate acestea, trebuie sa avei in vedere faptul cä plita nu trebuie sā fonctione mei mult de cateva secunde, färä ca pe aceasta sä fie asezat un recipient.


Indicator luminos
Figura 9 Figura 10
| Positie | Putere(waße) | Putere(waße) | Putere(waße) | Modutilizare |
| 0 | 0 | 0 | 0 | Oprit |
| 1 | 100 W | 135 W | 175 W | Încâlzire |
| 2 | 180 W | 220 W | 220 W | Preparare la temperaturã redusã |
| 3 | 250 W | 300 W | 300 W | Preparare la temperaturã redusã |
| 4 | 500 W | 850 W | 850 W | Preparare, prâjire, fierbere |
| 5 | 750 W | 1150 W | 1150 W | Preparare, prâjire, fierbere |
| 6 | 1000 W | 1500 W | 2000 W | Preparare, prâjire, fierbere |
Recipiente recomandate
Dorim sá va reamintim cã recipientele mai mari au o suprafata de incalzire mai mare.
In acest mod, in astfel de recipiente alimentente se vor prepara mai repede decat in cele de dimensionali ni mai mici.
Recipientele pe care le utilizati trebuie sa fie proportionale cu cantitatea de alimente care va fi preparata. Pentru a preveni stropirea, nu utilizati recipiente foarte mici, in special pentru cantitatari mari de lichide. Daca utilizati recipiente foarte mari pentru prepararea rapida unor alimente sau lichide, acestea se vor lipi de peretii recipientului. Pentru prepararea prajiturilor sunt recomandate recipiente acoperite, tavi de coacere sau forme de coacere. Sucurile sau substantele dulci care sar din recipiente se pot lipi de suprafata aragazului sau cuptorului si sunt greu de curatat.

Figura 11

Figura 12
Important de rejinut dacà prajiti alimente sau utilizati recipientete sub presiune.
Nu lasati arzatoarele aprinse dacn ueste azeat niciun recipient pe acestea si nu azezati recipiente goale pe arzatoarele aprinse.
Recipientele de preparare trebuie sa indeplineasca urmatoarele conditi:
Sä fié grele;
Sa acopere complet suprafata arzatorului; pot fi pu tin mai mici sau mai mari;
Suprafata bazei trebuie sä fie complet plata si adecvatà pentru zona de preparare.
Pentru outilizare cat mai optima a plitelor elecrice si pentru reducerea consumului de energie, trebuie utilizez numai recipiente cu baza plata si neteda. Dimensiunea diametrului bazei trebuie sa fie cat mai apropiata de diametrul plitei eletrice, niciodata mai mic. Baza recipientului trebuie sa fie uscata si trebuie evitata producerea de reziduuri alimentare. Nu lasati recipiente goale pe plitele elecrice si nu puneti plitele elecrice in funciune daca pe acestea nu sunt asezate recipiente.
4. UTILIZAREA CUCTORULUI
4.1. PREPARARE GRILL

GRILL ELECTRIC: Se folosese NUMA! cu usa inchisa.
GRILL GAZ: Poate fi folosit cu uşa beschisa CU panoul de proteție introdus sub panoul de control, conform imaginii.
- Alimentele preparate la grill capata oculoare maronie destul de repede. In functie de cantitatea de alimente, grill-ul poate fi azezat in mai multe positii. Aproape toate tipurile de
alimente pot fi preparate sub grill, cu excepta vānatului si a hamburger-ior.
-Carnea si peostele trebuie unse uor cu uei inainte de a fi preparate la grill.
Asezati o tava colectoare in cuptorul in timpul prepararii la grill. Turnati putina apa in tava colectoare pentru a evita formarea unor mirosumi neplacute si pentru ca grasimea sa nu se aprinda.
- Prepararea la grill este recomandata pentru bucăti mari de carne, de exemplu cotlete, care nu sunt prea grose, pâsări vânate, pește, diverse legume (ex. dovlecei, vinete, tomate etc.), frigărui.
Ungeti pestele cu putin ulei.
Sarati carnea si pestele.
-Distanta fata de grill depinde de grosimea carnii sau a peşelui. Dacă distanta este corectă, pârtile exterioare nu se vor ardeși interiorul alimentetelor va ramânțe fraged.
-Pentru a preveni formarea unor mirosumi neplacute s i a fumului din causu gratasimii s a suscurilare care scurng din almente, va recomandam sa turnati 1-2 pahare de apa in tava colectoare.
- Puteti sautili tificia grill pentru prajirea painii tau rumenirea sandwich-urilor, precum si pentru coacerea unor fructe (banane, grapefruit sau bucati de ananas, mere etc.). Trebuie sa avei grijca au fructele sa nu inre in contact cu elemente de incalzire.

Nu acoperiti pereti cuctorului sau baza acestua cu folie din alumniu. Caldura acumulata poate deteriora emailul cuctorul si afecteazalimentele.

In timpul fonctionarii cuptorului, capacul superior al aragazului trebuie sa fie beschis.
4.2.CUPTOR ELECTRIC
| Positie | Funcții cuptor |
| F | Functie |
| °C | Temperatură |
| ◎ | Durăță de preparare |
| O | Oprit |
| ←→ | Rotisor și element grill |
| ○ | Bec |
| . | Element grill |
| . | Element grill și ventilator |
| . | Ventilator |
| . | Element incelăzire superior și ventilator |
| . | Element incelăzire inferior și ventilator |
| . | Element incelăzire superior, inferior și ventilator |
| . | Element incelăzire superior si inferior |
| . | Element incelăzire superior |
| . | Element incelăzire inferior |
| . | Manual |
| PIZZA | Pizza |
4.3. SUGGESTII PENTRU PREPARARE LA CUCTORUL ELECTRIC
Preparare traditionala
Caldura este generata de elementul de incalzire superior si inferior. In general, este de preferat ca raftul pe care vor fi azezate alimentente s'aie positacion lat miollocuptorului. Daca partea superioara sau cea inferioara a alimentedor necessities o preparare mai intensa, alimentete trebuie azezate mai sus, respeciv mai jos.
Preparare cu convectie (cu ventilator)
-
Alimentele vor fi preparate de aerul preincalzit care este distribuit uniform cu ajutorul ventilatorului amplasat in partea din spate a cuctorului. Pot fi preparate simultan mai multe feluri de mancare, asezate pe diverse niveluri.
-
Acest tip de captor este de asemenea utilise pentru decongelarea alimentelor. De asemenea se poate utiliza pentru sterilizarea conservlor, pentru prepararea siropurilor din fructeși pentru uscarea unor fructeși ciupercilor.
4.4. PREPARARE

- Termostatul este setat la maxim
Durata de preincalzire este de 15 min. (posibil si 20 min.)
Tava trebuie asezatape una dentre poziile de jos.
Durata de preparare este de 20 min.
4.5. PREPARARE PRAJITURI
- In cazul in care nu există alte recomandări, preincăzți captorul cel putțin 10 minute inainte de utilizare. Nu deschideti ușa captorului in timul preparării prajiturilor, deoarece există riscul ca acestea sa nu mai creasca (prajiturile Sau aluaturile cu drodjieși soufle-urile). Curentul de aer rece care patrunde in captor va impedica ridicarea aluaturuli. Pentru a verifică dacă este copt aluatul, introduciți o scobitoare in aluat. Dacă scobitoarea rămane uscătă, inseamnață ca aluaturile este bine copt. Nu realizăți acest test decăt după ce trețrei sfurturi din timul de preparare.
Atentie!
-Dacā suprafata alimentelor este preparata, insa interiorul acestora este in continuare crud sai partial crud, trebuie sa continuati prepararea la o temperatura scazuta.
- Pe de alta parte, dacă suprafata alimentelor este prea uscătă, inseamnă că trebuie preparate la o temperatură mai mare și o periodă de tamp mai scurtă.
4.6. PREPARAREA CARNII
Cantitatea minima de carne care este preparata in cuctor trebuie sa fie de 1 kg. In caz contrar, carneva fi prea uscata.
Dacà doriì sā fie bine fácuta,utilizati mai puīnă grāsime. In cazul in care carnea are puīnă grāsime, nu mai este NEEDar sāutilizati ulei. Dacà o parte a carnii este mai grasă, asezati carnea cu această parte in sus. Grāsimea care se topește va fi suficientă pentru partea de jos a carnii.
-Carnea rosie trebuie scosa din frigider cu cel putin 1 ora inainte de a fi preparata. In caz contrar, carnea va ramane tare, ca urmare a differentei mari de temperatura. Nu puneti sare pe carne inainte de a o introduce in captor, in special dacao preparati la grill. Sarea va absorbi sangele si suscul din carne si astfel partea superioara a carnii nu va fi bine rumenita.
- Adaugati sare numai dupa ce a trecut jumatate din durata de preparare.
Carnea pentru friptura trebuie asezata intr-un recipient mare, cu pereti nu foarte inalti.
- Recipientele/ tavile cu pereti inalti, actioneazá ca un scut impotriva caldurii. Carnea poate fi asezata in recipiente termorezistente sau direct pe gratar. In cazul in care asezati carnea direct pe gratar, trebuie sa introduceti si tava colectoare sub acesta. Sosurile trebuie adaugate la inceput dacà durata de preparare este scurtá, sau in ultima jumătate de ora, dacà durata de preparare este mai lunga.
4.7. PREPARAREA PESTELUI
Pestele de dimensionali mici poate fi preparat la temperatura maxima de la inceput pana la sfarsit. Pestele de dimensionali medie trebuie preparat la temperatura maxima la inceput si apoi temperatura trebuie redusă. Pestele mare trebuie preparat la temperaturi mai reduse de la inceput pana la sfarsit. Verificati crestăture de la baza peşelui pentru a verifica dacă este bine preparat. In cazul prepararii peşeluii la grill, carneia trebuie sa fie de un alb mat. Nu este valabilă această regula pentru păstrav Sau somon.
4.8. PREPARARE LA ROTISOR
Cuptorul este prevazut cu un rotisor, doua furculite si un carlig pentru a sustine rotisorul.
Instruetioni de utilizes:
- Scoateti accesorile din cuptor.
- Asezati un recipient adanc pe baza cuptorului Sau pe gratarul de jos.
- Introduci carnea pe rotisor, centrati-o intre cele doua furculite.
-
Fixati rotisorul in axul din partea de jos a cuptorului si apoi prindeti rotisorul prin carligul suport din partea din fata a cuptorului.
-
Nu este necessities preincalzirea cuptorului.
Duratele de temp recomandate sunt:
| Durata de preparare (min) | ||
| Tip de alimentente | Cuptor pe gaz | Cuptor electric |
| Vità (1 kg) | 25/35 | 20/30 |
| Miel, oaié (1 kg) | 35/45 | 30/40 |
| Vità, pui (1 kg) | 65/75 | 60/70 |
| Porc (1 kg) | 60/70 | 65/75 |
4.9. UTILIZAREA PROGRAMATORULUI

Figura 13
Pentru a seta programatorul, rotiti complet butonul si apoi positiOnai-l durata de temp dorita. Dupa trecerea duratei deltempsetata,seva uazi un semnal sonor tampde cateva secunde.
4.10. SETAREA TIMPULUI DUPA CARE S A SE OPEASCA FUNCTIONAREA CUPTORULUI

Figura 14
Acest buton va permite setarea duratei de temp dorita (max. 90 min.) dupa caret captorul sa se opreasca automat.
Programatorul va realiza numaratoarea inversa de la timul setat la positia "O" si se va opri automat.
Pentruutilizare normalaacuptorului, setati butonul la poziia
4.11.CUPTOR PE GAZ

Figura 15
Cu ajutorul acestu buton pot fi selectate temperatura cuptorului si elementul de incalzire.
Temperatura cuptorului poate fi cuprinsa
intre 140-2700C.
Unele cuptoare au arzatoare prevazute cu dispositiv de siguranta. Daca se stinge flacara, alimentarea cu gaze va fi automat intrerupta.
4.12. UTILIZAREA PROGRAMATORULUI ELECTRONIC
| DENUMIRE FUNCTIE | ACTIVARE | DEZACTIVARE | FUNCTIE | UTILIZARE |
| ALARMA | •Apasati si meninetei apasat butonul. •Apasati butoanele | sau •poura a seta durata de timp dontà. •Eliberati butoanele | •La finalul duratei de timp setatà se activazeà un semnal sonor (acent semnal se deactivazeà automat sau poàte fi deactivvat pris apasarea butonului). | •Emite un semnal sonor la finalul duratei de timp setatà. Poura a verifica ce periodà de timp a mai râmas, apasati butonul. | Permite utilizes area captorului pe post de alarmà (poate fi activàsì cánd funcjioneazá captorul, sì cánd este oprit). |
| FUNCTIE MANUAL | •Apasati butonul Setaţi functă de preparare cu ajutorul butonului selector | •Rotiţi butonul pentru selectarea funçțior captorului in posizţă „O". | •Pentru utilizes area captorului | •Pentru prepararea rețetelor dorite |
| DURATÀ DE PREPARARE | •Apasati si meninetei apasat butonul TIMER. •Apasati butoanele | saul •pouru a seta durata de preparare. •Eliberati toate butoanele. •Setaţi functă de preparare cu ajutorul butonului selector. | După tecerea perioadoi del timp, captorul se oprește automat. Dacă doriţi să opriţi prepararea mai devrème, fie rotiţi butonul selector In posizţia 0 ssau setaţi durata del timp la 0:00 (TIMER | sa butoane) | Permitte presetarea duratei de preparare, in functie de rețeta aleasă. Pentru a verifica ce periodà de timp s-a scurs, apasati butonul TIMER. Pentru a schimba/modify curata de timp presetă, apasati butoanele | sau. | •La finalul duratei de timp setată, captorul se opreșteși functioreanăși se aude un semnal sonor. |
| FINAL PREPARARE | •Apasati si meninetei apasat butonul END. •Apasati butoanele | sau •pouru a seta durata del timp după care doriti să se oprească functioreană captorului. •Eliberati butoanele. •Setaţi functă de preparare cu ajutorul butonului selector. | La finalul duratei de timp setată, •capturul se oprește. Pentru a opi manual captorul, rotiţi butonul pentru selectarea funçțior in posizţia „O". | Permitte setarea orei pentru finalizarea duratei de preparare. Pentru a verifica ora setată apasati butonul END. Pentru a modifica ora presetă, apasati butonul END | |A. | Această functă este utilizătă de obceii impreună cu functă de setare a duratei de preparare. De exemplu, dacă alimentale trebule preparate timp de 45 de minute | sé prepararea trebule finalizata la 12:30, selecuțăfunctă de preparare donță, setați durata de preparare la 45 de minute | setați ca oră pentru finalizarea prepararăi ora 12:30. Prepararea va Incepe automatà la ora 11:45 (12:30 minus 45) | va continua până la ora presetă pentru finalizare, cand captorul se va opri automat. AVERTIZAREI Dacă selecuță ora pentru finalizarea prepararii fãră să setați durata de preparare, captorul va incepe immediat să functiunezeși se va opri la ora setată pentru finalizare. |
Setarea corecta a timpului

AVERTIZARE: prima operatjiune care trebuie efectuata dupa instalarea aparatuliu sau dupa ce a avut loc o intrupere a alimentarii cu energia electrica (fapt sesizabil uor, deoarece oe afisaj apare00) este setarea ceasului. Procedati astfel:
-
Apasati si dentineti apasate butonele TIMER si END ( 比 一
-
Setati ora prin apasarea butoanelor /
-
Eliberati butoanele.
-
ATENTIE: captorul functioneaza numai dacă este setat pe functia manual tau cu durata de temp presupetata.
OBSERVATIE: La unele modele simbolurile / / sunt inlocuite de / /
Pentru programarea unui timer cu 5 butoane, pentru functia mnaual, apasati simultan butoanele TIMER si END.

4.13.PROGRAMDEPREPARARE
Metode de preparare tradionale si cu convectie; Greutati (gr) TIP DE ALIMENTE Metoda de preparare tradionala.
| Greutate(gr.) | TIP DEALIMENTE | Metodăpréparetraditională | Metodăprépare convectie | Duratãaperpare(minute) | OBSERVATII | ||
| PRAJITURI ŞI DESETURI | Posititevâvă | Temp.(OC) | Posititevâvă | Temp.(OC) | |||
| Aluat cu ouAluatFursecuriPrăjitură cu brânzăPlăcintă cu mereStrudelTartă cu gemFursecuriBiscuțiPrăjitură cu cremă | 21801180217511802175218021802100 | 180180217521802175218021802100 | 2(1 sβ)2(1 s i 3)2(1 s i 3)2(1 s i 3)2(1 s i 3)2(1 s i 3) | 16016015016015016015016015016015016015016015016015016015016015016015016015016015016015016015016015016015016 | 45 - 6020 - 3520 - 3060 - 8040 - 6060 - 8045 - 6030 - 4515 - 2510 - 2090 - 120 | In cuptor, câte 8 bucăți pe tava Sub grill | |
| 1000500500250 | PÁINE ŞI PIZZA Păine albaPăine de secarăSandwich | 120022002220 | 220022002200 | 175175175175 | 45 - 6030 - 4520 - 35 | ||
| PASTE MacaroaneCu legumePasteLasagna | 220022002200 | 2(1 sβ)2(1 s i 3)2(1 s i 3)2 | 175175175 | 40 - 5045 - 6035 - 4545 - 60 | |||
| 1000120010001500120010004000150030001200 | CARNE Friptură de vităFriptură de porcFriptură de vitelVită British styleMielPuiCurcanRațaGăscălepure | 22002200220022002200 | 2200220022002200 | 175175175200175 | 50 - 70100 - 13090 - 12050 - 70110 - 13060 - 80210 - 240120 - 150150 - 20060 - 80 | Preparare pe grillPreparare pe grillPreparare pe grillPreparare pe grillPulpăIntregIntregIntregIntregPortionat | |
| 1000800 | PESTE Pește înregPește file | 22002200 | 2(1 sβ)2(1 s i 3) | 175175 | 40 - 6030 - 40 | 2 pești4 bucăți de file | |

Figura 16
OBSERVATIE:
1)Duratele de preparare nu includsi durata pentru preincalzire. Se recomanda preincalzirea cuptorului tamp de 10 minute, in special pentru prajituri, pizza si paine.
2)Indica pozitia tavilor pentru prepararea simultan a mai multor feluri de mancare.
3)Toate operatiunile trebuie desfasurate cu cuptorul inchis.
| TIP DE ALIMENTE | CANTITATE PREPARE GRILL | DURATÀ PREPARARE(Minute) | ||||
| Bucăți | Greutate | Positie tava | Temperatura(°C) | Partea superioarã | Partea inferioarã | |
| Bistec | 4 | 800 | 4 | max | 10 | 8 |
| Costillas asadas | 4 | 600 | 4 | max | 12 | 8 |
| Salchichas | 8 | 500 | 4 | max | 10 | 6 |
| Pollo en trozos | 6 | 800 | 3 | max | 30 | 20 |
| Parrillada mixta | 4 | 700 | 4 | max | 12 | 10 |
| Postres lácteos | 4 | 400 | 4 | max | 13 | 10 |
| Tomate en rodajas | 8 | 500 | 4 | max | 12 | -- |
| Filetes de pescado | 4 | 400 | 4 | max | 8 | 6 |
| Escalopes | 6 | --- | 4 | max | 12 | -- |
| Tostadas | 4 | --- | 4 | max | 8 | -- |
| Rebanadas de pan | 4 | - | 4 | max | 2-3 | 1 |
5. CURATARE Sİ INTRETINERE
Inainte de curatare si intretinere:
- Deconnectatu aparatul de la sursa de alimentare cu energia electrica.
- Inchideti robinetul de alimentare cu gaze, pentru siguranta dumneavoastră. Dacă aragazul este reglat pentru alimentare cu gaze naturale, inchideti robinetul de alimentare cu gaze naturale.
Daca este cuptorul incins, astepta pana se raceste. - Nu utilizes aparate de curatare sub presiune pentru curatarea aparatului.
- Curatai suprafetele din email cu o solutie de apa caldua si un detergent lichid neutru Sau produse speciale pentru curataea aragazului. Nu utilizati produse abrazive care ar putrea deteriorara aspectul aparatului. Se recomanda curataea aparatului dupa ficare/utilizare.
- Utilizati produse de curatare speciale si bureti abrazivi pentru curatarea gratarelor din inox.
Suprafetele din sticla ale aparatului, cum ar fi capacul superior si geamul usii cuptorului trebuie curataate numai cand sunt reci.
Deteriorarile aparute ca urmare a nerespectarii acestor recomandari nu sunt acoperite de garantie. - Arzatoarele si capacele arzatoarelor pot fi curatate cu apa calda si detergent lichid. Canalele arzatoarelor pot fi curatate cu o perie. Verificati ca arzatoarele sa fie uscate inainte de a le monta la loc. De asemenea, verificati dacarzatoarele sunt positionate correct.
- Curatai periodice electrozii de aprindere de la cuptoarele cu aprindere automata. In acest mod se evita problemele de aprindere. Verificati periodici si canalele arzatoarelor astfel incat sa nu fie blocate cu reziduuri alimentare.
- Stergeti partea superioar a aragazului cu un material moale si uscat.
- Nu utilizati produse abrazive, bureti metalici, obiecte ascutite, lavete dure sau produse chimice si detergenti care ar putea deteriora immediabil stratul catalitic.
Pentru prepararea fripturilor, va recomandam sautilizati tavi cu pereti mai inalti si atunci cand preparati la grill trebuie sa asezati sub gratar tava colectoare.
Curatarea usii cuptorului
Pentru o mai usoarà curatae a usii cuptorului, se recomanda demontarea acesteia, asa cum se observā in imaginile de mai jos. Deshideti uça complet, rotiti cele douà picioare ale balamalelor la 1800.
Inchideti usa partial la 300. Scoatei usa prin ridicarea usoar a acesteia din positia anterioara.
Pentru a monta uça cuptorului la loc, parcurgeti etapele de mai sus in ordine inversã.



Figura 17
Inlocuirea becului din interiorul cuptorului
Scoateti stecherul cablului de alimentare din prizăși desurubati becul. Inlocuţi becul defect cu un bec functional, care sa aibă aceleasi carcinistici cu cel inlocuit.

Puc 18
5.1. CURATARE CATALITICA
*Unele modele sunt prevăzute cu curătare catalitica pentru captor. Panourile din interiorul captorului sunt acoperite cu un inveliș microporosși astfel curătarea se realizazeță automat.
Pentru o curatae eficienta, peretii din interiorul cuptorului trebuie sa fie porosi.
- Stopi de grasime pot bloca pori si astfel curataea automata nu va avea aceleasi rezultate. Pentru indepartarea reziduurilor alimentare lasati cuptorul sa functioneze 10-20 de minute, fara alimente in interior.
- In cazul in care stratul de reziduuri de grasime este foarte gros.si curataea catalitica nu se mai poate realiza, curatai stratul de grasime cu un burete impregnat in apa calda. Panourile catalitice au o durata de viata de fonctionare de 300 ore. Astfel, panourile trebuie inlocuite dupa 300 de ore de/utilizare.
6. SERVICE PROBLEM E IN FUNCTIONARE
-
In cazul in care captorul nu fonctioneaza, inainte de a apela la service, va recomandam sa procedati astfel:
-
Verificazioni dacā stecherul cablului de alimentare este bine introducts in priză.
Presiunea gazului nu este normala
Verificati urmatoarele:
-
Orificile arzatorului sunt blocate?
-
Regulatorul de presiune fonctioneazã normal?
-Sunt furnishate gaze? Este supapa beschisã?
Dacavisepareca supapa nu functioneaza normal,luati legatura cu un tehnician calificat de la un centru de service autorizat.
Mirosdgazeinloculundeeste amplasapataparatul
Verificati urmatoarele:
Supapa a ramas beschisa?
Teava de gaze este corect poziptionata si este in stare buna?
Dacā bānuiti cā sunt scurgeri de gaze, nu Utilizati flacārā deschisä.
Cuptorul nu incalzeoste
- Butoanele de control ale captorului se afla in poziţia corectă?
Durata de preparare este prea mare
A fost selectata temperatura corecta?
Ise fum din captor
- Va recomandam sa curatai cuptorul dupa fiecare/utilize. Daca nu sunt curatate rezidurile de grasime de pe pereti, acestea vor degaja un miros neplacut in timpul prepararii (vezi sectiunea referitoare la curatare si intretinere).
Nu se aprinde becul din cuptor
-Becul este ars. Pentru a schimba becul, respectati instruunile dincoloana alaturata.
Dacă după efectuarea acestor verificări problema persistă, va recomandam sa luati legătura cu un centru de service autorizat. Vă rugăm sa specifici numele modeluluiși numărul produsului (PNC sa ENR).
*Versiunea in limba engleză este de referinta.
7. PROTECTIA MEDIULUI

Acest aparat este marcat in conformitate cu Direcita europeana 2012/19/UE privind deeurile de echipamente eletrice si electronice (DEEE). DEEE cuprind atat substanle poluante (care pot cauza consecinte negative pentru mediu), cata componentele de bază (care pot fi reutilizate). Este important ca DEEE să fie supuse unor anumite tratamente pentru a Indeparta si elimina corespunzatortoate substanle poluante si pentru a recupera si
Persoanele pot juca un rol important in a se asigura cà DEEE nu devin un pericol pentru mediu. Astfel, este essential ca acestea sâ respecte unele reguli de bază:
- DEEE nu trebuie tratate ca deseuri menajere.
- DEEEE trebuie predate la punctele de colectare corespunzatoare gestionate de municipalitate sau de companile inregistrate. In numeroase tari, pentru DEEEE de dimensionali mari, poate fi prezenta colectarea de la domiciliu.
- cand cumpara un aparat nou, cel vechi poate fi returnat commerciantului, care este obligat sa-l colecteze in mod gratuite si individual, atat tamp cat echipamentul este de tip echivalent si are aleaei functii ca echipamentul furnizat.
VEILIGHEIDSVOORSCHRIFTEN
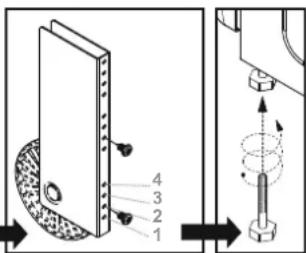
Ro Parcurgeti urmtatoarea procedurala amplasareacuptorului.
1-Amplasa jcuptorulla loculsau,reglaj-iin aJmeaiechilibra J-1.
2-Masurati dimensiunile H si Y indicate in figura si faceti un semn pe peretele pe care va fi fixat cuptorul. (Figura A)
3-Montaippeperetedispositivuldefixare(dinpunguata de service)folosindundiblu sun surub(nunsuntfurnizate).(FiguraB)
4- Impingeti cuctorul in spate si asigura t-va c di potitivul de fixare intrain fanta din spatele cuctorului. (Figura C)
Pentru a functiona, dispositivul de fixare trebuie sä intre 20 mm in interiorul fantei.
Producatoru nu se face responsabil pentru erorile de printare din acest manul. Ne rezervam dreptul de a realiza modificari asupra produselor fara a afecta characteristicle privind siguranta tau functionarea."
ManualUșor