CCG5100SW1 - Fornuis CANDY - Gratis gebruiksaanwijzing en handleiding
Vind de handleiding van het apparaat gratis CCG5100SW1 CANDY in PDF-formaat.
Veelgestelde vragen - CCG5100SW1 CANDY
Gebruikersvragen over CCG5100SW1 CANDY
0 vraag over dit apparaat. Beantwoord die u kent of stel uw eigen vraag.
Stel een nieuwe vraag over dit apparaat
Download de handleiding voor uw Fornuis in PDF-formaat gratis! Vind uw handleiding CCG5100SW1 - CANDY en neem uw elektronisch apparaat weer in handen. Op deze pagina staan alle documenten die nodig zijn voor het gebruik van uw apparaat. CCG5100SW1 van het merk CANDY.
GEBRUIKSAANWIJZING CCG5100SW1 CANDY
Veiligheidsvoorschriften 106
1. Algemene waarschuwingen 107
1.1. Symbolen in deze gebruikershandleiding 107
1.2.Conformiteitsverklaring 107
1.3. Veiligheidsvoorschriften 107
1.4.Nuttige tips 107
2.Installatie 108
2.1. Omgeving waarin apparaat moet worden geplaatst 108
2.2.Plaatsing 108
2.3.Afstelling van voetjes 108
2.4.Elektrische aansluiting 109
2.5.Fomuizen metvoedingskabel 109
2.6.Gasaansluiting 109
2.7. Conversie voor verzillende typen gas 110
2.8.Afmetingen van het apparatus 110
2.9. Algemeen uiterlijk en definitie van het apparaat 110
3. Gebruik van branders 111
3.1. Gebruikvan gasbranders 111
3.2. Gebruikvan elektrische kookplaten 112
4. Gebruik van de oven 113
4.1.Grillen 113
4.2.Elektrische oven 113
4.3.Kooksuggesties voorelektrische oven 113
4.4.Pizzabakken 113
4.5. Taarten bakken 113
4.6.Maaltijdenbereiden 113
4.7. Vis bereiden 113
4.8.Gebruikvan draaispit. 114
4.9.Gebruikvan minutentimer 114
4.10. Gebruikvan timervooreinde bereidingsstijd 114
4.11.Gasoven 114
4.12. Gebruikvan elektronisch programma 114
4.13.Koogtabellen 115
5. Reinging en onderhoud 116
5.1.Zelfreinigende katalytische oven 116
6. Klantenservice en probleemoplosing 116
7. Milieubescherming 116
NEPIEXOMENA
GR
OoivioAoopaiaoi 117
1. _evik O8nyie 118
1.1.XpnoI u o v 118
1.2. 118
1.3.YTIOEIEIeIO ΣΕ Θεματa Aσφλεισι 118
1.4.Xpnoiueo YIOeEia 118
2. EvktaaTaaon 119
2.1.KataaAnIotTaXwpouEykaTaaOgOikiaKwUoKeuWv 119
2.2.ToTROEETGn 119
2.3.puoi Tov Noiwv TnpiEo 119
2.4.Haektoikn Suovdeoan 120
2.5.Kouziva Nou Suvoobueta Ano Kaawio Tpooobogiaa 120
2.6.Σuδεση Me To Yypαερio 120
2.7.MetatpoTn Aeioupyiao Diaqopetika EiOn Aepiou 121
2.8. i a o t a e i o T n o u o k e u n o 121
2.9. Evika XapaktipoiTika K Pnepiypaqtn Tns Suokekuna 121
3.Xpnon Tuv Kauotnpwv Aepiou. 122
3.1. Aetoupyia Tw Kauotnpw Tn Epiaviaa Mayepaato 122
3.2.XpnonTuw Hktpikw MAtiw TnO Etipaviao Mayiepeuato.. 123
4. XpnoT Tov KauoTnpwv Aepiou 123
4.1.XpOaTou KpIaΦoupvou 123
4.2.HAekTpiKoOΦoupvoO 124
4.3.YTIOBcEIGIaO AIEIoupyiao Ia Tov HAEKPTiKO FOpUvo 124
4.4. Tia Na Ψησετ Πισα. 124
4.5.IpoeToiaiaIaukwv (TouptEo) 124
4.6. Ψησιμο Kρετατοσ 124
4.7. Ψησιμο Ψαρίου 124
4.8. Mayeipεμa M Te Tyn Σouβλα 125
4.9. Minutenzahler 125
4.10.Benutzung Des Timers Für Backzeitende 125
4.11.Gasbackofen 125
4.12. Bedienung Des Elektronischen Programmierers 125
4.13.IivakεσMavεipεματο. 126
5. Kaapiaog Tno Nopra Tou Ooupvou. 127
5.1.Katautikoo AutokaapizouevoΦoupvo.. 127
6. Ytnpeio TeVyikno YtooTnpiSNO & Etiuon IpopoAunaw 127
7. TnTnPnoTsigma Tou NepiBaaovtoa 127
GAS CATEGORY TABLE. 128-129-130
SAFETY INSTRUCTIONS
WAARSCHUWING: Het apparaat en de bereikbare delen worden heetijdens het gebruik. Zorg ervoor dat u de warmingselementen Niet aanraakt.
-
Kinderenjonger dan 8aar nicht bij het apparaat Ilaten mits onder continue toezicht.
-
Dit apparaat kan op een veilige manier worden gebruikt door kinderen van 8aar en ouder en personen met verminderde lichamelijke, zintuiglijke of geestelijkke vermogens of gebrek aan ervaring en kennis als zij onder toezicht staan of worden geinstrueerd over het gebruik van het apparaat.
-
Kinderen niiet met het apparaat lately spelen.
-
Schoonmaak en onderhoud Niet door kinderen lately doeen zonder toezicht.
WAARSCHUWING: Onbeheard koken op een kookplaat met olie en vet kan gevaarlijk zijn en hunnen brand als gevolg hebben.
- Probeer NOOIT een vuur met water te doven, maar zet het apparaat UIT en dek de vlam af met een deksel of blusdeken.
WAARSCHUWING: Gevaar voor brand; bewaar geen items op de kookplaat.
- Tijdens het gebruik worden het apparaat heet. Pas op dat u de verwarmingselementen in de oven nicht aanraakt.
WAARSCHUWING: Onderdelen hunnen heet worden. Hou Jonge kinderen op afstand.
- Gebruik geen agressieve schuurmiddelen of scherpe metalen schrapers om de oven glazen deur schoon te make, aangezien zich hun krassen op het oppervlak, tevens kan dit een barst in het glasveroorzaken.
- De onderkant van de lade kan aan de binnenkant heet worden.
- De oven moet uitgeschakeld worden voordat u de beveiliging verwijderd, deze要去ervolgens geplaatst worden zoals aangegeven in de handleiding.
- Gebruik alleen de aanbevolen temperatuursmeter voor deze oven.
- Gebruik geen stoomreiniger.
Gemorst vuil moet voor het openen van de deksel worden verwijderd. - Het kookopppervlak要去 afgekoeld zijn voordat u de deksel sluit.
WAARSCHUWING: Verzeker u ervan dat de kookplaat uitgeschakeld is voordat u de lamp gaat verrangen ivm een electrische schok.
- Voor een stroomnet met een contactscheiding in alle polen die voorzien in een volledige aflsuiting bij een overspanning van categorie III, moet in de bevestigingsbekabeling een aflsuitmethode worden ingebouwd in overeenstemming met de bekabelingsvoorschriften.
- De instructie vermeldt het type van de kabel dat moet worden gebruikt, rekening houdend met de temperatuur van de achterkant van het apparaat.
- Als het snoer beschadigd is,要去 het worden verrangen door een speciaal snoer verkrijgbaar bij de fabrikant of service center.
LET OP: Om een gevaar als gevolg van onbedoeld resetten van de thermische beveiliging te voorkomen,要去 dit apparaat Niet worden gevoed via een externe schakelaar, zoals een timer, of aangesloten worden op een circuit dat regelmatig worden in-en uitgeschakeld.
- Dit apparaat要去 worden geinstalleer in overeenstemming met de geldende voorschriften en mag alleen gebruikt worden in een goed geventileerde ruimte. Lees de instructies voor het installereren of gebruiken van dit apparaat.
- Deze instructies zichen alleen geldig wonneer het land symbool verschijnt op het apparaat. Als het symbool zichen verschijnt op het apparaat, is hetoodzakelijk te verwijzenaar de technische instructies die zullen voor de nodige informatiezorgen met betrekking tot een wijziging aan het toestel.
"zorg voorafgaand aan de installmentatie dat de lokale distributie voorwaarden (aard van de gas-en gasdruk) en de aanpassing van de applicatie compatibel zich""; - """ de aanpassing van de voorwaarden voor dit apparaat+zijn vermeld op het etiket (of typeplaatje) "";
- " Dit apparaat is nicht aangesloten op een verbrandingsproducten evacuatie apparaat. Het worden geinstalleerd en aangesloten in overeenstemming met de huidige installmentie voorschriften. Bijzondere aandacht worden geschonken aan de relevante eisen ten aanzien van ventilatie.
- Het gebruik van een gasfornuis resulteert in de productie van warmte en vocht in de ruimte waar deze is geinstalleer. Zorg ervoor dat de keuken goed geventileerd is. Houd bestaande ventilatiegaten open of installer een mechanische ventilatie-apparaat (afzuigkap). Aanhoudend en intensief gebruik van het apparaat kan een beroep doeon op extra ventilatie, bijvoorbeeld het openen van een raam, of meer efectieve ventilatie, bijvoorbeeld verhoging van het niveau van mechanische ventilatie indien aanwezig. LET OP: Toegankelijkke onderdelen konnen heet zich wonneer de grill in gebruik is. Jonge kinderen dienen wegheonden te worden.
WAARSCHUWING: Ter voorkoming van omvallen van het apparaat, moeten stabilisatiemiddelen worden geinstalleerd. Raadpleeg de instructies op pagina 131 van deze handleiding.
Hartelijk dank dat u eenvanze producten heeft gekozen. Om optimaal gebruik te konnen makeen van uw fornuis, raden wij u het volgendeaan: -Lees de opmeringen in deze handleiding zorgvuldig: deze bevat belangrijke instructies voor het veilig installereren, gebruiken en onderhonden van dit fornuis.
Bewaar die beziegen opfige plek zodat u hetter referentie kunt gebruiken.
- Mocht het apparaat worden verkocht of worden overgedragen, dan moet deze handleiding met het apparaat worden meegeleverd om juiste overdracht van de informatie over installation/gebruik van het apparaat en de bijbehorende waarschuwingen te garanderen. -Aile teogankelijke onderdelen zijn heet wonneer het apparaat worden gebruikt.
Raakdezeelementen nietaan. Wanner het fornuis voor de eerste koer wordt ingeschakeld, hunnen scherp ruikende dampen ontstaan. Deze zijn ongevaarlijk. Het is raadzaam het fornuis twee uur leeg ingeschakeld te lately.
1.1. SYMBOLEN IN DEZE GEBRUIKERSHANDLEIDING
Indezegebruikershandleiding de onderstaande symbolen gebruikt.

Veiligheidsinformationie
Informatie over milieubescherming

Dit apparatus voldoet aan Europese EEG-richtlijnen.

Pas op, omvalgevaar.

Alle onderdelen van dit apparaat die in contact können=komen met voedsel, voldoen aan de Europese richtlijn 89/109/EEG. Het apparaat voldoet aan de Europese richtlijnen 73/23/EEG en 89/336/EEG, verrangen door 2006/95/EEG, 2004/108/EEG, 2003/55/EEG enaaropvolgende amendmenten. Het apparaat voldoet tevens aan 93/68/EEG enaaropvolgende amendmenten.
1.3. VEILIGHEIDSVOORSCHRIFTEN
- Gebruik het fornuis uitsluitend voor de toepassing waaroor们都ontworpen: het bereiden van voedsel. Elk ander gebruik, bijvoorbeeld als verwarming, vormt onjuist gebruik van het fornuis en is dan ook gevaartlijk.
- De fabrikant is nicht aansprakelijk voor schade als gevolg van een verkeerde toepassing van dit apparaat of van onjuist of onredelijk gebruik.
- Neem bij de omgang met elektrische apparaten alttijd de volgende standaardregels in acht. Als het apparaat defect raakt of Nieteer werk, haalt u de stekker uit het stopcontact, raakt u het verder Niet aan en neemt u contact op met de geauthoriseerde service.
Tijdens het gebruik worden het apparaat heet. Pas op dat u de verwarmingselementen in de oven Niet aanraakt.
-Draag alsijd handschoenen bij het verwijderen van voedsel uit de oven.
Houd het apparaat om veiligheids- en gezondheidsredenen alttijd schoon. Veten voedselresten können leiden tot brand. Plaats uw hand Niet fusen de oven en de scharnieren van de bovenklep. Houd kinderenuit de buurt.
Zorg dat alle knappen in de UIT-stand staan wonneer het apparaat nicht worden gebruikt.
Gemorst vuii moet voor het openen van de deksel worden verwijderd. Het kookoppervlak moet afgekoeld zich voordat u de deksel sluit. - De ovenlade is bedoeld voor de opslag van lege schalen of om voedse warm te honden.
- Plaats geen brandbare, explosieve of reinigingsmaterialen, zoals nylon zakken, papier, doeken, enzovoort in de lade.
- Gebruik uitsluitend hittebestendige potten en pannen. Gebruik geen brandbare materialen.
-Het wijzigen (of poging tot het wijzigen) van de kenmerken van het apparaat kan gevaarlijk zijn.
- Let met name goed op wanneer u aan het frituren bent:That het apparaat Niet onbeheard.
-Het apparaat is zwaar. Ga voorzichtig te werkals u het verplaatst.
- De uitstoot van hete luchtijdens gebruik van het apparaat is normaal.
- Sluit de ventilatieopeningen van de oven nooit af.
Bij hetplaatsen van voedsel op of in het apparaat of wanner u voedsel verwijdert met overtollig vet of water, kan er op het apparaat worden gemorst. Verwijder dergelijkke resten direct na het koken om onaangename geurontwikkeling en möglichke brand te voorkomen.
- Verlaag de vlam of schakel de branders uit voordat u pannen verwijdert.
-Neem bij het gebruik van elektrische apparaten altijd de volgende standaardregels in ache!
Gebruikgeen adapters, verdendozen en/ofverlengsnoeren. Trek nooit aan het netsnoer omde stekker uit het stopcontact te halen.
Raakde oven nooit aan met natte handen of voeten.
^ U moeteen beschadigde voedingskabel onmiddelijkvervangen.
Neem bij het verrangen van de Kabel de onderstaande voorschriften inRCT:
*Alleen een gekwalificeerde elektromonteur mag de kabel verrangen. Reparaties mogen alleen met de originele reserveonderdelen worden uitgevoerd bij een erkende serviceworkplaats.
Vervang de voedingskabel alleen door een kabel van het type H05RR-F, H05WF of H05V2V2-F. De kabel要去 het vermogen hebben om de voor het product vereiste elektrische stroom te leveren.
- Controller de flexibele gasaansluitingspijp regelmatig.
- De gasinlaatslang要去itdebuurt vanheteonderdelenvan de oven worden gehouden en mag Niet in contact komen met de oven.Uknt de aansluiting van de gasinlaat naar de linkerkant of derrechtkercant van de oven verplaatsen. Na een dergelijke aanpassing moet u met een zeepoplossing controeren op een mogelijkkgaslek.
- Nadat de gasipijp op de verbinding is aangesloten, moet u deze met een klem stevig vastzetten. Let met name op eventuele gaslekken: controllerer hierop meteen zeepoplossing.
-Laat hetapparaat Niet onbeheerd acheer voordat het is afgekoeld.

Als u zich Niet aan de bovenstaande instructies houdt, kan de fabrikant de veiligheid van hetformuis nicht garanderen.
1.4. NUTTIGE TIPS
-Alle kleppen, geëmailleerde of glazen oppervlakken kuren uit elkaarworden gehaal voorgemakkelijke reiniging. Als uw apparaat een bovenklep heeft, is deze ontworpen om het bovenblad te beschermen gegen stof wanner het Niet worden gebruikt of om het morsen van olie te voorkommen tijdens het koken.
- Gebruik de klep Niet voor andere doeleinden
WAARSCHUWING! (Modellen met glazen klep) De glazen klep kan breken wanner deze worden blootgesteld aan overmatige ditte. Controller ealtijd of de branders uitzijn voordat u de klep sluit.
- Gebruik geen misvormde ofuit evenwichtzijnde pannen.
- Reinig de grill en de vetopvangbak zorgvuldig voordat u deze voor de eerstekeer gebruikt.
- Wanner u reinigingssprays gebruikt, moet u nooit op verwarmers of op de thermostaat spuiten.
Zorg dat de ovenplaten correct worden geplaatst. - Steek de brander aan voordat u de pan eropzet voor snellere ontbranding. Controller of de brander een normale vlam heeft.
- Dekovenonderdelen nicht af met aluminiumfolie.
2. INSTALLATIE
De installmente要去en uitgevoerd door gekwalificeerde vakmensen. De fabrikant is nicht verplicht om de installmente uit te voeren. Als de hulp van de fabrikant worden ingeroepen om problemen te verhopen die zich ontstaan door verkeerde installmentie, vallen deze werkzaamheden Niet onder de garantie.
Neem de installmentevoorschriften in acht en schakel gekwalificeerde vakmensen In. Onjuste Installatie kan materielle schade vereoorzaken of letsel aan mens endier. De fabrikanten kan niet aansprakelijk worden gesteld voordergelijke schade of dergelijk letsel.
WAARSCHUWING! De locatie van het apparaat moet zorgvuldig worden overwogen! Het kan uitsluitend worden geinstalleerd in een ruimte die continu wordt geventileerd.
Het gebruik van een gasfornuis resulteert in de productie van warmte en vocht in de ruimte waarin deze is geinstalleerd. Zorg ervoor dat de keuken goed geventileerd is. Houd bestaande ventilatlegaten open of installeer een mechanische ventilatie-apparaat (afzuiigkap). Aanhoudend en intensief gebruik van het apparatusaat kan een beroep doen op extra ventilatie, bijvoorbeeld het openen van een raam, ofmeer effectieve ventilatie, bijvoorbeeld verhoging van het niveau van Mechanische ventilatie indien aanwezig.
Elektrische aansluitingen moeten altijd worden losgekoppeld voorafgaand aan reparatie, installmente of aanpassing.
- Voordat u het apparaatplaatst, moet u de eigenschappen van de energietoevoer controleren (gastype, gasdruk) en ervoor zorgen dat het apparaat waarop worden afgesteld.
- Dit apparaat要去 nicht worden aangesloten op het uitlaatsystem van apparatuurdie andere brandstof gezrukt.
- Het apparaat moet Niet worden geinstalleerd in de buurt van brandbare materialen (zoals meubels, gordijnen, enzovoort).
-Het apparatus mag Niet op een draagvlak worden geplaatst.
- Voor goede werkig van het apparaat moet er voldoende natuurlijke
luchtventilatie zijn in de ruimte voorgasverbranding.
- De luchtstroom要去 door de getraliede luchtventilatieopeningen in de buitenmuren lopen.


Luchtgrills moeten een profiel hebben van 100~cm^2 voor luchtdoorstroming en voor apparaten met een vlambeveiligingsmechanisme. Bij apparaten zonder vlambeveiligingsmechanisme is een profiel van 200~cm^2 vereist. (Een ofeer grills kannen worden gebruikt.)
Emissie van verbrandingsgassen
- Verbrandingsgassen van fornuiizen moeten rechtstreeks worden afgevoerd via deuren of via een kap die is aangesloten op een schoorsteen of rookkanaal (afbeelding 1).
- Als het nicht möglichk is een kap te installereren, moet een elektrische luchtververser worden gemonteerd in een muur of in een venster dat maar buiten leidt (afbeelding 2).
- Elektrische luchtverversers moeten het vermogen hebden de keulenlucht 3-5 koer per uur te verversen.


-
De grill moet zo worden geplaatst dat deze aan beiden kanten nicht kan worden gesloten en bij voorkeur zichblij de vloer. Grills mogen Niet langs de kanalen worden geplaatst waardoor verbrandingsgassen en uitgestoten gassen lopen.
-
Als het möglichk is getraliede ventilatieopeningen aan te brengen in de ruimte waar het apparaat worden geplaatst, kan de benodigde lucht ook worden aangevoerd vanuit een naastgelegen ruimte, mits dat geen slaapkamer is of een kamer waar een luchtstroom gevaar kan opleveren.
2.2. PLAATSING

Het apparaat is ontworpen.
onder de veronderstelling dat
het aang renzende
aanrechtbladeniet hoger zichn
dan de hoogte van het
fornuisoppervlak.
2.3.AFSTELLING VAN VOETJES
U=kunt de voetjes iederafzonderlijkfakstellen meteen moersleutelom ervoor te zorgen dat de oven waterpas staat, zatat de vloeistof in pannen horizontal staat.
regelbare voetjes en wieltjes

A

A

B

C
Het apparaat heeft afstelbare voetjes in de benedenhoeken van de behuizing.
- De maximale hoogte van het fornuis is 868 mm en kan worden bereikt doorde
- Afstelbare voorvoetjes en Achterwieltjes in het vierde gat teplaatsen.
- De achterwieltjes要去en in het tweede gat worden geplaatst (afbeelding A1) voor de standardhoogte. De standardhoogte is 850 mm.
regelbare voetjes

Fornuizen zijn verkrijgbaar met en zonder voedingskabel. De kabelaansluiting要去en uitgevoerd door een geauthoriserde monteurvolgens de onderstaande instructies.
De elektrische aansluiting要去en bewerkstelligd volgens de toepasselijkne normen en richtlijnen. Controller erest de volgende zaken voordat de elektrische aansluiting worden gemaakt:
-
Is het vermogen van de elektrische aansluiting en de veiligheidsontstekers in het gebouw voldoende voor de belasting van het apparaat? (Controleer het etiket met informatie.)
Is de elektrische voedingsleiding voorzien van een aardaansluiting die voldoetaan de toepasselijkke normen? «Uwhuis要去 zich voorzien van een geschikte aardaansluiting Als dit Niet het geval is, moet u een geauthoriseerde technicus dit probleem latent oplosen. -
Bevindt het stopcontact of de multipolige schakelaar zich op een goed bereikbare locatie nadat het apparaat is geinstalleerd?
-
Er要去 een stekker aan de voedingskabel worden gemonteerd en de kabel要去 in een veilig stopcontact worden geplaatst.
-
Er要去 een multipolige schakelaar worden gemonteerd:tussen het apparaat en de elektriciteitsleiding als een rechtstreekse elektrische aansluiting met het apparaat nodig is. (Deze要去 aan de normen voldoen en geschikt zich voorde belasting.)
-
De groen/gele aardingskabel mag Niet worden voorzien van een schakelaar. De bruine fasekabel (van de met 'L' gecodeerde aansluiting op de oven)要去 algid worden aangesloten op de faseleiding van de stroomtoevoer.
-
De elektriciteitsleiding moet zo worden geplaatst dat deze nicht worden blootgesteld aan temperaturen hoger dan 50^
Wanner de voedingskabel要去 worden verrangen,要去 dit worden gedaan door een kabel met een profiel dat geschikt is voor het aangegeven vermogen. De groen/gele aardingskabel要去 onceveer 2 cm longer maar dan de fase- en de neutrale kabel.
-
Controller de branders door deze gedurende 3 Minutes te lien branden nadat de aansluiting is voltooid.
-
De fabrikant is nicht verantwoordelijk voor schade als gevolg van Niet-nalevingvan de veiligheidsnormen.
Bij een rechtstreekse aansluiting op de vaste bedrading moet er een voorziening zijn tot uitschakeling van het voedingsnet in de vom van een contactscheiding in alle polen die volledige uitschakeling garanderen volgens overspanningscategorie III in navolging van de bedradingsvoorschriften.
2.5. FORNUIZEN MET VOEDINGSKABEL
Aansluiting isuitsluitend bedoeld voorspanningen van 220-240 Tussenfasen of tussenfasen en neutraal.

- Eventuele verranging van de voedingskabel要去 worden uitgevoerd door de serviceafdeling of door een geauthoriseerde monteur. De kabel要去 worden verrangen door een kabel met bezelfde of gelijke kenmerken als die van de oorspronkelijke kabel.
Vermogens/voedingskabels:
| Nominaal vermogen (kW) | Nominale spanning (V) | Nominale stroom (A) | Voedingskabel |
| 2.3 kW | 220 - 240 V | 9.1 A | \( 3 \times 1.0 mm^2 \) |
| 3.5 kW | 220 - 240 V | 15.9 A | \( 3 \times 1.5 mm^2 \) |
| 4.0 kW | 220 - 240 V | 18.2 A | \( 3 \times 2.5 mm^2 \) |
2.6. GASAANSLUITING
Het apparaat moet op het gas worden aangesloten volgens de toepasselijkke normen en richtlijnen.
- Toen hetapparaat de fabriek verliet, was het afgesteld op het gastype dat staat aangegeven op het etiket bij de gasinlaat op de achterkant van hetapparaat.
Zorg dat u het Gastype gebruikt dat op het etiket staan aangegeven. Als het een ander type gas betreft, volgt u de instructies in het hoofdstukover conversie maar andere gastypen.
Zorg dat de gastoevoerdruk overeenkomt met wat is aangegeven in de tabel Gascategory (laatste 3 pagina's in deze gebruikershandleiding) om maximale efficiente en het laagste verbrukte garanderen.
Als de gasdruk Niet overeenkomt, moet een gasklep worden aangebracht op de gasinlaat. Het gebruik van een gasklep die overeenkomt met de normen voor LPG is togetstaan.
Aansluiting op vaste of flexibele metalen pijp
- De gastoevoer kan worden aangesloten op een flexibe roestvrij stalen ijp volgens de toepasselijke veilgheidsnormen. In dit geval is het Niet nodig het apparatusaat te verplaatsen. Degasinlaataansluiting van het apparatusaat is Gc A
Aansluiting op flexibele Niet-metalen pijp
- Als de gasaansluiting zich op een locatie bevindt waar deze kan worden in- en uitgeschakeld, kan een flexibile pijp worden gebruikt in navolging van de toepasselijkke normen. De flexibile pijp要去 stevig worden vastgezet meteen kiem.
- De flexibele pijp kan als volgt worden aangesloten:
Aangezien de flexible pijp darüber de oven zar worden geplaatst, moet deze nooit worden bloatgesteld aan temperaturen hoger dan 30^ - De lenghte mag Niet groter zich dan 150 cm.
- De pijp mag nicht worden blootgesteld aan stoom.
- De pijp mag Niet fouwen, knikken of worden belast.
- De ijnp要去 worden beschermd gegen scherpe of puntige voorwerpen.
- De pijp要去egankelijkzijn voor periodieke inspectie. -De flexibele pijp要去 als volgt worden gecontroleer op slijtage: -Controller of op of bij de uiteinden van de pijp barsten, scheuren of brandplekken aanwezigহ.
-Het materiaal moet zich flexibilititeit behouden. Overmatige onbuigzaamheid is Niettoegestaan.
-De klemmen mogen geen roestvorming vertonen. - De pijp moetin elkgeval na 5jaargebruikworden verrangen.


Controleer alle aansluitingen op lekken met een zeepoplossing nadat de installmentie is voltooid. Gebruik geen vlam om te controlleren op gaslekkern.
Voor de onderstaande fornuizen is schriftelijke afstellingoodzakelijkdooreen gekwalificeerde monteur.
Volg de stappen hieronder om het apparaat te converteren van de fabrieksinstelling maar instelling vooreen ander gastype.
Fornuizen zijn afgesteld op aardgas en aansluitingstype is cilindrisch (1). Bij slangen voor aardgasaansluiting kan de slangadapter (2) worden gemonteerd aan de cilindrische adapter metafdichting.
Bij slangen voor LPG-aansluiting kan de LPG-slangadapter (3) worden gemonteerd aan de cilindrische adapter met afdichting.

Injectors afstellen en verwisselen Injectors verwisselen
-Verwijder roosters.
-Verwijder branderdoppen en branders.
-Verwijder injectors met een moersleutel van 7 mm en monteervolgens dejuiste Injector uit de tabel Gascategory (laatste 3 paging in deze gebruikershandeiding).
Volg de bovenstaande stappen in omgeekerde volgorde nadat de neue injectoris gemonteerd.
Stand-by-afstelling

Stand-by-afstelling voor fornulzen zonder bevellingingsmechanismen, met bevellingingsmechanismen en metontstekingsknop
Zet de bedieningsknop van de brander op de stand voorkleine vlam en verwijderde knop.
-
Als conversie van aardgasaar LPG nodig is, draait u de schroef van de gaskleppen meteen schroevendraaier rechtsom naarde uiterste stand.
-
Als conversie van LPG maar aardgas nodig is, draaat u de schroef van de gaskleppen met een schroevendraier linksom totdat een Kleinere vlam van 114 grotte is bereikt.
-
Na de afstelling planta t de knappen waar terug.
-
Controller de afstelling door de bedieningsknop van de brander snel van
de maximale maar de minimale stand te draaien. Als de vlam blij branden, is de afstelling juist.
Bij beveiligingsmechanismen kan de pilotvlamafstelling worden uitgevoerd met de schroef op het klephuis. In geval van een ontstknskop voor pilotvlamafstelling moeten bovenblad, bovenklep en paneel worden verwijderd.

Voor pilotvlamafstelling van de thermostaatklep moeten bovenblad, bovenklep en paneel worden verwijderd.

Gasoven
-Verwijder achterklep (Afb.3) Verwijder injectoradapter Afb.
-Verwijder injectors meteen moersleutel van 7 mm en monteervervolgens de juiste injector uit de tabel Gascategory (laatste 3 pagina's in deze gebruikershandleiding). Afb. 5.)
- Volg de bovenstaande stappen in omgekeerde volgorde nadat de neue injector is gemonteerd.
Brandertussenruimte is 4,5 + 0,3 mm voor aardgas en LPG Afb.6).

Afbeelding 3


Afbeelding 4

Afbeelding 5
Afbeelding 6

2.8.AFMETINGEN VAN HET APPARAAT

2.9. ALGEMEEN UITERLIJK EN DEFINITIE VAN HET APPARAAT
Deze gebruikershandleiding is van toepassing op meerere modellen. Enkele van de kernmerken die in deze handleiding worden genoemd, zich möglichk Niet van toepassing op uw apparaat.
1-Bovenblad
2-Bedieningspaneel
3-Lade
4-Ovendeur (voorstdeur)
5-Metallic of glazen bovenklep
6-Hulpbrander
7-Snelle Brander (Semisnelle brander)
8-Ultrasnelle Brander (Snelle brander)
9. Semiselle brander
10. Linkrooster
11- Rechterooster
12-Bedieningsknoppen branders
13-Knopthermostaatoven
14- Ontbrandingsknopof ventilatieknap
15-Lampjeknop
16-Timerknop
17-Verstelbaar voetje
18-Vast voetje

1-Bovenblad
2-Bedieningspaneel
3-Lade
4-Ovendeur (voorstdeur)
5-Metallic of glazen bovenklep
6-Hulpbrander
7-Snelle Brander (Semisnelle brander)
8-Ultrasnelle Brander (Snelle brander)
9-Kookplaat
10- Linkrooster
11-Rechterrooster
12-Bedieningsknoppen branders
13-Bedieningsknop kookplaat
14-Knop thermostaatoven
15- Ontbrandingsk
ventilatieknop
16-Signaallampje
17-Verstelbaarvoetje
18-Vastvoetje

1-Bovenblad
2-Bedieningspaneel
3-Lade
4-Ovendeur (Voorste deur)
5-Metalen of glazen bovenklep
6-Sudderplaatje
7-Snelbrander
8-Kookzone
9-Kookzone
10-Rechter Pandrager
11- Knoppen gasbrander
12-Knoppen elektrische zones
13. Knop thermostaatoven Ontstekingsknop of
14-ventilatieknop
15-Indicatielampje

1-Bovenblad
2-Bedieningspaneel
3-Lade
4-Ovendeur (Voorste deur)
5-Metalen of glazen bovenklep
6-Kookzone
7-Kookzone
8-Bedieningsknuppen Zones
9-Knop thermostaatoven
10-Indicatielampje

Verwijderen en reinigen van de zijlingse roovers
1 - Verwijder het rooster door ze stevig uit de hengsels in derichting van de pijlen te trekken.
2 - Reinig de roosters in een vaatwasser of met een vochtige spons en droog ze daarna.
3 - Na het reinigingsproces installer de roovers in omgekeerde volgorde.

3. GEBRUK VAN BRANDERS
De bedieningsknuppen van de branders bevinden zich op het bedieningspaneel.

Afbeelding 7
Uit-stand
Wanner de knop zo worden gedraaid dat het symbol van een punt in de richting van het paneel wijst, staat deze in de Uitstand. De gasklep worden gesloten en de vlam gaat uit.
Maximale gastroevoer Druk op de branderkno
Druk op de branderknop en draaiythezeaar links totdat het Symbool van de punt in de richting van het symbool van een grote vlamwijst. De vlam staat nu op de hoogste stand. De gasklep staat volledig open.
Minimale gastroevoer
De vlam kan worden verkleind door de knop zo te draaien dat het symbool van een punt in de richting van het symbool van eenkleine vlam wijst. De brander za laag branden.

A-Brander deksel
B-Brander
C-Elektronde
D-Injector (jet)
E-Brandervoet
F-Beveiliging
Branders ontsteken
Fornuizen met gasbranders
De brander要去en ontstoken voordat er een pan op worden gezet. Op modellen met vontkontsteking要去 de ontstekingsknop worden ingedrukt. Druk op de knop van de brander die u wilt ontsteken en draai deze maar links waar het symbool van een grote vlam. Druk op de ontstekingsknop. Bij modellen met ontstekingsknoppen drukt u op de knop van de brander die u wilt ontsteken en draait u deze maar het symbool met een ster. De elektrde worden automatisch geactiveerd. Alle elektroden worden automatisch geactiveerd en de brander waarnaar gas worden geleid worden ontstoken.
Gasoven
De knop moet minimaal 15 seconden worden ingedrukt. Als de brander na 15 sec. nog Niet is ontstoken,That de knop los,open de deur van de ovenen wacht tenminste 1 minut voordat u een nieuwe poging waagt.

Afbemodeling 8
Controleer of het gas inderdaad brandt na deze stap. Als er geen vlam is, herhaalt u de procedure.
Na ontsteking stelt u de vlam in op de gewenste grotte. Handmatige ontsteking(wonneer geen elektriciteitbechikbaar is) Houd een vlam (een lucifer, aansteker of kaars) bij de brander.
WAARSCHUWING wacht 1 minuut totdat u een pogiting tot ontsteking doet. Druk op de knop van de brander die u wilt ontsteken en draai deze maar het symbool van een grote vlam. Als de brander Niet direct bij de eerste poging worden ontstoken, probeert u het opnieuw en houd u de knop iets langer ingedrukt. Wanner de brander is ontstoken, zet u de vlam op de gewenste stand. Als de brander na meerere pogingen nog Niet is ontstoken, controleert u de juiste stand van de brander en de branderkap. Draai de knop maar de 0" stand om de gastoevoer af te sluiten. Als de brander per ongeluk nicht更是 brandt,要去 u tenminste 1 minutwachten totdat u.dequeue weer ontsteekt. Sommige fornuizen zijn voorzien van een vlambeveiliging (zie afbeelding F). Als de vlam uitgaat, worden de gastoevoer automatisch afgesloten.
Minimale en Tmaxiale diameters van bodems van pannen.
| Brander | Min. Diameter [mm] | MaxDiameter [mm] |
| Grote Brander | Ø 240 mm | Ø 280 mm |
| Gemiddelde brandei | Ø 180 mm | Ø 240 mm |
| Kleine brander | Ø 120 mm | Ø 180 mm |
| Ultra snelle brander | Ø 240 mm | Ø 280 mm |
-
Het buitenoppervlak van de vlam is heter dan het binnenoppervlak. De toppen van de vlammen moeten de onderkant van de pan raken. Vlammen die buiten de pan reiken, resulteren in onnodig gasverbruik. In gegenstelling tot elektrische kookplaten zichoor gasbranders geen pannen met vlakke bodem vereist. Vlammen die de onderkant de pan raken, geleiden deitte volledig.
-
Hoewel er voor gasbranders geen sprecciale pannen hoeven te worden gezruikt, geleiden pannen van dunner materiaal de hitte sneller dan pannen van dikker materiaal.
-
Sommige delen van het voedsel konnen worden verwarmd verwijl andere delen koud blijven als gevolg van oneevenwichtige warmte distributie onder de pan. Daarom moet het voedsel bij gelebruik van pannen met een dunne bodemijdens het koken continue worden geroerd. Bij eenDICke bodem wordt ditte evenwichtiger verspreid.
Het gebruik van zeerkleine pannen word afgeraden. Bredere, lage pannen zich geschikter voor effectief en snel koken dan kleine,diepe pannen.
- U=kunt de bereidingsstijd Niet verzorten door een kleine pan te gebruiken op een grote brander. U zult op die manier alleen gas verspillen. Het gebruik van een pan met deksel bespaard energia.
3.2. USE OF COOKTOP ELECTRICAL PLATES

Afbeelding 9 Afbeelding 10

| Posite | Power (Watt) | Power (Watt) | Power (Watt) | Uitleg |
| 0 | 0 | 0 | 0 | Uit |
| 1 | 100 W | 135 W | 175 W | Verwarmen |
| 2 | 180 W | 220 W | 220 W | Koken bij lage temperatuur |
| 3 | 250 W | 300 W | 300 W | Koken bij lage temperatuur |
| 4 | 500 W | 850 W | 850 W | Bakken, braden, koken |
| 5 | 750 W | 1150 W | 1150 W | Bakken, braden, koken |
| 6 | 1000 W | 1500 W | 2000 W | Bakken, braden, koken |
Geschiktheid van pannen
Houd er rekening mee dat grotere pannen grotere verwarmings oppervlakken hebben. Hierdoor wordt het voedsel sneller bereid dan bij pannen met een Kleinere verwarmingsoppervlakten. Gebruik altijd pannen met de juiste grootte voor de hoeveelheid voedsel die moet worden klaargemaakt. Gebruik geen zeerkleine pannen om spatten te voorkomen, met name bij voedsel met veel vloeistof. als u zeer groote pannen gebruikt om snel voedsel maar te makeen, zullen vlees en vloeistof blijven plakken. Het gebruik van gesloten pannen en schalen wordt aangeraden bij het koken van zoet. Gespat suiker en sap kan blijven plakken op deplaat en is moeilijk te verwijderen.

Afbeeling 11

Afbeelding 12
Dit is met name van belang bij pannen die worden gebruikt voor braden of op hoge temperatuur koken.
Laat de branders nicht onbeheard après zonder pan of met een lege pan. Controller de geschiktheid van kookpannen aan de hand van de volgende criteria:
1) Ze要去en zwaar zichn,
2) ze要去en het volledig oppervlak
bedekken; ze mogen wel iets te groot maar nicht te Klein+zijn. 3) de bodem要去 vlak+zijn en goed op het kook oppervlak passen. * voor optimaal gebruik van elektrische kookplaten en om het energieverbruik te minimisieren, moeten alle pannen met een glasse,vlakke bodem worden gebruikt.De grootte van de pan要去 zoveel möglich overeenkomen met de diameter van de kookplaat en nooit kleiner+zijn. De bodem van de pan要去 droog+zijn en morsen要去 worden vermeden. Lege pannen mogen Niet op de kookplaten blijven staan en de platen mogen Niet aan blijven staan zonder dat er een pan op staat.
4. GEBRUIK VAN DE OVEN
4.1. GRILLEN

ELEKTRISCHE GRILL: Gebruik UITSLUITEND met gesloten deur
GASGRILL: Deze kan worden gebruikt met open deur MET de paneelbeschermer onder het bedieningspaneel gestoken, zoals in de afbeiding.
Wanner u voedsel grilt, krijt ght het snel eendiepbruine kleur. Afhankelijk van de
hoeveelheid voedsel kunte op grill instellen op diverse standen. Praktisch alle voedsel kan onder de grill worden bereid, met uitzondering van zeer mager wild en rollade.
Vlees en visdatu wiltgrillen, moet eerstlicht met olie worden bedekt. Gebruik een vetopvangbak bij het grillen. Giet wat water in de bak om onaangename geuren te voorkomen en om te voorkomen dat vet vlam vat.
- Grillen is met name geschikt voor het bereiden van stukken vlees, bijvoorbeeld steaks, die Niet te dikijken, stukken vlees van verschillende grotte, gezogelte, vis, bepaalde groenten (courgette, aubergine, tomaat, enzoovoort) in combinatie met vlees- en visproducten op spieren.
Brenglicht olie aan op de vis voordat u deze rechtstreeks onder de grill plaatst.
Voeg na de bereiding zout toe aan vlees; breng zout aan in de opening van de vis voorafgaand aan bereiding.
De afstand tot de grill is afhankelijk van de dikte van het vlees of de vis.
- Als de afstand goed is ingeschat, zullen de buitenkanten nicht verbranden en blijft de binnenkant nicht rauw.
Voorkom onaangename geuren en rook als gevolg van druipend vet/saus door 1 of 2 glazen water in de vetopvangbak te gieten.
- U kurz de grill ook gebruiken om te roosteren (geroosterd brood, enzovoort) en om bepaalde fruitsoorten te bereiden (banaan, grapefruit-of sinaasappelpartjes, appels, enzovoort). Fruit magECHTERNiet in contact komen metde verwarmingselementen.

Dek de binnenwanden of de bodem van de oven nooit af met aluminiumfolie. Geaccumuleerde ditte kan het email van de oven beschadigen en uw maaltijd bederven.

Wanneer de ovenfuncties worden gebrukt, moet de bovenklep van de bovenplaat open staan.
4.2. HORNO ELECTRICO
| Positie | Ovenfunctie |
| F | Fuanción |
| °C | Temperatuur |
| © | Bereidingstijd |
| ○ | Niet in gebruik |
| ←→ | Draaispit/grillverwarmer |
| ○ | Lampje |
| · | Grillverwarmer |
| ×× | Grillverwarmer/ventilator |
| ×× | Ventilator |
| ×× | Bovenste verwarmingselement/ventilator |
| ×× | Onderste verwarmingselement/ventilator |
| ×× | Bovenste verwarmingselement/onderste verwarminqelement/ventilator |
| · | Onderste en bovenste verwarmingselement |
| · | Bovenste verwarmingselement |
| · | Onderste verwarmingselement |
| PIZZA | Handmatig |
| Pizza |
4.3.KOOKSUGGESTIES VOOR BEREIDINGSTIJD
Traditionele bereiding
Hitte worden gegenereerd door de bovenste en onderste verwarmers. Over het algemeen hebdt de middelste positie de voorkeur. Als de bovenkant of onderkant van het voedsel echter meer moet worden gebakken,plaatst u het op de bovenste of onderste plaat.
Convectiekoken (met ventilator)
-Het voedsel worden bereid door evenwichtig verspreide voorverwarmde lucht die in de oven worden geblazen met een ventilator die zich in de城县kant van de oven bevindt.
- U kunt meerere gerechten tegelijk bereiden op verschillende platen dankzij de evenwichtig verspreide womte in de oven.
-Dit type oven is ook zeer geschikt voor het ontdooien van bevroen voedsel. De convectoroven kan ook worden gebruikt om ingeblikt voedsel te steriliseren, fruitsiroop te bereiden en vruchten en championons te drogen.
4.4.PIZZA BAKKEN

- Stel thermostaatin op maximum.
Voorverwarmtijd 15 min. (20 min. indien möglichk). - Plaats de schaal in een van de twee onderste posities.
-Bereidingstijd 20 min.
4.5. TAARTEN BAKKEN
-Tenzij anders worden aangegeven, moet u de oven ten minste 10 minutes voorverwarmen. Open de ovendeur Niet wanneer u taarten bakt, anders zullen deze Niet rijzen (taarten of gerechten met gist en souffles). De stroom foude lustch die de oven inkomt, za het rijzen verhinderen. U kunt nagaan of taarten klaar�k door een prikker in het deeg te steken. Als de prikker er droog uitkomt, is de taart�k. Controleerditpasnadatdriekwart van de bereidingsstijd is verstreken.
Houd de volgende tips in gedachten
- Als het oppervlak van het voedsel gaar is maar de binnenkant nog (gedeeltelijk) rauw,要去 het langer unten staan bij een lagere temperatuur.
- Als het oppervlak van het voedsel te droog is, moet u het korter op een hogere temperatuur bereiden.
4.6. MAALTIJDEN BEREIDEN
De minimale hoeveelheid vlees die in de oven kan worden bereid, i\$ kg, Anders wordt het vlees te droog.
Als u doorbakken vlees wilt, moet u minder vet gebruiken. Als vlees een Klein beetje vet heeft, hoeft u geen olie te gebruiken. Als een kant van het vlees vet is,plaatst u die kant maar boven. Het gesmolten vet zal voldoende zijn voor het onderste stuk. Rood vlees moet ten minste een uur voorafgaand aan bereiding uit de koelkastworden gehaal.
-Anders kan het vlees te taai worden als gevolg van het temperatuurverschil. Gebruik geen zout voorafgaand aan de bereiding, met name Niet als u vlees grift. Zout trekt het bloed en de sappen uit het vlees, waardoor de buitenkantvan hetvlees Niet goed wordt geroosterd.
- Voeg pas zout aan het vlees toe nadat de helft van de bereidingsstijd is verstreken.
- Plaats het te roosteren vlees in een brede, ondiepe pan.
Diepe pannen vormen een schild gegen de warmte. Het vlees kan in de oven worden geplaatst in een hittebestendige pan of rechtsreeks op de grill. Plaats een vetopvangbak onder de grill. U moet in het begin saus toevoegen bij voedsel met een korte bereidingsstijd. Bij voedsel met een langere bereidingsstijd is het raadzamer sauzen gedurende het LASTe half uur toe te voegen.
4.7. VIS BEREIDEN
Kleine vissen können van begin tot eind worden bereid op maximale temperatuur. Middelgrote vis moet in het begin op maximale temperatuur worden bereid, waarna de temperatuur langzaam moot worden verlaagd. Grote vissen moeten van begin tot eind op lagere temperatureuorden worden bereid. Controleer de opening aan de onderkant van de vis om na te gaan of deze goed is klaargemaakt. Controleer de opening aan de onderkant van de vis om na te gaan of deze goed is gegrild. De kleur (van gegrilde vis) moet effen matwitzijn. Dit is nicht het geval bij zalm en forel.
- Het fornuis is voorzien van een metalen draaispit, twee vorken en een
haakdie de spit ondersteunt.
-Gebruiksinstructies:
-Verwijder alle accessoiresuit de oven.
-Zet de diepe pan op de bodem van de oven ofop de laagste plank.
- Steek de draaispit door het vlees,CUSen de twee vorken.
- Bevestig de draaispit in het gat in de onderste wand en hang de haak in het gat aan de voorkant van de ovenruimte en rond de rand van de draaispit.
Voorverwarmen is Niet nodig met de draaispit.
Aanbevolen bereidingsstijd bij gebruik van draaispit
| Bereidingsstijd (min.) | ||
| Soort voedsel | Gasoven | Elektrische oven |
| Lams-/schapenvlees kg)(1 | 25/35 | 20/30 |
| Kalfsvlees/gevogelte kg)(1 | 35/45 | 30/40 |
| Varkensvlees kg)(1 | 65/75 | 60/70 |
4.9.USO DEL MINUTERO

U kunt de bereidingstijd instellen door de knop eenmaal geheel door te draaien en verrolgens de index op de gewenste tijd teplaatsen. Wanner de tijd is verstreten, za het alarm enkele seconden hoorbaarzijn.
Hiermee kunt u de gewenste bereidings-tijd instellen (max. 90 minutes). De oven wordt automatisch uitgeschakeld nadat de ingestelde tijd is verstreten. De timer telt af van de ingestelde tijd tot de O-stand en schakelt automatisch uit. Bij normala gebruik van de oven stelt u de timerinopde -stand Als u de oven wilt instellen, mag de timer nicht in de O-stand staan.
4.11. GASOVEN

Afbeelding 15
De oventemperatuur en de verwarmer kuren worden geselecteerd door de ovenknop op het gewenste temperatuurniveau te zetten.
De oventhermostat haeft een bereik van: 140-270 °C.
Sommige fornuizen hebben een vlambeveiligingsmechanisme in de branders. Als de vlam uitgaat, worden degastoevoer automatisch afgesloten.
| ACTIVEREN | ACTIVEREN | UITSCHAKELEN | WERKING DOEL | |
| MINUTEN-TIMER | •Houd knop ingedrukt •Druk op de knoppend of om de vereisteijd in te stellen •Laat alle knappen los | •Wonneer de ingestelde lijd isverstreken worden een alarm geactiveerd (deze stopt vanzelfaar kan ookdirectworden gestlopt door op knop te drukken | •Activeert een alarm nadat de ingestelde lijd isverstreken. •Om na te gaan hoe lang de bereiding nog duurt, drukt u op knop | •Hiermee kutu de oven begruiken als wekker (kan worden geactiveerd met of zonder gebruik van de oven) |
| HANDMATIGE FUNCIE | •Druk op knop •Stel de kookfunctie in met de oven-functionknop | •Zet de ovenfunctionknop op stand O | •Hiermee kutu de oven bedieren | •Voor het bereiden van de gewenste gerechten |
| BEREIDIN-GSTIJDTIJD | •Houd knop TIMER ingedrukt •Druk op de knuppen of om de vereiste bereidingsduur in te stellen •Laat alle knappen los •Stel de kookfunctie in met de ovenfunctionknop | •Als deijd isverlopen, wordt de oven automatisch uitzgeschaken. Alsude bereiding eenderwilt stoppen,zet u de functie-knop op 0 of stelt u de lijd in op 0:00 (TIMER en knappen) | •Hiermee kutu de vereiste kooktijd instellen voor het gekozen recept. •Om na te gaan hoe lang de bereiding hoe lang de bereiding nog duurt. •U kunte de ingestelde lijd wijzigden door te drukken op TIMER | •Nadat de ingestelde bereidingsstijd is verstreken, wordt de oven automatisch uitzgeschakeld en is een alarm hoorbaar. |
| EINDE BEREIDINGS-TIJD | •Houd knop END ingedrukt •Druk op de knuppen •Tulom detijd in te stellen waarup de oven moet worden uitzgeschaken •Laat de knappen los •Stel de kookfunctie in met de ovenfunctionknop | •De oven worden op de ingestelde lijt uitzgeschaken. U kunth handmatig uitzschakenen door de ovenfunctionknop op stand O te zetten | •Hiermee kutu het einde van de bereidingsstijd instellen •Controler der ingestelde lijd door op ENDtedrukken •Wijzig de ingestelde lijd door tedrukken op END+ | •Deze functie wordt doorgaans gebruikt met de functie 'bereidingsstijd'. Bijvoorbèeld: als hetgerecht in 45 minuten wordt bereid en klaar要去en om 12:30,selecteert u de vereiste functie,stell u de bereidingsstijd in op 45 minuten en de eindtijd van de bereiding op 12:30. •De bereiding start automatisch om 11:45 (12:30 minus 45 minuten) en loopt door tot de ingestelde eindtijd van de bereiding. De oven zal dan automatisch worden uitzgeschakeld. WAARSCHUWING! Als eindtijd van de bereiding is geseleeteerd zonder de duur van de bereiding in te stellen, begint de bereiding direct en stopt nadat de ingestelde bereidingsstijd isverlopen. |
Dejuisteijd instellen:

WAARSCHUWING: de eerste handeling die u moet uitvoeren nadat de oven is geinstalleerd of na een stroomonderbreking (herkenbaar aan het knipperende display en weergaven van). is het instellen van de jeisteijd. Dit doet u als volgt: Houd TIMERen END-knappen (en) ingedrukt
-Stel tijd in met knoppen
Laat alle knoppen los
LET OP De oven werkkt alleen in de handmatige modus of als een tijd is ingesteld.
NB:Op sommige modellen worden de symbolen verwangen door +en

Om een timer met 5 knappen te programmeren, druk voor de manuele bediening terzelfdertijd op "timer" en op "end".
4.13. BEREIDINGSTABELLEN
Traditionele bereidingsmethode en bereiding met hete lucht; gewicht (gr) SOORT VOEDSEL Traditionele bereidingsmethode
| Gewicht(gr) | SOORT VOEDSEL | Traditionelebereidings-methode | Bereidimgemethememethode | bereiding-stijden(minuten) | OPMERKING | ||
| TAARTEN EN DESSERTS | Plank-positie | Tempera-tuur (°C) | Plank-positie | Tempera-tuur (°C) | |||
| Deeg met geroerd ei | 2 | 180 | 2 (1 e8) | 160 | 45 - 60 | ||
| Deeg | 1 | 180 | 2 (1 en 3) | 160 | 20 - 35 | ||
| Kleine taarten | 2 | 180 | 2 (1 en 3) | 160 | 20 - 30 | ||
| Kwarktaart | 1 | 175 | 2 | 150 | 60 - 80 | ||
| Appeltaart | 1 | 180 | 2 (1 en 3) | 160 | 40 - 60 | ||
| Strudel | 2 | 175 | 2 (1 en 3) | 150 | 60 - 80 | ||
| Confituurtaart | 2 | 180 | 2 (1 en 3) | 160 | 45 - 60 | ||
| Kleine taarten | 2 | 180 | 2 (1 en 3) | 160 | 15 - 25 | ||
| Koekjes | 2 | 180 | 2 (1 en 3) | 160 | 10 - 20 | ||
| Slagroomtaart | 2 | 100 | 2 (1 en 3) | 100 | 90 - 120 | ||
| 1000 | BROOD EN PIZZA | ||||||
| Wit brood | 1 | 200 | 2 | 175 | 45 - 60 | ||
| 500 | Roggebrood | 1 | 200 | 2 | 175 | 30 - 45 | |
| 500 | Sandwich | 2 | 200 | 2 (1 en 3) | 175 | 20 - 35 | |
| DEEGGERECHTEN | |||||||
| Macaroni | 2 | 200 | 2 (1 e8) | 175 | 40 - 50 | ||
| Met groenten | 2 | 200 | 2 (1 en 3) | 175 | 45 - 60 | ||
| Kleine pasteien | 2 | 200 | 2 (1 en 3) | 175 | 35 - 45 | ||
| Lasagne | 2 | 200 | 2 | 175 | 45 - 60 | ||
| VLEES | |||||||
| Rosbief | 2 | 200 | 2 | 175 | 50 - 70 | ||
| 1000 | Geroosterd varkensvlees | 2 | 200 | 2 | 175 | 100 - 130 | |
| 1200 | Geroosterd kalfsvlees | 2 | 200 | 2 | 175 | 90 - 120 | |
| 1000 | Rosbief (Engelse stijl) | 2 | 220 | 2 | 200 | 50 - 70 | |
| 1500 | Lam | 2 | 200 | 2 | 175 | 110 - 130 | |
| 1200 | Kip | 2 | 200 | 2 | 175 | 60 - 80 | |
| 1000 | Kalkoen | 2 | 200 | 2 | 175 | 210 - 240 | |
| 4000 | Eend | 2 | 175 | 2 | 160 | 120 - 150 | |
| 1500 | Gans | 2 | 175 | 2 | 160 | 150 - 200 | |
| 3000 | Konijn | 2 | 200 | 2 | 175 | 60 - 80 | |
| 1200 | |||||||
| VIS | |||||||
| Hele vis | 2 | 200 | 2 (1 e8) | 175 | 40 - 60 | ||
| 1000 | Filet | 2 | 200 | 2 (1 en 3) | 175 | 30 - 40 | |

Afbeelding 16
OPMERKING:
1) De bereidingstijden zijn exclusiefvoorverwarming. Verwarm de oven circa 10 minuten voor, met name bij het bereiden van taarten, pizza en brood.
2) Geeft schaalpositions aan bij het bereiden van meerdere gerechten tegelijk.
3) Alle bereiding moet plaatsvinden met gesloten overdeur.
| SOORT VOEDSEL | HOEVEELHEID BEREIDING MET GRILL | BEREIDINGSTIJD(minuten) | ||||
| AANTALSTUKKEN | GEWICHT | PLANK-POSITIE | TEMPERATUUR(°C) | BOVENSTEDEEL | ONDERSTEDEEL | |
| Biefstuk | 4 | 800 | 4 | max | 10 | 8 |
| Gegrilde Iamskotelet | 4 | 600 | 4 | max | 12 | 8 |
| Worst | 8 | 500 | 4 | max | 10 | 6 |
| Kipstukken | 6 | 800 | 3 | max | 30 | 20 |
| Mixed grill | 4 | 700 | 4 | max | 12 | 10 |
| Melktoetjes | 4 | 400 | 4 | max | 13 | 10 |
| Tomatenpartjes | 8 | 500 | 4 | max | 12 | -- |
| Visfilet | 4 | 400 | 4 | max | 8 | 6 |
| Sint-jakobsschopen | 6 | --- | 4 | max | 12 | -- |
| Toast | 4 | --- | 4 | max | 8 | -- |
| Boerhammen | 4 | — | 4 | max | 2-3 | 1 |
5. REINIGING EN ONDERHOUD
Voorafgaand aan reiniging en onderhoud:
-Schoonmaak en onderhoud Niet door kinderen lately doeen zonder toezicht.-Schakel de stroomtoevoer UIT.
- Sluit de gasklep af voor uw eigen veriligheid. Als de oven is afgesteld op
gebruikvan aardgas, sluit u de aardgasklep.
Als de oven heet is, wacht u totdat undeze is afgekoeld.
-Reinig@emailien oppervlakken met warm zeepwater of geschikte merkproducten. Gebruik nooit schuurpoeders die oppervlakken können beschadigen en het uiterlijk van hetformuiis verpesten.
-
Reinig de oven alttijd na gebruik.
-
Gebruik reinigingsmiddelen en schuurpads voorde roestvrij stalengrills.
-
De glazen oppervlakken, zoals de bovenkant, de ovendeur en de deur van het verwarmingscompartment, moeten worden gereinigd wanner deze koud zich. Schade als gevolg van het Niet naleven van deze regel worden nicht door de garantie gedekt.
-
U(Int)kunt branders en branderkappen reinigen met heet water en reinigingsmiddel. De gaskanalen van de branders kannen worden gereinig maden een borstel. Zorg dat de branders droog zich voordat u ze weer terugplaatst. Controleer juiste plaatsing van de branders met name bij het bereiden van taarten, pizza en brood.
-
Reinig regelmatig de ontstekingselektroden van ovens met automatische ontsteking. Hierdoor voorkomt u ontstekingsproblemen. Controleer regelmatig of de gaskanalen en branders eventueel zich geblokkeerd door voedselresten, enzvoort. -Veeg de bovenklop af met een droge doeok om schadelijkke efecten van water, olie en stoom affkomstig van het vereidde voedsel te voorkomen. -Gebruik geen schuurmiddelen, metalen schuursponsjes, scherpe voorwerpen, ruwe doeken of chemische (reinigings)producten die de katalytische laag permanent+kunnen beschadigen. -Gebruik bij voorkeur diepe braadsledes voor vetrijk voedsel zoals vlees-enkipbebouten en plaatens een opvangbak onder de grill om het overmaat aan vet op te vangen.
Ovendeur reinigen
Voor grondige reiniging van de ovendeur is het raadzaam deze te verwijderen zoals hieronder aangegeven.
Open de deur volledig en draai de twee klemmen op de scharnierarmen 180^ . Sluit de deur deels (30^) . Verwijderde deurdoor deze op te tillen. Volg de bovenstaande stappen in omgeekerde volgorde om de deur terug te plaatsen.



Afbeelding 17
Het binnenlampje verrangen
- Schakel de stroomtoevoer uit en verwijder het lampje.
Vervang deze door een identiek lampje dat bestand is gegen zeer hove temperaturen.

Afbeelding 18
5.1.ZELFREINIGENDE KATALYTISCHE OVEN
Bij sommige modellen zijn speciale zelfreinigende afdekplaten verwkrijgbaar waarop een microporeuze coating is aangebracht. 'Als u deze afdekplaten gebruikt, hoeftu de oven Niet handmatig te reinigen. De ovenbekleding moet pores zich, anders werkde zelfreinigende functie Niet.
-
Een overmaat aan vetspatten kan de porien blokkeren en de zelfreinigende werkung verstoren. U kunt het zelfreinigend vermogen herstellen door de lege oven circa 10-20 minutes op de maximumstand in te schakelen.
-
Als de wanden van de oven zo dik met vet+zijn bedekt dat de katalytisatielaag Niet更是 Werkt, verwijdert u het vet met een zachte doek of spons met heet water. Alle in de winkel verkrijgbare katalytische ovenbekledingen gaan circa 300 uur mee. Na circa 300 uur moet u deze verrangen.
-
Als de oven Niet werk, is het raadzaam het volgende te controleren voordat u het servicecentrum belt:
-
Controller of de stekker van de oven correct is aangesloten op het stopcontact.
Gastroevoeris abnormaal
-Controleerde volgende zaken:
Zijn de gaten van de branderverstopt?
Werk de drukregelaar goed?
- Als u een pijp gebruikt: bevindtlich gas in de pijp? Staat de klep open? Als u iets vreamds merkt aan de gaskleppen, neemt u contact op met een gekwalificeerde elektricien of een geauthoriseerd servicecentrum voor hulp.
Er is een gasgeur waardeenbaar nadat het apparaat is geplaatst
-
Controleerde volgende zaken: -Staat er een gasklep open?
-
Staat de gaspijp in dejuiste positie en is deze in goede staat?
-
Als u een gaslek vermoedt, moet u geen vlam gebruiken om dit te controlleren.
De oven wordt nicht warm
Staan de bedieningsknoppen van de oven in dejuiste stand?
De bereidingstijd duurt te lang
Is dejuiste temperatuurgeselecteerd?
Er komt rook uit de oven
Het is raadzaam de oven na elk gebruik te reinigen. Als vet dat bij het bereiden van vlees is gespat nicht worden verwijderd, zal dit resulteren in een onaangename geur en vindt er rookontwikkeling plaats wanner u de volgende keer de oven gebruikt. (Zie het hoofdstuk Reinigung en onderhoud.)
Het ovenlampje gaat Niet branden
-
Mogelijk is het lampje kapot. Zie de betreffende pagina voor instructies voor het verwisselen van hetlampje.
-
Als u de bovenstaande zaken heeft gecontroleerd en de oven toch nog Nietaar behoren werkt,neemt u contact op met het dichtst bijzijnde servicecentrum voor hulp. Model en productienummer (PNC of ENR).
7. MILIEUBESCHERMING

Dit apparatus is gemarkeerd volgens de Europese norm 2012/19/EU inzake Afval van elektrisch en elektronisch apparatuur (WEEE). WEEE bevat zowel verontreinigende substanties (die negatieve gevolgen op het milieu hunnen hebben) en basiscomponenten (die hergebruikt hunnen worden). Het is belangrijk om WEEE aan bepaalde behandelingen te onderwerpen om alle vervoilende onderdelen te verwijdenen en op
juist wijze afstand van te doen, en alle materialen te herstellen en te recyclen.
Particulieren können hier een belangrijke rol in spelen door te zorgen dat een WEEE geen milieukwestie worden; het is essentieel de volgende basisregels te volgen:
-
WEEE mag Niet als huishoudelijk afval worden beschouwd.
-
WEEE moet worden overhandigd aan relevante inzamelpunten die worden beheerd door de gemeente of door geregistreeerde bedrijven.
In veel landen bestaat er voor große WEEE een ophaaldienst.
- Als u een新模式 apparaat koopt, kan het oude bij de leverancier worden ingeleverd, welke het gratis bij u moet afhalen op een een-op-eén basis, zolang het apparaat van soortgelijk type is endezelfde functies heeft als de geleverde apparatuur.
O△HΓIEAΦAΛEIA
PPOOXH:Kata nV diapkeia aeitoupyiacn oukeun kai oI Tpoosaoiuec eipaviec eepaivotai. Mny akouptate n ouokeu
Paiia 8 eov dev penei va anoiagouv tn ouokeu n wipis tvv enonia evnaika
H xponn nns ouokeunc aTTO TAIIDIa NAIKIAc MEVAUTEpnc TOW 8 ETW,ATOUa MEIwmevN KIVNTIKN ,VONTKN KAI AALN IKAVOTnTa n aToa Xwpic TPOVEEOTepn EUMTEPIA KA YVwON LEIToupyia cTNS OUAKEUNC EIDIKECS ,MTOPEi va yivetai MVO KATW aTTO TNV ETIIBEAUYN aTOMOU TPOU Tha ETTBLETEI KAI TA KAthetayEi.
Mny aipnveTe Ta piaia va piaizouv Tn ouokeu
MnV aqivete Ta Tiaia va kavouv TiC epyaoc s uvtnponc kai kaapioou Tc ouakeunc xwpiTnv EiBAAeyn EvnAika
PPOOXH! Mny aTouapkpuveote aTTO Tnv ouokueun otav ayepuete qaynta Tloucaelambda np TnyaviEte
- Eáv apπáξεi φωτία μην δokιμασετε va tην σβήσετε με vερό. Διακόψτε tην λειούργία tης συοκεύçς καλύψτε τις φλόγες με ενα καπάκι ἡ ενα μη εύφλεκτο ὄφασμα.
PPO2OXH:KivduvoC Tnpkayiac! Mny aynveT avtkeiEvA eTavw OTnv EOTia ayepaTOc.
- Katá tyn diapkeia λειουρyiaç η συοκεύη θερμaiεται εξαρετικά. Mny ακουμπίατe τα θερμavTiKα Θοιχείαστον θαλαμο του φούρνου.
PPOOXH: Ta εμφανή και εύκολης προσβαοης σημεία της συακεύης μπορείν αιπερθερμανθουν κατα ην διαρκεία της λειουργίας της. Mny αφήνετε ταιδίαν πλησιαζουν τη συακεύη.
- Tia tov kaθapiομo tnc ouokεuç dev πeπεi va xρησιμοτοieite ,ξuotnpia, λειavtikéç ouoiεç n oupuataki Kaθapiou yia va kaθapiεte tny yuaivn πópta tou φουpvou, ta uλika auta μToppéi va yapouv tnv επiφáveia kai va πpokαλεοouv to θρμμatioμo tou yuaioú.
O 0aIoc Tou ouptapiou KATw aTTo foOpv oIopei va UTPeepmuavEi.
- Diakoyte Tny λεitoupyia Tou φούρvou πριν αφαipéσeTe TO TPOOATEUTIKó kαλμμa .MetaTov kaθapiμo ToTIOθETEIOTe TO kαλμμa σην θεηn Tou akoλouθωvtac TIG oδŋyic EYkataoTaanG.
XpnaioutoieTeepuóetpoKaataaAanAoiaxprnOefoupvo.
Mny xpnoiopoioite Raatapiotkeu xavc atou yia tov kaatapioo to ouakeun.
- AntoakpuveTe Touc atouc Tou exouv oxnpatiae Etnaw OTO kattaki Tpiv To aoiEte.
- Iepiueve To Kpuwoe To KaTaki Tpiv To Kaeioe.
PPOxH:piiv dokiapae vαaλaεte tov λaπtnpa φωισμού tns σωκeunç,βεβaiωθeite oτι η σωκeun βρίσκεται εκτός λειουργiaç.
Eav n ouakeun exei tottoeetnthei eann oae Baon otnpignc npertie va 8ebaiwte otivapxivouoc va yaiotpnoe i an toynBaon.
- uφwva με Touc kavoviouç kaωbiωεωv, στο kaωbio εykaotaaonc πpétεi va ενωμatωθεi εva
μεσo aTTOUδεαnc αnto to δiktuo ρeμatoC TOU ETTPéTEI δiaxwpioμ ToV Eπaφwv Εόλouc touc πóλouc
TAPEXOVTAC TTnρn aTTOOUVδεηn UTO OUVθκεS UTTερtaonc ρeμatoC katnyopiac III.
- Σις Εόνηες σύνδεος πρέτεινα αυγράφεται τόδος του καλωδίου σύνδεος με τήν παροχήν λεκτρίκης εύργειας, που πρέτεινα χρησιμοποίθείλαβάνοντας ἀπόμιν τήν θερμοκραία που μπόρεινα αυαπήνθεί στήν πλάτη τής συσκεύς.
Eav to kalwio ouvdeonc me tnv npoxn nektpikns evpeyiae eupaviiz eepope c pertie va avitkataotatgei anto aalno n anto to eidiok oet tnou diatihctvta anto ta onmuia texvikns esutnpentnGias Service.
PPOOXH :Ppokéiévou va aTPOEuyθe i n TuXia eVepyoTioiOn Tou θερμoδiakóTTn ασφaλεiαs, n SuOkeun autn δev TpEπei va TpoΦoδoTeiai μeω εξωτePIKOU xεPiOTnpiou,OTTWC xpvOδiakóTTn n va Ouvδeθei oδiktuO tou OTIoU n TpoΦoδoia kai n δiakotn tns TpoΦoδoiac yivetai autóμata.
H oukeun autn ppentei va eykataota thei oupwova e touc ioxuovtec kavovioouc atokleiotika e xwpo Toun egaepicetai kaia. Diaabaote pooektik a tig oynie c piv dokipae t va ykataotnoe t na leitoupynoete n v oukeun.
- OI obnyiec autec apopoov ota kpatn twv onoiw to uuboa avaypapetai otnv ouakeun. TepiTTwn Tou OTNV ouakeun dev avaypapetai to uuboa tnc xwpac th a npetiei va avaqntnoete texvikecs odnyies Tou aoc kaobnynoov otic tpottoioeic kai otic TPOUTOEeic aeitoupyiac tnc ouakeunc otnv ouykepiEvn xwa.
- Pniv aTTO TIV EYkataoTaON BéBaiWθEITE OTo DikTuo TAPoxns KAI OITPOdiaypaqec Tou KTNpiou (EIDoc aepiou kai TiEon aepiou) KAI n puOthion tN CS OUKEuNC Eivai OUβata. OI PPaμETPOI PUθmuOnCS TNS OUKEuNC avaypapovtai OTNV ETIKETA μE TA Xapaktnpiotika.H OUsKEun DEV Eivai OUVDEDEEvN μE mXavioMu oATAYwynC TIV AEPiWv Kaounc. H OUVDeON KAI N EYkataoTaON μE TOV mXavioMu EEAePIoMu oTTpeTTe va TTnpoI TIV IOxUoua vOoTheoiA . Epiotatai n TPOooH ON TINPON Tuv TPOdiaypaqWv EEAePIoMu.
H aeitoupyia mias ouokueuncs aepiou napayei eepmuotnka kai uypaio 0to xwpo eykataotaang ts.Beaiowte tOIOXwpo tsKouivacEgaeipzetaaATOTeAeouatika: povtiote wote o aywooi

Afbeelding 9 Afbeelding 10

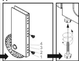
NL Pas de volgende procedure toe bij hetplaatsen van uw oven.
1- Plaats uw oven op+zijn gebruikspositie en maak de hoogte- en uitlijnaanpassingen.
2-Bepaal de H-en Y-afmetingen zoals is aangegeven in de afbeelding en markeer de wand waar de oven aan bevestigd zal worden. (Afbeelding A)
3- Bevestig de wandmontagebevestiging (in de servicezak) op de wand met gebruik van de plug en schroef (niet meegeleverd). (Afbeelding B)
4- Duw de oven maarachten en vergrendel de bevestiging in de sleuf aan de achterkant van de oven. (Afbeelding C)
De bevestiging zit goed als dele 20 mm diep in de sleuf wordt gestoken.
GR Akooutheta npapakatw daiikaiia kata thy tooetnon tou oypovouac.
1- ToToeToTe To oUpvo OaOToT hEoXphongKai npaypaToOniOte Tc puOeiCtou wC pocTo uOoc Kau Tnv enuneBdtnta
2- PpoooiopioTe tic diaotaeic H kai Y onw cphiivetntv eikova kaionmuadteovtoo ovo ofoepeweio foypvoc. (EkoVA)
3-TonoetnoteotovtoEaptnmaotepeewoc(βpioketaloakouakoepici) npoionowvtaeva ounatkai iia ia (ev npexetai). (Eikova B)
4-2p6xtofouvo npoc ta niow kai kavete to Eapntmaotepewo n va nepaoei otny ekyon tny niow nleupa tou fooupvou. (Ekova C)
To eaptnma otepewnc 0a leitoupyei onw npoBlenetai otav exei eo 8oaothe 20 xla. eo aonv ykonn tou.
GB
De fabrikant is nicht aansprakelijk voor eenige onnuuvkeurigheid die hetgevolg is van drukfouten of transcriptiefouten in deze brochure. Wij behouden ons hetrecht voor zo nodig, ondermeer in het belang van een gunstiger verbruik, vijzigingen aan producten aan te brengen, zonder dat dit gevolgen heeft voor de kenmerken ten aanzien van veiligheid of functionering.
GR
O kataeuaatc dev evai uteubuvoc ia oioahtnote avakpiieia tou mtopei va npokuue ato nty ektwnon npaaikacpauata trou pteovtai ce auto to pfaladio. O kataeuaatc biatnei to dikaomega va tpoei oe tpotnoioeic ota tpoiovt otav auto ataiteitai, tpoC to oupepov twv katavaawev depov dev thye ta xapaktnpiotikra tou apopov tvn aopaaleia n tneioupyia
SimpelGids