J-HANDLE KIT 125 L - Equipamento de jardinagem HUSQVARNA - Manual de utilização gratuito
Encontre gratuitamente o manual do aparelho J-HANDLE KIT 125 L HUSQVARNA em formato PDF.
Perguntas dos utilizadores sobre J-HANDLE KIT 125 L HUSQVARNA
0 pergunta sobre este aparelho. Responda às que conhece ou faça a sua.
Faça uma nova pergunta sobre este aparelho
Baixe as instruções para o seu Equipamento de jardinagem em formato PDF gratuitamente! Encontre o seu manual J-HANDLE KIT 125 L - HUSQVARNA e retome o controlo do seu dispositivo eletrónico. Nesta página estão publicados todos os documentos necessários para a utilização do seu dispositivo. J-HANDLE KIT 125 L da marca HUSQVARNA.
MANUAL DE UTILIZADOR J-HANDLE KIT 125 L HUSQVARNA
AVVIAMENTO E ARRESTO
Control antes de arrancar

Antes de arrancar, observe o segunte: 62
COMO SE CHAMA?
Como se chama?
INSTRUÇÉS DE SEGURANÇA
Equipamento de corte 64
Limagem da faca e da lamina para erva 64
Instruções geralis de trabalho 64
MONTAGEM
Montagemdo punho em forma de J 66
Montagem do olhal de suspensao 66
Montagem da proteção da lâmina/proteção combinada, da lâmina para erva e da faca para erva .. 66
Montagemdoequipamento de corte. 66
ARRANQUE E PARAGEM
Controlo antes de arrancar 67
ESPECIFICAÇOÉS TÉCNICAS
Especificações tíncicas 67
Antes de arrancar, observe o seguito:
Leia as instruções para o uso com toda a让大家 a看不懂o e compreenda o seu conteudo antes de fazer uso da boaquina. Este manual de instruções é um complemento ao manual que acompanya a boaquina. Para as demais instruções de operação, consulutar o manual de instruções da boaquina.
Husqvarna AB efectua o desenvolvimento continuo dos seuis produits, reservando-se o direito de introduzir modificacoes referentes, entre outros, ao aspecto e forma dosleasedos sem aviso precedio.
A exposicao prolongada a ruidos pode provocar danos auditivos permanentes. Por isso, use sempre protectores acusticos aprovados.

ATENÇÂO! Sob nenhumas circunstâncias é permitido modifier a configuração original da区内 sem a autorização expressa do fabricante. Devem usar-se sempre acessórios originais. Modificações e/ou acessórios não autorizados podem acarretar em sérias lesões ou perigo de vida para outilizarou ou outros.

ATENÇÂO! Este acessóriosolepoder ser uso em serras de recortadores para ele homologados. Veja em"Acessórios recomendados"no capítulo Especificações técnicas do manual de instruções para o uso daquina.

ATENÇA! Ao montar o punho em forma de J,sole permittedo ou uso de lâminas para erva/ facas para erva ou do cabeçote de recorte/ facas de plástico. A lamina de serra nunca deve ser usada com o punho em forma de J.
IMPORTANTE! Não pode ser realizado, está a que&titledo for, equipamento de corte sem que esteja montada uma proteção aprovada. Veja no capítulo Especificações técnicas. Caso está montada uma proteção errada ou defeituosa, isto pode causar sérios danos pessoasis.
IMPORTANT! Use botas com solas antideslizantes e biquesiras de aço sempre que a boa for usedo com disco para a relva.
O Conjunto do punho em forma de J contentem as seguintes peças:
Punho fechado
1 Punho fechado
1 placade pressao
1 parafuso
1 porca de orelhas
Punho em forma de J
1 Punho em forma de J
2 parafusos
1 correia de suporte
1 olhal de suspensao
2 parafusos
1 lamina para erva
1 copo de apoio
1 flange de apoio
1 porca
1 chave da porca da lamina
1 protecao para transporte







Como se chama?
1 Punho fechado
2 Placa de pressao
3 Parafuso
4 Porca de orelhas
5 Punho em forma de J
6 2 parafusos
7 Olhal de suspensao
8 2 parafusos
9 Correia de suporte
10 Lámina paraerva
11 Copo de apoio
12 Flange de apoio
13 Porca
14 Proteção para transporte
15 Chave da porca da lamina
Equipamento de corte
Esta secção minha como você, através de uma correta manutençao e uso do equipamento de corte correto, poderá:
- Reduzir as tendências da boa a retroprocesso.
- Consequir maximala capacidade de corte.
- Augmentar a vidautildoequipamento de corte.
Regras báscas

1 Use somente o equipamento de corte+junto com a proteção recomendada! Veja o capítilo Especificações técnicas.

2 Mantenha a travagem correcta! Siga as{nossas instruções e use a travadeira recomendada. Uma lâmina mal travada aumenta o risco de prender-se e de retroprocesso.

3 Verifique se o equipamento de corte está danificado ou com rachaduras. Um equipamento de corte danificado deve sempre ser substituido.


ATENÇAÖ! Um Equipmentamento de corte Incorrecto ou uma lâmina erradamente limada AUGMENTAR O RISCO DE ACIDENTES.

ATENÇÂO! Evite serrar no quadrante superior direito da lámina. Devido à rotação da lámina, poderá ocorror um retroprocesso justamente esta area da lámina, quando o contacto se faz comtroncos mais grossos.
Limagem da faca e da lâmina para erva

- Veja as instruções na embalagem do equipoamento de corte para limagem correcta. A lámina e a faca limam-se com uma lima plana de grau simples.

- Afie uniformemente todas as arestas para manter o equilibrio da lâmina.

ATENÇÂO! Deite sempre fora láminas encurvadas, empenadas, rachadas, partidas ou por qualquer除外o modo danificadas. Nunca tente desempenar uma lámina para a reutilizar. Use somente láminas originais do tipo especialico.
Instruções gerais de trabalho
- Mantenha sempre aceleração total ao roçar e recortar.
- Deixe o motor baixar para a marcha em vazio antes cadamomento de trabalho. Acceleração total por muito tempo,sem)carga para o motor (i. é,sem a resistência que omotor experimenta atraves do equipamento de corte durante o trabalho com a boaquina), pode causar sérios danos ao motor.
Denominacoes
- Roçadura de relva é uma denominação genérica de roçadura de herbáceas. Usam-se tanto a lâmina como a faca paraerva.

- Recorte de relva é uma denominação genérica para um desbaste mais pormenorizado, p. ex. em cantos ou a volta de árvores. Usam-se tanto o cabeçote de recorte como as facas de plástico.


ATENÇA! Por vezes preendem-se ramos ou galhos eerva entre a proteção e o equipamento de corte. Pare sempre o motor para efetuar a limpeza.
Roçar relva com a lamina para erva


- Láminas e facas para erva nunca devem ser usadas para caules lenhosos.
- Para todos ostips deerva alta e espessa,usa-se a lamina paraerva.
- A relva é roçada com um movimento pendular lateral, em que o movimento da direita para a esquerda é a fase de roçar e o movimento da esquerda para a direita o returno. Deixe a lamina travaíhar com o lado esquerdo (entre as posições correspondentes às 8h e meio dia dos ponteiros do relógio).

- Se inclinar a lâmina um peu para a esquerda ao roçar, a relva acumula-se numa LINHA, facilitando a recolha, p. ex. com o ancinho.
- Procure trabajo rrimicamente. Esteja bem plantado, com os pés afastados. Mova-se para a frestedeo do movimento de returno e fique bem plantado outras vez.
- Deixe o copo de apoio tocar levamente no solo. Assim protege a lamina contra o contacto com o solo.
- Reduza o risco de se enroscarerva na lamina, seguido as regras seguiences:
1 Trabalhe sempre com aceleração total.
2 Evite a erva recém-cortada no movimento de returno.
- Pare o motor,(despendra a correia de suporte e coloque aquiries no chao antes de recolher o material cortado.

ATENÇA! Nem outililizador da maquina nem qualquer outra persona deverao tentar afastar o material cortado quando o motor ou o equipamento de corte estiverem a rodar,azo que isso pode provocar graves ferimentos.
Faça parar o motor e o equipamento de corte antes de remover o material enrolado à volta do eixo da lâmina, caso contrário incorre-se no risco de ferimentos graves.

ATENÇÂO! Cuido com material arremesso. Use sempre proteçâo aprovada para os olhos. Nunca se incline sobre a proteçâo do equipamento de corte. Pedras, lixo, etc., poder ser projectados contra os olhos e causar cegueira ou ferimentos graves.
Mantenha estranhos ao trabalho afastados. Crianças, animais,expectadores e ajudantes deverao ficar fora da zona de seguranca de 15 metros.Pare a maquina imeditamente se algoém se aproximar.
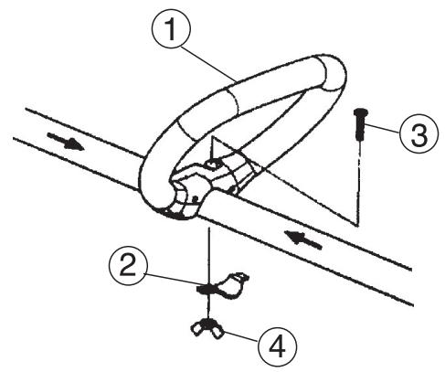
Montagem do punho em forma de J

ATENÇA°! Ao montar o punho em forma de J,sole permittedo ou uso de láminas para erva/ facas para erva ou do cabeçote de recorte/ facas de plástico. A lamina de serra nunca deve ser usada com o punho em forma de J.
- Enfie o punho fechado sobre o tubo. Tenha cuidado para que o punho fechado fique entre as setas de marca do tubo.

- Instalar o parafuso, a plac de pressão e a porca de orelhas como se minha na figura.
- O punho em forma de J é montado no punho fechado comodos parafusos, como muitoado na figura.

- Afine a posicao de tal maneira que o punho em forma de J proporcione uma posicao de trabalho comoda. Aperte o Manipulo.

Montagem do olhal de suspensão
O olhal de suspensão é montado entre o punho traseiro e o punho correto. O olhal de suspensão deve ser posicao de tal maneira que a boaquina fique equilibrada e em posicao comfortavel para o trabalho.

Montagem da proteção da lâmina/proteção combinada, da lâmina para erva e da faca para erva

-
A proteção da lâmina/proteção combinada (A) engancha no suporte do tubo e é fixada com um parafuso. NOTE! Use a proteção de lâmina recomendada. Ver o capítulo Especificações tínicas.
Monte o actionador (B) na ponta do eixo de saixa. -
Gire o eixo da lámina até que um dos orificios do actionador coincida com o orifcio correspondente na caixa de engrenagens.
- Introduza o pino de freio (C) no orifico para friar o eixo.

- Coloque a lámina (D), copo de apoio (E) e flange de apoio (F) no eixo de saía.
Monte a porca (G). A porca é apertada ao binário de 35-50 Nm (3,5-5 kgm). Use a chave de caixa do jogo de ferramentas. Mantenha o cabo da chave o mais proximo possivel da proteção da lámina. A porca aperta-se quando a chave é girada contra o sentido de rotação (CUIDADO! rosca à esquerda).

Montagem do equipamento de corte.


ATENÇAO!
Ao montar o equipamento de corte, é de extrema importância que o actionador/ flange de apoio se ajuste correctamente ao furo central do equipamento de corte. Se o equipamento de corte não estiver montado correctamente, poderá originar danos pessoas graves, com perigo de morte.


ATENÇÃO! Não pode ser utilizado, está a que titulo for, equipamento de corte sem que esteeja montada uma proteção aprovada. Veja no capítilo Especificações tínicas. Caso sera montada uma proteção errada ou defeituosa, isto pode causar sérios danos pessoasis.
Controlo antes de arrancar

Por motivos de segurarça, siga estas recomendações!
- Verifique na lâmina se não há rachaduras na base dos dentes ou no furo central. O motivo mais comum de formação de rachaduras são cantos afiados na base dos dentes, criados por limagem ou por ter a lâmina sido uso com dentes cegos. Deite fora lâmina se descobrir rachaduras.

- Verifique o flange de apoio para que não Hajia nenhumarachadura, devo a faciga ou aperto excessivo. Deite fora o flange de apoio caso tenha rachaduras.

- Certifique-se de que a porca de freio não perca a suarengtha. O seu binário de bloqueio deve ser no minimo de 1,5 Nm. O seu binário de aperto deve ser de 35-50 Nm.

- Verifique a proteção da lâmina quando a danos e rachaduras. Substitua a proteção da lâmina se esta tiver sido sujeita a golpes ou aparecerr rachaduras.

- Verifique o cabeçote de recorte e a proteção de recorte quando a danos e rachaduras. Substitua o cabeçote de recorte ou a proteção de recorte se tiverem sido sujeitos a golpes ou aparecem rachaduras.

- Nunca use a boaina sem protecao ou com protecao danificada.
- Todas as coberturas devem estar devidamente montadas e intactas antes do arranque daquina.
Especificações tíncicas
| Acessórios aprovados | ||
| Passo de rosca do eixo da lâmina, M10 | ||
| Furo central nas lâminas/facas Ø 25,4 mm | ||
| Denominações | Tipo | Protecção para equipamento de corte, Art. n° |
| Lâmina para erva/ faca para erva | Grass 255-4 1" (Ø 255 4-dentes) | 503 93 42-02 |
| Cabeçote de recorte | T25 | 537 33 83-02 |
| Facas de plácico | Tricut Ø 300 mm | 531 00 38-11 |
| Copo de apoio | Fixo | |
περιεχόμενα
IIEPIEXOMENA
IepixoEv a 68
Piv Tny Ekkivn an npenla nnpoosEeTe Ta akoloua: 68
TI EINAI TI;
Tεiva;
O△HΓIΕΣ AΣΦΑΛΕΙΑΣ
KoTtikoc Eonlaioos 70
Akovla maayaiipw kai 5eTioWxopTou 70
i 70
SYNAPMOAOTHsH
ToioeTnon ts xieipoaBns J 72
Movapiaqa kpiou avaptnoans 72
Movtapiqa tou npopulaktnpa tns i a / c
ouv8eTou npooulaaktnpa, tnc 5enidac xoptou kal tou
XoTOKoTTIKO'u maXaipiou 72
Zuvapoulooyon tou konpiokou eoiiaou 72
EKEINHMA KAI STAMATHMA
EeYxoc npiv ano Tny Ekkivnon 73
TEXNIKA ΣTOIXEIA
TeXViKa oToIeia 73
Piv Tnv EKKivnon PpEeI va npoEeTc Ta akoloua:
DiaBaoTe npooeKtika Tc ObyieC xnoeWc kai katavonot To nepiexóveo piv xnoiouoiote To unxavma.Aute C o oyieC xnoeoc anotelouov ouinlnpwau Tou BiLiou Onyiw xnoeoc nou ouvobéei To unxavma. Ia aLec OonyieC ouMBoualeuteTo BiBlio oyiw xnoeWc Tou unxavmuatoC.
H Husqvarna AB avantuooiouvexwc ta npoiovta nC kai yia to loyo auto eiuulaoei oToV eauto nC to dikaiwa tponoioeewn. wnc poc to oxediaaogkai nV eupavion, xwpic npoeioboinon.
H maKpOxpvN ekEoN oE ToOpBIO mOpEi va npokaIeOeI mOviuBn 0Tnv aKoN. Oa npEnI navTa va laMabvTe METpa PooTaiaC Tc aKoNc OaC.

IPOEIIOIHsH! Xwpi aedia Tou kataaekuaoTH, oE kaia πepiTTwoN dev eITpeTai mTaTPOIN Tou uXavnmuTOc oOxoc n e TIV apxikn Tou kataoKEun. XpoaiouoieITE naVTOTe yynoia avtaaakTkA. Mn yKekpivecs mTeatpones Ka/ anvaTAAktiKa mTopei va exouv wS ouveneia ooBapo n thavatnpopo Tpaumatoo tou xepiOTH n aaawv atouw.

PPOEI0IOIH! Auto to EApTepa
eITpeTai va xepoiOIOeioi movo e ta
npoBAnoEv xaookoNTiKa, dTe oTev
napayapo e tIto EkyekpiEv aEouap
tou KepaAliaou TeXvika xaapKTepiOtikau Tou
BIIiou oEviw Tou eXavnmuToC.

IPOEIIOIHsH! Av TOnoTeNoeTc XepoalaBn OxmuToC J Mnpoeite va xpnoiopoioeTe mOvo Aenidec xoptou/ xopTKoNTiKa maiaipia n KONTiKec Kepaalec/ nlaotikEc Aenidec. npenti Note va xpnoiopoieite npiovotec Aenidec pazi me Tn xeipoalaBn J.
\SHMANTIKO! Mny xnpoiomoeiTE notE EApTma konnc
xwpi cEvkepievo npooulaKTnpa. DeiT To Kepalaio
nou aopap Ta TExviKa oToixeia. Eav tonooetn0ei
lavthetaveoc n eAattWmuTikoc npoouaktnpac mOpei
va npokLn0e i OBaPoc Tpaumatouc.
\SHMANTIKO! XpnoiouoioTe mntc e avTIOAOthnki n oλa kai e aToalivn npooTaia dakTuawv av to unxavnuα exe EonlIoTe i e λenida yia konn xoptou.
ManualFácil