J-HANDLE KIT 125 L - Haveudstyr HUSQVARNA - Gratis brugsanvisning og manual
Find enhedens vejledning gratis J-HANDLE KIT 125 L HUSQVARNA i PDF-format.
Brugerspørgsmål om J-HANDLE KIT 125 L HUSQVARNA
0 spørgsmål om dette apparat. Besvar dem du kender, eller stil dit eget.
Stil et nyt spørgsmål om dette apparat
Download vejledningen til din Haveudstyr i PDF-format gratis! Find din vejledning J-HANDLE KIT 125 L - HUSQVARNA og tag din elektroniske enhed tilbage i hånden. På denne side er alle dokumenter nødvendige for brugen af din enhed offentliggjort. J-HANDLE KIT 125 L af mærket HUSQVARNA.
BRUGSANVISNING J-HANDLE KIT 125 L HUSQVARNA
Inden start skal du vare opmaerkoms på folgende: .... 8
HVAD ER HVAD?
Hvad er hvad?
SIKKERHEDSINSTRUKTIONER
Skareudstyr 10
Filning af græskniv og græsklinge 10
Generelle arbejdsinstruktioner 10
MONTERING
Montering af J-handtag 12
Montering af ophangsbeslag 12
Montering af klingebeskyttelse/kombibeskyttelse, grasklinge og græskniv 12
Montering af skareudstyr 12
START OG STOP
Kontrol for start 13
TEKNISKE DATA
Tekniske data 13
Inden start skal du vare opmaerksom på følgende:
Læs brugsanvisningen omhyggeligt igennem og forstå indholdet, inden du bruger maskinen. Denne brugsanvisning er et supplement til den brugsanvisning, som medfolger maskinen. Se maskinens brugsanvisning for øvrig handtering.
Husqvarna AB forsøger hele tiden at videreudvikle sine** produkter og forbeholder sig derfor ret til ændringer af bl.a. form og udseende.uden forudgående varsel.
Langvarig ekspondering for stoj kan medfore permanente horeskader. Brug derfor altid godkendt horevarn.

ADVARSEL! Maskinens oprindelige udformning på under ingen omstændigheder ændres,uden producentens samtykke. Brug altid originaltilbehør. Ikke- autoriserede ændringer og/eller ikke-godkendt tilbehør kan medføre alvorlige skader eller døden for brugeren erler andre.

ADVARSEL! Dette tilbehør på kun bruges samaen med dertil egnede trimmere, se under overskriften "Godkendt tilbehør" i afsnittet "Tekniske data" i brugsanvisningen til redskabet.

ADVARSEL! Ved montering af J-håndtag mä der kun bruges græsklinger/græsknive eller trimmerhoved/plastknife. Savklinge ma aldrig bruges sammen med J-håndtag.
VIGTIG! Intet skæreudstyr på under nogen omstændigheder bruges, uden at en godkendt beskyttelse er monteret. Se kapitlet Tekniske data. Hvis forkert aller defect beskyttelse monteres, kan det forårsage alvorlige persorskader.
VIGTIGT! Anvend altid støvler med skridsikre saler og stålsnude, hvis maskinen forsynes med græsklinge.
J-handtagssættet indeholder følgende dele:
Loophandtag
1 Loophandtag
1 klerplade
1 bolt
1 vingemotrik
J-handtag
1 J-handtag
2 skruer
1 sele
1 ophaengsbeslag
2 skruer
1 graesklinge
1 stottekop
1 stotteflange
1 møtrik
1 klingemotriknogle
1 transportbeskytseIe







Hvad er hvad?
1 Loophandtag
2 Klermplade
3 Bolt
4 Vingemotrik
5 J-handtag
6 2 skruer
7 Ophaengsbeslag
8 2 skruer
9 Sele
10 Græsklinge
11 Stottekop
12 Stotteflange
13 Møtrik
14 Transportbeskytelse
15 Klingemøtriknøgle
Skæreudstyr
Dette afsnit behandler, hvordan du med korrekt vedligeholdelse og ved brug af korrekt type skareudstyr:
- Reducerer maskinens kasttilbøjelighed.
- Bevarer en maksimal skarphed.
- Oger skareudstyrets levetid.
Grundregler

1 Brug kun skæreudstyr sammen med den beskyttelse, som vi anbefaler! Se kapitlet Tekniske data.

2 Hold korrekt skrænkning! Følg vores instruktioner, og brug anbefalet skrænkeværktøj. En forkert skrænket klinge øger risikoen for fastlåsning og kast.

3 Kontroller skærudstyret med hensyn til skader og revnedannelse. Et beskadiget skærudstyr skal altid udskiftes.


ADVARSEL! Et forkert skareudstyr aller en forkert filt klinge øger risikoen for kast.

ADVARSEL! Undgå at save i skæreområdet mellem kl. 12 og 3 på klingen. På grund af klingens rotationshestighed kan kast ske netop i dette kontaktområde på klingen på kontakttidspunktet ved kraftigere stammer.
Filning af græskniv og græsklinge

- Se skæreudstyrets emballage for at få oplysninger om korrekt filning. Klingen og kniven slipes med en fladfil med enkeltskær.

- Fil alle ægge lige meget for at bevare klingens balance.

ADVARSEL! Kassér altid en klinge, som er bojet, skæv, sprekket, bristet aller på,anden MADE beskadiget. Prov aldrig at rette en skæv klinge op med henblick på genbrug. Brug kun originalklinger af foreskreven type.
Generelle arbejdsinstruktioner
- Brug altid fuld gas ved rydning og trimning.
- Lad motoren gå i tomgang after hvert arbejdsmoment. Køres motoren i lang tid ved fulde omdrejninger,.uden at motoren belastes (dvs..uden den modstand, som motoren udsættes for via skæeudstyret ved arbejde med maskinen), kan det give alvorlig motorskade.
Betegnelser
- Græsrydning er en generl betegnelse for rydning af græs. Her bruges bade graesklinge og græskniv.

- Graestrimning er en generel betegnelse for lettere trimming ved f.eks. kanter eller omkring traer. Her bruges trimmerhoved eller plastknife.


ADVARSEL! Undertiden sætter grene eller græs sig fast mellem beskyttelse og skæredstyr. Stands altid motoren ved rengöring.
Græsrydning med græsklinge


- Græsklinger og græsknive på不经 anvendes til træagtige stilke.
- Til alle former for hijt eller kraftigt græs anvendes en græsklinge.
- Græs mejes ned fra side til side, hvor bevægelsen fra højre mod venstre kaldes rydningsmomentet, og bevægelsen fra venstre mod hjre kaldes returnmomentet. Lad klingen arbejde i venstre side (placeret mellem klokken 8 og 12).

- Hvis klingen vipps lidt mod venstre under græsrydning, samles graæsset i en stribe, som gør opsamlingsarbejdet lettere, f.eks. med en rive.
- Sørg for at arbejde rytmisk. Stå stabilt med fødderne let sprende. Ryk fremad after returnmomentet, og stil dig igen stabilt.
- Lad stottekopen hvile let mod jorden. Den bruges til at beskytte klingen mod belægning af jord.
- Nedsæt risikoen for, at materialet skal vikle sig rundt om klingen, ved at overholde følgende regler:
1 Arbejd altid med fuld gas.
2 Undgå det afskärne materiale ved returnmomentet.
- Stands motoren, løsn selen, og placer maskinen på jorden, inden du opsamler det afskärne materiale.

ADVARSEL! Hverken brugeren af maskinen aller nogen,anden ma prove at fjerne det afklippede materiale,nar motoren ell skareudstyret roterer,da dette kan medfrole alvorlige skader.
Stands motoren og skærudstyret, inden du fjerner materiale, som har viklet sig rundt om klingeakslen, da der ellers er risiko for skader.

ADVARSEL! Pas på udsvlyngede genstande. Brug altid godkendt øjenværn. Læn dig aldrig ind over skæreudstyrets beskyttelse. Sten, skidt m.m. kan blive slynet op i øjnene og forårsage blindhed eller alvorlige skader.
Hold uvedkommen på afstand. Børn, dyr, tilskuere og medhjælpere skal befindes sigumen for sikkerhedszonen på 15 meter. Stands omgående maskinen, hvis nogenærmer sig.
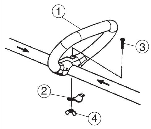
Montering af J-håndtag

ADVARSEL! Ved montering af J-händtag ma der kun bruges græsklinger/græsknive eller trimmerhoved/plastknife. Savklinge ma aldrig bruges sammen med J-händtag.
- Sæt loophåndtaget over styrestangen. Husk, at loophåndtaget skal monteres mellem pilmarkeringerne på styrestangen.

- Monter bolt, klerplade og vingemøtrik som vist på billedet.
- J-håndtaget monteres på loop-håndtaget med 2 skruer som vist på billedet.

- Foretag en finjustering, på J-håndtaget giver en bekvem arbejdstilling. Skru grebet fast.

Montering af ophængsbeslag
Ophængsbeslaget monteres mellem bagerste händtag og loop-händtaget. Placér ophængsbeslaget sá ryddesaven kan balanceres samtidigt med at+vare bekvm at arbejde med.

Montering af klingebeskyttelse/ kombibeskyttelse, græsklinge og græskniv

-
Klingebeskyttelsen/kombibeskyttelsen (A) sættes fast i fæstet på styrestangen og fastgøres med en skrue. BEMÆRK! Brug anbefalet klingebeskyttelse. Se kapitlet Tekniske data.
Monter medbringer (B) på den udgående aktel. -
Drej klingeakslen rundt, indtil et af medbringerens huller passerSAMEN med et tilsvarende hul i gearhuset.
För lasepinden (C) ind i hullet, sä akslen lases.

- Anbring klinge (D), stottekop (E) og stotteflange (F) på den udgående aksel.
- Montér møtrikken (G). Møtrikken skal spændes med et moment på 35-50 Nm (3,5-5 kpm). Brug topnøglen fra værktøjssættet. Hold fast i nøglens skaft saær som muligt ved klingebeskyttelsen. Møtrikken spændes,ningar drejes imod rotationsretningen (OBS! venstregevind).

Montering af skæreudstyr


ADVARSEL!
Ved montering af skærudstyr er det yderst vigtigt, at medbringerens/stotteflangens styr placeres korrekt i skærudstyrets midterste hul. Forkert monteret skærudstyr kan medføre alvorlige og/eller livsfarlige personskader.


ADVARSEL! Intet skæreudstyr på under nogen omstændigheder bruges,.uden at en godkendt beskyttelse er monteret. Se kapitlet Tekniske data. Hvis forkert eller defect beskyttelse monteres, kan det forårsage alvorlige persorskader.
Kontrol För start

Folg disse anbefalinger af sikkerhedsmaesige grunde!
- Kontroller, at klingen/DDke har revner i tandbunde ell er i miterhullet. Den almindeligste 1arsag til revnedannelse er, at der er opstaet skarpe hjorner i tandbundene ved filning, ell er klingen er blevet brugt med slove tander. Kasser klingen, hvis der konstateres revner.

- Kontrollér, at stotteflangen ikke har revner på grund af metaltraethed eller for hard tilspænding. Kassér stotteflangen, hvis der konstateres revner.

- Sørg for, at læsemørkken ikke mister sin lasekraft. Møtrikåsen skal have et lasemoment på 1,5 Nm. Læsemørkken tilspændingsmoment skal nære på 35-50 Nm.

- Kontroller, at klingebeskyttelsen er intakt og fri for revner. Udskift klingebeskyttelsen, hvis den har varet udsat for slag eller er revnet.

- Kontroller, at trimmerhovedet og trimmerbeskyttelsen er intakte og fri for revner. Udskift trimmerhoved erl trimmerbeskyttelse, hvis de har varet udsat for slag ell er revnet.

- Brug aldrig maskinen.uden beskyttelseller med defekt beskyttelse.
- Alle dæksler skal ære monteret korrekt og ære fejlfri før start af maskinen.
Tekniske data
| Godkendt tilbehør | ||
| Klingeaksel med gevind M10 | ||
| Midterhul i klinger/knive Ø 25,4 mm | ||
| Betegnelser | Type | Beskyttelse til skæreudstyr, Art. nr. |
| Græsklinge/græskniv | Grass 255-4 1" (Ø 255 4-tænder) | 503 93 42-02 |
| Trimmerhoved | T25 | 537 33 83-02 |
| Plastknife | Tricut Ø 300 mm | 531 00 38-11 |
| Støttekop | Fast | |
Sisälto
SISALTO
Sisaltö 14
Før start ma man legge merke til ffolgende: 20
HVA ER HVA?
Hva er hva?
SIKKERHETSINSTRUKSJONER
Skjareutstyr 22
Gressrydding med gressklinge


- Monter bolt, klemmeplate og vingemutter som vist på bildet.
- J-händtaket monteres i loophändtaket med 2 skruer som vist på bildet.

- Se erter at lase mutteren ikke mister sin lasekraft. Mutterlåsinen skal ha et lasemoment på minst 1,5 Nm. Mutterens tiltrekningsmoment skal ære 35-50 Nm.

NemManual