J-HANDLE KIT 125 L - Puutarhavälineet HUSQVARNA - Ilmainen käyttöohje ja opas
Löydä laitteen käyttöohje ilmaiseksi J-HANDLE KIT 125 L HUSQVARNA PDF-muodossa.
Käyttäjien kysymyksiä aiheesta J-HANDLE KIT 125 L HUSQVARNA
0 kysymys tästä laitteesta. Vastaa tuntemiisi tai esitä omasi.
Esitä uusi kysymys tästä laitteesta
Lataa ohjeet laitteellesi Puutarhavälineet PDF-muodossa ilmaiseksi! Löydä käyttöohjeesi J-HANDLE KIT 125 L - HUSQVARNA ja ota elektroninen laitteesi takaisin hallintaan. Tällä sivulla julkaistaan kaikki laitteidesi käyttöön tarvittavat asiakirjat. J-HANDLE KIT 125 L merkiltä HUSQVARNA.
KÄYTTÖOHJE J-HANDLE KIT 125 L HUSQVARNA
Ennen käynnistystö on huomioitava seuraavaa: 14
KONEEN OSAT
Koneen osat
TURVAOHJEET
Teralaite 16
Ruohoveitsen ja ruohoterän viilaus 16
Yleiset tyohjeet 16
ASENNUS
J-kehvan asennus 18
Ripustussilmukan asennus 18
Teräsuojuksen/yhdistelmäsuojuksen, ruohoterän ja ruohoveitsen asennus 18
Teralaitteen asennus 18
KÄYNNISTYS JA PYSÄYTYS
Tarkastus ennen käynnistystä 19
TEKNISET TIEDOT
Tekniset tiedot 19
Ennen käynnistystä on huomioitavaseuraavaa:
Lue käyttoohje huolellisesti ja ymmärra sen sisälto, ennen kuin alat käyttaa konetta. Tämä käyttoohje taydentäa koneen mukana toimitettua käyttoohjetta. Katso muut ohjeet koneen käyttoohjeesta.
Husqvarna AB kehittäa jatkuvasti tuotteitaan ja pidattäa siksi itselleen oikeuden mm. muotoa ja ulkonaköä koskeviin muutoksiin ilman ennakkoilmoitusta.
Pitkäikainen altistuminen melulle saattaa aiheuttaa pysyvä
kuulovammoja. Käytä siksi aina hyväksyttyjä
kuulonsuojaimia.

VAROITUS! Koneen alkuperäistä rakennetta ei missän tapauksessa saa muuttaa ilman valmistajan lupaa. Käytä aina alkuperäisä varaosia. Hyväskymättömien muutosten ja/ tai lisavarusteiden käytto voi aiheuttaa käytäjälle tai muille vakavia vahinkoja tai kuoleman.

VAROITUS! Tätä lisāvarustetta saa käyttaa vain vastaavaan työhön tarkoitetuissa trimmeissä, ks. koneen käyttoohjeen luvusta "Tekniset tiedot" kohta "Hyväksytät lisāvarusteet".

VAROITUS! J-kahvan kanssa saa käytää
vain ruohoterä/ruohoveitsä tai trimmipäätä/ muoviveitsä. Raivausterää ei koskaan saa käytää J-kahvan kanssa.
TÄRKEÄ! Terälaitetta ei saa missän olosuheissa käytta ilman, etta hyväksytty suojus on asennetu. Katso luku Tekniset tiedot. Jos terään asennetaan värä tai viallinen teräsuojus, se voi aiheitta vakavan tapaturman.
TÄRKEÄÄ! Käytä aina saappaita, joissa on teräksinen varvassuoja ja luistamaton pohja, jos koneeseen asennetaan ruohotera.
J-kahvasarja sisältaa seuraavat osat:
Lenkkikhva
1 Lenkkikahva
1 puristuslaatta
1 pultti
1 siipimutteri
J-kahva
1 J-kahva
2ruuvi
1 valjaat
1 ripustussilmukka
2ruuvi
1 ruohoterä
1tukikuppi
1 tukilaippa
1 mutteri
1 teramutterin avain
1 kuljetussuojus







Koneen osat
1 Lenkkikahva
2 Puristuslaatta
3 Pultti
4 Siipimutteri
5 J-kahva
6 2 ruuvi
7 Ripustussilmukka
8 2ruuvi
9 Valjaat
10 Ruohoterä
11 Tukikuppi
12 Tukilaippa
13 Mutteri
14 Kuljetussuojus
15 Teramutterin avain
Terälaite
Tässä osassa kerrotaan, miten oikealla kunnossapidolla ja oikeantyyppisiä terälaitteita käytämällä:
Vahennat koneen takapotkualtiutta.
- Saat parhaan sahaustehon.
- Pidennat terälaitteen kestoikää.
Perussäannöt

1 Käytä terälaitteessa vain suosittelemaamme suojusta! Katso luku Tekniset tiedot.

2 Pidä kouru- ja säätohampaan korkeusero oikeana! Noudata ohjeitamme ja käytä suositelua säätohampaan viausohjainta. Virheellinen korkeusero lisää terän juuttumisen ja takapotkun vaaraa.

3 Tarkasta teralaite vaurioiden ja halkeamien varalta. Vaurioitunut teralaite on aina vaihdettava.


VAROITUS! Virheellinen teralaite tai vaärin viilattu terä lisää takapotkun vaaraa.

VAROITUS! Välta sahamasta kello 12:n ja 3:n välisellä teräsektorilla. Tämä terävalue voi terän pyöriessä aiheuttaa takapotkun, kun se painetaan paksua runkoa vasten.
Ruohoveitsen ja ruohoterän viilaus

- Katso viausohjeet terälaitteen pakkauksesta. Terä ja veitsi vilataan yksihakkuisella lattaviilalla.

- Viilaa kaikkia sarmiä yhtä paljon terän tasapainon sáilyttämiseksi.

VAROITUS! Hävitä aina terä, joka taipunut, vaantynyt, lohjennut, katkennut tai vioittunut muulla ravoin. Älä koskaan yritä oikaista vaantynytta teräa uudelleen käytettväksi. Käytä vain koneelle tarkoitettuja alkuperäisteria.
Yleiset työohjeet
- Raivaa ja trimmaa aina taydellä kaasulla.
- Päastä kaasu joutokäynnille aina työvaliheiden välissä. Pitkäikainen käytö täydellä kaasulla moottoria kuormittamatta (ts. ilman vastusta, jonka moottori konetta käytettaessä saa terälaiteen välityksellä) voi aiheuttaavakavan moottorivaurion.
Nimitykset
- Ruohonraivaus on yleisnimitys ruohon raivaamiselle. Työssä kaytetaaan sekä ruohoterää attä ruohoveista.

- Ruohontrimmaus on yleisnimitys kevylle raivaukselle, esim. reunoilta ja puiden ympäriltä. Työssä käytetään trimmipäätä tai muoviveitsiä.


VAROITUS! Suojuksen ja terälaitteen vällin tarttu toisinaan oksia ja ruohoja. Pysäytä aina moottori puhdistuksen ajaksi.
Ruohonraivaus ruohoterällä


- Ruohoteriä ja ruohoveitsä ei saa käyttaa puumaisten runkojen raivaukseen.
- Ruohoterää käytetään kaikentyppisen pitkān tai paksun ruohon raivaukseen.
- Ruoho niitetaan edestakaisella sivuttaislikkeellä, jossa liike oikealta vasemmalle on raivausliike ja liike vasemmalta oikealle paluulike. Käytä terän vasenta puolta (kello 8:n ja 12:n valinen terasektori).

- Jos teräa kallistetaan raivattaessa hieman vasemmalle, ruoho jäa aumaksi, josta se on helppo kerätä pois esim. haravoitaessa.
- Pyri työskentelemään tasaisella rytmällä. Seiso tukevassa haara-asennossa. Siirry paluulikkeen jälkeen eteenpäin ja asetu taas tukevaan asentoon.
- Anna tukikupin nojata kevyesti maata vasten. Se on tarkoitettu suojaamaan teräa maakosketukselta.
Vähenna vaaraa, etta raivattava materiaali kiertyy terän ympärille, noudattamalla seuraavia ohjeita:
1 Työskentele aina täydella kaasulla.
2 Väistä raivattua materiaalia paluulikkeen aikana.
- Pysäytä moottori, irrota valjaat ja aseta raivaussaha maahan, ennen kuin alat kasata raivattua materiaialia.

VAROITUS! Koneen käytäjä eikä kukaan muukaan saa yrittäv vetäa raivattua materiaalia sivuun moottorin tai terälaitteen pyörissä, sillä seurauksena voi olla vakavia vahinkoja.
Vahinkojen välttämiseksi pysäytä moottori ja teralaite, ennen kuin poistat teräakselin ympärille kiertyneen materiaalin.

VAROITUS! Varo sinkoutuvia esineita. Käytä aina hyväksyttyä silmänsuojaimia. Älä koskaan nojaa terälaitteen suojuksen yli. Kivet, roskat yms. saattavat sinkoutua silmiin ja aiheuttaa sokeutumisen taivakavia vahinkoja.
Pida asiaankuulumattomat etaall. Lasten, elainten, katsojien ja avustajien on oltava 15 metrin turva-alueen ulkopuolella. Pysaytakone valittomasti, jos joku lahestyy sita.
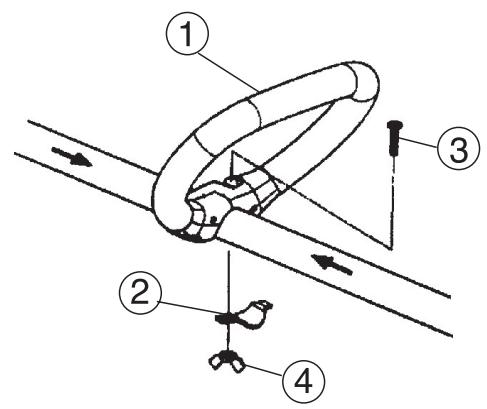
J-kahvan asennus

VAROITUS! J-kahvan kanssa saa käyttaa vain ruohoteria/ruohoveitsiä tai trimmipäätä/ muoviveitsiä. Raivausteräe ei koskaan saa käyttaa J-kahvan kanssa.
- Paina lenkkikahva runkoputken pälle. Huomaa, etta lenkkikahva tāytyy asentaa runkoputkeen merkittyjen nuolien vāliin.

- Asenna pultti, puristuslaatta ja siipimutteri kuvan mukaisesti.
- J-kahva asennetaan lenkkikahvaan 2 ruuvilla kuvan mukaisesti.

Suorita hienosaatö niin, etta J-kehva tulee mukavaant yoasentoon. Kirista vaannin.

Ripustussilmukan asennus
Ripustussilmukka asennetaan takakahvan ja silmukkakahvan valiin. Aseta ripustussilmukka siten, etta kone on tasapainossa ja työskently on helppoa.

Teräsuojuksen/ yhdistelmäsuojuksen, ruohoterän ja ruohoveitsen asennus

- Teräsuojus/yhdistelmäsuojus (A) asetetaan runkoputkessa olevaan kiinnikkeeseen ja kiinnitetään yhdellä ruuvilla. HUOM! Käytä suositeltua teränsuojusta. Katso luku Tekniset tiedot.
- Asenna vaantio (B) käyttoakselille.
Pyorita teräakselia, kunnes yksi vaantion reiistä tulee vaihteistikotelon vastaavan reän kohdalle.
Lukitse aksemi tyontamalla lukkotappi (C) reikaaan.

- Aseta terä (D), tukikuppi (E) ja tukilaippa (F) käyttoakselille.
- Asenna mutteri (G). Mutteri on kirstettävämomenttiin 35-50 Nm (3,5-5 kpm). Käytä työkaluvarustukseen kuuluvaah hylsyavainta. Pidä kiinni avaimen varrestamahdollisimman laheltä teränsuojusta. Mutteri kirstyy, kun avainta käännetaan pyörimssuuntaa vastaan (HUOM! vasenkätinen kierre).

Teräaitteen asennus


VAROITUS!
Terälaitetta asennettaessa on erittäin tärkeää, etta vaantion/tukilaipan ohjain tulee oikein terälaitteen keskireikään. Väärin asennettu teralaite voi aiheuttaavakavan ja/ tai hengenvaarallisen tapaturman.


VAROITUS! Teräaitetta ei saa missän olosuhteissa käytää ilman, etta hyväksytty suojus on asennetu. Katso luku Tekniset tiedot. Jos terään asennetaan vaärä tai vialinen teräsuojus, se voi aiheuttaa vakavan tapaturman.
KÄYNNISTYS JA PYSÄYTYS
Tarkastus ennen käynistystä

Noudata naita suosituksia turvallisuussyista!
- Tarkasta, ettei terän hampaiden pohjaan tai keskioreiän kohdalle ole tullut halkeamia. Halkeamat johtuvat tavallisimmin siä, etta hampaiden pohjaan on viilattaessa jaänyt teräviä kulmia tai etta teräa on käytetty tylsänä. Hävitätera, jos siinä on havaittavissa halkeamia.

- Tarkasta, ettei tukilaippaan ole tullut väsymisestä tai liallisesta kiristämisetä aiheituneita halkeamia. Hāvitā tukilaippa, jos siinä on havaittavissa halkeamia.

- Varmista, ettei terämutteri ole menettänyt lukitustehoan. Mutterilukituksen lukitusmomentin on oltava vähintään 1,5 Nm. Terämutterin kiristysmomentin on oltava 35-50 Nm.

- Tarkasta, etta teräsuojus on ehä ja ettei siinä ole halkeamia. Vaihda teräsuojus, jos siihen on kohdistunut iskuja tai siinä on halkeamia.

- Tarkasta, etta trimmipää ja trimmisuojus ovat ehjat ja ettei niissä ole halkeamia. Vaihda trimmipää tai trimmisuojus, jos niihin on kohdistunut iskuja tai niissä on halkeamia.

- Älä koskaan käytä konetta ilman suojuksia tai vialisin suojuksin.
- Kaikkien koteloiden on oltava oikein asennettuina ja ehjä ennen koneen käynistystä.
Tekniset tiedot
| Hyväksytyt lisävarusteet | ||
| Teräakselin kierre M10 | ||
| Terien/veitsiterien keskireikä Ø 25,4 mm | ||
| Nimitykset | Tyyppi | Terälaitteen suojus, Tuotenro |
| Ruohoterä/ ruohoveitsi | Grass 255-4 1" (Ø 255 4-hampainen) | 503 93 42-02 |
| Trimmipää | T25 | 537 33 83-02 |
| Muoviveitset | Tricut Ø 300 mm | 531 00 38-11 |
| Tukikuppi | Kiinteä | |
Innhold
INNNHOLD
Innhold 20
HelppoOhje