MDRF632FGF46 - Geladeira MIDEA - Manual de utilização gratuito
Encontre gratuitamente o manual do aparelho MDRF632FGF46 MIDEA em formato PDF.
Baixe as instruções para o seu Geladeira em formato PDF gratuitamente! Encontre o seu manual MDRF632FGF46 - MIDEA e retome o controlo do seu dispositivo eletrónico. Nesta página estão publicados todos os documentos necessários para a utilização do seu dispositivo. MDRF632FGF46 da marca MIDEA.
MANUAL DE UTILIZADOR MDRF632FGF46 MIDEA
Advertencia para energia
1.1 Aviso 1-2
1.2 Significado dos símbolos de avis de segurarca 3
1.3 Avisos relacionados à eletricidade 3
1.4 AAvisos para utilização 4
1.5 Avisos para colocacao de itens 4-5
1.6 Avisos relacionados à energia 5
1.7 Avisos para eliminação 5
2 Uso adequado do frigorífico
2.1 Instalar o aparelho 6
2.2 Pés de nivelamento 7
2.3 Nivelamento da porta 8
2.4 Como mudar a lampada 9
2.5 Comecando a usar 9
2.6 Dicas para poupar energia 9
3 Estrutura e funções
3.1 Componentes principales 10
3.2 Fonctions 11-12
4 Manutenção eeguardados do frigorífico
4.1 Limpeza geral 13
4.2 Limpeza da prateleira da porta 14
4.3 Descongelamento 14
4.4 Fora de service 14
5 Resolucao de problemas
5.1 Resolucao de problemas 15

1 Avisos de segurarca
1.1 Aviso

Aviso: Risco de incendio / Materiais inflamáveis.
Este aparecido destiná-se a ser utilizado em aplicações dométricas e similares, tais como和地区 de cozinha do pessoal em lojas, escritórios e outros ambientes de trabalho; casas agrícolas e por pacientes em hospéis, motéis e outros ambientes do tipo residencial; ambientes do tipo cama e pouco-almoço; catering e aplicações similares não retalihistas.
Este aparelho não se destina a ser realizado por pessoas (incluindo crianças) com capacidades fisicas, sensoriais ou mentalais reduzidas, ou com falta de experiencia e acontecimentos, a menos que tenham recebido supervisão ou instruções relatives à'utilisation do aparelho por uma pessoa responsavel pela sua segurarca).
As crianas devem ser supervisionadas para garantir que nao brincam com o aparelho.
Se o cabo de alimentação estiver danificado,deer a ser substituicao poe fabricante,o vendedor de service ou pessoas com qualificacoes semelhantes,a fim de evitar riscos.
Não guarde substâncias explosivas como latas de aerossol com propulsor inflamçavel dentro deste aparelho.
O aparelho deve ser desligado après o uso e antes de realizar a manutenção no aparelho.
Aviso: Mantenha as aberturas de ventilacao, na caixa do aparelho ou na estrutura embutida, sem obstruções.
Aviso: Não use dispositivos mecânicos ou outros meiros para acelerar o processo de descongelamento, às dem daqueles recomendados pelo fabricante.
Aviso: Nao danifique o circuito de refrigeracao.
Aviso: Não utilize aparehosétricos dentro dos compartments de armazenamento de alimentos do aparelho, a menos que sejam do tipo recomendado pelo fabricante.
Aviso: Elimine o frigorifico de acordo com os regulamentos locais, poised utilize gás de sopro e refrigerante inflamáveis.
Aviso: Ao posicaoar o aparelho, certificque-se de que o cabo de alimentacao nao fique preso ou danificado.
Aviso: Não coloque varías tomadas portáteis ou fontes de alimentação portáteis na parte traseira do dispositivo.
Não use cabos de extensão ou adaptations não aterrados (dois pinos).
Perigo: Risco de abrisionamento de crianças. Antes de deitar fora o seu antigo frigorifico ou congelador:
- Retire as portas.
- Deixe as prateleiras no lugar para que as crianças não possam aceder fácilmente ao interior.
O frigorifico deve ser desligado da fonte de alimentacao eletrica antes de tentar a instalacao do acessario.
Ogas refrigerante e a espuma ciclopentano usados no frigorifico sao materiais inflamaveis. Portanto, quando o aparelho é descartado, o mesmo deve ser mantido longe de qualquer fonte de incendio e ser recuperada por una Empresa recuperadora especial com qualificacoes correspondentes que nao sera descartada por combustao, de modo a evaporar danos ao meio ambiente ou qualquer及其他 dano
Para a forma EN: Este aparecido pode ser uso por crianças a partir dos 8 anos de idade e por pessoas com capacidades fisicas, sensoriais ou mentalais reduzidas ou falta de experiencia e conhecelto se elas receberem supervisão ou instruções relacionadas ao uso do aparecido de modo seguro e entendem os perigos envolvidos. As crianças não devem brincar com o aparecido. A limpeza e a manutençao do aparecido não podern ser feitas por crianças sem supervisão. Crianças com idade entre 3 e 8 anos podem colocar ouutar alimentados do aparecido.
A necessidade de que, para portas ou tampas equipadas com fechaduras e chaves, as chaves sejam mantidas fora do alcance das crianças e não nas proximas do aparelho frigorífico, a fim de fazer que as crianças fiquem trancadas no interior.
Para evaporar a contaminacao dos alimentos, respeite as seguientes instruções:
-
A abertura da porta por longos periodos pode causar um aumento significativo da temperatura nos compartments do aparelho.
-
Limpe regularmente as superficies que possam entrada em contacto com alimentos e sistemas de drenagem accesiveis.
-
Limpe os tanques de agua, se não foram realizados por 48 h; lave o Sistema de água conectado a um suprimamento de agua se a agua não for retirada por 5 dias. (nota 1)
-
Armazene carne cru e peixe em recipientes adequados no refrigerador, para que não fique em contacto ou pinque em outros alimentos.
-
Os compartmentos de comida congelada de das estrelas --são adequados para armazenar alimentos pré-congelados, armazenar ou fazer sorvetes e fazer cubos de gelo. (nota 2)
-
Compartimentos de uma -,两大 -earethestrelas nao sao adequados para ocongelamento de alimentos frescos. (nota 3)
-
Para aparehos sem compartmento de 4 estrelas, este aparelho frigorifico não é adequado para congelar alimentos. (nota 4)
-
Se o aparelho de refrigeracao ficar vazio durante longos periodos, deslige, descongele, limpe, seque eaxe a porta aberta para evaporar o desenvolvimento de dolor dentro do aparelho.
Nota 1,2,3,4: Confirmse se é aplicável de acordo com o tipo de compartmento do produits.
Para um aparelho autônomo: este aparelho frigorífico não se destina a ser utilizado como aparelho incorporeal.
Qualquer substituiacao ou manutencao das lampadas LED destina-se a ser feita pelo fabricante, e
o seu agente de service ou pessoas qualificada semelhante.
Este produits contém uma fonte leve de classe de eficiência de energia (G).
1.2 Significado dos símbolos de avis de segurança

Este manual contém muito informação de segurarça importante que deve ser entendida Pelosi realizadores.
1.3 Avisos relacionados à eletricidade

- Não puxar o caboétrico ao puxar a ficha do frigorífico. Por favor, agarre a ficha firmamente e puxe-a diretamente da tomada.
- Para garantir uma'utilisation segura, não danifique o cabo de alimentação nem utilize o mesmo quando este estiver danificado ou gasto.

- Utilize uma tomada espécífica e esta não deve ser partilhada com outros aparelhosétricos. A ficha de alimentação deve ser conectada com firmeza com a tomada, caso contrário, poderá ocorrre incério.
- Por favor, assegure-se de que oétrtro de ligação à terra da tomada está equipado com um fio terra fiavel.

- Por favor, feche a valvula de fuga de gás e depos abra as portas e janelas no caso de fuga de gás e outros gases inflamáveis. Não desligue o frigorífico e outros apareiros electrolycicos considerando que a fazerça pode causar um incério.

- Não utilize aparelhosétricos na parte superior do aparelho, exceto se foram recomendados pelo fabricante.
1.4 Avisos para'utilisation

- Não desmonte ou reconstrua arbitrariamente o frigorífico, nem danifique o circuito de refrigeração; a manutençao do aparelho deve ser conducida por um especialista.
- O cabo de alimentação danificado tem de ser substituído pelo fabricante,elo seu departamento de manutençao ou por professionais relacionados para evacitar perigo.

- Os espacios entre as portas dos frigoríficos e entre as portas e o corpo do frigorífico são(PC), note-se que nao deve colocar a mao nestas areas para evaporar que se aperte o dedo. Por favor, sera gentil ao fechar a porta do frigorífico para evaporar a queda de artigos.
- Não pegue em alimentos ou recipientes com as muitas molhadas na-camera de congregação quando o frigorífico estiver a funciona, especialmente recipientes de metal, a fim de fazer queimaduras por congregação.

- Não permita que as crianças subam ou entrem para o aparelho, caso contrário poderão sofrer lesões tais como sufocamento ou queda.

- Não colque objetivos pesados no topo do frigorífico considerando que os objetivos podem cair quando se fecha ou abre a porta, e que podem ser causados ferimentos acidentais.
- Por favor, retire a ficha da tomada no caso de falha de energia ou quando efetuar limpeza. Não ligue a arca à fonte de alimentação dentro de cinco Minutes para fazer danos no compressor devido a arranques sucessivos.
1.5 Avisos para colocacao de itens

- Não coloque artigos inflamáveis, explosivos, voláteis e altamente corrosivos no frigorífico para fazer danos no produits ou acidentes de incência.
- Não coloque artigos inflamáveis perto do frigorífico para fazer incéndios.

- Este aparecido destiná-se semente a uso domestico, como o armazenamento dos alimentos. Não deve ser utilizado para outros fins,ais como armazenamento de sangue, medicamentos ou produits biológicos,etc.

- Não armazene cerveja, bebida ou及其他 liquido contido em garrafas ou recipientes fechados no compartmento de congelaçao do aparelho; caso contrario, as garrafas ou recipientes fechados poderao quebrar devo ao congelamento e causar danos.
1) Os apareiros de refrigeracao podem nao functionar de forma consistente (possibilidade de descongelamento do conteudo ou temperatas demasiado altas no compartmento de congelacao) quando instalados durante um periodo de tempo prolongado abaixo do fim do frio no intervalo de temperatas para o qual o aparecido de refrigeracao foi concebido.
2) O fato de bebidas gaseificadas não dewerem ser armazenadas nos compartmentos ou casarias de congelacao de alimentos ou nos compartmentos ou casarias de baixa temperatura, e de outros produits tais como sorvetes não dewerem ser consumidos demasiado frios;
3) A necessidade de não excesser o tempo de armazenamento recomendado pelos fabricantes de alimentos para quaisquer temas de alimentos e especialmente alimentos de congelação rápida disponível no mercado nos compartments ou casarias de armazenamento de alimentos congelados;
4) As precauções necessárias para fazer um aumento indevido da temperatura dos alimentos congelados ao discongelar o aparecido de refrigeração, como embrulhar os alimentos congelados em varías camadas de jornal.
5) O fato de um aumento de temperatura dos alimentos congelados durante a descongelaçao manual, manutenção ou limpeza poderem reduzir a duração de conservação dos alimentos
1.7 Avisos para eliminação

O material espumante refrigerante e ciclopentano utilizao para o aparelho é inflamvil. Portanto, quando o aparelho é descartado, o mesmo deve ser mantido longe de qualquer fonte de incendidio e ser recuperada por uma Empresa recuperadora especial com qualificacoes correspondentes que nao sera descartada por combustao, de modo a evaporar danos ao meio ambiente ou qualquer及其他 dano

Quando o aparelho for eliminado, desmonte as portas e remove a porta inferior e prateleiras; colque-as em lugar seguro, de modo a fazer que entrem crianças dentro do aparelho e fiquem lá fechadas.

Eliminação correta do produits:
Este Trickbone indica que este produit não deve ser eliminado juntamente com outros residuos dométricos. Para fazer eventuals danos para o ambiente ou para a saude humana a partir de residuos não controlados, recicle-o de forma responsavel para promover a reutilização sustentavel de recursos materiais. Para devolver o seu aparelho uso, por favor, utilize os sistemas de recolha e devoluçao ou entre em contacto com o vendedor ondo o produits fai adquirido. Este pode recolher este produit para reciclagem ambientalmente segura.
2 Uso adequado do frigorífico
2.1 Instalar o aparelho

- Remova todos os materiais de embalagem antes de usar, incluindo as alimentadas de base, as alimentadas de espuma e as fitas dentro do frigorífico; arranque aVELICULA protetora nas portas e no corpo do frigorífico.

- Mantenha longe do calor e evite a luz direta do sol. Não colque o frigorífico em locaiságidos ou molhados para fazer ferrugem ou redução do efeito isolante.

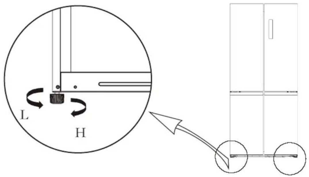
- O aparelhodeer ser instalado em local bem ventilado; o chao deve ser plano e robusto (rodar para a esquerda ou direita para nivelar o pé do aparelho).

- O espaço indicado para a parte de cima do aparelhodeerá ser superior a 30 cm, e o aparelhodeveráser colocadocontraaparedecomuma distência livre de mais de 10cmparafacilitaradissipaçãode calor.
Precações antes da instalização:
Antes da instalacao ou ajuste dos accesorios, certificque-se de que o aparelho estaja desligado da energia. Devem ser tomas precauacoes para evitar que a queda da pega provoque danos pessoasis.
- Diagrama esquematico dos pés nivelados

(A imagem acima é apenas para referencia. A configuração real dependerá do produits fisico ou declaração do distribuidor)
- Procedimientos de ajuste:
a. Gire os pés no sentido horario para levantar o frigorífico;
b. Gire os pés no sentido anti-horário para baixar o frigorífico;
c. Ajuste os pés direito e esquerdo com base nos procedimientos acima a um nível horizontal.
2.3 Nivelamento da porta
- Diagrama esquamático de nivelamento da porta
| Lista de ferramentas a serem fornecidas pelo utiliser | |
| alicate | |

(A imagem acima serve apenas para referencia. A configuraçao real depende do produits fisico ou da指示ação do distribuitor)
1) Eleve a porta inferiore at e o nivel da porta superior.
2) Use um alicate para inserir o anel de fixação fornecido, no espoço entre o anel isolante da dobradiça e a dobradiça inferior. A quantidade de anéis de fixação a ser inserida depende o tamanho do espoço.
2.4 Como Mudar a lampada
Qualquer substituicao ou manutencao das lampadas LED destina-se a ser feita pelo fabricante, o seu agente de service ou pessoa qualificada semelhante.
2.5 Começando a usar

- Antes do início, mantenha o aparecido imóvel por das horas antes de conectá-la à fonte de alimentação.
- Antes de colocar os alimentos frescos ou congelados no seu interior, o aparecido devera funciona por 2 ou 3 horas, ou por mais de 4 horas no verao, quando a temperatura ambiente é alta.

- Deixe espaço suficiente para a abertura conveniente das portas e gavetas ou de acordo com as indentações do distribuidor.
2.6 Dicas para poupar energia
- O aparheiro deve estar localizzato na area mais fria da sala, longe de aparelhos que produzam calor, conduitas de aquecimento e longe da luz direta do sol.
- Deve deixar os alimentos quentes arrefecem até à temperatura ambiente antes de os colocar no aparecido. Sobrecarregar o aparecido para compressor a funcional por mais tempo. Alimentos que congelam muito lentamente podem perdier boa ou estragar.
- Certifique-se de embalar os alimentos adequadamente e de segar os recipientes antes de os colocar no aparelho. Tal reduz o gelo acumulado dentro do aparelho.
- A bandeja de armazenamento do dispositivo não deve ser forrada com papel aluminio, papel de cera ou papel toalha. Pois interferem na circulacao de ar frio, tornando o aparelho menos eficiente.
- Organize e rotule os alimentos para reduzir o tempo de aberturas da porta e a procura dos alimentos. Remova todos os alimentos necessários de uma boa vez e feche a porta o mais rápido possível.
3 Estrutura e funções
3.1 Componentes principales
(A imagem acima serve apenas para referencia. A configuração real depende do produits fisico ou da指示ação do distribuitor)
Càmara frigorífica
- A Camara frigorifica é adequada para armazenamento de frutas, vegetais, bebidas e outros alimentos de consumos em curto prazo, o tempo de armazenamento sugerido é de 3 dias a 5 dias.
- Os alimentos de cozimento não devem ser colocados na-camera de refrigeracao até esfiar em temperatura ambiente.
- Recomenda-se que os alimentos sejam lacrados antes de colocar na geladeira.
- As prateleiras de vidro poderao ser ajustadas para cima ou para baixo, obtendo assim mais esqaco de armazenamento dos alimentos.
Câmara de congélação
- A-camera de congelação a baixa temperatura pode manter os alimentos frescos durante muito tempo e éutilizada principalmente para armazenar alimentos congelados e fazer gelo.
- O compartmento de congelao e adequado para o armazenamento de carne, peixe, bolinhos de arroz e outros alimentos que nao devem ser consumidos em curto prazo.
- As peças grandes de carne devem ser armazenadas divididas em pedagens mais��enos, par ser mais fácil o accesso. Observe que os alimentos devem ser consumidos dentro do prazo de validade.
As gavetas, caixas de alimento, prateleiras, etc. colocadas, de acordo com as posicaoes indicadas na imagem acima, terao a maior eficiencia em termo energetico.
Quando o produits foia testado de acordo com IEC 62552:2007, as condições de teste são as seguientes:
Remova as gavetas do meio do congelador e mova a gaveta superior para a posicao das gavetas do meio.
Note: O armazenamento de alimentos demais durante a operacao apso a conexao inicial com a energia.
pode afetar negativamente o efeito de congelamento do frigorico. Os alimentos armazenados nao devem
bloquear a saida de ar; caso contrario, o efeito de congelamento sera reduzido.
3.2 Fonções

(A imagem acima serve apenas para referencia. A configuraçao real depende do produits fisico ou da indicação do distribuidor)
1. Ecrã
① Icone Refrigerating (Refrigeração)
② Icone Freezing (Congelamento)
③ icone Super cool (Superarrefecimento)/freezing (congelamento)
④ Icone Temperature display (Exibicao de temperatura)
⑤ Icone Fruit (Fruta) / vegetable (vegetal)
⑥ Icone Meat (Carne)
⑦ Icone Drink (Bebida)
2. Botão Control (Controlo)
A. Botão Temperature up (Augimento de temperatura)
B. Botão Temperature zone selection (Seleção de zona de temperatura)
C. Botão Temperature down (Redução de temperatura)
D. Botão Super cool (Super-arrefecimento) / freezing (congelamento)
E. Botão Variable temperature (Temperatura variavel) F. Botão Lock/Unlock (Bloqueio/Desbloqueio)
3. Instruções de Operação
1) Exibicao
Quando ligar o frigorífico, o éra de exibicao sera exibido durante 3 segundos. Entretanto, a alarmé de initalização toca e depois o éra entra na exibicao normal da operacao.
À primeira vez de uso do frigorífico, a temperatura predefinida da-camera de refrigeração e da-camera do congelador é 4^ / -18^ , respectivamente.
Quando o erró ocorre, o ecra minha o��e de erro (ver a pagsina segunte); durante o funcaoamento normal, o ecra minha a temperatura definida da camara frigorifica ou camara de congelação.
Em circunstancias normais, se não houver nenhuma operação no painei de visor ou ação de abertura de porta dentro de 30s, quando o esca é bloqueado, e o estado apaga.
2) Bloqueio/desbloqueio
No estado desbloqueado, pressione durante 3 segundos o botao de bloqueio , entre no estado de bloqueio,
O logóipo apaga e o sinal sonoro toca, significa que o pail de visor está bloqueado, este momento, o acontecimiento dos botões não pode ser implementado;
No estado de bloqueio, pressione e segure o botao de bloqueio por 3 segundos, e entre no estado de
desbloqueio,
O logótno acende-se e o sinal sonoro toca, significa que o paine de visor está desbloqueado, este momento, a operação de botão pode ser implementada;
3) Configuração de temperatura da-camera de refrigeração
Pressione o botão de seleção da zona de temperatura TEMP.SELECT para escolher a zona de temperatura de definição da-camera frigorífica, e(depais pressione /ou √ para fazer a temperatura de definição da-camera frigorífica. A gama de definição de temperatura da-camera frigorífica é de 2^ - 8^ .
4) Ajuste da temperatura da-camera de congelamento
Pressione o botão de seleção da zona de temperatura TEMP SELECT para escolher a zona de temperatura de definição da-camera de congêação, edeois pressione ou paraaabstar a temperatura de definição da-camera de congelamento. A gama de ajuste de temperatura da-camera frigorífica é de-24°C -16°C.
Pressione o botao de temperatura variavel VARIO TEMP. para fazer a temperatura da camara, as opcões de ajuste são Fruta / vegetal, bebidas e carne
Descongelamento après 18 horas de operação e saída après 24 horas de operação.
Quando sai do modo de super-congelamento Super temperaturea da-camera do congelador returnar automaticamente a temperatura definida anteriorsmente.
De acordo com IEC62552: 2007, as condições de teste são as seguintes: foi iniciado o modo de supercongelamento com antecedência e espera até o frigoríficoentrar em modo de descongelamento automatico e, em seguida, foi aplicado a carganocongelador.
O tempo Tmaxo de descongelamento e de 72 horas o minimo e de 12 horas a 32^
A
Desbloqueia a frigorífico e pressione o botão "V" e o botão de bloqueio ao mesmo tempo por 4 segundos, e entra no modo de sono. Pressione qualquer tecla para sair. Neste modo, o estado do frigorífico:
a. O ecra de controlo e as luzes permanecem apagadas e sem alarme.
b. A frigorifico esfria normal.
c. Depois de cinco minuto a abertura da porta, os Estados do compressor, do motor e do ventilador não mudam.
No caso de falha de energia, o estado de trabajo instantaneo sera bloqueado e mantido ate a reelectrificação.
Os seguiñes avisos que aparecem no visor indicam as falhas correspondentes ao frigorífico. Mesmo que o frigorífico pode acreda ter a função de refrigeração com estas falhas, outilizardeve entrada em conta com um especialista para fazer a manutenção, de modo a garantir o aconteamento perfeito do aparelho.
| Códico deerro | Descrição deerro |
| E1 | Falha do sensor de temperatura dacamara de refrigeração |
| E2 | Falha do sensor de temperatura da camara do congelador |
| E3 | Falha do sensor de temperatura da camara de temperatura variavel |
| E4 | Falha do sensor dedescongelamento na camara derefrigeração |
| Código deerro | Descrição deerro |
| E5 | Erro no circuito do sensor de detectao de descongelamento |
| E6 Erro | de comunicação |
| E7 | Erro no circuito de detectao de temperatura de circulação |
| EH Erro | do sensor dehumidade |
4. Manutenção eeguardados do frigorífico
4.1 Limpeza geral
- O pó atrás do frigorífico e no chão deve ser limpo atempadamente para melhorar oefeito de arrefecimento e poupança de energia.
- Verifique regularamente a junta da porta para garantir que não Hajia detritos. Limpe a junta da porta com um pano macio humedecido com água e sabão ou detergente diluído.
- O interior do frigorífico deve ser limpo regularmente para evitar odores.
- Por favor deslige a corrente antes de limpar o interior, retire todos os alimentos, bebidas, prateleiras, gavetas, etc.
- Utilize um pano ou esponja macia para limpar o interior do frigorífico, com两大 colheres de sopa de bicarbonato de sódio e um litro de água morna. O frigorífico deve ser limpo com agua e um pano seco. Após a limpeza, abra a porta e deixe secar naturalmente antes de ligar a energia.
- Nas和地区 mais dificés de limpar (zonas estreitas, brechas ou cantos) recomenda-se uma limpeza regular com um pano suave, uma esponja, etc., e quando necessário combinar com algumas ferramentas auxiliares (como varetas finas) para garantir que não se acumule bacteriias Nessas和地区.
- Não utilize o fazer, detergente, para esfregar, detergente em spray, etc., quando estes podem causar odores no interior do frigorífico ou alimentos contaminados.
- Limpe a armação da garrafa, prateleiras e gavetas com um pano macio humedecido com água com sabão ou detergente diluído. Seque com um pano macio ou deixe fazer ao ar.
- Limpe a superficie exterior do frigorífico com um pano macio humedecido com agua com sabão, detergente, etc., e(depis limpe-o a seco.
- Não use escovas duras, bolas de aço limpas, escovas de arame, abrasivos (tais como pastas de dentes), solventes orgânicos (tais como alcool, acetona, oleo de banana, etc.),água a ferver, artigos acidos ou alcalinos, que podem danIFICAR a superficie e o interior do frigorífico. Água quente e solventes orgânicos como o benzeno, pode deteriorar ou danIFICAR as zonas em plástico.
- Não enchaque diretamente com água ou outros liquidos durante a limpeza, de forma a evacatar curtos circuito ou afetar o isolamentoétrico antes imersão.


Favor desligue o frigorifico para descongelar e limpar.
4.2 Limpeza da prateleira da porta

(A imagem acima serve apenas para referencia. A configuraçao real depende do produits fisico ou da indentacao do distribuidor)
- Segue a direção das setas àsnas na figura abaixo,use as duas mados para apertar a bandeja e empurre-a para cima para retirá-la.
- Depois de退市 e lavar a bandeja, pode-se fazer a altera de instalação de acordo com as suas necessidades.
4.3 Descongelamento
- O frigorífico é feito com base no princípio de resfriamento de ar e, portanto, possui a função de descongelamento automatico. A geada formada devido à mudança de estação ou temperatura quando para ser removida manualmente atraves de desligar o aparecido da fonte de alimentação ou limpar com uma tola seca.
4.4 Fora de service
- Falha de energia: Em caso de falha de energia, mesmo no verão, os alimentos dentro do aparecido quando ser mantados por variedes horas; durante a falha de energia,deerá reduzir o tempo de abertura das portas, e não deperveçar colocar alimentos quentes no seu interior.
- Sem uso por um longo tempo: O aparecido deve ser desligado ecede limpo; em seguida, as portas deverão ser deixadas abertas para fazer oidos.
Deslocar: Antes de mover o aparelho, retire todos os itens do seu interior e fixe as prateleiras de vidro, as gavetas de fruta e vegetais, as gavetas do compartmento de congelacao e etc. com fita adesiva; aperte os pés ajustaveis; feche as portas e fixe-as com fita adesiva. Durante a movimentacao, o aparelho não deve ser colocado de cabeca para baixo ou horizontalmente, nem sofrer vibração; a inclinação durante o movimento não deve ser superior a 45^

O aparelho deve的功能ar continuamente uma vez ligado à corrente. Geralmente, o acontecimiento do aparelho não deve ser interrompido; caso contrário, a vida éutil do mesmo poderá ser prejudicada.
5 Resolução de problemas
5.1 Podera tentar resolver os seguienes problemas simples por si mesmo.
Se não consuerir, entre em contacto com o département de pós-vinga.
| Falha no funciona | Verifique se o aparecido está ligado à energia ou se a fichte está bem ligada. Verifique se a tensão está muito baixa Verifique se há falha de corrente ou nos circuitos parciais no quadro eletrico |
| Odores | Alimentos odorificadosdeerão ser bem embrulhados Verifique se há alimentos podres Limpe o interior do aparelho |
| Funçãoamento prolongado do compressor | Ofunçãoamente prolongado do aparelho é normal no verão, quando a temperatura ambiente é elevada Não é recomendavel a colocar muitas comidas no frigorífico ao mesmo tempo.Os alimentos devem ser esfiados antes de serem colocados no frigorífico.Verifique se as portas são abertas com demasiada frequência |
| A luz não acendeu | Verifique se o frigorífico está ligado à fonte de alimentação e se a luz de illuminação está danificada.Substitua a luz por um especialista |
| As portas não fecham corretamente | Aporta está presa por embalagens de alimentosColoca-se demasiados alimentosO aparelho está inclinado |
| Ruidos elevados | Verifique se o chão está nivelado e se o aparelho está colocado de forma estávelVerifique se os acessórios está colocados nos locais apropriados |
| Ovedante da porta não está apertado | Retireiros os materiais estranhos da vendação da portaAqueça a borracha da porta e depois deixe arr focecer para reparação (ou SOPR com um secador eletrico ou usar uma tola para aquecimento) |
| A panela da água está a transbordar | Há demasiados alimentos no interior do aparelho ou osleasedomémuitoágua, resultando em descogelação elevadaAs portas não está fechadas corretamente, resultando em accumulação de gelo devido à entrada de ar e aumento da água devido à descogelação |
| Exterior quente | A dissipação de calor do condensador embutido é feita atravesda carcaça, o que é normal.Useuma ventilação adequada para fazer a dissipação de calor quando o invôlcro torna-se quente devido à alta temperatura ambiente, o armazenamento excessivo de alimentos ou o desigamento do compressor. |
| Condensação superficial | A condensação na superficie external e nas vendações das portas do aparelho é normal quando a humididade ambiente é demasiado elevada.Basta limpar o condensador com uma tola limpa. |
| Ruido anormal | Zumbido: Ocompressor pode fazer zumbidos durante oestrutura, especially no início e fim doestrutura. Istó é normal.Estados: Orefrigerante que flui dentro do aparinho pode produzir estados, o que é normal. |
Temperado: 'Este aparecido de refrigeração destiná-se a ser uso a temperatas ambientais variando entre 16^ a 32^ ;
Subtropical: 'Este aparecido de refrigeração destiná-se a ser uso a temperatas ambientais variando entre 16^ a 38^ ;
Tropical: 'Este aparecido de refrigeração destiná-se a ser uso a temperatas ambientais variando entre 16^ a 43^ ;
Especial para a norma:
As peças encomendadas naanela segunte poder ser adquiridas do canal
| Peça encomendada | Fornecido por | Tempo Minimo Requerido para a Provisão |
| termóstatos | Pessoal de manutençao profissional | Pelo menos 7 anos antes oultimate Modelo ser lançado no mercado |
| senores de temperatura | Pessoal de manutençao profissional | Pelo menos 7 anos antes oultimate Modelo ser lançado nomercado |
| placas de circuito impresso | Pessoal de manutençao profissional | Pelo menos 7 anos antes oultimate Modelo ser lançado nomercado |
| fontes luminosas | Pessoal de manutençao profissional | Pelo menos 7 anos antes oultimate Modelo ser lançado nomercado |
| maçanetas da porta | Reparadores professionais eutilizadores finalis | Pelo menos 7 anos antes oultimate Modelo ser lançado nomercado |
| dobradiças da porta | Reparadores professionais eutilizadores finalis | Pelo menos 7 anos antes oultimate Modelo ser lançado nomercado |
| Bandejas | Reparadores professionais eutilizadores finalis | Pelo menos 7 anos antes oultimate Modelo ser lançado nomercado |
| Cestas | Reparadores professionais eutilizadores finalis | Pelo menos 7 anos antes oultimate Modelo ser lançado nomercado |
| anel de vedação da porta | Reparadores professionais eutilizadores finalis | Pelo menos 10 anos antes oultimate Modelo ser lançado nomercado |
O periodo mais curto para o fornecimento de peças de reposicao pos-venda é
Caro Cliente,
- Entre em contaço com a loja onde você faz a compra se deseja devolver ou substituir o produit.
(Lembre-se de trazer anota fiscal de compra)
- Entre em contaço com o fornecedor de service pos-venda se o seu produit quebrar e precisar de reparo.
As informações do modelo na base de dados do produto, bem como o identífico do modelos, podem ser obtidas por meio de um link da web digitalizzato por um documento QR, se houver, na etiqueta de eficiência enerética do produto.
GR
Notice-Facile