MDRF632FGF46 - Refrigerador MIDEA - Manual de uso y guía de instrucciones gratis
Encuentra gratis el manual del aparato MDRF632FGF46 MIDEA en formato PDF.
Descarga las instrucciones para tu Refrigerador en formato PDF gratis! Encuentra tus instrucciones MDRF632FGF46 - MIDEA y toma tu dispositivo electrónico nuevamente en la mano. En esta página están publicados todos los documentos necesarios para el uso de su dispositivo. MDRF632FGF46 de la marca MIDEA.
MANUAL DE USUARIO MDRF632FGF46 MIDEA
1.1 Advertencia 1-2
1.2 Significado de los SYMBOLOS de advertencia de seguidad 3
1.3 Advertencias relacionadas con electricidad 3
1.4 Advertencias para uso 4
1.5 Advertencias para colocacion de los items 4-5
1.6 Advertencias para energia 5
1.7 Advertencias para disposicion 5
2 Uso adequado de refrigerador
2.1 Colocacion 6
2.2 Patas de nivelacion 7
2.3 Puerta niveladora 8
2.4 Cambio de luz 9
2.5 Inicio de uso 9
2.6 Consejos para ahorrar energia 9
3 Estructura ymericanos
3.1 Componentes clave 10
3.2Funciones 11-12
4 Mantenimiento y cuidado del refrigerador
4.1 Limpieza general 13
4.2 Limpieza de bandeja de puerta 14
4.3 Descongelacion 14
4.4 Fuera de operacion 14
5 Resolución de problemas
5.1 Resolucion de problemas 15

1 Advertencias de seguridad
1.1 Advertencia

Advertencia: riesgo de incendio / materiales inflamables
Este aparato está diseñado para usarse en aplicaciones domesticas y similares, como Areas de cocina del personal en tiendas, ofecinas y others entornos de trabajo; casas de campo y clientes en hoteles, moteles y others entornos residenciales; ambientes tipo cama y desayuno; servicios de comidas y aplicaciones similares no minoristas.
Este aparato no está diseñado para ser utilisé por personas (incluidos niños) con capacities físicas, sensoriales o mentalares reducidas, o falta de experiencia y conocimiento, a menos que hayan recibido supervisión o instrucciones sobre su uso por parte de persona responsable de su seguridad.
Se debe supervisar a los niños para asegurar de que no juguen con el aparato.
Si el cable de alimentacion está dañado, debe ser reemplazado por el fabricante, su agente de servicios o persona calificada similar, a fin de evaporar riesgos.
No almacene sustancias explosivas como latas de aerosol con un propulsor inflamable en este aparato.
El aparato debe desenchufarse despues de su uso y antes de realizar el mantenimiento del usuario en el mesmo.
Advertencia: Mantenga abierta la ventilacion, en el gabinete del aparato o en la estructura incorpora, sin obstrucciones.
Advertencia: No utilise dispositivos mecánicos u otros medios para acelerar el proceso de descogelación, que no sean losrecommendedos por el fabricante.
Advertencia: No dañe el circuito refrigerante.
Advertencia: No utilise aparatos electricos dentro de los componentes de almacenamento de alimentos del aparato, a menos que Sean del tipo recommendado por el fabricante.
Advertencia: Abandone el Refrigerador de acuerdo con las regulaciones locales, ya que utilizes gas de solpado y refrigerante inflamable.
Advertencia: Asegúrese de que el cable de alimentación no está atrapado o danado al colocar el aparato.
Advertencia: No ubique multipes tomacorrientes portáiles o fuentes de alimentacion portáiles en la parte posterior del aparato.
No utility cables de extension ni adaptadores sin connexion a tierra (dos clavijas).
Peligro: Riesgo de atrapamento de niños. Antes de tirar su viejo refrigerador o congelador:
- Quite las puertas.
- Deje los estantes en su lugar para que los niños no pueda subirse fácilmente.
El Refrigerador debe estar desconectado de la fuente de alimentacion ante de intentar la instalacion del accesorio.
E refrigerante y los materiales espumosos de ciclopentano realizados para la aplicacion son inflamables.
Por lo tanto, cuando se desea el aparato, se debe mantener alejado de qualquier fuente de fuego y ser recuperado por una compañero de recuperacion especial con la calificacion correspondiente en lugar de desecharse por combustion, con el fin de evitar daños al medio ambiente o qualquier otheraño.
Para forma EN: Este aparato pueda ser utilisé por niños de mas de 8 años y personas con你能earas ficas, sensoriales o mentales reduidas o falta de experiencia y conocimiento si se les ha dado superviación o instrucciones sobre su uso seguro y entiende los peligos involucrados. A los niños no se les permite hacer con el aparato. La limpieza y elostenimiento del usuario no deben ser llavados a cabo por niños sin supervisión. Los niños de 3 a 8 años peuvent meter objetivos en y sacarlos de los aparatos de refrigeracion.
Es necessario, para puertas o tapas con cerraduras y llaves, mantenerse las llaves fuera del alcance de los niños y ajenas del aparato de refrigeracion, con el fin de evaporar que los niños queden encerrados en el interior.
Para evaporar la contaminacion de los alimentos, respete las siguientes instrucciones:
- Abrir la puerta durante largo tiempo pueda provocar un aumento significativo de la temperatura en los departos del aparto.
- Limpie regularamente las superficies que puedaentrar en contacto con los alimentos y los sistemas de drenaje accesibles.
- Limpie los tanques de agua si no se han utilisé durante 48 h; enjuague el sistema de agua conectado a suministro de agua si no se ha extraido agua durante 5 días. (nota 1)
- Almacene la carne cruda y pescado en recipientes adecuados en el refrigerador para que no estén en contacto con otros alimentos ni goteen sobre ellos.
- Son aplicables los componentes de alimentos congelados de dos estrellas para almacenar la comida precongelada, almacenar o hacer helados, y hacer cubicos de hielo. (nota 2)
- No son aplicables para congelar los alimentos frescos los componentiros de una-, dos - y tres estrellas. (nota 3)
- Para aparatos sin compartmento de 4 estrellas: este aparato de refrigeracion no es apto para congelar alimentos. (nota 4)
- Si el aparato de refrigeracion sedea vacio durante largos periodos, apague, descongele, limpie, seque y deje la puerta abierta para evitar que se forme moho bajo del aparato.
Notas 1, 2, 3,4: Por favor confirma si es aplicable según el tipo de compartmentimiento de su producto.
Para un aparato independiente: este aparato de refrigeracion no es disnado para utiliser como aparato empotrado.
Cualquier reemplazo o mantenimiento de las lámparas LED deben ser realizado por el fabricante,
su agente de service o persona calificada similar.
El presente produits contiene una fuente de luz de classe de energia energetica (G).
1.2 Significado de los SYMBOLOS de advertencia de seguridad

El presentemanual contiene mucha informacion importante de seguidad que los usuario deben observar.
1.3 Advertencias relacionadas con electricidad

- No tire del cable de alimentacion cuando desconecte el enchufe de alimentacion del refrigerador. Sujete firmamente el enchufe y extragaldo directamente del tomacorriente.
- No Dane el cable de alimentacion ni lo use cuando este danado o desgastado, con el fin de garantizar la calidad en uso.

- Utilice el tomacorriente dedicado en lugar de partirlo con others aparatos electricos.
El enchufe debe estar en contacto con el tomacorriente,de lo contrario,edia producir fuegos.
- Asegürese de que el electrodo de tierra del tomacorriente está equipado con una linea de tierra confiable.

- Cierre la valvula de escape de gas y bajo abra las puertas y ventanas en caso de fuga de gas y otros gases inflamables. No desenchufe el refrigerador y algunos aparatos electricos, ya que la chispa pueda provocar un incendio.

- No se permite utiliser los aparatos electricos sobre la parte superior del aparato, excepto los del tipo recommendado por el fabricante.
1.4 Advertencias para uso

- No desmonte ni reconstruya arbitrariamente el refrigerador, ni dañe el circuito refrigerante; el mantenimiento del aparato debe ser realizado por un especialista.
- El cable de alimentacion danado debe ser reemplazado por el fabricante, su département de mantenimiento o profesionales relacionados para evacitar delicos.

- Debido a que los espacios entre las puertas del refrigerador y entre las puertas y el cuerpo del refrigerador son≦queques,onga en cuenta que no debeponer la mano en estas areas para evitar apretar el dedo. Por favor,onga cuidado al cerrar la puerta del refrigerador para evaporar la caida de objetos.
- No recoja alimentos o recipientes con las manos mojadas en la camara de congestacion cuando el refrigerador este funciona, especially recipientes de metal, para evaporar la congestacion.

- No permitted que ningún Niño entre o suba al refrigerador; de lo contrario, se pueda causar asfixia o caía del Niño.

- No coloque objetivos pesados sobre la parte superior del refrigerador, ya que los objetivos peuvent caerse al cerrar o estar la puerta, e inclujo se pueda produir lesiones accidentales.
- Retire el enchufe en caso de fallo de alimentacion o limpieza. No conecte el congelador a la fuente de alimentacion bajo los cinco Minutes para evaporar daños al compresorupon aarranques suscesivos.
1.5 Advertencias para colocacion de los items

- No coloque articulos inflamables, explosivos, volátiés y altoamente corrosivos en el refrigerador para evacitar daños al producto o accidentes de incendio.
- No coloque articulos inflamables cerca del refrigerador para evaporar incendios.

- El Refrigerador está destinado para uso domestico, como almacenimiento de alimentos; no se lo utilizes paraOthers fines, como el almacenamento de sangre, medicamentos o productos biologicos, etc.

- No almacene cerveza, bebidas u other liquido contento in botellas o recipientes cerrados en la camera de congelacion del refrigerador; de lo contrario, las botellas o los recipientes cerrados peuvent romperse bajo al congelamento, causando asi daños.
1.6 Advertencias para energia
1) Es possible que los aparatos de refrigeracion no funciona en forma constante (fosibilidad de descogellar el contenido o que la temperatura se caliente demasiado en el compartmentimiento de alimentos congelados) cuando se coloca durante un periodo prolongado por debajo del extremo frio del rango de temperatas para el que está diseñado el aparato de refrigeración.
2) Es el着他 de que las bebidas efervescentes no deben almacenarse en compartmentiros o gabinetes de congelacion de alimentos o en compartmentiros o gabinetes de bajo temperatura, y que algunos productos como los hielos de agua no deben consumirse demasiado frios;
3) Esnecessaryo exceder el (los) tiempo(s) de almacenamento recomendado(s) por los fabricantes de alimentos para qualquer tipo de alimentos y particularmente para alimentos congelados commercialemente en congeladores y componentes o gabinetes de almacenamento de alimentos congelados;
4) Se debe prestar necessities a tenacion a evacrar un aumento indebido de la temperatura de los alimentos. congelados,minteras se descongela el aparato de refrigeracion, como envolver los alimentos congelados en varias capas de periodico.
5) Es el着他 de que un aumento de la temperatura de los alimentos congelados durante la descogelacion manual, el mantenimiento o la limpieza podra acortar la vida util del almacenamento.
1.7 Advertencias para disposicion
El refrigerante y los materiales espumosos de ciclopentano realizados para el Refrigerador son inflamables. Por lo tanto, cuando se desecha el refrigerador, se debe mantener alejado deequalquier fuente de fuego y ser recuperado por una compania de recuperacion especial con la calificacion correspondiente en lugar de desecharse por combustion, con el fin de evaporar daños al medio ambiente oequalquier otherdo.

Cuando se describes a refrigerador, desmonte las puertas y retire la junta de la puerta y los estantes;coloque las puertas y los estantes en un lugar adecuado,para evaporar la captura deequalquiernio.

Disposition correcta de este producto:
Estamarcaindicaqueeste producto nodebe desearcheconotrosdesechosdomesticos entodalaUE.Conelfin deevitarposiblesdañosalmedioambienteolaladushumanapor ladispositionincontrolada deresiduos,recceloe demaneraresponsibleparapromoverlarreutilizacionsostenibledelosrecursosmaterialles.Paradevolverusdispositivousoado,utilice los systemas de recuperacion ycoleccion ocomuniquese conelminoristaondecompredorel producto.Puedontomaresteproducto parareciclajeambientamente seguro.
2 Uso adequado de refrigerador
2.1 Colocacion

- Antes del uso, quite todos los materiales de embalaje, incluyendo cojines del fondo, almohadillas de espuma yCNTas bajo del refrigerador; Retire lapellicula protectora en las puertas y el cuerpo del refrigerador.

- Mantenga alejado del calor y evite la luz solar directa. No coloque el congelador en lugares humedes o acuosos para evaporar la oxidacion o la reduccion del efecto aislante.

- El Refrigerador se coloca en un lugar interior bien ventilado; el sueño debe ser plano y resistente (gire hacía la izquierda o hacía la derecha paraaabstar la rueda hasta que se nivele si es inestable).

- El espacio superior del refrigerador debe ser mayor de 30cm , y el refrigerador debe colocarse contra pared con una distancia libre de mas de 10cm para poder la disipacion de calor.
Precauciones antes de instalacion:
Antes de instalar o ajustar los accesos, deben asegurar de que el refrigerador este desconectado de la fuente de alimentacion.
Se debe tomar medidas preventivas para evitar que se provoque lesiones personales por la caida de manija.
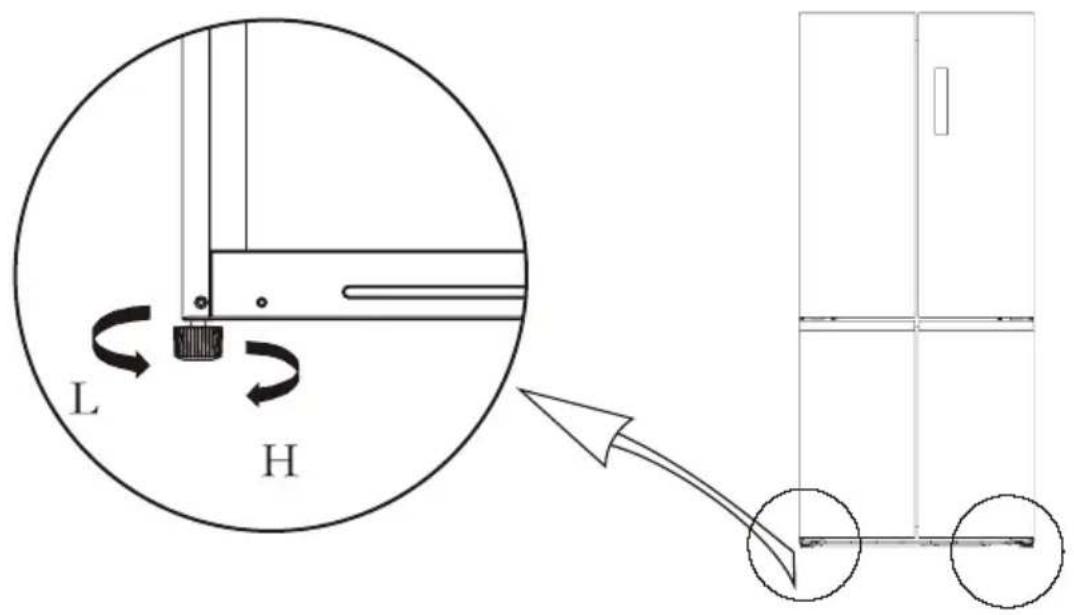
2.2 Patas de nivelación
- Diagrama esquematico de las patas de nivelación

(La figura anterior sirve solo para referencia. La configuracion real dependera del producto fisico o la declaracion del distribuidor)
- Procedimientos de ajuste:
a. Gire las patas en sentido horario para levantar el refrigerador;
b. Gire las patas en sentido antihorario para bajo el refrigerador;
c. Ajuste las patas derecha e izquierda segun los procedimientos anteriores a un nivel horizontal.
2.3 Puerta niveladora
- Diagrama esquematico de nivelación de la puerta
| Lista de herramrientas suministradas por el usuario. | |
| Alicate | |

(La figura anterior sirve solo para referencia. La configuracion real dependerá del producto fisico o la declaración del distribuidor)
1) Elev la puerta inferior hasta el nivel de la puerta superior.
2) Inserte el anillo de sujeción provisto con un alicate en el espacio entre el ojal de bisagra y la bisagra inferior. El número de anillos de sujeción que deben ser insertados depende del espacio.
2.4 Cambio de luz
Cualquier reemplazo o mantenimiento de las lámparas LED de ser realizado por el fabricante, su agente de service o persona calificada similar.
2.5 Inicio de uso

- Antes del encendido inicial, mantenga el Refrigerador quieto durante dos horas antes de conectarlo a la fuente de alimentacion.
- Antes de meter alimentos frescos o congelados en el refrigerador, elultimateDebe haber configurado durante 2-3 horas, o durante mas de 4 horas en verano.
cuando la temperatura ambiente es alta.

- Reserve suficiente espacio para la aperture conveniente de las puertas y cajones o declaracion del distribuidor.
2.6 Consejos para ahorrar energia
- El aparato debe ubicarse en el area mas fresca de la habitacion, lejos de aparatos que produzcan calor o conductos de calefacion, y fuera de la luz solar directa.
- Deje que los alimentos calientes se enfrén a temperatura ambiente antes de colocarlos en el aparato. La sobrecarga del aparato obliga al compresor a functionar por más tiempo. Los alimentos que se congelan muy lentamente peuvent perdir calidad o podrirse.
- Asegürese de envolverlos alimentos adecadamente yooter los recipientes antes de colocarlos en el aparato. Esto reduce la acumulacion de eschara bajo del aparato.
- El compartmento de almacenamento del aparato no debe estar forrado con papel de aluminio, papel encerado o toallas de papel. Los revestimientos interferieren con la circulacion de aire frío, lo que hace que el aparato sea menos eficiente.
- Organice y etique los alimentos para reduir las aberturas de las puertas y las busingadas prolongadas. Retire tantos objetos como seanecessary a la vez y cierra la puerta lo antes possible.
3 Estructura y unidades
3.1 Componentes clave
(La figura anterior sirve solo para referencia. La configuracion real dependera del producto fisico o la declaracion del distribuidor)
Cármara frigorifica
- La CAMERA frigorifica esADEUADA para almacenar una variedad de frutas, verduras,bebidas y other alimentos que se consumen a corto plazo, tiempo de almacenamento sugerido de 3 a 5 días.
- Los alimentos para cocinar no deben colocarse en la CAMERA frigorifica hasta que se enfrén a temperatura ambiente.
- Se recomienda sellar los alimentos antes de ponerlos en el refrigerador.
- Los estantes de vidrio se pueda ajustar hacer arriba o hacer abajo para unacantidadreasonable de espacio dealmacenimiento y fácil uso.
Cama de congelacion
- La CAMERA de congélación a baja temperatura puede mantener los-alimentos frescos durante mucho tiempo y se usa principalmente para almacenar alimentos congelados y hacer hielo.
- La CAMERA de congélación esADECUADA para elalmacenamento de carne, pescado, bolas de arroz y other alimentos que no se consuman a corto plazo.
- Los trozos de carne se deben dividir preferiblemente en trozos≦queiros para poder el acceso. Tenga en cuestion que los alimentos se consumirán bajo el tiempo de almacenamento.
Los cajones, cajas de comida, estantes, etc. colocados segun la posicjion en la figura de arriba son los mas efectivos energetically.
Cuando el producto se prueba segun la norma IEC 62552: 2007, las condidiones de prueba son lassiguientes: Retire los cajones del medio del compartmento del congelador y可以更好 los cajonessuperiores a la posicion de cajones medios.
Note: El efecto de congelacion del refrigerador se vera afectado negativamente por el excesso de almacenamento de alimentos durante el functiOnamento despues de la conexion inicia a la fuente de alimentacion. Los alimentos almacenados no deben bloquear la calidad de aire; de lo contrario, el efecto de congelacion también se vera afectado negativamente.
3.2 Funciones

(La figura anterior sirve solo para referencia. La configuracion real dependera del producto fisico o la declaracion del distribuidor)
1. Pantalla
① Icono de refrigeración
② Icono de congregación
③ Icono de super refrigeración / congelación
④ Área de visualización de temperatura
⑤ Icono de fruta / verdura
⑥ Icono de carne
⑦ Icono de bebida
2. Botones de control
A. Botón para augmentar la temperatura B. Botón para selecciónar zona de temperatura
C. Botón para disminuir la temperatura D. Botón de super refrigeración / congelación
E. Botón de temperatura variable F. Botón de bloqueo / desbloqueo
3. Instruetiones de operacion
1) Visualizacion:
Al encender el Refrigerador, la pantalla se做不到 por 3 segundos. Mientras tanto, la campana de inicioso sonar y bajo la pantalla ingresa a la visualizacion normal de la operation.
La prima vez que se utilizes el refrigerador, la temperature predeterminada establecida de la CAMERA frigorifica y la CAMERA de congelacion es de 4^ / -18^ respectively.
Cuando se produce error, la pantalla de visualizacion muestra el numero de error (vease la pagea seguiente); Durante el functionamento normal, la pantalla de visualizacion muestra la temperatura establecida de la camara frigorifica y la camara de congelacion.
En circunstancias normales, si no se realiza ninguna operation en el panel de planta occion de aperture de puerta bajo de 30 segundos, y bajo, la planta sera bloqueada, y se apagará.
2) Bloqueo / desbloqueo
En el estado desbloqueado, mantenga presionado el boton durante 3 segundos para entrada en el estado desbloqueado;
El logotipo se apaga y se apaga y suena un zumbador, significa que el panel de visualizacion está bloqueado, en este momento, no se pueda implementar el funcionaimiento del boton;
En el estado bloqueado, mantenga presionado el boton debloqueo. duringe 3 segundos para entrada en el estado desbloqueado;
El logotipo se ilumina y emite el tono de zumbador, significa que el panel de visualizacion esta
desbloqueado, en este momento, se pueda implementar el funcionaimiento del botón;
3) Ajuste de temperatura de laamera frigorifica
Pulse el botón TEMP SELECT para selecciónar zona de temperatura a elegir la zona de temperatura de ajuste de la lármá frigorífica, y luego, pulse para ajustar la temperatura de la lármá frigorífica. El rango de ajuste de temperatura de la lármá frigorífica es de 2^ a 8^ .
4) Ajuste de temperatura de la CAMERA de congelación
Pulse el botón TEMP.SEEcT para seleccionar zona de temperatura a elegir la zona de temperatura de ajuste de la CAMERA de congelacion, y bajo, pulse para ajustar la temperatura de la-camera frigorifica. El rango de ajuste de temperatura de laamera frigorifica es de-24 ^ C a-16 ^ C
5) Ajuste de temperatura de la CAMERA de temperatura variable
Pulse el boton de temperatura variable VARIO TEMP. para ajustar la temperatura de ajuste de laamera, el rango de ajuste es fruta / verdura, bebida y carne.
6) Configuración de modo
Cuando está configurado el modo super refrigeración super temperatura de la CAMERA frigorífica se fijará automatistically en 2^ ;
Super refrigeración se sale por 6h.
Al calor del mode super refrigeracion SUPER, la temperatura de la casa frigorifica volvera de forma automatica a la temperature establecida antes del mode super refrigeracion.
Cuando está configurado el modo super congélacion SUPER FRZ, la temperatura de la CAMERA frigorifica se fijará automatistically en -24 °C;
Al salir del modo super congelacion super la temperatura de la casa de congelacion volvera
automátamente a la temperatura establecida antes del modo de super congelación.
En conformidad con IEC62552: 2007, la condidion de prueba muestra a continuacion: activar el modo super congelacion con antelacion, y esperar hasta cuando el refrigeradorenta en descongelacion automatica, y bajo aplicar la carga del congelador.
El tiempo máximo de descogelación es de 72 horas y el minimo es de 12 horas en 32^
Ajuste recomendado: cárra frigorifica 4^ , cárra de congelacion -18^ .
7) Modo Sabáttico
Desbloquee el Refrigerador y bajo pulse "V" y el boton de bloqueo al mismo tiempo durante 4 seguidos, entrando en el modo Sabáctico. Pulseichever tecla para salir. En este modo el estado del refrigerador:
a. El tablero de control de la pantalla y las luces permanecen apagadas y no hay alarma.
b. El refrigerador se enfiía normalmente.
c. Dento de los cinco Minutes posteriores a partir la puerta, el estado del motor del ventilador y del compresor no cambia.
8) Almacenimiento ante falla de alimentacion
En caso de falla de alimentacion, el estado de functiacion instantaneo sera bloqueado y降至 como la re-electrificacion.
9) Indicación de fallo
Las siguientes advertencias que aparecen en la pantalla de visualización indicanfallos correspondientes del refrigerador. Aparte el refrigerador aun Counseling con la function de almacenamento en frio con los seguides mallos, el usuario debe contactar a un especialista de mantenimiento para su mantenimiento, a fin de garantizar un funciona optimado del aparato.
| Código de error | Descripción de error |
| E1 | Fallo del sensor de temperatura de laámara frigorífica |
| E2 | Fallo del sensor de temperatura de laámara de congelación |
| E3 | Fallo del sensor de temperatura de laámara de temperatura variable |
| E4 | Fallo del sensor de descongelación en laámara frigorífica |
| Código de error | Descripción de error |
| E5 | Error de circuito de detectión del sensor de descogelamento de congelación |
| E6 Error | de communicatorón |
| E7 | Error del circuito de detectión de temperatura de circulación |
| EH Error | del sensor de humedad |
4. Mantenimiento y cuidado del refrigerador
4.1 Limpieza general
- Los polvos detrás del Refrigerador y en el sueño deben limpiarse a tiempo para melhorar el efecto de enfiambre y el ahorro de energia.
- Revise la junta de puerta regularmente para asegurar de que no haya residuos. Limpie la junta de puerta con un paño suave humedecido con agua jabonosa o detergente diluido.
- El interior del refrigerador debe limpiarse regularmente para evaporar el orlor.
- Aquare la fuente de alimentacion, retire todos los alimentos, bebidas, estantes, cajones, etc. antes de limpar el interior.
- Use un paño suave o una esponja para limiar el interior del refrigerador, con dos cucaradas de bicarbonato de sodio y un litro de agua tibia. Luego enjuague con agua y limpie. Después de la limpieza, abra la puerta ycede que seSEA naturalmente antes de encender la fuente de alimentacion.
- Para和地区 que son dificiles de limpar en el refrigerador (como espacios estrechos, huecos o esquinas), se recomienda limparlas regularmente con un trapo suave, un cepillo suave, etc. y, cuando sea necessario, utilise con algunos herramrientas auxiliares (como palos delgados) para garantizar que no se acumulen contaminantes ni bacterias en dichas areas.
- No use Jabón, detergente, detergente en polvo, limpiador en aerosol, etc., ya que pueda causar olores en el interior del refrigerador o alimentos contaminados.
- Limpie el marco de la botella, los estantes y los cajones con un paño suave humedecido con agua jabonosa o detergente diluido. Séquelo con un paño suave o de forma natural.
- Limpie la superficie exterior del refrigerador con un paño suave humedecido con agua jabonosa, detergente, etc., y bajo la seque.
- No use cepillosuros, bolas de acero de limpieza, cepillos de alambre, abrasivos (como pastas dentales), solventes orgánicos (como alcohol, acetona, aceite de platano, etc.), agua hiriendo, elementos acidos o alcalinos, que pueda darar la superficie e interior del refrigerador. El agua hiriendo y los disolventes orgánicos como el benceno puedaforming o darar las piezas de plástico.
- No enjuague directamente con agua u或者其他 liquidos durante la limpieza para evaporar cortocircuitos o afectar el aislamento electrico afterwards de la inmersión.


Desenchufe el refrigerador para descongelar y limpiar.
4.2 Limpieza de bandeja de puerta

(La figura anterior sirve solo para referencia. La configuracion real dependera del producto fisico o la declaracion del distribuidor)
- Exprima la bandeja con dos manos y la empuje hacía arriba para sacarla bajo, de acuerdo con la direccion de flecha en la figura a continuación.
- Después de haber retirado la bandeja lavada, se pueda ajustar su.altura de instalación segúnsea necessario.
4.3 Descongelación
- El Refrigerador está hecho según el principio de enfiambre por aire y, por lo tanto, Tiene una función de descogelación automática. Las escalas formadas debido al cambio de estación o temperatura también se pueda eliminar manualmente desconectando el aparato de la fuente de alimentación o limpiándolo con una toalla seca.
4.4 Fuera de operacion
- Fallo de fuente de alimentacion: En caso de fallo de la fuente de alimentacion, incluo en verano, los alimentos bajo el aparato se pueda guardar durante varias horas; durante el corte de alimentacion, se reduciran los tiempos de aperture de la puerta y no se colocar an mas alimentos frescos en el itselfmo.
- Sin usar por长大o tiempo: El aparato debe desenchufarse y bajo limpiarse; antes las puertas se dejan abiertas para evaporar el calor.
- Movimiento: Antes de mover el refrigerador, retire todos los objetivos interiores, fije las partidas de vidrio, el porta-verduras, los cajones de la CAMERA de congelación, etc. con cinta adhesiva, y apriete las patas de nivelación; ciderre las puertas y fijelas con cinta adhesiva. Durante el movimiento, el aparato no debe colocarse Boca abajo u horizontalmente, ni vibrarse; la inclinación durante el movimiento no sera superior a 45^ .

El aparato debe funciona continuamente una vez encendido. En general, el funciona del aparato no debe interruparse; de lo contrario, la vida uyil se va afectada.
5 Resolución de problemas
5.1 Puede intentar resolver los siguientes problemas simples por si mesmo.
En caso de no poder resolverlos, por favor ponga en contacto con el Departamento de Postventa.
| Operación fallida | Compruebe si el aparato está connectado a la fuente de alimentación o si el enchufe está en contacto correcto Compruebe si el voltaje es demasiado bajo Compruebe si hay fallo en la fuente de alimentación o si se han disparado los circuitos parciales. |
| Olor | Los alimentos con olor deben estar bien envueltos Compruebe si hay alimentos PODidos Limpie el interior del refrigerador |
| Funcimiento prolongado del compresor | El funciona prolongado del refrigerador es normal en verano cuando la temperature ambiente es alta No se sugieremanterdemasiados alimentos en el aparato al mesmo tiempo Los alimentos deben enfMRIarse antes de ser puestos en el aparato. Las puertas se abren condemasiada Frequencia |
| La luz no se enciende | Compruebe si el refrigerador está connectado a la fuente de alimentación y si la luz de iluminación está dañada Reemplace la luz por un especialista |
| Las puertas no se PUden cerrar correctamente | La puerta está atascada por los paquetes de alimentos. Se han colocado demasiado comida. El refrigerador está inclinado |
| Ruido fuerte | Verifique si el piso está nivelado y si el refrigerador está colocado de manera estable Compruebe si los accesos están colocados enubicaciones adecuadas |
| Se pierde la eficiencia de sellado de la puerta. | Elimine materiales extrañas en el sello de la puerta Caliente el sellado de puerta y luigo enfríelo para restaurar (o sopleto con un secador electrico o use una toalla caliente para calentar) |
| La bandeja de agua se desborda | Hay demasiado comida en la cármora o se contiene demasiada agua en las comida alimentadas, lo que Causea la descogelación intensa. Las puertas no está cerradas correctamente, lo que provoca la formación de eschara debido a la entrada de aire y elurrento de agua debido a la descogelación. |
| Carcasa caliente | Se realiza la disipación de calor del condensador por la carcasa, que es normal. Cuando la carcasa se convierte en caliente debido a la alta temperatura ambiente, demasiada comida alimentada, o el comprasar apagado, se ofreceventilación sólica para facilitar la disipación de calor. |
| Condensación superficial | La condensation en la superficie exterior y los sellos de las puertas del refrigerador es normal cuando la humedad ambiental es demasiado alta. Simplemente limpie el condensado con una toalla limpia. |
| Ruido anormal | Zumbido: El compresor pueda producir zumbidos durante el trabajoatorio, y los zumbidos son fuertes, especially al arrancar oRAR. Esto es normal. Crujido: El refrigerante que fluye dentro del aparato pueda producir un crujido que es normal. |
Tabla 1 Clases climáticas
| Clase Simbolo | Rango de temperatura ambiente °C | |
| Templado extendido SN | + 10 a + 32 | |
| Templado N + 16 a + 32 | ||
| Subtropical ST + 16 a + | 38 | |
| Tropical T + 16 a + 43 |
Templado extendido: 'este aparato de refrigeracion está destinado a utiliserse en un rango de temperatura ambiental de 10^ a 32^
Templado: 'este aparato de refrigeracion está destinado a utiliserse en un rango de temperatura ambiental de 16^ a 32^ ;
Subtropical: 'este aparato de refrigeracion está destinado a utiliser se en un rango de temperatura ambiental de 16^ a 38^
Tropical: 'este aparato de refrigeracion está destinado a utiliserse en un rango de temperatura ambiental de 16^ a 43^
Especial para forma:
Las piezas deorden en la?siguiente tabla peuvent ser adquiridas por canal
| Pieza Pedida Suministrada por | Tiempo minimorequireido para provision | |
| Termostatos Personal de mantenimiento profesional | Al menos 7 años después de que elultimate modelo esté lanzano en el mercado | |
| Sensores de Personal deostenimiento profesional | Al menos 7 años"Afteres de que elultimate modelos esté lanzano en el mercado | |
| Tablero de circuito Personal deostenimiento profesional | Al menos 7 años"Afteres de que elultimate modelos esté lanzano en el mercado | |
| Fuentes de luz Personal deostenimiento profesional | Al menos 7 años"Afteres de que elultimate modelos esté lanzano en el mercado | |
| Manijas de puerta Reparadores profesionales y Al menos 7 años"Afteres de que elultimate modelos esté lanzano en elmercado | ||
| Bisagras de Renables de puerta | Reparadores profesionales y Al menos 7 años"Afteres de que elultimate modelos esté lanzano en elmercado | |
| Bandejas | Reparadores profesionales y Al menos 7 años"Afteres de que elultimate modelos esté lanzano en elmercado | |
| Cestas | Reparadores profesionales y Al menos 7 años"Afteres de que elultimate modelos esté lanzano en elmercado | |
| Juntas de puerta | Reparadores profesionales y Al menos 10 años"Afteres de que elultimate modelos esté lanzano en elmercado | |
El periodo más corto para proportionsar repuestos de posventa es.
Estimado cliente
- Si desea devolver o reemplazar el producto, comuniquese con la tiendaonde compra.
(Recuerde traer la factura de compra)
- Si su producto se descompone y necessities reparacion, comuniquese con el proveedor de servicios postventa.
La información del modelo en la base de datos del producto, como como el identificador del modelo, pueda Obtenerse por un enlace web escaneado con un número QR, en su caso, en la etiqueta de eficiencia energetica del producto.
CONTEUDOS
1 Avisos de seguranca
1.6 Avisos relacionados à energia
Avisos de energia
2.2 Pés de nivelamento
5) Ajuste de temperatura da-camera de temperatura variavel
6) Modo setting (ajuste)
Quando o modo de super-arrefecimento SUERSE Selectionado, a temperatura da-camera de refrigeracao sera automaticamente definida para 2^
O modo de super-arrefecimento desliga après de 6h.
Quando sai do modo de super-arratifico a temperatura da camara de refrigeracao returnar automaticamente a temperatura definida anteriormente.
Quando o modo de super-congelamento sucesionado, a temperatura da camara do congelador sera automaticamente definida para -24^
7) Modo Sabbath (Sono)
8) Armazenamento no caso de falta de energia.
9) Indicacao de falha
Tabela 1 Classes climáticas
| Classe Simbolo | Faixa de temperatura ambiente °C | |
| Temperado estendido | SN + 10 - + 32 | |
| Temperado N + 16 - + 32 | ||
| Subtropical ST + 16 - + 38 | ||
| Tropical T + 16 - + 43 |
Temperado estendido: 'Este aparecido de refrigeracao destina-se a ser uso a temperatas ambientais variando entre 10^ a 32^
ManualFacil