GDSP 5470 DXSCH - Okap kuchenny GRUNDIG - Bezpłatna instrukcja obsługi
Znajdź bezpłatnie instrukcję urządzenia GDSP 5470 DXSCH GRUNDIG w formacie PDF.
Pobierz instrukcję dla swojego Okap kuchenny w formacie PDF za darmo! Znajdź swoją instrukcję GDSP 5470 DXSCH - GRUNDIG i weź swoje urządzenie elektroniczne z powrotem w ręce. Na tej stronie opublikowane są wszystkie dokumenty niezbędne do korzystania z urządzenia. GDSP 5470 DXSCH marki GRUNDIG.
INSTRUKCJA OBSŁUGI GDSP 5470 DXSCH GRUNDIG
Prosę najpierw przyeczytcę instrukcje obstugi!
Szanowny Kliencie,
dziekujemy za wybranie urzadzenia marki Grundig. Mamy nadzieje, ze zakupione urzadzenia, wyprodukowane z zapewnieniem wysokiej jakosci przy uzyciu najowszych technologii, okazę sie w pełni zadowalajęce. W tym celu przy uzyciem urzadzenia sąȩzy uwaźnie przyczytać czą instrukcję obstogi oraz dołączone dokumenty i zachować je do wgladu na przyszȩść. Przekazuć urzadzenia innemu uzytkowników, sąȩzy dołączyć równych niniejsza instrukcję. Naleź postępowć zgodnia z instrukcjami, zwracȩć uwage na wszystkie informacja i ostrzeżenia zamieszczone w niniejszym dokumencie.
Nalezy pamiętac, ze niniejsza instrukcja są odnosić sątam do innych modeli. Róznice pomiedźny modelami są wyraźnie opisane w instrukcji.
Znaczenie symboli
W rożnych czȩciach niniejszej instrukcji obstogi stosowane są nastepujuce symbole:

Wañne informacja przydatne wskazowej dotyczę uzytkowania.

OSTRZEZENIE: Ostrzeżenia przyd niebeźpiecznych sytuacctami zagrajȩcymi zyciu i mieniu.

Niebezpieczestewo pozaru.

Ostrzeżenie przyd porazeniem pradem.

PAPIER Z RECYKLINGU
IN NADAJACY SIE
DO PONOWNEG
PRZETWORZENIA
Urzadzenie zostalo wyprodukowane w przyjaznych srodowisku, nowoczesnych zakładach bez negatywnego wptywu na przyrode.
1 Wągne instrukcje dotyczȩce bezpieczność wymi ochryny sądowiska
1.1 Ogólne zasady dotyczé bezpiecznychstwa
Wañne zasady dotycznébezpieczénstwa Przeczytaj je uwañnie i zachowaj na przysztość Rozdziąten zawiera instrukcje zachowania bezpieczénstwa, ktore pomogachronicsię przydralny pożaru, porañenia pradem elektrycznym, wycieku mikrofal, obrażeniami ciełab szkodami w mieniu. Nieprzestrzeganie tych instrukcjispowoduje uniewañnienie gwarancji.
- Produktory firmy Grundig speñniaja wszystkie wymogi stosownych norm bezpieczność. W przypadku jakiegojowiek uszkodzenia urzadzenia lub przewodu zasilajęcgo, aby uniknac wselkich zagrożne, naleź odoć je do naprawy lub wymiany przyszprzemawcie, punkt serwisowy lub SPECIALISTE albo autoryzowany serwis. Będna lub niedachowa naprawaMZebyc niebezmieczna i powodowej zagrożenie dla uzytkowników.
To urzadzenie jest przyznaczone do uzytku domowej i podobnych zastosowan, na przykad:
- na zapleczu kuchennym przy bez personel sklepów, biur i innych.),
- w gospodarstwach rolnych;
- do uzytku przy bez klienów hosteli i innych obiektów noclegowych;
- w pensjonatach.
Urzejdenie nalezy stosować tylko zgodnie z seinen przyznaczenia, w sposob opisany w niniejszej instrukcj. - Producent nie ponosi odpowiedzialnosci za szkody powstate wwyniku nieprawidowej instalacij lub niewlasciwego stosowania produktu.
1 Wągne instrukcje dotyczȩce bezpieczność wymi ochrony sądowiska
- Urzadzenia są boć obstugiwane przyść w wieku 8 lat i starsze, osoby o agraniczo-nych moziwośćciach fizycznych, postrzegania lub umysłowych, a także osoby bez dozwiedczenia lub wiedzy w zakresie obstugi urzadzenia, o ile;będą one pod nadzorem lub zostano szczygo-towo poinstruowane o bezpieczynm korzystaniu z urzadzenia i zrozumieje potencjalne zagrożenia.
- Nie naleź y pozwalac przyciom bawic sie urzadzeniem. Dzieci nie moga czyscić ani konserwowań urzadzenia bez nadzoru.
- Minimalna odleglość pomietź powierzchniami podpor garnków znejdujćymi są szczycie kuchenki a najnizsza czȩcie produktu musi wynosić co najmiej 65 cm.
-
Jeźeli w instrukcj installaci gazowej płyty kuchennej podano odlegość wieksza, sąwczas naleź zastosownik wskazana wartosc.
-
Zasilanie z domowej sieci elektrycznej musi byc zgodne z informacjami podanymi na tabliczce znamionowej urzadzenia.
- Urzadzenia nie wolno nigdy uzywac, jesti przywod zasilajczy lub samo urzadzenie są uszkodzone.
- Aby zapobiec uszkodzeniu przywodu zasilajść, nie wolno dopuścić do seinen sciskania, zginania lub ocierania o ostre krawędzie. Trzymaj przywód zasilajść z dala od gorących powierzchni i otwartego ognia.
- Urzadzenia möglich uzywac tylkowtedy, gdy jest podlaczone dogniazda sciennego z uziemieniem.
OSTRZEJEZENIE: Podlacz urzadzenia do zasilania dopiero po calkowitym zakończeni u montazu.
-
Urzadzenia ustaw tak, aby zawsze byl przywiwy dostep do wtyczki.
-
Nie naleź y dotykać lamp, jestli były wączone przyez dlugi czas. Grozi to poparzeniem dloni go-racz zarówka.
1 Wąne instrukcje dotyczace bezpiecznych w i ochrynyŚrodkowska
- Naleźystosować są do wymagań dotycznych odpradowania powietrza wywiewanego (to ostrzeżenie nie dotyczny sytuacje korzystania z okapu bez przywodu spalinówego).
- Okap naleźny uruchamiaux poustawieniu garnka, patelni itp. naptycie grzewczyj. W przyciwnym wypadku wysoka temperaturaMZe doprowadzic do znieksztacenia nowtorych czesci produktu.
- Okap naleź wyłączać przyzdjeciem garnka, patelni itp. z pły grzewczyj.
- Nie pozostawiac rozgrzanego oleju na pplycie grzewczyj. Garnki z goracym olejem moga sie za-palic samoczynnie.
- Naleź uwazać na zaśony i inné elementy osławianie są okna, po⁻niewȩ olej要去 zapalić są samoczynsie podczas smañenia np. frytek.
-
Filtr tłuszczu naleź wymienić co najmiej raz w miesiću. Filtr węgłowy naleź wymienić co najmiej raz na 3 miesić.
-
Produkt naleźcy czyscić zgodnia z instrukcja obstugi. Czyszczenie w sposob niedzgodny z instrukcja obstugi są pojadzić do ryzyka pożaru.
Zabrania sie stosowania materiałów filtracyjnych nieodpornych na ogien zamiast wąsciwych filtrów.
- Naleź stosowej wyłącznie oryginalne lub zalecane przyez produkta czȩci zamienne.
- Nie uruchamiaux produktu bez zamontowanego filtrra aniNie wyjmownik z pracujucego okapu.
W razie pojawenia sie płomieni odączyć produkt oraz urzadzenia kuchenne od zasilania.
W razie pojawenia sie plomeni przykryc plomeni i w zadnym wyepadku nie gasic go woda. - Przed kaźdym czyszczemium urzadzenia i gdy nie jest ono uzywane naleź wyłąc wtyczke z gniażdka sciennego.
1 Wągne instrukcje dotyczȩce bezpieczność wymi ochryny sądowiska
- Podcijsnienie w otoczeniu nieme sązekraczać 4 Pa (4 × 10 barów) przy rownoczesnym dzialaniu okapu nad elektrycznych zętą grzewczy i urzadzen AGD zasilanych elektrycznie prȩdom o innych parametrach.
- Jesli w pomieszczeniu, w ktorym działa okap, są wykorzystwyne urzadzenia zasilane olejem opałowym lub gazem, jak np.ogrzewacze pomieszczen, to wylot spalin z takich urzadzen musi byc calkowicie odizolowyany lub takie urzadzenia musza byc hermetyczne.
- Jako przywodny spalinowe naleźystosowej rury o srednicy 120 lub 150 mm. Rurałącza musi byc征求意见 jak najkrótsza i sąc jak najmiej kolanek.
- Niebezpieczeństwo zadstawienia! Wszystkie materiały opakowaniowe naleź trzymac z dala od daneci.
OSTRZEZENIE: Jesli jest to okap nad kuchnia, loro wystajce czosci moga sie nagrzewac.
Wylotu produktu nie wolno przyłączać do kanawów powietrznych, które odpradowazaju inny dym.
Wentylacja w pomieszczeniu要去 byc niewystarczajca w przypadku rownoczesnego korzystania z okapu nad elektryczna płyta grzewczy oraz urzemZN za-silanych gazem lub innymi paliwami (niniejsze ostrzezenia要去 dotyczyc urzemZN, ktore od-prowadzajagowietrze z powrotem do pomieszczenia).
- Przemioty znejdujace są na produktie moga spasć. Nie stawcź odnych przyzemiotów na produktie.
- Nie flambirowac bezposrednio nad urzadzeniem.
OSTRZEJEZENIE: Przed zamontowaniem okapu usunanć folie ochronna.
- Nie wolno pozostawiac otwartego ognia pod dzialajacym okapem
- Frytkownikice trzeba stale observwoć w trakcie uzytkowania: przyegrzany olej要去 zajęcść plomieniem.
1 Wągne instrukcje dotyczȩce bezpieczność wymi ochrony sądowiska
1.2 Zgodnosć z dyrektywa WEEE i pozbywanie są zuzytych wyrobów:
Wyrob ten jest zgodny z dyrektywa Unii Europejskiej w sprawie zuzytego spreztu elektrycznego i elektronicznego (WEEE) (2012/19/UE). Wyrob opatrzony jest symboleklasyfikacyjnym dla zuzytego spreztu elektrycznego i elektronicznego (WEEE).

Symbol ten oznacza, ze produktu nie nalezy utylizowac z innymi domowych smieciami po zakoczeniu okresu uzytkowania. Zuzyte urzadzenia nalezy oddac do oficjalnego punktu odbioru
zajmujacego sie recycl Klingiem urzadzen elektrycznych i elektronicznych. Aby odnalec tego typu.), nalezy skontatowac sie z lokalmymi wladzami lub sprezedawca, u ktorego zakupiono produkt. Kaźde gospodarstwo domowe odgrywa wąznę role w odzyskiwaniu i recycl Klingu starych urzadzen. Odpowiednia utylizacja zuzytego urzadzenia pomaga zapobiegać potencjalnie negatywnym konsekwencjom dla srodowiska i zdrowia ludzi.
1.3 Zgodnosć z dyrektywa RoHS
Zakupiony wyrob jest zgodny z dyrektywa RoHS Unii Europejskiej (2011/65/UE). Nie za-wiera szkodliwych ani zakazanych materiałow wyszczególniych w tej Dyrektywie.
1.4 Informacja o opakowaniu

Materialy, w które opakowany jest produkt zostatóy wyprodukowane z surowcov uwyszkanych w procesie recyklingu zgodnie z krajowymi przyepisami z
zakresu ochryśrodowiska. Nie naleź yutilizowej materiały opakowaniowych wraz z innymi odpa-dami domowymi. Naleź oddać je w jedernym z punktów zbiórkimateriały opakowaniowych wyznaczonych przy czadze lokalne.
1.5 Deklaracja zgodnosci CE
| Zakres częstotliwość | 2400MHz |
| Maks. moc transmisji | 2,75W |
| Jako Arcelik A.S. deklarujemy,źte ten produkt i/lub te produkt są zgodne z dyrektywa 2014/53/UE. Pełny tekst deklaracje zgodnosci UE jest dostepny pod nastepujacym adresem internetwym: - Produktory: support.grundig.com | |
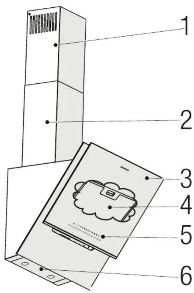
2 Ogólny wygliad

2.1 Omówienie
- Wewnetrzny kanat spalinowy
- Zewétrzny przywoć kominowy
- Szybka okapu kuchennego
- Aluminiowe filtry oleju (za szklana osfona)
- Zespó sterujucy
- Lampa


(rys. 1)
GDSP5470BSCH
GDSP5470DXSCH
2 Ogólny wygliad
2.2 Dane techniczne
| Model GDSP2470BSCH GDSP54 | 70BSCH | GDSP5470DXSCH |
| Napiȩcie zasilania 220-240V~ | 50Hz | |
| Moc lampy 2 x 3W | ||
| Moc silnika 275W | ||
| Pasmo częstotliwość 2400 MHz | ||
| Maksymalna moc wyjsciowa | 2,75 W | |
| Przepływ - 3. Poziom 580 m³/h | 575 m³/h | |
| Przepływ - wysoki poziom 752 | m³/h 763 m³/h | |
| Klasa izolacje silnika Klasa F | ||
| Klasa izolacje Klasa I | ||
3 Obstuga urzadzenia
3.1 Sterowanie urzadzeniem
| 1:Przycisk trybu auto Slius do dokonywania wyboru między pracă automatyczna a reczną. Po przyłączeniu w tryb automatyczny przy zacniśćte goje przyciscu, przycisk auto zapala są na LED 1-2-3 obrotów odpowiednio o 100% i ostateczne przechodzi do 1. obrotu, gdzie dane są za zgaszony i 1 raz wączyne przy 30 sekundy. Ten czas jest wystarczaję do wączyzenia czujnika. Czujnik sluź do pomiaru jakość powietrza. W trybie automatycznym, są za三点 wyrkty wrozrost wartość w czujnik i silnik jest wączyń, silnik pracuje na 2. prędkości i jest ona automatycznychzmieniania. Przycisk auto i przycisk prȩdkości są wskazywnie przyrozstawienie na 100% podcerras pracye silnika. Po nacniśćci przyciscu auto lub zmieianie prȩdkości, gdy tryb automatyczny jest aktywny, wskaznik zmieionnej prȩdkości za三点 sie na 100%, silnik przyłączy są na tę prȩdkość, wskaznik przyciscu auto za三点 sie na 50%, a tryb automatyczny zestanie anulowany. Jeśli nic są nie wydarzy, aby uzgliwość ponowne uruchomienie silnika w piągu 15 minut od.goe wączyzenia, pozycja automatyczna zostanie opuszczona. Jeśli okap zostanie wączyzenia, gdy przycisc Wt./Wyl. znajduje są wozycji automatycznej,tryb automatyczny zostanie anulowany.Ustawienie czulićs trybu auto: Dostepe na 3 precyzyne ustawienia, od najniższego (1) do najwyźsego (3). Ustawienie fabryczne to (2), sreddni poziom. Jeśli chcesz zmieniec czulićs, nacniśnij przycisk Auto/Mode przy 3 sekundy i wegrzej w ustawienia czulićs. Aktualny etap miga na LED prȩdkości. Poziom czulićs przymienić, naciskAJC przycisk Auto/Mode. Ostatni poukazny poziom jest ni-eprzerwanie wąźny. Poziomy rosną stosunkowo latawo, gdy wybrana jest wysoka precyzja; gdy wybrana jest niska precyzja, jest to stosunkowo cięzekie. | |
| 2:1.Przycisk stopnia | Obstruguje uradzdenie na 1. prȩdkości. Slius do zmiary prȩdkości silnika. Gdy okap jest wączyń, jasność tych przycisków wynosi 50%. Podswietlenie wybranje prȩdkości budzie 100%. |
| 3:2.Przycisk stopnia | Obstruguje uradzdenie na 2. prȩdkości. Slius do zmiary prȩdkości silnika. Gdy okap jest wączyń, jasność tych przycisków wynosi 50%. Podswietlenie wybranje prȩdkości budzie 100%. |
| 4:3.Przycisk stopnia | Obstruguje uradzdenie na 3. prȩdkości. Slius do zmiary prȩdkości silnika. Gdy okap jest wączyń, jasność tych przycisków wynosi 50%. Podswietlenie wybranje prȩdkości budzie 100%. |
| 5:Funkcja boost | W sprawie 10 minut po aktywaczji tej funkcjki przechodzi na zimszne obroty silnika. Gdy fungkcja Boost jest aktywna, przyciscnBoost zapala są, migajć 100%. Funkcja wąracznika czasowegoNieMZE wączyzone, gdy silnik pracuje na majwyźyszychobrotach. Gdy wąracznik czasowy zostanie przenieszony do najwyźSZego poziomu, gdy jest aktywny, zostanie on anulowany. Slius do zmiary prȩdkości silnika. Gdy okap jest wączyń, jasność tych przycisków wynosi 50%. Podswietlenie wybranje prȩdkości budzie 100%. |
3 Obstuga urzadzenia
| 6: Ostrzeżenie o filtrze węglowym | Jednostka elektroniczna reijestruje czas przy scry silnika. Gdy praca silnika odsiagnie okreslony czas, zostaniesz ostrzeźny o koniecznosci wymiany filtra poprzej zapa-lenie odpowiednej LED. Ješli nacijsiesz przycisk pierwsssaj prędkość przyze okło 5 sekund, gdy ta ostrzemawca LED filtra świeci, czas filtra zostanie zresetowy i 180-godzinny proces zostanie wznowiany. |
| 7: Włącznik/Wyȩcznik | Stuzy do wȩczania i wȩczania okapu. Po nacijsność przyciku przyze okło 1 sekunde, silnik zestaje wȩczony, jesti jest wȩczony, podswietlenie przycisków gaśnie i okap wȩczа są. W tej pozycji nieMZa zmiency cyklu i niedźma wȩczć okapu. W pozycji wȩczonej przycisków przyczata podswietlenie innych przycisków z 50% jasność. |
| 8: Ostrzeżenie o filtrze thuszczoynam | Jednostka elektroniczna reijestruje czas przy scry silnika. Gdy czas przy scry silnika osiagini 60 godzin, pojawi są ostrzeżenie przyze zapalenie odpowiednej LED, ze filtr sąȩzy wȩczycie. Ješli nacijsiesz przycisk pierwsssaj prȩdkość przyze okło 5 sekund, gdy ta ostrzemawca LED filtra świeci, czas filtra zostanie zresetowy i 60-godzinny proces zostanie wznowiany. |
| 9: Tryb Wi-Fi: * Patrz: 3.2 dla konfigu-raciji HomeWhiz | Gdy przycisk Wi-Fi jest wȩsiść przyze 3 sekundy, wȩczá tryb AP i przechodzi do etapu instalacji, wzystkie ikonki gasna do czasu zakończenia konfiguracdji i miga tylko ikonka Wi-Fi. Po konfiguracdji Wi-Fi pozostaje wȩczone (ikonka Wi-Fi jest wȩczona w 100% po wȩczeniu urzadzenia). Ikonka Wi-Fi ni znilka po wȩczeniu urzadzenia. Ješli ikonka Wi-Fi sącie w 100%, gdy wȩczamy urzadzenia, oznacza to, ze Wi-Fi jest wȩczone i po nacijsność przycisku Wi-Fi zapala są na 50% i gaźnie. Ješli nacijsiesz przycisk Wi-Fi bez zainstalowania, zamiga 2 razy. |
| 10: Tryb HobToHood | Gdy przycisk HobToHood zostanie wȩsiść przyze 3 sekundy, zacznie migać, gdy przycisk HobToHood na kuchence zostanie wȩsiść przyze 3 sekundy, gdy nicie gotujemy, zacznie migać i oba zapalu są na 100% po zakończeniu parowania. O ile HobToHood nie jest wȩczony, ikonka HobToHood sącie w 100% i okap pozostaje podzwarczy do kuchenki, gdy okap jest otworany przyciskiem wȩczania/ wȩczania. Po nacijsność ikonki HobToHood zapalu są na 50% i odźcie okap od kuchenki. Funkcji HobToHood i trybu autoNieMZa uzywać Jednoczesnie. Ješli fungcja zostanie anulowana przyze nacijsność przycisku, gdy HobToHood aktywnie gotuje, okap;będzie nadal dziala z ostatnia prȩdkość. |
| 11: Funkcja oczyszczania powietrza | Nacijsność przycisku oczyszczania powietrza aktywujé tryb oczyszczania powietrza. Oznacza to, ze silnik pracuje przyze 10 minut na 1. biegu, zatrzymuJE na 50 godzin i powtarza czynność. Dopóki oczyszczanie powietrza jest aktywne, wskaźnik oczyszczania powietrza sącie na 100%. Po 24 krotnym zakończeniu sącznégo okresu 1 godziny, wskaźnik oczyszczania powietrza sącie są na 50% i tryb oczyszczania powietrza zostanie wȩczony. Ješli plya zostanie sączona za pomocza przycisków prȩdkość, gdy tryb oczyszczania powietrza jest aktywny lub w trybie auto, zostanie wȩczona i;będzie dzialać z zadano prȩdkość. Gdy tryb oczyszczania powietrza jest wȩczony, LED oczyszczania powietrza sącie na 50%. UWAGA: W funkcjach oczyszczania powietrza czas przy scry silnika wynnosi okło 5 minut, 10 minut, 15 minut lub 20 minut z 4 trybami regulacji. Po nacijsność przycisku oczyszczania powietrza przyze okło 3 sekundy w celu woescia w ten tryb, aktualny etap jest wskazywany przyze miganie LED bieącej prȩdkość obrotowej. Nacijsność przycisku oczyszczania powietrza zmiezenia etap, króty wskazuju czas przy scry silnika w trybie oczyszczania powietrza. |
3 Obstuga urzadzenia
| 12: Automatyczne zatrz-ymanie | Ješli okap jest wączony i jakakolwiek prędkość z wyjaltkiem prȩdkość maksymalnej jest wączona, Rozlegnie są dwiéjk brȩćzyka po usyhszeniu sygnalu dwȩjkowej przyciscu automatyczné go zatrzymania i wȩczama są 15-minutowe odliczanie wączenia. Gdy wącznik czasowy jest aktywny,(go przycisk zapala są, migajć 100%. Gdy czas upłynie, silnik zatrzymuju są, a ješli lampka są dwiec, gaźnie. |
| 13: Wȩcz/wyȩcz oświetlenie | Lampka wȩczy są po Jednokrotnym naciśćci przyciscu, gdy okap jest wączony. Lampka zgaźnie po ponownym naciśćci przyciscu. |

Jesli przyciski nie zostana nacińskije przyez 10 minut, gdy na okapieNie działa zadna funkcja, okap przysemnie sie do pozycji wyłaczonej
3.2 Konfiguracja HomeWhiz i ustawenia konta uzytkownika
Wykonaj ponieszne czynnosci, aby sprawdzić i sledzić przy okap z Telefonu komórkowej lub tabletu. Musisz podȩczyć Telefon komórkowy do sieci domowej i;pobrać applikacja HomeWhiz ze skelepu z applikacja na przy Telefon/tablet.
- Otwórz applikacja mobilna HomeWhiz poubran na Telefon komórkowy/tablet.
- W applikazioni HomeWhiz dotknij sekcj, "Dodaj produit", wybierz okap z „Urzadzenia kuchenne".
- Przejdz dalej, postepujac zgodnie z instrukcjami wyswietlanymi na ekranie.
- Naciński przycisk komunikacja bezprzewodowej przyez 3 sekundy, ikonka komunikacja bezprzewodowej powinna zaczć powoli migać.
- Upewnij sie, ze lokalizacja i bluetooth są wączone, niedźbudne uprawniena są przyznane, aby Twój Telefon komórkowy automatycznie są z okapem na etapie są z urzadzeniem.
- W nastepnym kroku podlacz produkt do lokalej sieci domowej. Otworz w telegramie liste sieci lokalnych i wybierz siec lokalna, z ktora chcesz sie połaczy i wprovadź jej haslo. Po nawiazaniu połaczenia z siecia lokalna ikonka sieci bezprzewodowej musi swiecić w spośob ciągly.
- Po przyściu do ostatniego kroku i nazwaniu swojejego okapu moźysz wrócić do strony glównej. Moźysz wybrać produkt na stronie Urzadzenia i zȩczć z siego korzystaec.

- Możesz zobaczyć produkty sparowane z Twoim kontem, dotykaję strony „Urȩdzenia" w.Aplikacje. Możesz usunść produkt ze swojejego konta, nacziskAJć i przytrzymujuć produkt na tej stronie.
- Po naciśćci i przytrzymaniu ikonki sieci bezprzewodowej przyze 3 sekundy, ikonka sieci bezprzewodowej zacznie miga. Jesli konfiguracja HomeWhiz nie zestanie ukończona wantiago 5 minut, siec bezprzewodowa zostanie wyłączona, a kontrolka sieci bezprzewodowej zgaźnie.
- Na etapie konfigurazioni HomeWhiz Telefon komórkowy/tablet musi być połaczenia z siecia bezprzewodowa, do ktość chcesz podączyć okap przyd konfiguracja i powinien on pozostć podączyń do czasu zakończenia konfigurazioni.
3 Obsługa urzadzenia
3.3 Dziąanie HomeWhiz
Jesli okap jest zainstalowany na Twoim koncie HomeWhiz, wystarczy jihadokrotne naciść ikonki sieci bezprzewodowej, aby uruchomic sterowania HomeWhiz. Zacznie migać po jihadokrotnym naciśćciu ikonki sieci bezprzewodowej i przybe automatycznie połaczyc sie z siecia lokalna. Poniewaz okap był juicesnej podźczony do sieci lokalnej, szybko sączy sie z domowa siecia lokalna, a ikonka sieci bezprzewodowej zacznie migać i nastepnie swiecić nieprzerwanie.

- Aby sterować okapem za pomocamy Whiz, siec lokalna, do ktorejwczesnej podlaczono okay, musi być aktywna, a prędkość Internetu powinna być dobra. Twoj telefon komórkowy/tablet musi być podlaczony do Internetu.
- Możesz także sterowania produktem zarówno za pomocamy HomeWhiz, jak i ekranu okapu, gdy połącenie HomeWhiz jest aktywne.
- W przypadku przyzewy w dostawie pradu lub braku dostepu do Internetu w sieci lokalnej, do ktorej podzancy jest okay, urzadzenia zostanie wyłaczone w applikacja HomeWhiz.
3.4 Efektywne uzytkowanie pod wzgliedem oszczędnosci energii
- Podczas korzystania z okapu dostosuj ustawienia prędkosci do intensywnosci oparów i za-pachu, aby oszczejność energia.
- Uzywaj niskich prędkosci (1-2) w normalnych warunkach i wysokich prȩdkosci (3) przy silnym zapachu i intensywnych oparach.
- Okap wyposzaźony jest w lampy do oświetlania strefy gotowania.
Wykorzystanie ich do oświetlenia otoczenia powoduje niedotrzejne wydatki na energia i zapewnia niewystarczȩce oświetlenie.
3.5 Dziafanie okapu kuchennego
- Twoje urzadzenie posiada silnik, ktory pracuje z roznymi predkosciami.
- Aby uzyskać lepszą wydajnosć, zalecamy stosowanie niskich prędkosci w normalnych warunkach i duzych prȩdkosci w przypadkach silnégo zapachu i intensywnych oparów.
- Możesz uruchomic urzadzenie, nacziskajcz przycisk zadanego ustawienia prędkosci. (2, 3, 4)
- Możesz podświetlic powierzchnie gotowan nacziskajc lampe (13).
3.6 Wymiana lamp
MAX 3 W


(Rys. 3)
Wykonaj połaczenia elektryczne urzadzenia. Twoje urzadzenia wykorztustuje punktowa lampe LED o mocy 3W. Aby wymienic, popchnij uchwyt lampy w dof, obrć ja w lewo i pociagnij w dof. Zastosuj powyzsza operacja w odwrotnej kolejnosci, aby zainstalować nowe lampy (rys. 3).
3 Obstuga urzadzenia
| Žarówka | |
| Moc žarówki 3 W | |
| Uchwyt/gniazdo GZ 10 | |
| Napięcieźarówki 220 - 240 V | |
| Wymiary 53x50 mm | |
| Kod ILCOS DR/F3-220-240-GZ10-50-53 | |
| Strumień swietyny 260 lm | |
| Skorelowana temperatura barwowa 3000 K |
Ten produkt zawiera zródlo swiatla o klasie efektywnosci energetycznej "F".
- W przypadku zastosowania bez odpradowazania spalin, Usun klapy wewnatrz adaptera do przywodu kominowego.
- Wyjmij filtr olejowy. Aby zainstalowa filtr węglowy, dopasuj filtr do wypustek, wysrodkowujac go na plastikowym elemencie po obu stronach korpusu wentylatora. Dokrć, obracajc w sprawo lub w lewo.
- Wymień alumnów filtr oleju.

UWAGA: Aby aktywować filtr węglowy, tryb jest aktywowany przytrzymanie przycisku automatycznego zatrzymania i przycisku oczyszczania powietrza przyez 3 sekundy. Jesli produkt przyłący na prace z przewodem kominowym,NSE godezaktywować w ten sam sposob.
3.7 Praca z odprowadzaniem spalin

prowadzane przye
kanat spalinowy,ktory jest przymocowycho do głowicy przyaczeniowej na okapie.
- Srednica kanału spalinowej musi byc takasama jak pierScienia przyłączeniowego. Wustawieniach poziomych rura musimie niewielkie nachylenie do góry (oko to 10°),aby powietrzej moglo latwo opusci pomieszczenie.
3.8 Praca bez odprowadzania spalin

st filtrowane przyze
filtr węglowy i recyrkulowane w pomieszczeniu. Filtr wȩglowy stosuje są, gdy nie myznaskorzystać z przyzewodu komino
wego w domu.
4 Czyszczenie i konserwacja

Przed czyszczeniem i konserwacja naleź odłaczyć produkt od zasilania lub wyłaczyć przyłącznik.
4.1 Czyszczenie alumniiewego filtru oleju
Ten filtr zatrzymuje czasteczki oleju w powietrzu. Alumniowe filtry oleju moga zmieniac kolor podczas mycia; jest to normalne i nie wymaga wymiany alumniowych filtrów oleju.

(Rys. 4)
- Popchnij blokade aluminiowego filtra oleju do przydou.
- Nastepnie pociagnij go lekko w doi i wyciagnij (rys. 4). W przyciwnym razie mozesz wygiac filtr. Alumniowe filtry oleju umyj i wypłucz plynnym detergentem i wóz umieszć je z powrotem na ich gniazdach, wykonujac powyzsze czynnosci w odwrotnej kolejnosci. Ten filtr zatrzymuje czasteczki oleju wgowietru.

Mozesz myc alumiowe filtry oleju w zmywarce do naczyn.

UWAGA: W przypadku normalego uzytkowania wycyszeci filtr raz na miesiac.
4.2 Wymiana filtra weglowego
Filtry usuwajce nieprzyjemny zapach zawieraja wegiel drzewny. W urzadzeniu musza byc zainstalowane filtry tuszczu, niedazoleznie od unto,czy sastosowane filtry weglowe.

(rys. 5)
Wyjmij almaniowy filtr oleju (rys. 4).
- Aby wyjac filtr węglowy, wyjmij go z obudowy,OCRACAJAC go w lewo z zaczepu (rys. 5).
Zainstaluj nowy filtr weglowy.
Zainstaluj alminiowy filtr oleju.

UWAGA
- Nie wolno myc filtra weglowego.
Wymieniaj filtry weglowe co 3 miesiace. - Filtr węglowyromaticzakupic w autoryzowanych serwisach.
5 Instalacja urzadzenia

OSTRZEZENIE: Przed Rozpoczeciem instalacji przyczytaj informacja dotyczne bezpiecznych winstrukci obstugi.

OSTRZEZENIE: Niezinstalowanie za pomocą srub i stabilizatorów zgodnie z niniejsza instrukcja są spegowodstawć porazenie pradem.
Aby zainstalować okap, skontaktuj są z najblźyszym autoryzowanym serwisem.
Obwiazkiem klienja jest przygotowanie lokalizacji i instalacji elektrycznej okapu.
5.1 Pozycja urzadzenia

(rys. 6)
- Przed montazem naleź wzią pod uwage odlegostość między kuchenka a okapem kuchennym. Odlegostość ta powinnaDynosić 65cm (rys.6).
- W przypadku kuchenek gazowych odlegostość naleź zmiezyć od powierzchni rusztu
- lub od szklanej powierzchni kuchenek elektrycznych.
5.2 Akcesoria instalacyjne

1

2

3

4

5

6

7

8

9
10
1
12

13

14

15
- Produkt
- Zewétrzny przywód kominowy
- Wewnetrzny kanal spalinowy
- Płyta przyłączeniowa przewodu kominowej
- Plastikowy adapter do przywodu kominowego 0150/120mm
- Instrukcja obslugi
- Wzór montazu
- Kolesk plastikowy 010mm
- Kolesk plastikowy 06mm
- Wkret do mocowania do sciany 5,5x60
- Wkret do mocowania pfyt yprzyceniewej przewodu kominowego 3,9x22
- Wkret do mocowania przywodu spalinowego 3,5x9,5
- Adapter do przywyszcznego o srednicy 0120mm
- Przewód spalinowy 0120mm
- Nawiewka powietrza
Informacja wymagane, aby lokalizacja była odpo-wiednia do montazu okapu, podano poniżej.
5 Instalacja urzadzenia
Glebokosc wierconych otworow musi odpowiadać dlugosci srub.
- Dostarczone wkrety i kolki nadaj sie do scian z cegly. W przypadku innych materiałow budowlanych (np.: pht kartonowo-gipsowych, pfly, porowatego betonu) nalezy zastosowac odpowiednie kolki ustalajace i nakretki.

(rys. 7)

UWAGA: Przed wierceniem upew-nij sie, ze w povlizu.),wiercenia nie ma przewodow, rur gazowych ani wodnych.
Narysuj srokowa linie lokalizacje od sufitu prostopadla do dolnej krawedzi okapu.
Naklej szablon montazu dostarczony z urzadzeniem na powierzchni, na ktorej urzadzenie ma zostac zainstalowane. Wykonujac te czynnosc, zwroc uwage wysokosc montazu okapu (rys.6).
Na srodku płyty przyłączeniowej komina znajduje sie jejzyczek. Umieszć和他的 srodkowy punkt na linii narysowanej prostopadle do sciany. Wykonujac te czynnosc, zwroc uwage na maksymalna wysokosc okapu (rys. 1). Za pomocza pisaka zaznacz otwory, w ktorych zestanie zamontowana płyta przyłączeniowa przyłączeniowa przy sądkiwogo (rys. 7/a).
Wywierc otwory w zaznaczonych punktach wiertlem 06mm i wóz 2 do nich plastikowe kołki (rys.7/a). Przymocuj płyte przyłączeniowa do sciany za pomocza wkrećów 3,9x22 (rys.7/a).
Aby zmontowac korpus okapu, moza uzyc wiertla 010mm, aby wywiercić otwory w punktach A, B, C, D na szablonie montażowym i wózyc do nich plastikowe kołki 010mm. (rys.7/b).
Wkreć 2 s Ruby zawieszenia 5,5x60 tak, aby lebki odstawaty od sciany na odlegostoć 5mm (rys. 7/b).

(rys. 8)
- Plyta do zawieszania
- Sruba污染防治 do zawieszania
Aby zamontowac okap na scianie, poluzuj s Ruby na phtach do zawieszania zamontowanych na obudowie silnika i pociagnij je, a nastepnie ponownie przymocuj (rys. 8/A).
Włacz ssawkę okapu i wyjmij alumniewy filtr oleju (rys. 4).

(rys. 9)
5 Instalacja urzadzenia
Chwyc okaykuchenny za loro korpus i umiesc go na srbach montaowych na scianie i dokrec je (rys.9).
Przymocuj okap kuchenny za pomocag dwoch srb 5,5x60 do sciany przyez otwor montażowy węnetrzu urzadzenia (rys.9).
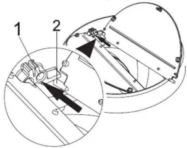
5.4 Podłaczenia do przywodukominowej

(rys. 10)
Włód plastikowy bolec (rys. 10/obszar nr 2) wgniazdo bolca na wylocie silnika (rys. 10/obszar nr 1). NatestPNIE lekko zegnij klapke, aby wtozyc drugi kolek na klapie i wOZ drgi kolek do gniazda (rys. 10).
Jesli zamierzasz uzyc plastikowego adaptera do przywocny go str. 0120/150mm podlacz jeder koniec rury do unto adaptera, jesti nie zamierzasz go uzywac, bezposrednio do wylotu urzadzenia. Podlacz drugi koniec do przywody kominowego. Sprawdz,czy te dwa polaczenia są wystarczajco solidne,aby nie sie nie poluzowa, gdy urzadzenia dzia na pehnej mocy.Upewnij sie, ze klapy wewnatrz przywodu kominowego dzialaja po dokreceni za pomocz zacisku. Podlacz przywod przylaczeniowy do przywodu kominowego na zewnatrz adaptera (rys. 11/a).
Jesli przyȩczeniowy jest zamontowy wewnatrix adaptera, nie dojdzie do zasysania powietrza, poniewaz klapa spalinowa, kóra zapobiega powrotowy powietrza, pozostanie zamknieta (rys. 11/b). Dlugosc polaczenia rurowsego, jak rowniez liczba kolanek musi byc moziwie jak najmiejsza.
A:Rura wylotowa przywodu spalinowego
B:Zaciski przewodu spalinowego
C:Przewod spalinowy z tworzywa sztuczngo
Zawory są zamkniète gdy urzadzenie nie działa, zapobiegajć przyedostawaniu sie doŚrodka zapachów i kurzu z zewnatrz.

(a)

(b)
Odpowiedni Nieodpowiedni
(rys. 11)
5.5 Przyȩczanie okapu do przyȩczanje kominowej
Wykonaj podlącenie elektryczne okapu przyrozȩciem instalacji przyzewodu spalinowej. Nasun płyty przyzewodu spalinowej wokół obudowy. Przykreć przyzwód spalinowy do płytmocujacych na obudowej silnika. (Rys. 12)
Zamontuj przywośd spalinowy do pły t monocjacej, kóra jest przymocowanady do sciany od strony górnych zewétrznych krawędzi (rys. 12).
5 Instalacja urzadzenia

(rys. 12)
5.6 Instalacja nawiewkigowietrza
Podczas pracy z filtrem wegrłowym, nawiewka powietrzna jest dostarczana z urzadzeniem w celu ponownego wprovadzenia powietrza, które jest oczyszczane filtrem wegrłowym z perforacji znejdujacej sie na przewodzie spalinowym. Zamontuj nawiewkę powietrza jak opisano poniżej.

(rys. 13)
Na srodku pfy przyączeniowej komina znajduje sie jejzyczek. Umieszć和他的 srodkowy punkt na linii narysowanej prostopadle do sciany. Wyrównaj w poziomie i za pomocapi pisaka zaznacz owory, w kórych zestanie zamontowana pfy tączaca (rys. 13/A, B).
Wywierc otwory w zaznaczonych punktach wiertlem 06mm i wóź do nich 2 plastikowe kolars 06mm (rys.13/A, B).
Przymocuj płyte przyłączeniowa do sciany za pomocza wkrećów 3,9x22 (rys. 13/A, B).
W celu montazu nawiewki powietrza, wywierc otwory w punktach C, D, E, F za pomocza wiertla o srednicy 06mm i w bij plastikowe kolki o srednicy 06mm (rys.13).
Zlozkorpusokapukuchennego (rys.9).

(rys. 14)
Przymocuj klapy kominowe do plastikowej adaptera kominowej znajdujacego sie w opakowaniu w nastepujacy sposob.
Włód plastikowy bolec (rys. 14/obszar nr 2) wgniazdo bolca na wylocie silnika (rys. 14/obszar nr 1). NatestPNIElekko zeglij klapke, aby wtozyc drugi kolek na klapie i wóź drugi kolek do gniazda (rys. 14).
5 Instalacja urzadzenia

(rys. 15)
- Nawiewka powietrza
- Przewód spalinowy z tworzywa sztuczkiego
Przymocuj plastikowy adapter przywodu spalinowego, kóry znajduje sie w opakowaniu, w kierunku nawiewki powietrza. Zablokuj adapter spalin, obracajc go w kierunku strzański (rys. 14).

(rys. 15)
Zamontuj zespór nawiewki powietrza za pomocag wkrétów 3,9x22 z punktów C, D, E, F, które uprzejednio przygotowano (rys. 15).

(rys. 16)
- Aluminiowa rura wylotowa powietrza
Wykonanie zespóu rury wylotowej powietrza
(rys. 16).

Poniewaz zagiecia i skrety w almi-niowej turze doprowadza do zmniejszenia silyzasysania powietra, nalezy ich unikać.
Zamontuj plyty przywodu spalinowej okapu (rys. 12).
5.7 Przechowywanie
- Jesli nie zamierzasz uzywać urzadzenia przy druźysz czas, naleź je starannie przechować.
- Upewnij sie, ze urzadzenie jest odłaczone od za-silania, ostygo i jest calkiemSuche.
- Przechowuj urzadzenia w chłodnym i suchym mięscu.
- Urzadzenia nalezy chronicć przydostepem daneci.
5.8 Przenoszenia i transport
- Urzadzenie nalezy przenosic i transportowac w orygnalnym opakowaniu.
- Zabepieczna ono urzadzenie przy fizycznych uszkodzeniami.
- Nie wolno umieszczaccięzkich Ładunkowy na urzadzeniu lub opakowaniu. Moze to spowodowej uszkodzenia urzadzenia.
6 Rozwiagywanie problemów
| Rozwiązywanie problemów | Mоżliwa przyczyna Pomoc | |
| Urȩdzenia nie dzila. Sprawdź beziepieczniki. Bezpiecznik要去 zostęcć przechalony, sprawdź go i wymiść. | ||
| Urȩdzenia nie dzila. Sprawdź połączenia elektryczne. Napiȩcie sieciwo we pouinnoDynosić od 220 do 240V. | ||
| Urȩdzenia nie dzila. Sprawdź połączenia elektryczne. Sprawdź, czy dzila inneurūzadzenia w kuchni. | ||
| Lampa nie sącie sąȩdź połączenia elektryczne. Napiȩcie sieciwo we pouinnoDynosić od 220 do 240V. | ||
| Lampa nie sącie sąȩdź przyȩcznik lampy. Prȩćzelnik lampy musi znajdowej są w pozymci „wt.”. | ||
| Lampa nie sącie są Sprawdź lampy. Lamy podstawienia powinny są zapalić. | ||
| Wlotgowietra do urȩdzenia jest niewystarczajcy. | Sprawdź filtr alumniewy. W normalnych warunkach pracy alumi-niowy filtr oleju sąwyDynosić co najmie-Niej raz w mieziącu. | |
| Wlotgowietra do urȩdzenia jest niewystarczajcy. | Sprawdź przywośd spalin. Przewód spalin powinien są znajdowej w pozymci „wt.” | |
| Wlotgowietra do urȩdzenia jest niewystarczajcy. | Sprawdź filtr węglowe. W urȩdzeniach, króre korzystañzfiltrówDynosiych, w normalnych warkunkach powinne są one wymienianeraz na 3 miersiéce. | |
ProstaInstrukcja