GDSP 5470 DXSCH - кухонная вытяжка GRUNDIG - Бесплатное руководство пользователя
Найдите руководство к устройству бесплатно GDSP 5470 DXSCH GRUNDIG в формате PDF.
Скачайте инструкцию для вашего кухонная вытяжка в формате PDF бесплатно! Найдите своё руководство GDSP 5470 DXSCH - GRUNDIG и возьмите своё электронное устройство обратно в руки. На этой странице опубликованы все документы, необходимые для использования вашего устройства. GDSP 5470 DXSCH бренда GRUNDIG.
РУКОВОДСТВО ПОЛЬЗОВАТЕЛЯ GDSP 5470 DXSCH GRUNDIG
Бытовая Кухонна ВытаяКа
HctpyKznaNo 3Kcnpnyatau

GDSP2470BSCH - GDSP5470BSCH - GDSP5470DXSCH
RU
O3HaKoMbTeEcB C 3TnM pyKOBoDCTBOM nepei HaayaIOM ekpnyatau!
Ybaxaembl nokynatelb!
Бларпь Васьбор стORO Идени КOMпани Grundig. Мы наемся,чTO npODукцЯ, ИЗТOTOBЛeнная НСOBрЕмEHOM obOpyIDobAHNi И IMeJOUcaЯВblCOKИУРОBEHь KaueCTBa, БуDEТ сLУЖИТь Bam HANLYUCHIM obrpazOM.ДЯЗТOrO,перд НачалOM ЗКСПЛУАТAUИN, BHIMaTeJbHO поЧТITE ДAnHoe ryKOBODCTBO ИВCE почINE COmpoBODITeJIbHbIe DOkUMeHTbl, И NCПОЛБ3YrTe Ix BДаЛьНшЕМВ СправочьX цELAX. Пprп epedaye yctpoiCTBa dpyromy JInCy Heo6xOДmOTakkeпepedaTb 3TO ryKOBODCTBO.CobIIOdaIte yka3aHnI, KOTOpbie DAHBI B 3TOMpyKOBODCTBe NOlb3OBaTeJI, И образай Te Oco6OE BHIMaHne Ha cnpaBOUHbIe NometKN INпедупжdeHnI.
ImeTe B vNy, yTo DaHoe pyKOBoCTBO NOJb3OBaTeJI MOKeT TaKKe OTHOCHTbcr KdpYmM MoeJMy. Pa3nUry Mekdy MoeJMy YeTKO ONNCAhbl B pyKOBoDCTBe.
YcnoBhie 0603HaueHnra
B pa3hbx pa3delaHOro pyKOBoCTBe NOb3OBaTeJI NcNoJb3yOTcCneDuOuIe CmBOJIb:

BaxnHa INΦopMaζηι N έne3HbIe coBETbl OTHOCHTelbHO 3KcπNyataζηι.

BHIMAHNE: PpeynpejdeHn o6 ONaCHoCTN TpaBMnPOBaHn IIN NOBpeJdeHn IMyueCTBa.

IpeDynpexKeHne 6 onaCHOCTN BO3- HNKHOBEHnnoXapa.

IpeDynpexKdene o6 onaChOCTn nopaxeHnA 3JIeKTPnueCKnM TOKOM.

1 BaЖиье Инстукции по Т电商ke 6e3ОпаСоctи и 3aunte Okржаюшей ср�bl
1.1.O6uzne npabnlaTexHnKn 6e3OpaCHOCTN
Baxhble IHCTpykCnI NO texHke 6e30nacHOCTN: BHIMaTeJIbHO O3HaKOMb-TEcB n COxpaHnte dJa TaJIbHeJWeRo NcNoJIb3O-BaHnB B 3Tom pa3dJeIe Co-depXaTcR IpaBnla TexHnKn 6e30nacHOCTN, CO6JIIODeHne KOTOpbIX IO3BOJNT NCKJIIOChrB pNCK BO3HnKHOBeHnI POJapa, IopaxeHnI 3JIeKTPnuCeKNM TOKOM, BO3DeIcTBnI yTeueK MIKPOBOJHOBOrO n3JIyUeHnI, IOnyuEHNr INbIX TpaBM INI npuHHeHnMaTePnAJIbHOrO yUepe6a. Ppr HeCo6JIIODeHnI 3Tnx IpaBnI BCE rapaHTnHBie o6aTeJIbCTBa aHHyJInpYOTcR.
-
Издени поgroвов маркн Grundig cootbeteCTbyOT DeiCTByUOuIM CTaHdapTam 6e30nacnoctn.В Cnyuae NOBpeJdeHnA 3JIeKTPoPn6opa IIn NUn ShHypa NITaHnA, BO n3-6exKaHne OAnChbIX CNTya- uN, peMOHT IIn 3aMeHa DOJXHbI POn3BODnTBcA DInlepOM, cepBnCHbIM cHTPOM, CNeuJaNtCtOM IIn aBTopn3OBaHHoN clyxboH. HenpaBnIbHo IIn HeNPoPeCCNoHaJIbHO BblONHeHHbI peMOHTHbI pa6OtbI MOryT npINBeCTN K OnaChbIM ДЯ ПОЛb3OBaTeJIa CNTya- zuYAM.
-
3TOT npi6op npeHa3Ha-ueH ToIbKO dIy 6bITOBOrO n CXoIHO r C HnM npiMe-HeHr, a IMeHHO:
-
B Kuyxohhblx 30Hax Дляперсонаь В магаЗинх,офисх И другхразбочиnomeшени; -Ha Фермax;
1 BaЖиье Инстукции по Т电商ke 6e3ОпаСоctи и 3aunte Okржаюшей ср�bl
-B HOMepax roCTnHnU, MOTeJen n T. n.;
-B NOMeUeHnIx, PpeOCTaBJIeMbIX DnI pyoJXuBaHnHa YcNoBnX NOlypHaHCnOHa.
- Исторуminate даннiable заимлдампостор тольков по лгелямου наз nauseема Камон рубовск.
-
Данный лгелямου наз nauseема В данном рубовск.
-
ПронзВODиTeЛь He HeceT OTBETCTBENHOCTN 3a Любyles NOBpeJdeHnry, BO3HnKShne B pe3yIbTaTe He npaBnIbHOrO nCNoIb-3OBaHnry nIi Ne npaBnIb-HoYCTaHOBKn I3dJIIny.
-Детистарше8лет,a ТаЖе ЛицаСогрази- ЧehныIMNФИЗЕСКИМN, СЕнсОрныIMNуМCTВЕH- НыIMNСПОБноCTЯМN ИПИ 6e3 COOTBETCTBYO- ШХ HabьIKOB И ONbITa MOrγT ИСПОЛьЗОВаТь Дад- Ный пиборToЛько ПОД ПпсмOTpOM ИПИ ПОСЛ ПОлчЕня ИНСТPyКЦИ
ПО NOBODY 6e3ONaCHOrO
ИСПОЛБ3OBaHЯ Пибopa
И OCO3HaHЯ CBЯ3aHHbIX
СЭТИМ ONaCHOCTeI.
He nO3BOJYTe DeTm nIgpaTb c np6opom. He nO3BOJYTe DeTm camOCToTeJIbHO BblOJIHrTb OunchKy I o6cIyXnBaHne np6opa.
-Чистку Издени Необховимо Вылолнять B COOTВETCTBИС ИНСТPyкцямп руковodctBa ПОльб3OBaTeЯ.Есни чистka ИЗдени He OCSUSECTBЯETcR BCOOTBETCTBИСУКАнЯМп руковodctBa ПОльб3OBaTeЯ,СУШЕCTBYET рИСВОЗнKOHOBЕнЯ NOЖAPA.
He nCloIb3yIte HeorHeynpHbIe qnIbTppyoUneMaTePnaJIbI BMeCTO TeKy-uzero qnIbTpa.
- Исторьштей Толбко opini Галовные detали有很大 пося рекоменданны有很大 пося вордentelem detали.
He 3Kcnpnyatnpyute n3- DeJne 6e3 pnlbtpa n He cHmaite pnlbtpbl BO BpeMa pa60tbl n3deJnra.
Bcnyae BO3HnKHOBEHnIPOXapa,OTKJIOpHTe NITaHHe N3dEJIIN KUYOHNOIITbI.
BcIyuae BO3HnKHOBeHnnaPoxkapa,HaKpoIte nCTOuHNKOrHЯ.PpImeHneBOdbI DJIa TUWeHnHa HeDOnyckaetcra.
-
Otkлочаite npnbop ot əJIeKtpocetn npeed uNCTKO, a TaKxe KOrda OH He NcNoIb3YeTcra.
-
OTPицateьhoe ДаВлeHne Okpykaюше CpeblHe DoJxHo npeBbIaTb 4Па (4 x 10 6ap) Bo BpemЯ
1 BaxHbIe HNcTpyKcII N O TexHnKe 6e3OpacHOCTn N 3aIHTe OkpyKaIOUeN cpebl
ODHOBpeMeHHo pa60tbI BbITJKKn IJIa 3JIeKTPnuCeCKoBapOCHNo nAHeNn np6OpOB,pa6OtaUxnx OT dpyrOrO nCTOuHnKa 3Heprnn.
B cpeJe, rIe nCNoJb3y- etcra np6Op, BbIXIOHbIe ra3bl yCTpOiCTB, pa6oTaoUxN Ha XnDkOM ToIINBe IIn Ra3e, TaKNX KaK KOMHaTHbI O6OrpeBaTeJIb, DOnXHbI 6bITb NOnHOCTbIO I3OIpOBAHbI, IIn DoJXHbI 6bITb RePMeTNUHBIMN.
-При подсоeДинени K Bытяжнов Тубe, Исполь-3уйTe TpyБы ДиametpOM 120 nII 150 mM.СоeДи-неня TpyБdoJxHbI 6byTb KaK мОжно boJee KopoTКИМи ИМeТь МИнмаЛь-Нoe кOLичecTBO KOJIeH.
CyuEcTByeT onaChocTb ydyb! XpaHnte ynaKOBOuHbIe MaTePnAJIbI B HeIOCTyINHom IJRA DeTei MecTe.
OCTOPOXHO: DoctynbIe DetaII np6o-opa MoryT HarpBeBaTbcra BO BpemnIOJIb3OBaHnY KxOHbIX PINT.
- BbIXoJ BbITJxKn HeJIb3a ПОДКЛЮЧаТьВ BO3dYXO- BODaM, KOTOpbIe 3aHЯTbI OTBOJOM ДPyrInx OTpapO- TaHHbIX BO3dUShhIx Macc.
- BeHTnJIaIyB V IomeIeHnn MoKET 6bITb HeIoCTaToUHOB B ClyuAe, ecNI BbITJxKa DIIa 3JIeKTPnueCKoBapOuHOI paHeJIINcNoJIb3YeTcR OndHOBpeMeHHO C UcTPOiCTBaMn, pa6OtaHUsmN Ha r3eIIN dpyHX BnDax ToIINBA (3TO HE OTHOCNTcK Prn6Opam, KOTOpbIE TOJbKO BblNyCkAIOT BO3-DyX ObpaTHO B IomeIeHne).
HaxoJusneCnHa n3deJnn PpeMeTbIMORYTuNactb.He cJeDyETKnaCTb NOCTOPOHnE PpeMeTbHa BbITJxKy.
1 BaЖиье Инстукции по Тхніke 6e3ОпаСноCTи n 3aʌnte Okpyжаюшeй cpeДы
-Фламбираване 6люн рдиидем He donyckaetcra.
BHIMAHNE:перед началом paBOT по установ-ке Вытяжки удалITE 3a-циTHую пленky.
| Диапазон Уасот 2400 МГц | |
| Мakсимальнай мошноctь передачи | 2.75Вт |
| Каç Arçelik A.S. мызавраем, что дан- ньий порожит и/orлданные порожтсы со- OTВетETСВИТС Директую 2014/53/EC. ПолныйTekст декарции сооветCTВИЕ EC можно пolyчittь по следуюшему сaytu: - Порожтсы: support.grundig.com | |
2 O6uN BnD

2.1 O63op
- BnytpenHnBbITJxHaTpy6a
- BheHnBbITXnHa Tpy6a
3.БOKOBOECTeKNoBbITAAKKN - AniOMnHneBbMacJbHbI ΦJIbTp (3a CTeKJrHHoN KpbIuKO)
- Y3eN YnpaBneHnA
- Namna


(PnCyHok 1)
2 O6nBnD
2.2 TexHnueckne DaHHbIe
| Модаль GDSP2470BSCH GD | SP5470BSCH | GDSP5470DXSCH |
| Напражени пitaлия 220-240В ~ 50 Г | ||
| Мошисть лamпь 2 x 3 Вт | ||
| Мошисть двига对接а 275 Вт | ||
| ПOTOK - 3. Уровень 580 m³/ч | 575 m³/ч | |
| ПOTOK - В bicokий Уровень 7 | 52 m³/ч 763 m³/ч | |
| КлASS ИЗOLЯЦИМOTOPA КлASS F | ||
| КлASS ИЗOLЯЦИКлASS 1 | ||
3 Θкплyaataця устpoиства
3.1 YnpaBJIeHne YcTpoIcTBOM
| KHONKA HA3HAUHNE | |
| 1:Конь Авtomатическая Рек imma | Испльзуетс дд выбoga мжду вгоматICALу и рунов раобото. Когда вы порхODITEВ в вгоматICALу реким, на- жимая 3у.TКнOLKY, клавиша вгоматICALу рекима загор- етс сбетюдамп 1-2-3 сикла cootbetCTBENHO на 100% - нakонч, пекхODIT K 1-mу сиклу, лд она paobotaETВ видд реким, рпс. Береми дocstatoчно дд akTINBAцIM DAtчИК. ДатчИК ИСПОЛ- ЗуETС дд ИЗмерения качесТВ BO3dYx. В вгоматICALу реким, при обарухени уразоченья ЗЧЕеня DAтчИК и за- крын DMВIGATEL, DBIVATEL paobotaET Na-2- skopocSTN, a skop- posьts ИЗМЕЯETС вгоматICALу реким; при вклочим вдгатеLE. Когда клавиша вгоматICALу реким, плллллллллллллллллллллллллллллллллллллллллллллллллллллллллллллллллллллллллллллллллллллллллллллллллллл рекима и клавиша скорости обознayaOTC %100 ropен# при вклочим вдгатеLE. Когда клавиша вгоматICALу реким, плллллллллллллллллллллллллллллллллл рекима и клавиша скорostи нажимаOTC BO Всрмя AKТУ Вирoveан�о вгоматICALу рекима, ИДИКATOP ИЗМЕHNO сокорstл загорASTДо %100, a 3atem DBIVATEL пекл� чадосту на STу сokорstь и ИДИКATOP кнOLКИ вгоматICALу реким, пекима загорASTДо %50, a 3atem вгоматICALу реким OTКлочael.Еспли Нчero He npoICXODIT,чTOБы DBIVATEL CHOBA ZANCTINCS B TeuchHne 15 MINUT рпв ВькЛчEOHOM DBIV- ratel, abTOMATICALу реким OKKLOHTC.Еспли ВьТЖКа Вь- Клочael.KнOLKOВВькЛВ abTOMATICALу реким, abTOM- MATICALу реким OTMehHNTC. |
| Функци ОдПиТыКВыТяжke И АвTomatICALr Pekimma Heil3я ИсплььЗOBaTb ОднOBpeMeHHO. | НастPORьЧУВСТВЛТБНОCTN B AВТOMATICALу Pekimme: Ест 3 Hab相对较очToCHOCN - OT Camон ИЗКОД (1) до сam ВьICOKО(3).ЗавODSCHE Hab相对较poи (2)-это средни уровь; Есты XOTITE ИЗМЕHITь чУВСТВЛТБНОCTь, нажmite Клави- шу АвTOR/PEKIMВ TteUCHENe 3сEquHyДи BblВОДTeВ HACTPOI- КУчВСТВЛТБНОCTN.ДелСТУЮWIДУУРОБЕЗьБуDEТ MINGA Ha CBETODINDAx COKOCTN.УровьЧУВСТВЛТБНОCTN MOKN ИЗМЕHITь habAV KONKу ABTO/Pekim. Пokedаннь посtleDniH уровь NOCTOHHO DeEChTBNTeJIEN.Уровь NOВБlaHOTCЯ ЛERCO при ВьбpaHHO BvICOKO ChVCBTNTeBJHOTC, И ТяжELО рпс Вь- бpaHHO NH3KOH ChVCBTNTeBJHOTC. |
| 2:1.CtyneH | Вклочаert рись на 1-й сokорstN. ИсплььЗуETСДдя ИЗмe- ня СOKОSTeДвгATeJIЯ.Ярковь стИХ КлавишБуDEТ на %50 при ВьКПОЧЕHOOB VbITJAKKE.ОсевшиЕ Вьбpanhhix Skopo- cteь bayet %100. |
| 3:2.CtyneH | Вклочаert рись на 2-й сokорstN. ИсплььЗуETСДдя ИЗm e- ня СOKОSTeДвгATeJIЯ.Ярковь стИХ КлавишБуDEТ на %50 при ВьКПОЧЕHOOB VbITJAKKE.ОсевшиЕ Вьбpanhhix Skopo- cteь bayet %100. |
3 Θкплyaataця устpoиства
| 4:3. Stупень | Вкlioquаert рибор на 3-ий скорoctи. Исрлььтугетдял язmedеня скоросте Двигател. Рекость захх калвш boудот ha %50 ри ВкlioqueHHOу Bытжke. Oсveшение Вьбраньх скоросте boудот %100. |
| 5:Функциya усокороня | Почи в чухиме 10 минут посте akтуваци зтой Функциya вы-tжka песхODINТ ha 6олee НИЗКУЮ скорostь Двигатel. Клвшиу skорichte Загоретсmaigая ha %100 ри ВкlioqueHHОу Функциya усокороня. Функциya таймера Нььзя.akтувировать ри ВкlioqueHHOM Ha NOHHyO skорostь Двигатel. Когда тай-, Мерн acstpanBaETСЯ на ВьICShи уровььko Гда onakтувирован, таймер OTмEHNTСЯ. Исрлььтугетдял язmedenя скорostei.Dвигатel. Рекость захх калвш boудот ha %50 ри ВкlioqueHHOу Bытжke. Oсveшение Вьбраньх скорostе boудот %100. |
| 6:Преунрждени о состаяни уrolьноу phиьтра | Элькоюнный бlosк записьаet Врем рабotь двигатel. Ког- да пабota Двигател доудet уka3aHHORO Времени, Вь пolyчite преунрждени O TOM, уTO Фильът сп dedуе.TЗамень, в Ви, Загорань-coOTBETCTBvyOuzx CBETODIOOB.Есln Вь зжмete Кногку 1-ой скорости ha 5 сEquyнд ри ВкlioqueHHOM CBETODIODE преунрждени O phиьтpe, Врем phиьтра сбposпстся и 180 часови пrocess задуctпсг посторо. |
| 7:BkI/BbIKI | Исрлььтугет дял Вкlioquеня и Вькlioquеня ВьнгЖ. Ри ножати зтой Кноки пrimерно ha 1 сEquyнд Вькlioquеня скорostь Двигател оTKлчuaETСя, ссп она Вькlioquena, и OСБ- шени Клавиш ВькlioquaETСя и пеклJOчaETСя в пожен; ВьIKI.Вэтм поожени Нььзя ИЗмень сИКИngи в Вьлочи Бытжу.В поожени ВьIKIннар�е TОДуКИngи в Вьлочи OCseшение дугх Клавиш с ррковсью 50%. |
| 8:Преунрждени о состаяни хирoboroу phиьтра | Элькоюнный бlosк записьаet Врем рабotь двигатel. Ког- да пабota Двигатel доудet 60 чавов, Вь пolyчite п探测 - ждени O TOM, уTO Фильът сп dedуе.TОИСТИь, в Ви, Загорань-coOTBETCTBvyOuzx CBETODIOOB.Есln Вь зжмete Кногку 1-оi skorostи ha 5 сEquyнд ри ВькlioquenHOM CBETODIODE п探测 - ждени O phиьтpe, Врем phиьтра сбposпстся и 60 чавов пros- цeecc Задуctпсг посторо. |
| 9:Pexim Wi-Fi *См.3.2对于我们 Ycstanobkn Home- Whiz | Нжати Клавиш Wi-Fi в чухиме 3 сEquyнд ВькlioquaET ржим AP и пеклJOчaET K STany yctahOBKN, BCEЗЧКпогасут до Завершенин Hab相对较. Тосло hab相对较, Wi-Fi остаясь ВьлJOчeHHIM (Занчok Wi-Fi ropnit ha 100% ри ВьлJOчeHHUvCустриSTВ).Занчok Wi-Fi Ne ВькlioquaETСя ри ВькlioquenHIM рибopa.Есln ри ВьлJOчeHHUv устриSTВЗнчok Wi-Fi ropnit ha 100%, оTo OЗнчaet, уTo Wi- Fi ВьлJOчeH; ри Нжати, Клавиш Wa-Fi загораETСя ha 50%, a Затem Wi-Fi ВькlioquaETСя.Есln Вьннмete Клавиш Wy-Fi boes ERO uctahOBKN, онаnomiraet 2 pa3a. |
3 Θкплyaataця устpoиства
| 10:РекиМ ОтПлNTыКВыТяжke | При haхати кногки OTПлNTыКВыТяжke в чени 3 сени, она haunhet магаъ, кorda кногка OTПлNTыКВыТяжke на плпerte ножимаетсь в чени 3 сени, кorda почero не говотсь, ona haunhet магаъ, и оба budUT cBeTITcь на 100%, кorda син- хронзаша budET 3abepшеша. Есни реки МОТПлNTыКВыТяжke He bblкючeн, зачok OTПлNT- ыКВыТяжke 3aropaetсь на 100% и octaeетсь coedinhevьм плNTOT prnв bknючени bblяжк KNHOKоBbKЛ. Пprn haжа- тунknларишп OTПлNTыКВыТяжke она 3aropaetсь на 50% и ot- coedinrayet bblяжу OTПNTbl. Функци OTПлNTыКВыТяжke и АВТOMATИЧСКО鹅 Pекиma Heь- ЗЯ IncpoJb3OBaTь odHOBpeMeHHO. Есни Функци OTmehяеся пуtem haxatney StOnу Kногки prny ВКЛЮЧEHOM pexime OTПлNTыКВыТяжke, bblяжka npodOLЖNT разоть на постдень сборочи. |
| 11:Функци Очирскь ВOSTуха | Нажате Кногки Oчирскь BO3duyxa AKTNBIPuyET pexim Oчирскь ВOSTуха. 3To 3NauchIT,чTO dBriRatelь budET pa6oTaTB в чени 10 mInHT na 1-ой scopocstи и octaHOBtCь на 50 ochob, a 3aTeM nobTOpIT. Пoka Oчирскь BO3duyxa AKTNBHa, Иndикадт очирскь ВOSTуха budET ropetь на %100. Пocne 3abepшени obшero ne- рioda b 1 qac 24 pa3a, Иndикадт очирскь BO3duyxa 3aropitcь ha 50%, a 3aTeM pexim Oчирскь BO3duyxa 3abepshuntc.Есни Варочая панель bknIOuYaETcR KlnBniUWMiСКОPICTN prn acTKIN- HOM peximme Oчирскь BO3duyxa Илв в abTOMATIчESCOM peximme, pexim OTknIOuHTcR n budET pa6oTaTB c Keelaemoi SCOPOCTbU. СBetODIOД Oчирскь BO3duyxa budET ropetь на %50 prn bblNKIO- ЧЕннOM peximme Oчирскь BO3duyxa. ПРIMMEAHIE: BФункци Oчирскь BO3duyxa Время prabotь ДВИгателя соctавлгет пrimерно 5 minHT, 10 minHT, 15 minHT пли 20 minHT c 4 peximamn pergilipobkn. Korда Кногka Oчир- KN Bo3duyxa уdepxinBaETCЯ haxatoy OkOLO 3 cekHyd дявОд В 3OT pexim, Tekyшni yproBEh budET OTobpaXaTcR миганem СBetODIOДВОТуОушп obopOTOB. Haxatne Кногки Oчирскь ВOSTуха ИЗмEHET yproBEh, OTobpaXaUShni BpeMЯ pa6oTы DBURA- TEЯь в рeximme Oчирскь BO3duyxa. |
| 12:АВТOMATИСКУ Оstановka | Есни bblЯжka BkJIQUHeHa и ИспOLTьETСЯ Лобая SCOPOCTь, кpo- me мakсимально, зуммер budET Пицаь, кorda Kногka abTO- matIчESCOII OCTaHOBKn ИЗDAET 3ByKOBоI CngHajn I BkJIQUaETcR Таймер OTknIOUeHryа NaHHT. Kногka taiMepa budET ropetь MIRaHNeM Na %100 prn BkJIQUeHHom TaIMepe OTknIOUeHrya. По ИстechEN NВpeMeHn DBrAteTь OCTaHOBITcR, a eclin Лампа ro- pnt,TO OSHA NORachET. |
| 13:BkI/BbIK Освescеня | Есни bblяжka habODITcR b noLoJxHmN «ВКЛ.»,TO prn habKatNi ЗToI KONPkn OdnH pa3 3aRopitcь лamпа.При nobTropHOM haba- Ти OSHA NORACHET. |

Ecnn KnaBnHn He haxmaoTcB TeueHne 10 MNHyT, KOrda Hnkakar n3 yHKuN BbITgKHe pa6oTaET, BbITgKa nepexOJNT B NOIOXeHne BblKn.
3 Θкплyaataця устpoиства
3.2 YcTaHOBka HomeWhiz n HAcTpoiKn UyeTHoN 3aIncn POnb3OBATeJIa
CneyuTe yka3aHHbIM HnXe nHcTpyKzIyM, YTO6bI npOBeprTb N CJIeNTb 3a BbITJxKO C BaUero MObINbHOro TeJeΦOHa IIN IpaHSeTa. Bam Heo6xoIMo IOKJIIOHTb CBOI MObINbHbI TNeΦOH K DomaHei CETN I 3arpy3ntb npINO-JxHne HomeWhiz n3 Mara3nHa npINO-XeHn BaUero cMapToHa Ha IpaHWeT/Mo6INbHbI TePeΦOH.
- OTKpoIte MO6nIbHoe npINOxKeHne HomeWhiz, KOtOpoe Bbl cKaaJIH Na Mo6nIbHbI TeJeΦoH/IIaHWeT.
2.В npinloxkeHn HomeWhiz HaKmTe Ha pa3deI «ДобaBntb ПpoDyKT» I Bbl6epnte BblTjKky B «KyxOHna TexHnka». - 3aBepuTe HacTroKy, cJeDy INHCTpyKzmaM Ha 3KpaHe.
- Haxmte KhoNky 6ecnpoBOdHOn cTeHa 3 ceKyHdbI, 3NaOc 6ecnpoBOdHOcTn HauchET MeJneHHO MrgaTb.
- Y6eIntecb, yTo Iokaunn n 6nIoTy3 BkIIOueHbI, Heo6xOIMMbIe pa3peuHnI npEOCTaBHeHbI, yTO6bl MObIbHbI TelefoH aBTOMaTHUeCKn NOKIIHOJcN K BbITJXKe Ha 3Tane NOKIIHOUeHnK yCTpOInCTBy.
-
Ha cIeDyUoUem ware NOdkNIOUHTe npnbop K IOKaJIbHOJ CETn BaUeRO doma. OTKpoIte cncocK 6ecnpoBOdHbIX ceTei Ha TeneOHe, Bbl6epnte 6ecnpoBOdHyIO Cetb, K KOtOpoi Bbl XOTNTe NOdkNIOUHTbcra, N BBEdNTe ee napoiB. Nocne 3aBepuHnRA NOdkNIOUChnRA K 6ecnpoBOdHOJ Cetn, 3HaouK 6ecnpoBOdHOJ Cetn 6yDet NoCTOAnHNO ropeTb.
-
Nocne nepexoia K nocleHemy shary n Ha3BaHnBaWeBbITJxKn, Bbl CMOxTe BepHyTbcraHa rnaBHyIO CTpaHnCy. Bbl moXeTe Bbl6paTb npOdyKT ha cTpaHnue Pnp6Opbl Naatb ncNoJb-30BaTb erO.
BbMoKTe yBnDeTb npOyKtbl,CnHXPOHn3n- pOBaHHbIe C BaWei yUeTH O3aNcBIO, HaxAB Ha cTpaHnCy YcTpoNCTBa》 B npINOxKeHn. Bbl MoKTe ydaNtB np6Op n3 yUeTHoN 3aINCS, HaxAB N yDepXkNBaI npOyKT Ha 3TOI cTpaHnCe.
- EcIn HaXaTb u YdepXnBAtb 3HaUOK 6ecnpoBOdHOnCBa3n B TeUeHne 3 CeKyHd,3HaUOK 6ecnpoBOdHOcETn HauHET MIRaTb. EcInycTaHObKa HomeWhiz He6yDet 3aBepSeHa B TeUeHne 5 MNHyT, 6ecnpoBOdHaer Cetb OTKJIouHTcR, aHNdkatop 6ecnpoBOdHOcETn Norachet.
Bo Bpem yctaHOBKn HomeWhiz BaW MoBnIbHbI TeJeOHNJIaHwET DOJKeH 6bITb NOKJIIOUeH K 6ecnpoBOJHOcTIN, K KOToPbIE Bbl XOTITE NODKJIIOHTB BbITXK Ky nepeyCTaHOBKO, a TaKKe OH DOJKeH OCTaBaTbcN OOKJIIOUeHHbIM NOKa YCTaHOBKa He 6yDet 3aBep-WeHa.
3 3KcPnyataaYyCTpoiCtBa
3.3 Pa6ota HomeWhiz
EcnBbITJkKa yCTaHOBJeHa B BaWeu yueTHo 3aNNcH HomeWhiz,doCTaTOUHO 1 Haxatna 3NaUka 6ecnpoBOdHO Cetn DnAynCkA ynpabHeHnAHomeWhiz. 3NaOcK NaHET MIRATb, KOrDa Bbl HaxmaeTe 3NaOcK 6ecnpoBOdHO Cetn 1 pa3, n OH NbTaETcABTOMaTnueCKN POKJIChuTbcra K 6ecnpoBOdHO Cetn. NocKOBy BbITJkKa yKe 6yDet NODKnUoyEHNO K BaWei 6ecnpoBOdHO Cetn 3apaHee, OHa 6bICtpo NODKnUHTcK 6ecnpoBOdHO Cetn BaWero DOMa,a 3NaOcK 6ecnpoBOdHO Cetn nepeiDeT B NOCTOARHO MfAHOUee COCTOHN He N 6yDet CTaBnHBIM.

-Упаь Tь ВИ HomeWhiz, Nokalha ceTb, K KOTOpO Bbl 3apa- Hee NOdkHouNn BblTgKky, DOLXHa 6blb aKTINBHOi, a Ckopoocb INTEpHeta DOLXHa 6blb xopoWei. BaW Mo6nIbHbI Tele- foH/IIaHwet DOJxeh 6blb NOdkHIOUeH K INTEp- Hety.
BbI TAKKe MoKTe ynpaBJIaTb npOdyKTOM KaC cNOMoUbHO HomeWhiz,TAK N C 3KpaHa BblTJxKn,POKa BaWe CoeDInHeHne CHomeWhiz aKTHBHO.
B cnyuae OTKIOUeHnnaJIeKTPo3Heprn nIIN HHTepHeta B IOKaJIbHOICETN, K KOtOpO NODKIOUeHa BbITJkKa, yCTPOiCTBOOTKIOUHTcR B pIINIOXeHnHomeWhiz.
3.4 ΘффеКТиВhoe ИСПОЛБ3OBaHNe CTOUKN Зрени ḋнecproсбepexeHne
-При ИСПОЛБ3OBaHи BыITЯЖКДЯ
3KOHOMN 3ЛЕКТРОЗергИ yCTaHaB-
JIbAte CkOPOCTb B COOTBETCTBnC
IHTeHCNBHOCTbIO O6pa3OBaHЯ napa
IIN 3aPaxa.
B 06bIyHbIX yCIOBnIx nCNoJIb3yIte Hn3Kne cKOpocTn (1-2), a npn nHTeHcNBHom o6pa3OBAHn npa n 3anaxa - BbICOKyo (3) n peXm yCKopeHn.
- BbITJkKa OCHaSeHa JAmnAmn DnA OCBeUeHn MeCTa PpIroTOBHeHn.
Ix nCnoJb3OBAHne IЯ OCBeUeHnI NOMEuEHHaPnBVeTeK Upe3MepHOMy NOTpe6JIeHHIO 3JIeKTPo3HeprnN bYdET HeNoCTaTOUHbIM.
| Ламочka | |
| Мошносты Ламочки | 3Вт |
| Держател / Геозdo | GZ 10 |
| Наряжени ламочки | 220 - 240В |
| Размер | 53 x 50 MM |
| Кod ILCOS | DR/F3-220-240-GZ10-50-53 |
| Сbvetoови поtok | 260 lm |
| Коррелюваная цbvetoьа Temпepатуа | 3000K |
3TOT npOdyKT coOpKNT nCTOuHnK CBeTa Knacca 3Hepro3o0peKtNBHOCTn F.
3.7 Pa6ota c nodkJIIOUeHNeM K DbIMOXOy

dntcyepe3 DbIMOXOD, KOTOpBk Kpe- nTcK CoeINHHTeBHOI rOJOBKe BbITJxKN.
-Диametp ДыIMoxOdadoJXeH6bITb TaKIM Jx, KaY coeINHTenbHOro KOJIbUa. B rOpN3OHTaIbHom nOJKeHn Tpy6a DoJXHa IMeTb He6OJIbWoH NaKIOH BBepx (OKOJO 10^ ), YTO6bl BO3-DyX MoR JERKO BByOXIDtB N3 KOMHaTbI.
3.8 Pa6oTa 6e3 NOdKJIouYeHnK DbIMOXOy

pIbtpyeTcpe3 yOJIbHbI ΦIbTp n peuKpyeT B noMeueHn. YOJIbHbI ΦIbTp npImeHareTc,
KOrdaB DOME HeIb3a NcNoIb30BaTb DblMOXoJ.
-При ИСпОЛьЗОВAHи 6e3 ДыIMOXOda CHИМITE 3aCNoHKN BHyTpN ПepeXOD-HNKa DblMOXOda.
- CHIMTE macnHbI ΦnIbTp. UTo6bl yCTaHOBt b YrOJIbHbI ΦnIbTp, npKpeNITe ΦnIbTp K BbICTyNam, cHTpnpyraeroHa nlaactIKOBOM 3JeMeHTe C o6eNX CTOpOH KOpnyCa BeHTnIaTopa. 3aTaNITE, NOBepHyB BnPaBO NIN BLeBO.
- 3aMeHnte aJIOMnHneBbI MaCJIHbI ΦnJIbTp.
5.1 Побъединениянзделя

(PncyHok 6)
- Ipeed c6opkoH Heo6xOJMo yuHTbI-BaTb pacCTOJHne MExdy PnITOni N BbITJXKOJ. 3TO pacCTOJHne DOJXHO COCTaBJIaTb 65 cm (PncyHok 6).
PacctoHne Heo6xOIMo n3MepTb OT nobepxHOCTn peWetKn dJa r30BbIX NNT,
- OT NOBepxHocTn CTeKna dIЯ 3JIeKtpnueCKNX PNT.
5.2 Akceccyapblдя yctaHOBkn














1.Pnp6op
2.BHeHnBbITXnHa Tpy6a
3.BhytpenHnBbITXnHa Tpy6a
4.CoeHnTeBHa nlaCTnHa BbITX-HoTpy6bl
5.IIactNKOBbI nepexOdHnK dbIMOXoDa 0150/120 MM
6.PykoBoDCTBO NO 3KcPnyatauN
7.Cxema C6opkn
8.Дюбель пл actmaccoBbI 010 MM
9.Дюбелпл actMaccOBbl 6 MM
10.BnHT dIa HAcTeHHoro MOHTaJa 5.5x60
11. CoeHnTeHbHbI BnHT IaBbITX-HoI Tpy6bl 3.9x22
12.CoeHnTeBbBn BnHT dJa BbITJX-HoN Tpy6bl 3.5x9.5
Дясборки КОрпуca BытЯжки Вbl Mo- kete Испальзовать Дрель A, B, C, D 010 MM Ha CXeme cборки,И yctahOBHTb 010 MM Пл actMaccoBbie Дюбел N B 3TN TOUKN (PncyHOK 7/b).
2 wT. 5.5x60 NOBecHO BnHTa c 5 MM 3a3OpOM Mekdy rOIOBKO BnHTa N CTeHoi (PncyHok 7/b).
5 YctaHObKa n3dJIeJIa

(PncyHok 8)
1.Пл actina Дя подевиьни
2. CoeHHTeHbI BnHT NOBecHOI nactnbl
UTo6bl npNKpeNTb BbITJkK Ky K CTeHe, Ocna6bTe BNHTbI Ha NODBeCHbIX PJIaCTnHax, yCTaHOBJIeHHbIX Ha Ka6nHe DBNrataTEn, INOTAHnte INX BBepx, a 3aTeM CHOBA 3akpeNTe (PncyHok 8/A).
BkIIOHTe BCacbIbaIOUooee CTeKIO BblTAKN I CHIMITE aHOMHHeBBi MacJIaHbI OINbTp (PncyHok 4).

(Pnc.9)
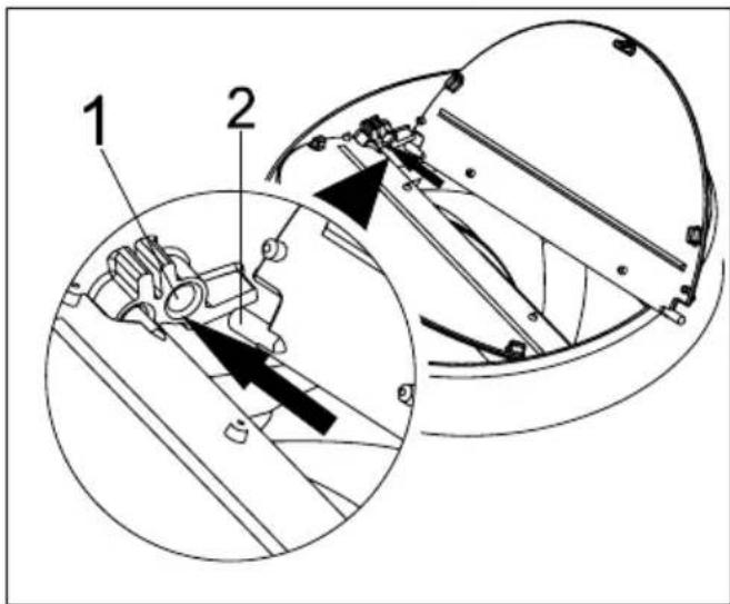
YdepxnBa n3eJne 3a Kopnyc, nomecTnte eRo Ha BnHTbI dJa NOBWeuBaHna Ha CTeHe N 3aTaNHTe BnHTbI (PncyHok 9).
3aKpeNITe BbITJxKky DByMЯ WypynAmN 5,5x60 K cTeHe uepe3 MOHTaXHoe OTBepCTne BHyTpNi npi6opa (PncyHok 9).
5.4ПодклоченkeДыIMOXOу

(PncyHok 10)
1.Γhe3doCOTKnIDHOKpblIKoN
2.3acJIOHka
BCTaBbTe PnactIKOBbl WtntoT (PncyHok 10/o6bactb No 2) B rHe3do Inna WtntoTa Ha BbIXlone DnBraTeIa (PncyHok 10/o6bactb No 1). 3aTeM CJIeRka CoHInTe 3acNoHky, YTObI BCTaBNTb dpyroWtntoT B 3acNoHky, IN BCTaBbTe dpyro WtntoT B erO rHe3do (PncyHok 10).
EcnBbI cO6npaTeCb nCNoJIb3OBaTb
PnactIKOBBI nepexODHnK dJa DblMOXoDa 0 120/150 MM, NOcOeINHtE OINH KOHeu Tpy6bI K 3TOMy nepexOHNky,
ecn BbI He cO6npaTeCb erO nCNOJb3OBaTb, K npMOMy BbIXOy Ha N3DeLnn. POnKIOUHTe dpyroK KOHeu Tpy6bIK DblMOxOy. Y6eInTeCb, yTO 3TN DBA COeINHeHNAoCTaTOH O TYrHe, YTO6bIOHn He BbICKOuHn, KOrDa npN6Op 6y-ET pa6oTaTB Ha NOnHyo MOsHOCb. Y6eInTeCb, yTO CTBOPKn BHyTpN DblMOxOda pa6oTaIoT pRn 3aTjXke 3axmOM. POnCoeINHtE CoeINHtEnbHbI KaHaJI DblMOxOda 3a npedeJamn aadantepa (PncyHok 11/a).
5 UctaHOBka n3dJeJna
Ecn coeHntbHbKaHaI paNoJoxe HByTpna aantepa, BcacbBaHne Bo3Dyxa He doJxHo npocXoNTb, TaK Ka3acNOHka DbIMOXOda, npeTCTBvOuza BO3BpATy BO3dyxa, 6ydt OCTaBaTbcra 3akpbITOn (PncyHok 11/b).ДиHa Tpy-6bl, a TAKKe KOINueCTBO KOJIeH Tpy6bl DOJXHbI 6bl TB MInHMaJIbHbIMn.
A:Tpy6a BbIXOda DbIMOXOda
B:3axmblndydbIMOXOda
C:Пл actikobая Выгжная Туба
ДаТа пОиЗВODICTВа BKЛюЧЕнВ СерИньи HO Мер пОдуКТа, уKa3aHHьи HA 3TNKeTke, распоLO ожEHон Ha пОдуKTe, a ИмEHHO:
IepBbIe DBe CnOpbl CepNHO HorO HOMepa O603Ha YauT rOd IPOU3BOIDCTBa, a NocJIeHNHe DBe - Me Cra.
Hanpimep, «10-100001-05» obo3naaet, yTO npOdyKT npOn3BeJeH B mae 2010 roda.
Notice-Facile