4556 - Radio-réveil ELTA - Notice d'utilisation et mode d'emploi gratuit
Retrouvez gratuitement la notice de l'appareil 4556 ELTA au format PDF.
| Caractéristiques | Détails |
|---|---|
| Type de produit | Radio-réveil |
| Alimentation | Secteur (adaptateur inclus) et batterie de secours |
| Fonctionnalités audio | Réception FM avec réglage de la fréquence |
| Affichage | Écran LED avec luminosité réglable |
| Réveil | Fonction alarme avec plusieurs options de sonnerie |
| Utilisation | Facilité d'utilisation avec boutons de réglage intuitifs |
| Maintenance | Nettoyer régulièrement avec un chiffon doux, éviter l'humidité |
| Sécurité | Ne pas exposer à l'eau, utiliser uniquement avec l'adaptateur fourni |
| Dimensions | Compact, idéal pour les tables de nuit |
| Poids | Léger, facile à déplacer |
| Garantie | Garantie limitée de 2 ans |
FOIRE AUX QUESTIONS - 4556 ELTA
Questions des utilisateurs sur 4556 ELTA
0 question sur cet appareil. Repondez a celles que vous connaissez ou posez la votre.
Poser une nouvelle question sur cet appareil
Téléchargez la notice de votre Radio-réveil au format PDF gratuitement ! Retrouvez votre notice 4556 - ELTA et reprennez votre appareil électronique en main. Sur cette page sont publiés tous les documents nécessaires à l'utilisation de votre appareil 4556 de la marque ELTA.
MODE D'EMPLOI 4556 ELTA

Le voyant lumineux, inscrit dans un triangle équillatéral et dont le symbole est une flèche, avertit le consommateur d'une 'dangereuse tension' non isolée dans le boîtier de l'article, qui pourrait avoir une amplitude suffisante pour causer une électrocution.
ATTENTION

Le point d'exclamation à l'intérieur d'un triangle équilatéral avertit le consommateur de la présence d'instructions importantes concernant le fonctionnement et l'entretien (dépannage) dans le mode d'emploi de l'appareil.
MODE D'EMPLOI

text_image
9 10 12 14 16 13 1 4 3
text_image
17 6 9LEAT 19 7 5
text_image
15 11 2 8
-
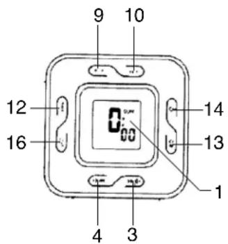
AFFICHEUR LCD 11. CADRAN DE L'ECHELLE AVEC AIGUILLE
-
REGLAGE DE BANDE (FM/AM) 12. REGLAGE DE L'HORLOGE
-
BOUTON POUR AUGMENTER LE SON 13. BOUTON SELECTEUR DE REVEIL 1/ REVEIL 2/ REVEIL 1+2
-
BOUTON POUR BAISSER LE SON 14. BOUTON ALLUMER/ETEINDRE REVEIL
-
FIL D'ALIMENTATION 15. PRISE D'ENTREE AUDIO
-
BOITIER DES PILES 16. BOUTON REPOS/SOMMEIL
-
ANTENNE FM
-
BOUTON DE REINITIALISATION
-
BOUTON DES REGLAGES
-
SUPPORT DE L'APPAREIL
-
BOUTON REGLAGE DU REVEIL 2
-
ETIQUETTE DE COTE (AU DOS DE L'APPAREIL
-
BOUTON REGLAGE DU REVEIL 1
ALIMENTATION
Branchez le fil d'alimentation de l'appareil sur une prise du secteur.
Puis appuyez sur le bouton réinitialiser (17) à l'aide d'un stylo à bille.
Cet appareil est équipé d'un système de batterie de recharge, celui-ci nécessite une pile plate de Lithium 3 V.
Introduisez la pile dans son boîtier.
Assurez-vous que les extrémités positive et négative (+ et -) soient placées en face des terminaux qui correspondent à l'intérieur du boîtier.
AVIS :
S'il survenait une coupure de courant, l'horloge commencerait automatiquement à fonctionner sur piles et l'heure ainsi que le réveil resteraient intacts.
Lorsque le courant revient sur le secteur, l'appareil s'alimentera de nouveau sur le secteur.
Remarque sur le DES
En cas de problèmes de fonctionnement à cause d'un déchargement électrostatique, veuillez réinitialiser l'appareil (rebranchez l'appareil lorsque cela est nécessaire) pour que celui fonctionne normalement.
ATTENTION
Débranchez du secteur lorsque vous ne l'utilisez pas.
Pour éviter les risques d'électrocution, ne pas détachez le panneau couvrant l'appareil.
A l'intérieur, aucun élément ne peut être modifié ou réparé par l'utilisateur.
Pour éviter de provoquer un feu ou une électrocution, ne pas exposer l'appareil à la pluie ou l'humidité.
La prise sur le secteur est un moyen de débrancher l'appareil et doit être accessible en tout temps.

text_image
MODE HORLOGE DIGITALE JOUR MODE SOMMEIL ALLUME REVEIL 1, 2 RADIO REVEIL 1, 2 SONNERIE MODE HORLOGE ANALOGUE SOMMEIL ALLUMER REVEIL 1, 2 RADIO MODE HORLOGE DIGITALEAVIS : REGLAGE DE L'HEURE, REGLAGE DU REVEIL/ REGLAGE DE L'OPTION SOMMEIL SEULEMENT EN MODE HORLOGE DIGITALE.
POUR REGLER L'APPAREIL OU REINITIALISER L'HEURE ACTUELLE

text_image
1 2 3 SUN 0:00 REGLAGE DE L'HORLOGE- Appuyez et maintenez appuyé le bouton du réglage de l'heure (12) (position 1) pendant deux secondes et le jour clignotera.
- Appuyez sur le bouton pour augmenter le son ▶▶◀(3) et le bouton pour baisser le son ▶◀◀(4) (position
2) pour régler la date. - Appuyez sur le bouton réglage de l'heure (12) (position 1), les mots 24 heures/ 12 heures clignoteront.
- Appuyez sur le bouton pour augmenter le son ▶▶◀+ (3) et le bouton pour baisser le son ▶◀◀ (4) (position 2) les chiffres des heures clignoteront.
- Appuyez sur le bouton réglage de l'heure (12) (position 1), l'heure clignotera.
- Appuyez sur le bouton pour augmenter le son ▷▶◀+ (3) et le bouton pour baisser le son ▷◀◀ (4) (position 2) pour régler l'heure.
- Appuyez sur le bouton réglage de l'heure (12) (position 1), les minutes clignoteront.
- Appuyez sur le bouton pour augmenter le son ▶◀◀+(3) et le bouton pour baisser le son ▶◀◀(4) (position 2) pour régler les minutes.
REGLER LE REVEIL 1

text_image
MODE REGLAGE DU REVEIL 1- Appuyez sur le bouton réglage du réveil 1 (10) (position 1) pour vous mettre en mode réglage.
- Appuyez et maintenez appuyé le bouton réglage du réveil 1 (10) (position 1) pendant deux secondes et les jours clignoteront (Diagramme 1).
- Appuyez sur le bouton pour augmenter le son ▶◀◀+(3) et le bouton pour baisser le son ▶◀◀(4) (position 2) pour régler la date.
- Appuyez sur le bouton réglage du réveil 1 (10) (position 1), les heures clignoteront. Appuyez sur le bouton pour augmenter le son ▶▶◀+ (3) et le bouton pour baisser le son ▶◀◀(4) (position 2) pour régler l'heure.
- Appuyez sur le bouton réglage du réveil 1 (10) (position 1), les minutes clignoteront. Appuyez sur le bouton pour augmenter le son ▷▶◀+ (3) et le bouton pour baisser le son ▷◀◀ (4) (position 2) pour régler les minutes.
- Appuyez sur le bouton réglage du réveil 1 (10) (position 1), la cloche du réveil 1 clignotera. Appuyez sur le bouton pour augmenter le son ▶▶◀+ (3) et le bouton pour baisser le son ▶◀◀(4) (position 2) pour choisir la sonnerie du réveil 1 ▶ et le réveil radio ▶.
DIAGRAMME 1

text_image
MON TUE WED SUN 1:00 THU FRI SATMODE REVEIL 1 EN SEMAINE (LUNDI AU DIMANCHE)

text_image
MON TUE WED 7:10 AL1 THU FRIMODE REVEIL 1 EN SEMAINE (LUNDI AU VENDREDI)

- Appuyez sur le bouton réglage du réveil 1 (10) (position 1) pour vous mettre en mode réglage.
- Appuyez et maintenez appuyé le bouton réglage du réveil 1 (10) (position 1) pendant deux secondes et les jours clignoteront (Diagramme 1).
- Appuyez sur le bouton pour augmenter le son ▶▶◀+ (3) et le bouton pour baisser le son ▶◀◀ (4) (position 2) pour régler la date.
- Appuyez sur le bouton réglage du réveil 1 (10) (position 1), les heures clignoteront. Appuyez sur le bouton pour augmenter le son ▶▶◀+ (3) et le bouton pour baisser le son ▶◀◀ (4) (position 2) pour régler l'heure.
- Appuyez sur le bouton réglage du réveil 1 (10) (position 1), les minutes clignoteront. Appuyez sur le bouton pour augmenter le son ▶◀◀ + (3) et le bouton pour baisser le son ▶◀◀ (4) (position 2) pour régler les minutes.
- Appuyez sur le bouton réglage du réveil 1 (10) (position 1), la cloche du réveil 1 clignotera. Appuyez sur le bouton pour augmenter le son ▶▶◀+ (3) et le bouton pour baisser le son ▶◀◀(4) (position 2) pour choisir la sonnerie du réveil 1 ▶ et le réveil radio ▶.
DIAGRAMME 2

text_image
MON TUE WED SUN 1:00 AL 1 THU FRI SATMODE REVEIL 1 EN SEMAINE (LUNDI AU DIMANCHE)

text_image
MON TUE WED 7:10 AL1 00 THU FRIMODE REVEIL 1 EN SEMAINE (LUNDI AU VENDREDI)

text_image
SUN 7:00 AL1 SATRéglage du type de réveil et allumer/éteindre
Appuyez sur le bouton réveil 1/ réveil 2/ réveil 1+2 (13) pour choisir entre la sonnerie ou la radio (Diagramme 3).
DUREE DE LA SONNERIE DU REVEIL
La sonnerie ou la radio continueront de sonner pendant une heure si vous n'appuyez sur aucune touche. Puis, le réveil s'arrêtera automatiquement et se déclanchera le jour suivant à la même heure.
ARRETER LE REVEIL
Appuyez sur le bouton allumer/éteindre (14) pour arrêter le réveil et cela annulera aussi la fonction repos.
DIAGRAMME 4

text_image
REGLAGE DE L'HEURE DE SOMMEILPour mettre en marche la fonction sommeil
Lorsque la radio est allumée, appuyez sur le bouton repos/sommeil (16). Le symbole « sommeil » et « 90 » s'afficheront sur l'écran. A chaque fois que vous appuyez sur le bouton repos/sommeil (16), la minuterie diminue de deux secondes (Diagramme 4).
AVIS : Appuyez sur le bouton allumer/éteindre (14) pour éteindre la fonction sommeil.
Fonction repos :
- Appuyez sur le bouton repos/sommeil (16) lorsque le réveil sonne pour déclencher la fonction repos et mettre le réveil en veille (la sonnerie ou la radio s'arrêteront).
- Les intervalles de la fonction repos sont de 9 minutes.
UTILISATION DU SOURCE AUDIO
- Utilisez un câble connecteur pour rattacher la source audio sur l'appareil.
- Réglez le son de la source audio pour améliorer la qualité du son.
AVIS : NE PAS régler le son de la source audio trop haut pour éviter de surcharger l'appareil.
Le son de l'appareil sera remplacé lorsque le PRISE D'ENTREE AUDIO (15) est branchée sur une autre source audio. Le son reviendra lorsque vous débranchez le câble.
Si la fonction « entrée audio » est utilisée et que vous écoutez de la musique, la sonnerie se fera entendre à l'heure choisie, malgré la musique.
Pour arrêter le son, appuyez simplement sur le bouton allumer/éteindre (14).
MODE D'EMPLOI DE LA RADIO
- Appuyez sur le bouton allumer/éteindre (14) pour allumer la radio.
- Veuillez choisir AM ou FM en utilisant le bouton de changement de bande (2).
- Choisissez la station à l'aide du bouton de réglage.
- Appuyez sur le bouton de réglage du son (3)/(4) pour ajuster le son à votre guise.
- Appuyez sur le bouton allumer/éteindre (14) pour éteindre la radio.
Avis :
- Lorsque vous écoutez une chaîne radio AM, veuillez utiliser l'antenne directionnelle interne. Tournez la radio pour améliorer la qualité de la réception.
- Assurez-vous à ce que l'antenne FM soit complètement déroulée pendant que vous écoutez une chaîne FM.
REINITIALISER
- Le bouton de réinitialisation (17) est situé en dessous de l'appareil.
- Utilisez un stylo à bille pour l'appuyer à chaque fois que vous changez les piles ou lorsque l'appareil ne fonctionne pas normalement.
- Ceci remettra tous les réglages à zéro et vous perdrez toute information mémorisée (les réglages du réveil et de l'horloge).
ATTENTION
- Aucun objet enflammé, par exemple une bougie, ne doit être placée sur l'appareil.
- Ne pas placé sur une étagère fermée ou des étalages mal aérés.
- Pour éviter les risques de feu ou d'électrocution, ne pas exposer l'appareil à la pluie ni à l'humidité.
- Cet appareil ne doit pas être exposé directement au soleil, aux températures trop basses ou trop hautes, à l'humidité, aux vibrations ou aux endroits poussièreux.
- Pour nettoyer la surface de l'appareil, ne pas utiliser d'abrasif, de benzène, de diluant, ou autres produits nettoyants. Pour le nettoyer, veuillez l'essuyer à l'aide d'un savon doux et d'un chiffon propre et doux.
- Ne jamais essayer d'introduire des fils, des aiguilles ou autres objets de ce genre dans les bouches d'aération ou orifices de l'appareil.
DONNEES TECHNIQUES
Fréquence : AM 525 - 1615 kHz
FM 87,5 - 108 MHz
Puissance : 280 mW
Impédance des enceintes : 8 ohms
Piles de recharge : 1 x CR2032, plate de Lithium 3 V (non fournie)
Alimentation : AC 230V - 50 Hz, 5 watts
ATTENTION : POUR VOTRE SECURITE
Veuillez vous assurez que le voltage correspondant avant de brancher l'appareil sur le secteur. Sinon, cela pourrait endommager l'appareil.
Mise en garde au sujet des coulées :
Cet appareil ne doit pas être exposé à des liquides dégoulinant ou des éclaboussures et tout appareil contenant de l'eau ne doit jamais être placé sur l'appareil.
Mise en garde au sujet de l'aération :
Les bouches d'aérations du produit ne seront empêchées de fonctionner normalement.
DIAGRAMME 1 DIAGRAMME 2

text_image
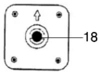
VIS MURALES ET POTEAUX
text_image
FLECHE DU DESSUS VIS VIS VIS VIS- Choisissez l'endroit ou vous désirez accrocher l'horloge.
- Sur le mur, fixez de manière sure la monture murale à l'aide de quatre vis et les poteaux.
- Placez l'appareil sur la monture et assurez-vous que le fil d'alimentation et l'antenne sont séparément en dehors de la monture.
- Resserrez les vis de la monture en bas de l'appareil. (Diagramme 3).
- Vérifiez de nouveau que la monture et l'appareil soit bien en place sur le mur.
DIAGRAMME 3

text_image
ATTACHE MURALE MURPLUS D'INFORMATIONS

Prenez garde aux petites pièces et piles, ne les avalez pas. Cela pourrait être dangereux pour votre santé et mener à l'étouffement. Prétez l'attention la plus élevée pour garder les petits appareils et piles hors de la portée des enfants.

Conseil important pour la protection de l'ouïe
Attention:
Nous tenons à votre ouïe autant que vous.
Par conséquent, prenez vos précautions lors de l'usage de cet appareil.
Dans le cas où des enfants utilisent l'appareil, assurez-vous que le volume n'est pas sur la position élevée.
Attention! Les volumes élevés peuvent irrémédiablement endommager l'ouïe des enfants.

NE JAMAIS laisser une personne ou surtout un enfant mettre des objets dans les trous, fentes ou autres ouvertures de l'appareil. Cela pourrait entraîner la mort par décharge électrique. L'appareil doit être ouvert uniquement par un assistant qualifié.

Veuillez utiliser l'appareil uniquement aux fins pour lesquelles il a été créé.
Cet appareil est exclusivement destiné à l'usage dans des locaux privés ou à usage commercial.

Veuillez conserver ce mode d'emploi pour utilisation ultérieure.

PLUS D'INFORMATIONS
Indications relatives à la protection de l'environnement
Au terme de sa durée de vie, ce produit ne doit pas être éliminé avec les ordures ménagères mais doit être remis à un point de collecte destiné au recyclage des appareils électriques et électroniques. Le symbole figurant sur le produit, la notice d'utilisation ou l'emballage vous indique cela.
Les matériaux sont recyclables conformément à leur marquage. Vous apportez une large contribution à la protection de l'environnement par le biais du recyclage, de la réutilisation matérielle ou par les autres formes de réutilisation des appareils usagés.
Veuillez vous adresser à la municipalité pour connaître la déchetterie compétente.

Ne gênez pas la ventilation du dispositif. Assurez-vous que rideaux, journaux, couvertures ou meubles ne bloquent en aucun cas les fentes de ventilation de l'appareil. La ventilation doit être assurée à tout moment! La surchauffe peut causer à l'appareil des dommages sérieux et réduire sa performance et sa durée de vie.

La chaleur et sources de chaleur
Veuillez ne pas exposer l'appareil à la lumière directe (du soleil). Assurez-vous que l'appareil n'est pas en contact direct avec des sources de chaleur telles qu'un chauffage ou un feu. Assurez-vous que les fentes d'aération de l'appareil ne sont pas fermées.

Humidité et nettoyage
L'appareil n'est pas étanche! Ne plongez pas l'appareil dans l'eau. Evitez son contact avec l'eau. De l'eau dans l'appareil pourrait sérieusement l'endommager. N'employez pas de détergents contenant de l'alcool, de l'ammoniaque, du benzène ou des abrasifs. Ces produits pourraient endommager votre appareil. Pour nettoyer l'appareil, utilisez un chiffon doux et humide. oder Schleifmittel enthalten, da diese den Player beschädigen können.
Notice Facile