4556 - Radiowekker ELTA - Gratis gebruiksaanwijzing en handleiding
Vind de handleiding van het apparaat gratis 4556 ELTA in PDF-formaat.
Gebruikersvragen over 4556 ELTA
0 vraag over dit apparaat. Beantwoord die u kent of stel uw eigen vraag.
Stel een nieuwe vraag over dit apparaat
Download de handleiding voor uw Radiowekker in PDF-formaat gratis! Vind uw handleiding 4556 - ELTA en neem uw elektronisch apparaat weer in handen. Op deze pagina staan alle documenten die nodig zijn voor het gebruik van uw apparaat. 4556 van het merk ELTA.
GEBRUIKSAANWIJZING 4556 ELTA

Het driehoekige symbool met
bliksemschicht wijst de gebruiker
erop dat binnenin deze eenheid
een gevaarlijke niet gefïsoleerde
spanning aanwezig is die tot een
elektrische schok kan leiden.
OPGELET
RISICO OP EEN GEVAARLIJKE SCHOK NIET OPENEN
OPGELET: OM HET RISICO OP EEN ELEKTRISCHE SCHOK TE VERMIJDEN, DE VOOR- OF ACHTERKANT NIET VERWIJDEREN. BINNENIN BEVINDEN ZICH GEEN DELEN DIE DOOR DE GEBRUIKER ONDERHOUDEN KUNNEN WORDEN. DOE EEN BEROEP OP EEN ERKENDE EN BEVOEGDE TECHNISCHE DIENST

Het driehoekige symbool met uitroepteken wijst de gebruiker erop dat er belangrijke instructies betreffende het gebruik en het onderhoud opgenomen zijn in de handleiding bij deze eenheid.
GEBRUIKSAANWIJZING

text_image
9 10 12 14 16 13 4 3 1
text_image
17 6 PILLIAT 19 7 5
text_image
15 11 2 8
- LCD SCHERM 11. FREQUENTIESCHAAL EN -WIJZER
- FREQUENTIESCHAKELAAR (FM/AM) 12. TIJDSINSTELLINGSKNOP
- VOLUMEVERHOGINGSKNOP 13. WEKKER 1 / WEKKER 2 / WEKKER 1+2
INSTELLINGSKNOP - VOLUMEVERLAGINGSKNOP 14. AAN/UIT KNOP, WEKKER UIT KNOP
- AC DRAAD 15. INGANG EXTERNE GELUIDSBRON
- BATTERIJENCOMPARTIMENT 16. SNOOZE / SLAAP KNOP
- FM ANTENNEDRAAD 17. RESETKNOP
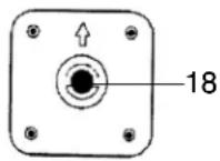
- FREQUENTIEZOEKKNOP 18. APPARAATCONSOLE
- WEKKER 2 INSTELLINGSKNOP 19. TYPELABEL (VASTGEMAAKT AAN DE ACHTERKANT
- WEKKER 1 INSTELLINGSKNOP VAN HET APPARAAT)
STROOMVOORZIENING
Doe de stekker in een normaal stopcontact.
Druk de reset knop (17) in met een balpen.
Dit apparaat is voorzien van batterijbijstand, dit heeft een 3V Flat Lithium batterij nodig.
Doe de batterij in het batterijencompartiment
Zorg ervoor dat de positieve en negatieve (+ en -) uiteinden van de batterijen overeenkomen met de zelfde uiteinden die zijn aangegeven op de plaat van het batterijencompartiment.
ONTHOUD:
In geval van disfunctioneren vanwege elektrostatische ontlading hoeft u slechts het product te resetten om normaal gebruik te hervatten (opnieuw aansluiten kan vereist zijn).
WAARSCHUWING
Haal de stekker uit het stopcontact wanneer niet in gebruik.
Om het risico van elektrische schokken te voorkomen, niet de kap van het apparaat verwijderen.
Er zijn geen bruikbare voorwerpen binnenin.
Om brand- of schokgevaar te voorkomen, het apparaat niet blootstellen aan regen of vocht.
De stekker wordt gebruikt om het apparaat uit te zetten, dit is altijd bruikbaar.

text_image
DIGITALE WEKKERSTAND DAG ALARM 1,2 WEKKER - BEL ALARM 1,2 WEKKERRADIOL SLAAPSTAND AAN ANALOGE WEKKERSTAND SLAAPSTAND AAN ALARM 1,2 WEKKER - BEL ALARM 1,2 WEKKERRADIO DIGITALE WEKKERSTANDONTHOUD: TIJDSINSTELLING, WEKKERINSTELLING EN SLAAPINSTELLING ALLEEN IN DE DIGITALE TIJDSSTAND
INSTELLEN OF HERINSTELLEN VAN DE TIJD

text_image
1 2 3 SUN 0:00 KLOK-INSTELLINGSMODUS- Druk de tijdsinstelling knop (12) (positie 1) 2 seconden in, de dag knippert.
- Druk de volumeverhoging knop ▶▶◀+ (3) en de volumeverlaging knop ▶◀◀ (4) (positie 2) in om de dag in te stellen.
- Druk de tijdsinstelling knop (12) (positie 1) in, 24 uur / 12 uur knippert.
- Druk de volumeverhoging knop ▶▶◀+ (3) (positie 3) en volumeverlaging knop▶◀◀ (4) (positie 2) in, uren knipperen.
- Druk de tijdsinstelling knop (12) (positie 1), uren knipperen.
- Druk de volumeverhoging knop ▶▶◀+ (3) (positie 3) en volumeverlaging knop▶◀◀ (4) (positie 2) om het uur in te stellen.
- Druk de tijdsinstelling knop (12) (positie 1) in, minuten knipperen.
- Druk de volumeverhoging knop ▶▶◀+ (3) (positie 3) en volumeverlaging knop ▶◀◀ (4) (positie 2) om de minuten in te stellen.
WEKKER 1 INSTELLEN

text_image
1 2 3 MON TUE WED PM SUN 0 0 0 THU FRI SAT WEKKER 1 INSTELLINGSMODUS- Druk de wekker 1 instellingsknop (10) (positie 1) om in het wekker 1 instellingsmenu te komen.
- Druk de wekker 1 instellingsknop (10) (positie 1) 2 seconden in, dag knippert. (Diagram 1)
- Druk de volumeverhoging knop ▶▶◀+ (3) (positie 3) en de volumeverlaging knop ▶◀◀ (4) (positie 2) in om de dag in te stellen.
- Druk de wekker 1 instellingsknop (10) positie 1) in, uren knipperen.
Druk de volumeverhoging knop▶▶▶+(3) (positie 3) en de volumeverlaging knop▶◀◀ (4) (positie 2) in om de uren in te stellen.
- Druk de wekker 1 instellingsknop (10) (positie 1) in, minuten knipperen.
Druk de volumeverhoging knop ▶▶◀ + (3) (positie 3) en de volumeverlaging knop ▶◀◀ (4) (positie 2) in om de minuten in te stellen.
- Druk de wekker 1 instellingsknop (10) (positie 1) in, wekker 1 bel knippert.
Druk de volumeverhoging knop ▶▶◀+ (3) (positie 3) en volumeverlaging knop ▶◀◀ (4) (positie 2) in, om wekker 1 ▶ bel en ▶ wekkerradio in te stellen.
DIAGRAM 1

text_image
MON TUE WED SUN 1:00 THU FRI SATWEEKEND WEKKER 1 INSTELLINGSMODUS (MA - ZO)

text_image
MON TUE WED 7:10 AL1 THU FRIWEEKEND WEKKER 1 INSTELLINGSMODUS (MA - VR)

Instelling weksignaal en wekker aan/uit
Druk wekker 1 / wekker 2 / wekker 1+2 instellingsknop (13) in om het weksignaal in te stellen (Diagram 3).
DUUR VAN HET WEKSIGNAAL
Het belsignaal of de wekkerradio zal één uur lang afgaan wanneer niet aangeraakt. Het alarm stopt dan automatisch en zal de volgende dag op de zelfde tijd afgaan.
STOPPEN VAN HET WEKSIGNAAL
Druk de aan/uitknop (14) in om het gaande signaal te stoppen, dit schakelt ook de snooze functie uit.
DIAGRAM 4

text_image
SLAAPSTANDMODUS 90°Activeren van de slaapfunctie
Indien de radio aan staat, druk de snooze/slaapknop (16) in, slaap '90' staat dan op het scherm, met de 2 seconden getallen. Verminder de slaaptimer vanaf 90 minuten door te drukken op de snooze/slaapknop (16).
ONTHOUD: Druk de aan/uitknop (14) in om de slaapfunctie uit te zetten.
Snooze-functie
- Druk de snooze/slaapknop (16) in om de snooze functie te activeren (het belsignaal of de radio zal stoppen) wanneer wekker afgaat.
- Snooze interval is 9 minutes.
WERKEN MET EEN EXTERNE GELUIDSBRON
- Gebruik een verbindingskabel om de bron en de wekkerradio samen te voegen.
- Verander het volume van de bron om een beter versterkingseffect te krijgen.
OPMERKING: Zet het volume bij de bron NIET te hoog om overbelasting te voorkomen.
Het signaal van de wekkerradio wordt vervangen wanneer de Ingang Externe Geluidsbron (AUDIO IN) (15) verbinding heeft gemaakt met een andere geluidsbron.
Het normale signaal wordt hervat wanneer de verbindingskabel uit de ingang wordt gehaald.
Wanneer de 'audio in'-functie in gebruik is en muziek speelt, zal het normale wekgeluid zich mengen met de muziek op de vooringestelde wektijd.
Om het geluid te stoppen, slechts de aan/uitknop (14) indrukken.
GEBRUIK RADIO
- Druk de aan/uitknop (14) in om de radio aan te zetten.
- Kies het AM- of FM-frequentiebereik, door de schakelaar hiervoor (2) te gebruiken.
- Kies de zender door de frequentiesoek knop (8) te gebruiken.
- Gebruik de volumeknoppen (3)/(4) om het volume op het gewenste niveau te brengen.
- Gebruik de aan/uitknop (14) om de radio uit te zetten.
Onthoud:
- Het AM- frequentiebereik gebruikt een interne antenne. Draai de radio voor de beste ontvangst.
- Zorg dat de FM- draadantenne (7) compleet is uitgerold en zo lang mogelijk is voor FM- ontvangst.
RESET
- De reset knop (17) is geplaatst aan de onderkant van het apparaat.
- Gebruik een balpen om de knop in te drukken wanneer u de batterijen vervangt, of wanneer het apparaat niet werkt als verwacht.
- Dit brengt alle instellingen terug naar de standaardinstellingen, en u verliest alle opgeslagen data (wekkeren klokinstellingen).
ATTENTIE
- Zet geen open vuurbronnen, zoals brandende kaarsen, op het apparaat.
- Plaats het apparaat niet in gesloten kasten of stellages zonder goede ventilatie.
- Om brand- en schokgevaar tegen te gaan, stelt u het apparaat niet bloot aan regen of elk ander type vocht.
- Het is afgeraden het apparaat bloot te stellen aan direct zonlicht, zeer hoge of lage temperaturen, vocht, trillingen, of het te plaatsen in een stoffige omgeving.
- Gebruik geen schuurmiddel, benzeen, thinner of andere oplosmiddelen om de oppervlakken van het apparaat schoon te maken. Om het schoon te maken, veeg het af met een milde, niet-schurend wasmiddel en een schone zachte doek.
- Probeer nooit om draden, pinnen of andere vergelijkbare objecten in de gaten en openingen van het apparaat te stoppen.
SPECIFICATIES
Frequentiebereik: AM 525 - 1615 kHz
FM 87,5 - 108 MHz
Uitgaande kracht: 280 mW
Weerstand speaker: 8 ohm
Batterijbijstand: 1 x CR2032, 3V Flat Lithium (niet bijgevoegd)
Stroombron: AC 230 V \~ 50 Hz, 5 Watt
ATTENTIE: VOOR VEILIG GEBRUIK
Kiest u alstublieft het correcte voltage voordat u de stekker inplugt in het stopcontact. Zo niet, dan kan het schade veroorzaken aan het apparaat.
Waarschuwing voor druppelen:
Dit product mag niet worden blootgesteld aan druppels of spatten. Objecten, gevuld met vloeistoffen, als vazen, mogen niet op het product worden geplaatst.
Waarschuwing t.b.v. ventilatie:
De ventilatie van het product mag niet worden tegengewerkt tijdens gebruik.
DIAGRAM 1 DIAGRAM 2

text_image
MUUR SCHROEF EN VERBINDINGEN
- Kies de gewenste positie op de muur om de wekkerradio op te hangen.
- Hang de muurbeugel op door 4 schroeven en verbindingen stevig in de muur vast te zetten.
- Plaats het apparaat op de beugel en wee ser zeker van dat de AC-draad en de FM-Antenne gescheiden en buiten de beugel zijn.
- Schroef de beugelschroef vaster in de onderkant van het apparaat.
- Controleer of de muurbeugel en het apparaat stevig aan de muur hangen.
DIAGRAM 3

text_image
MUURBEUGEL MUURBIJKOMENDE INFORMATIE

Let op bij kleine onderdelen en batterijen, niet doorslikken, dit kan tot ernstige schade of verstikking leiden. Let er in het bijzonder bij kinderen op dat kleine onderdelen en batterijen buiten hun bereik zijn.

Belangrijk advies omtrent het gehoor
Opgelet:
U geeft om uw gehoor, wij doen dat ook.
Wees daarom voorzichtig tijdens het gebruik van dit apparaat.
Onze aanbeveling: Vermijd hard geluid.
In het geval het apparaat door kinderen wordt gebruikt, zorg ervoor dat het volume niet te hard staat.
Opgelet!
Hard geluid kan onherstelbare schade aan het gehoor van een kind veroorzaken.

Laat NOOIT personen, in het bijzonder kinderen, voorwerpen in de gaten, schachten of andere openingen van de behuizing steken; dit kan een dodelijke elektrische schok tot gevolg hebben. De behuizing van het apparaat mag slechts door daartoe gekwalificeerde vaklui geopend worden.

Gebruik het apparaat alleen voor het doel waarvoor het is bestemd.
Het apparaat is uitsluitend bedoeld voor gebruik in huishoudelijke en zakelijke omgevingen.

Gelieve deze gebruiksaanwijzing zorgvuldig te bewaren voor later gebruik.

BIJKOMENDE INFORMATIE
Aanwijzingen inzake de milieubescherming
Dit product mag aan het einde van zijn levensduur niet samen met het normale huishoudelijke afval verwijderd worden, maar moet afgegeven worden op een verzamelpunt voor de recycling van elektrische en elektronische apparatuur. Het symbool op het product, in de gebruiksaanwijzing of op de verpakking maakt u daarop attent.
De werkstoffen zijn volgens hun kenmerking herbruikbaar. Met het hergebruik, de stoffelijke verwerking of andere vormen van recycling van oude apparaten levert u een belangrijke bijdrage tot de bescherming van ons milieu.
Gelieve bij het gemeentebestuur informatie te vragen over het bevoegde verzamelpunt.

Verhinder nooit de ventilatie van het apparaat door middel van gordijnen, kranten, dekens of meubelstukken. De ventilatiegaten moeten altijd vrij zijn. Oververhitting kan schade veroorzaken en de levensduur van het apparaat verkorten.

Hitte en warmte
Stel het apparaat niet bloot aan direct zonlicht. Zorg ervoor dat het apparaat niet wordt blootgesteld aan directe hittebronnen zoals verwarmingen en open vuur.
Zorg ervoor dat de ventilatiegaten niet zijn bedekt.

Vocht en reiniging
Dit product is niet waterdicht! Doop de speler niet in water. Voorkom dat de speler met water in contact komt. Water in het apparaat kan tot ernstige beschadiging leiden. Gebruik geen schoonmaakmiddelen die alcohol, ammoniak, benzeen of schuurmiddel bevatten aangezien deze middelen de speler kunnen beschadigen. Om te reinigen, gebruik een zachte, vochtige doek.
SimpelGids