GHD 2200 - Séchoir à cheveux ATIKA - Notice d'utilisation et mode d'emploi gratuit
Retrouvez gratuitement la notice de l'appareil GHD 2200 ATIKA au format PDF.
| Intitulé | Description |
|---|---|
| Type de produit | Souffleur de feuilles électrique |
| Caractéristiques techniques principales | Souffleur avec fonction aspiration et broyage |
| Alimentation électrique | 230 V, 50 Hz |
| Dimensions approximatives | Longueur : 90 cm, Largeur : 25 cm, Hauteur : 30 cm |
| Poids | 4,5 kg |
| Puissance | 2200 W |
| Débit d'air | 300 km/h |
| Fonctions principales | Soufflage, aspiration, broyage des feuilles |
| Entretien et nettoyage | Nettoyer régulièrement le filtre et le tube d'aspiration |
| Pièces détachées et réparabilité | Disponibilité de pièces détachées auprès du fabricant |
| Sécurité | Utiliser des gants et des lunettes de protection lors de l'utilisation |
| Informations générales | Idéal pour les jardins et les espaces extérieurs, léger et maniable |
FOIRE AUX QUESTIONS - GHD 2200 ATIKA
Questions des utilisateurs sur GHD 2200 ATIKA
0 question sur cet appareil. Repondez a celles que vous connaissez ou posez la votre.
Poser une nouvelle question sur cet appareil
Téléchargez la notice de votre Séchoir à cheveux au format PDF gratuitement ! Retrouvez votre notice GHD 2200 - ATIKA et reprennez votre appareil électronique en main. Sur cette page sont publiés tous les documents nécessaires à l'utilisation de votre appareil GHD 2200 de la marque ATIKA.
MODE D'EMPLOI GHD 2200 ATIKA
Hacheuse silencieuse à cylindres
Instructions d'utilisation - Consignes de sécurité
Pièces de rechange
A. Ouverture d'entonnoir pour matière hachée B. Poignée C. Bouton de réinitialisation / Protection du moteur D. Fiche de contact E. Interrupteur marche/arrêt F. Commmutateur du sens de rotation G. Chassis H. Partie supérieure du carter I. Bouton de réglage du rouleau de coupe J. Fente d'éjection

Vous ne devez pas mettre la machine en route avant d'avoir attentivement lu ce mode d'emploi, d'avoir observé toutes les consignes indiquées et d'avoir monté la machine tel que cela est
Conserver ces notices d'utilisation pour toute utilisation future.
Table des matières
Assemblage 19 Déclaration de conformité CE 20 Symboles utilisés : appareil, notice d'utilisation 20 Tranches horaires 20 Meubles 21 Utilisation conforme 21 Risques résiduels 21 Consignes de sécurité 21 Mise en service 23 Travaux avec le broyeur de végétaux 24 Réglage du contre-couteau 25 Maintenance et entretien 25 Pannes 26 Caractéristiques techniques 27 Garantie 27 Pièces de rechange 139
Déclaration de conformité CE
Conformément à la disposition 98/37/CE,
ATIKA GmbH & Co. KG
déclare en responsabilité propre que produit
Broyeur de végétaux type AH 600
auquel se rapporte la présente déclaration est conforme aux exigences de sécurité et de santé fondamentales des directives 98/37/CE, ainsi qu'aux exigences des autres dispositions correspondantes.
Niveau de puissance sonore mesuré 91 dB (A)
Niveau de puissance sonore garanti 92 dB (A)

Symboles utilisés sur cet appareil

Lire la notice d'utilisation et les consignes de sécurité avant la mise en service et en tenir compte pendant le
fonctionnement.

Les pièces éjectées représentent un danger lorsque que le moteur est en marche - les personnes étrangères ainsi que
Les animaux domestiques et de rente doivent rester à l'écart de la zone dangereuse.

Arrêtez le moteur et débranchez la fiche de contact avant toute opération d'entretien, de remise en état ou de nettoyage.

Nous recommandons une extrême prudence avec les lames rotatives. Ne pas introduire les mains ou les pieds dans les orifices de
La machine pendant que celle-ci est en marche.

Porter des lunettes de protection et un casque antibruit.

Porter des gants de protection.

Protégé de l'humidité.

Ne jamais jeter un appareil électrique aux ordures ménagères. Les appareils, les accessoires et les emballages doivent être recyclés de façon non polluante.
Symboles utilisés dans cette notice d'utilisation

Danger imminent ou situation dangereuse. L'inobservation de ces indications peut entraîner des blessures ou des dommages matériels.

Indications importantes pour un emploi conforme à l'usage prévu. L'inobservation de ces indications peut provoquer des dysfonctionnements.

Indications pour l'usager. Ces indications sont d'une aide précieuse pour un emploi optimal des différentes fonctions.

Montage, exploitation et maintenance. Ce symbole attire votre attention sur ce que vous devez faire.
Tranches horaires
Observe les dispositions spécifiques de la loi nationale.
Après le déballage de la machine, vérifie le contenu du carton quant à
l'intégralité des pièces, la présence éventuelle de dommages dus au transport.
Informez immédiatement le revendeur, le transporteur et/ou le fabricant en cas de réclamation. Toute réclamation ultérieure ne sera pas acceptée.
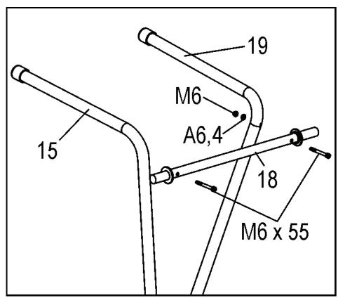
1 unité prémontée de l'appareil 1 pied gauche 1 pied droit 1 essieu 2 roues 2 cache-roues 1 sachet de vis 1 sac de récapération 1 notice d'utilisation
Utilisation conforme
Le hachage de
- branches de tout type, jusqu'au diamètre max. (suivant la nature et la fraîcheur du bois)
- déchets de jardin fêtris, humides, stockés depuis plusieurs jours, en alternance avec des branches, fait partie d'une utilisation conforme à l'emploi.
Le hachage de verre, de métal, d'objets ou de sachets en plastique, de pierres, de déchets textiles, de racines avec de la terre, de déchets sans consistance ferme (par ex. déchets de cuisine) est formellement exclu.
Le broyeur de végétaux est destiné uniquement à une utilisation privée à la maison et dans le jardin.
Sont considérés comme broyeurs pour l'utilisation privée à la maison et au jardin les machines qui ne sont pas utilisées pour les espaces verts publics tels que les parcs et les terrains de sport, pour l'agriculture et la sylviculture et qui ne sont pas utilisées à des fins professionnelles.
Un emploi conforme à l'usage prévu implique notamment aussi l'observation des instructions de service, de maintenance et de réparation du fabricant et le respect des consignes de sécurité contenues dans ces instructions.
Toute utilisation divergente de la machine est considérée comme un emploi non conforme à l'usage prévu. Le fabricant décline toute responsabilité pour les dommages en résultant ; le risque incombe exclusivement à l'usager.
L'appareil ne doit être utilisé, entretenu et ajusté que par des personnes connaissant l'appareil et averties des risques qui y sont liés. Les réparations demeurent strictement réservées à notre SAV ou à un service après-vente nommé par nos soins.
Risques résiduels
Même un emploi conforme à l'usage prévu et le respect des consignes de sécurité applicables en la matière ne sauraient exclure tous les risques résiduels générés par la construction et l'emploi de la machine.
Les risques résiduels peuvent être minimisés en respectant les « consignes de sécurité » et une « utilisation conforme » ainsi que toutes les indications de cette notice d'utilisation.
La prise de précautions et la prudence réduisent les risques de blessures corporelles et d'endommagements.
- Risque de blessure des doigts et des mains si vous introduisez la main dans une ouverture et entrez en contact avec le couteau.
- Risque de blessure des doigts et des mains lors d'opérations de montage et de nettoyage du couteau.
- Risque de blessures dues à la projection de morceaux de branches dans la zone de l'entonnoir.
- Dangers d'électrocution en cas d'utilisation de câbles de raccordement électrique non conformes.
- Contact avec les pièces conductrices de composants électriques ouverts.
- Endommagement de l'ouie en cas de travaux particulièrement longs sur la machine sans protection acoustique.
Il se peut que des risques résiduels non apparents persistent bien que toutes les mesures de protection aient été prises.
Consignes de sécurité
Avant toute mise en service de ce produit, lire et respecter les indications suivantes et les consignes de sécurité en vigueur dans les pays respectifs afin d'éviter tout risque d'accident sur vous et les autres.
Rendez les consignes de sécurité à toutes les personnes devant travailler avec la machine. Conservez ces consignes de sécurité en lieu sûr.
Toute réparation de la machine est à effectuer par le fabricant ou par les entreprises qu'il aura nommées.
- Avant utilisation, familiarisez-vous avec l'appareil à l'aide de la notice d'utilisation.
- Ne pas utiliser l'appareil à des fins non appropriées (voir «Utilisation conforme» et «Travaux avec le broyeur de végétaux»).
- Prenez correctement appui sur vos jambes et veillez à votre équilibre à tout moment. Ne vous penchez pas en avant. Restez à hauteur de l'appareil lorsque vous y introduisez les matériaux à hacher.
- Soyez attentif. Veillez à ce que vous faites. Travailliez de façon raisonnable. N'utilisez pas l'équipement si vous êtes fatigué ou sous l'emprise de drogues, d'alcool ou de médicaments. La moindre inattention pendant l'utilisation de l'équipement peut provoquer de graves blessures.
- Pendant le travail avec la machine, portez des lunettes de protection, des gants de travail et une protection auditive.
- Portez des vêtements de protection appropriés:
- Pas d'habits larges
- Chaussures avec semelles antidérapantes.
- L'utilisateur est responsable de la machine à l'égard de tiers dans la zone de travail.
- Il est interdit aux enfants et aux adolescents de moins de 16 ans d'utiliser l'appareil.
- Maintenez les enfants à distance de l'appareil.
- Ne mettez jamais l'appareil en marche lorsque des personnes étrangères se trouvent à proximité.
- Ne laissez jamais l'appareil sans surveillance. Veillez à développer la zone de travail en ordre! Le désordre peut être la cause d'accidents.
- Adoptez une position de travail sur le côté ou derrière l'appareil. Ne restez jamais dans la zone de l'orifice d'éjection.
- Ne jamais mettre les mains dans l'ouverture de remplissage ou d'éjection.
- Maintenez le visage et le corps à distance de l'orifice de remplissage.
- Ne surchargez pas la machine! Elle travaille avec une sécurité accrue dans la plage indiquée.
- Veillez au montage complet et correct des équipements de sécurité pendant l'exploitation et ne modifiez rien sur la machine qui risquerait d'influencer sa sécurité.
- Ne modifies jamais le régime du moteur. C'est lui qui régule la vitesse de travail maximale sure et protège le moteur ainsi que toutes les pièces rotatives contre les déteriorations dues à une vitesse excessive.
- Ne jamais mettre en service sans l'entonnoir.
- Ne pas modifier l'appareil ou des parties ou pièces de l'appareil. Lors de la mise en marche du moteur, l'appareil doit être fermé.
- L'appareil ne doit pas être arrosé d'eau (source de risque car présence de courant électrique).
- Prenez les conditions environnantes en considération :
- Ne pas utiliser la machine dans un environnement humide.
- Ne pas travailler avec l'appareil lorsqu'il pleut et ne pas le laisser sous la pluie.
- Travailliez uniquement avec de bonnes conditions visuelles, veillez au bon éclairage de la zone de travail.
- enez le dispositif de coupe (voir fig. page 22) et porte des gants de protection.
- Débranchez la machine et retirez la fiche de la prise de section en cas de
travaux de maintenance et de nettoyage - réparation de dysfonctionnements - vérifications pour savoir si les conduites de raccordement sont enchevêtrées ou endommagées - transport travaux de réparation - remplacement des couteaux - et si vous quittez l'appareil (même s'il ne s'agit que d'une brève interruption du travail)
- En cas d'obstruction des orifices d'introduction ou d'éjection de la machine, arrêtez le moteur et retirez la fiche de la prise de courant avant d'enlever les résidus de matière.
- Vérifiez si la machine est éventuellement endommagée.
- Contrôlez avec soin le fonctionnement impeccable et conforme à l'usage prévu des équipements de sécurité avant de poursuivre l'utilisation de la machine.
- Vérifiez le fonctionnement correct des piè èces sont à monter correctement et toutes les conditions requises sont à remplir afin de garantir une exploitation impeccable de l'appareil.
- Les dispositifs de sécurité et les pièces endommagées doivent être réparés ou remplacés convenablement dans un atelier spécialisé agré
- Les autocollants de sécurité endommagés ou illisibles doivent être remplacés.
- Conserve les appreils non utilisés dans un endroit sec et verrouillé et hors de portée des enfants.
Sécurité électrique
- Exécution de la ligne de raccordement cf.
- Les conduites de raccordement longues et minces génèrent une chute de tension. Le moteur n'atteint plus sa puissance maximale et le fonctionnement de la hacheuse est restreint.
- Les fiches et les prises femelles sur les conduites de raccordement doivent être en caoutchouc, en PVC coulé ou en une autre matière thermoplastique de même résistance mécanique ou bien recouvertes d'une de ces matières.
- Le système d'enfichage de la conduite de raccordement doit être protégé contre les projections d'eau. Lors de la pose de la ligne de raccordement, veiller à ce qu'elle ne soit pas coincée ni pliée et à ce que le connecteur ne soit pas mouillé.
- En cas d'utilisation d'un tambour, dérouler le câble complètement.
- N'employez pas le câble à des fins pour lesquelles il n'est pas prévu. Protégez le câble de la chaleur, de l'huile et des arêtes tranchantes. Ne tirez pas sur le câble pour retirer la fiche de la prise secteur.
- Vérifiez le câble de rallonge à intervalles réguliers et remplacez-le dès que vous constatez un endommagement.
- Ne vous servez jamais de lignes de raccordement défectueuses.
- Servez-vous exclusivement de câbles de rallonge spéciaux et homologués pour l'extérieur le cas échéant.
- Ne vous servez jamais de raccordements électriques provisoires.
- Ne pentez jamais les équipements de sécurité et ne les mettez jamais hors service.
- Brancher la machine à l'aide d'un disjoncteur à protection différentielle (30 mA).
Tout raccordement électrique, voire toute réparation sur les parties électriques de la machine doit être effectué par des electriciens agréés ou confiés à l'un de nos services après-vente. Les règlements locaux, particulièrement en ce qui concerne les mesures de protection, sont à respecter. Toute réparation des différentes pièces de la machine est à effectuer par le fabricant ou l'un de ses services après-vente. N'utiliser que des pièces de rechange d'origine. L'utilisation d'autres pièces de rechange pourrait entraîner un risque pour l'utilisateur, le fabricant déclinant toute responsabilité pour tout dommage encouru.
Mise en service
Assurez-vous que l'appareil est monté intégralement et conformément aux réglementations. - Pour utiliser le broyeur de végétaux, placez-le sur une surface stable et horizontale (de façon à ce qu'il ne bascule pas). - Ne posez pas l'appareil sur un sol pavé ou ballasté. - N'utilisez l'appareil qu'à l'extérieur. Restez à distance (2 m minimum) des murs et des autres objets fixes. - Avant toute utilisation, veuillez vérifier
- que les lignes de raccordement ne doivent pas de défec-tuosités (fissures, coupures ou autres). Id' eventuels endommagements de l'appareil (voir consignes de sécurité)
- que toutes les vis sont serrées à fond
Branchement au secteur
- Comparez la tension de votre secteur avec la tension indiquée sur la plaque signalétique de la machine et raccordez la machine à une prise appropriée et conforme aux prescriptions. Utilisez un câble de rallonge de section suffisante.
Protection de secteur
| Suisse | UK | ||
| 2200 W | 16 A retardée | 10 A retardée | 13 A retardée |
| 2500 W | 16 A retardée | 13 A retardée | |
| 2800 W | 16 A retardée | 13 A retardée |
Interrupteur marche/arrêt
Ne jamais utiliser un appareil dont l'interrupteur ne fonctionne pas. Les interrupteurs défectueux doivent immédiatement être réparés ou remplacés par le service après-vente.

Mise en marche
Appuyez sur le bouton vert ①
Arrêt
Appuyez sur le bouton rouge ①

Sécurité de remise en marche en cas de panne de courant
En cas de panne de courant, la hacheuse s'arrête automatiquement (déclencheur à tension nulle). Pour une remise en marche, appuyez à nouveau sur le bouton vert.
Protection du moteur
Le moteur est équipé d'un disjoncteur de protection et s'arrête automatiquement en cas de surcharge. Il peut être remis en marche après une pause de refroidissement (env. 5 mn). Appuyez sur
- le bouton de réinitialisation (protection du moteur)
- le bouton vert (1) pour une remise en marche.
Commutateur du sens de rotation
Actionnez le commutateur du sens de rotation uniquement lorsque la hacheuse est à l'arrêt.
Position
La matière est entraînée et hachée par le cylindre de coupe.
Position

La lame fonctionne en sens inverse et la matière serrée est libre.
Une fois que vous avez mis le commutateur du sens de rotation en
position, maintenez le bouton vert de l'interrupteur marche/arrêt appuyé. Le cylindre de coupe est positionné en sens inverse. Lorsque vous relâchez l'interrupteur marche/arrêt, la tondeuse reste automatiquement à l'arrêt.
Conseils
- Les gros objets ou les morceaux de bois sont enlevés en sens de coupe ou en sens de déblocage après plusieurs actionnements. Utilisez un bouchon ou un crochet pour enlever les objets bloqués dans l'entonnoir ou dans la fente d'éjection.
Attendez toujours que la hacheuse soit à l'arrêt avant de la remettre en marche.
Impédance de secteur
En cas de mauvaises conditions de secteur, des baisses de tension momentanées peuvent survenir pendant le processus d'allumage de l'appareil et peuvent générer d'autres appareils (par ex. une lampe vacille).
Tout risque de dysfonctionnement est exclu si l'on respecte les impédances de secteur maximales indiquées dans le tableau.
| Puisance absorbée P1 (W) | Impédance de secteur Zmax(Ω) |
| 2200 | 0,21 |
| 2500 | 0,21 |
| 2800 | 0,19 |
Travaux avec le broyeur de végétaux
- Adoptez une position de travail à côté ou derrière l'appareil. Ne restez jamais dans la zone de l'orifice d'éjection.
- înées par les lames! Respectez la distance de sécurité!
- Ne jamais mettre les mains dans l'ouverture de replissage ou d'éjection.
- Maintenez le visage et le corps à distance de l'orifice de remplissage.
- mplissage, le canal d'évacuation ou à proximité d'autres pièces mobiles.
- Avant la mise en marche de l'appareil, vérifie si des restes de broyage se trouvent dans l'entonnoir.
- Ne renversez pas l'appareil pendant que le moteur est en marche.
Lors du remplissage, veillez à ce que des pièces en métal, des pierres, des bouteilles ou d'autres objets n'entrent pas en contact avec des objets à broyer dans l'entonnoir.
- Si des objets extérieurs entrent dans l'entonnoir ou si l'appareil commence à émettre des bruits ou des vibrations inhabituelles, arrêtez immédiatement l'appareil et immobilisez-le. Débranchez la fiche et effectuez les points suivants :
examiner les dommages - remplacer ou réparer les pièces endommagées vérifier l'appareil et resserrer les pièces dévissées
Vous ne devez pas réparer l'appareil si vous n'êtes pas autorisé à le faire (voir consignes de sécurité).
Qu'est-ce que je peux broyer?
Oui:
- Déchets organiques domestiques et du jardin, par exemple coupes de haies et d'arbres, fleurs fanées, déchets de cuisine.
Non:
- Verre, pièces métalliques, matières plastiques, sacs en plastique, pierres, déchets de tissus, racines souillées par de la terre, restes de produits alimentaires, de poisson et de viande.
Instructions spéciales concernant le broyage:
Introduisez toujours la matière à hacher du côté droit dans l'orifice de remplissage de l'entonnoir. Broyez les branches, les rameaux et les bois juste après les avoir coupés - Ces matériaux à broyer deviennent très durs lorsqu'ils se sèchent, le diamètre maximal des branches à traiter diminue donc. Lorsque les branches sont très ramifiées, enlever les rameaux latéraux. Broyage de déchets de cuisine ou de jardin contenant beaucoup d'eau et tendant à coller
- Ces déchets doivent être broyés en alternance avec des déchets contenant du bois afin d'éviter que l'appareil ne soit obstrué.
Ne pas laisser s'entasser trop de matériaux hachés sous la sortie de l'orifice d'évacuation. Il risquerait sinon d'obstruer le canal d'évacuation. Cela pourrait entrainer un retard des matériaux par l'orifice de remplissage. Nettoyez l'orifice de remplissage ainsi que le canal d'évacuation lorsque l'appareil est obstrué. Pour ce faire, éteignez d'abord le moteur et retirez la fiche secteur. Veillez à ce que le diamètre maximal des branches pouvant être hachées par votre appareil soit respecté (Ø voir page 27). Selon la taille et la fraîcheur du bois, le diamètre maximal de la branche que vous souhaitez broyer peut être réduit. L'unité coupante introduit automatiquement et sans à-coups les matériaux à hacher grâce à la rotation lente du rouleau de coupe. Commutation automatique du sens de rotation: En cas de brusque blocage de l'appareil, le sens de rotation du cylindre de découpe peut commuter, ce qui repoussera dans ce cas le matériel haché.
- Arrête l'appareil
- Patienter jusqu'à immobilisation du cylindre de découpe
- Remettre l'appareil en marche et l'alimenter en matière plus facile à hacher.
En cas de surcharge de l'appareil, le sélecteur équipé d'un disjoncteur-protecteur met la machine automatiquement hors circuit
- Dans ce cas, remettez le broyeur en marche au bout de 5 minutes environ
- Au cas où la machine ne se remettrait pas en marche au bout de ce temps d'attente, veuillez vous reporter au point "Pannes".
Maintenance et entretien
- Avant de commencer tout travail d'entretien:
- mesure le moteur hors service et débranche la fiche de contact
- Mesure des gants de protection pour éviter les blessures.
Le jeu de couteaux ne s'arrête pas immédiatement après l'arrêt. Avant de commencer votre travail de réparation ou de maintenance, patientez jusqu'à ce que tous les éléments soient complètement arrêtés.
Veillez à ranger l'outil et la clé à vis après l'entretien ou la réparation.
Le broyeur de végétaux nécessite peu d'entretien. Pour que l'appareil ne se dégrade pas et pour lui assurer une longue durée de vie, il convient d'observer les points suivants:
- Les fentes d'aération doivent toujours être libres et propres.
- vérifier les vis de fixation (le cas échéant, les desserrer).
- après avoir procédé à des travaux de hachage, le hacheur doit être nettoyé à l'intérieur comme à l'extérieur.
Pour nettoyer votre appareil, utilisez uniquement un chiffon chaud et humide et une brosse souple.
N'utilisez jamais de produits nettoyants ou de solvants. Ils pourraient entraîner des dommages irréparables sur l'appareil. Les produits chimiques attaqueraient les éléments en matière plastique.

- Le broyeur ne doit pas être nettoyé avec un nettoyeur haute pression ou même au jet d'eau.
- Les pièces métalliques nues devraient être protégées de la corrosion après chaque utilisation à l'aide d'une huile à pulvériser biodégradable et écologique.
- Le rouleau de coupe et la plaque de recoupe sont des pièces d'usure, toutes elles ont une longévité de plusieurs années en cas d'utilisation normale et à condition que le réajustage ait été réalisé conformément aux prescriptions.
Réglage du contre-couteau

Le contre-couteau B peut être réglé sans jeu sur le cylindre de coupe A. Pour un fonctionnement efficace, la distance doit être la plus courte possible.
Des déchets souples ou des branches mouillées peuvent être déchirées au lieu d’être coupées. Un contre-couteau usé après un actionnement à plusieurs reprises peut également occasionner ce problème.

Réglage de la distance.
Mettez l'appareil en marche.
À droite du carter en plastique se trouve un dispositif de réglage. Pour ajuster l'écart, tourner le bouton de réglage (D) vers la droite de façon à approcher la vis (C) au rouleau de coupe. Tournez jusqu'à ce que de fins copeaux d'aluminium tombent de la fente d'éjection.

Avant de procéder à l'élimination des défauts
- arrête l'équipement
- Attendre l'arrêt de l'appareil
- retirer la fiche du secteur
| Panne | Cause possible | Remède |
| Le moteur ne démarre pas | - absence de tension secteur - cable de raccordement défectueux - Appareil trop sollicité | - vérifier le fusible - laisser vérifier (par un électrotechnicien) - Laissez refroidir l'appareil. Appuyez sur 1. le bouton de réinitialisation (protection du moteur) 2. le bouton vert①pour une remise en marche. |
| Le moteur rônfla mais ne démarre pas | - le rouleau de coupe est bloqué - le condensateur est défectueux | - Arrêtez l'appareil. Réglez le commutateur du sens de rotation sur la position ①. Mettez l'appareil en marche jusqu'à ce que le blocage soit élimné. Arrêtez à nouveau l'appareil. Remettez le commutateur du sens de rotation sur la position ②. - confier l'appareil au constructeur en vue de sa réparation ou l'envoyer à une adresse mention-née par ses soins |
| La matière à hacher n'est pas introduite automatique | - Le cylindre de coupe recule. La position du commutateur est incorrecte. - la matière à hacher est bloquée dans la trémie - la matière à hacher est trop;tendre ou trop mouillée - usure sur le rouleau de coupe | - Arrêtez l'appareil et déplacez le commutateur du sens de rotation. - Arrêtez l'appareil. Réglez le commutateur du sens de rotation sur la position ①. Mettez l'appareil en marche pour que la matière à hacher soit libérée; le cas échéant, enlevez les saletés. - Arrêtez à nouveau l'appareil. Pour continuer à travailler, réglez à nouveau le commutateur du sens de rotation sur la position ②. - Pousser la masse de replissage en utilisant une branche et laisser hacher le tout - Réglez la contre-plaque, tel que cela est décrit dans le chapitre "Réglage de la contre-plaque"; en cas de forte usure, remplacez le cylindre de coupe. |
| La matière à hacher n'est pas propremment coupée/hachée | - Ajustage insuffisant du contre-couteau | - Réglez le contre-couteau |
| L'appareil démarre, se blo-que cependant, déjà en présence d'une sollicità-tion minimale et est inac-tivé par le disjöncteur-pro-tecteur. | le cable de rallonge est trop long ou de trop petite section. La prise est trop éloignée du raccor-dement principal et la ligne de raccor-dement présente une trop petite section. | Câble de rallonge d'au moins 1,5 mm² et de 25 m de long au maximum. En présence d'un cable plus long, section de 2,5 mm² au minimum. |
\section*{Caractéristiques techniques}
| Modèle | 2200 | 2500 | 2800 |
| Désignation du type | AH 600 | AH 600 | AH 600 |
| Mateur | mateur à courant alternatif 230 V~, 50 Hz, 2800 min-1 | ||
| Puisance du moteur P1 S6 - 40 % | 2200 W | 2500 W | 2800 W |
| Vitesse de rotation du cylindre de coupe | 40 min-1 | ||
| Interrupteur de mise en marche/arrêt avec: | protection contre les surcharges; fonction de coupe et d'inversion de la direction de rotation; déclencheur à tension nulle | ||
| Poids | 24 kg | 24,5 kg | 25 kg |
| Niveau de pression acoustique LPA (mesuré conformément au réglement 2000/14/CE) | 83,8 dB (A) | 84,2 dB (A) | 82,5 dB (A) |
| Niveau de puissance sonore mesuré LWA (mesuré conformément au réglement 2000/14/CE) | 91 dB (A) | 91 dB (A) | 91 dB (A) |
| Niveau de puissance sonore garanti LWA (mesuré conformément au réglement 2000/14/CE) | 92 dB (A) | 92 dB (A) | 92 dB (A) |
| Diamètre maximal des branches à hacher (s'applique uniquement à la coupe de bois frais) | Ø max. 35 mm | Ø max. 40 mm | Ø max. 44 mm |
| Classe de protection | I | ||
| Type de protection | IP X4 | ||
| Protection de secteur Suisse | 16 A retardée | 16 A retardée | 16 A retardée |
| 10 A retardée | -- | -- | |
| UK | 13 A retardée | 13 A retardée | 13 A retardée |
Garantie
Veuillez tenir compte de la déclaration de garantie ci-jointe.




Notice Facile