Alpha ILCE7M2K - Camera SONY - Gratis gebruiksaanwijzing en handleiding
Vind de handleiding van het apparaat gratis Alpha ILCE7M2K SONY in PDF-formaat.
Questions des utilisateurs sur Alpha ILCE7M2K SONY
0 question sur cet appareil. Repondez a celles que vous connaissez ou posez la votre.
Poser une nouvelle question sur cet appareil
Download de handleiding voor uw Camera in PDF-formaat gratis! Vind uw handleiding Alpha ILCE7M2K - SONY en neem uw elektronisch apparaat weer in handen. Op deze pagina staan alle documenten die nodig zijn voor het gebruik van uw apparaat. Alpha ILCE7M2K van het merk SONY.
GEBRUIKSAANWIJZING Alpha ILCE7M2K SONY
Digitale camera met verwisselbare lens/Gebruiksaanwijzing NL
"Help-gids" is een online handleiding. U kunt de "Help-gids" lezen op uw computer of smartphone. Raadpleeg deze voor diepgaande instructies over de vele functies van de camera.
URL:
http://rd1.sony.net/help/ilc/1450/h_zz/

Om het gevaar van brand of elektrische schokken te verkleinen, mag het apparaat niet worden blootgesteld aan regen of vocht.
BELANGRIJKE VEILIGHEIDS- INSTRUCTIES -BEWAAR DEZE INSTRUCTIES GEVAAR OM DE KANS OP BRAND EN ELEKTRISCHE SCHOKKEN TE VERKLEINEN, HOUDT U ZICH NAUWGEZET AAN DEZE INSTRUCTIES.
LET OP
Accu
Bij onjuist gebruik van de accu, kan de accu barsten, brand veroorzaken en chemische brandwonden tot gevolg hebben. Houd rekening met de volgende voorzorgsmaatregelen.
• Demonteer de accu niet.
- Plet de accu niet en stel deze niet bloot aan schokken of stoten, laat deze niet vallen en ga er niet op staan.
- Veroorzaak geen kortsluiting en zorg dat er geen metalen voorwerpen in aanraking komen met de aansluitpunten.
- Stel de accu niet bloot aan hoge temperaturen boven 60 °C, zoals direct zonlicht of in een auto die in de zon geparkeerd staat.
- Verbrand de accu niet en gooi deze niet in het vuur.
- Gebruik geen beschadigde of lekkende lithiumion batterijen.
- Laad de accu op met een echte Sony-acculader of een apparaat waarmee de accu kan worden opgeladen.
- Houd de accu buiten het bereik van kleine kinderen.
• Houd de accu droog. - Vervang de accu alleen door hetzelfde accutype of een vergelijkbaar accutype dat door Sony wordt aanbevolen.
- Gooi de gebruikte accu zo snel mogelijk weg volgens de instructies.
Netspanningsadapter
Als u de netspanningsadapter gebruikt, sluit u deze aan op een stopcontact in de buurt. Koppel de netspanningsadapter onmiddellijk los van het stopcontact als een storing optreedt tijdens het gebruik van het apparaat.
Het netsnoer, indien bijgeleverd, is specifiek ontworpen voor gebruik met alleen deze camera, en mag niet worden gebruikt voor enig ander elektrisch apparaat.
Voor klanten in Europa
Kennisgeving voor klanten in de landen waar EU-richtlijnen van toepassing zijn
Producent: Sony Corporation, 1-7-1 Konan Minato-ku Tokyo, 108-0075 Japan Voor EU-product conformiteit: Sony Deutschland GmbH, Hedelfinger Strasse 61, 70327 Stuttgart, Duitsland
CE
Hierbij verklaart Sony Corporation dat dit apparaat in overeenstemming is met de essentiële eisen en de andere relevante bepalingen van richtlijn 1999/5/EG. Nadere informatie kunt u vinden op: http://www.compliance.sony.de/
Kennisgeving
Als de gegevensoverdracht halverwege wordt onderbroken (mislukt) door statische elektriciteit of elektromagnetische storing, moet u de toepassing opnieuw starten of de verbindingskabel (USB, enzovoort) loskoppelen en opnieuw aansluiten.
Dit product is getest en voldoet aan de beperkingen die zijn uiteengezet in de EMC-regels voor het gebruik van een verbindingskabel van minder dan 3 meter.
De elektromagnetische velden bij de specifieke frequenties kunnen het beeld en het geluid van dit apparaat beïnvloeden.
Verwijdering van oude batterijen, elektrische en elektronische apparaten (van toepassing in de Europese Unie en andere Europese landen met afzonderlijke inzamelingssystemen)

Dit symbool op het product, de batterij of op de verpakking wijst erop dat het product en de batterij, niet als huishoudelijk afval behandeld mag worden.
Op sommige batterijen kan dit symbool gebruikt worden in combinatie met een chemisch symbool. Het chemisch symbool voor kwik (Hg) of lood (Pb) wordt toegevoegd wanneer de batterij meer dan 0,0005 % kwik of 0,004 % lood bevat.
Door deze producten en batterijen op juiste wijze af te voeren, vermijdt u mogelijke negatieve gevolgen voor mens en milieu die zouden kunnen veroorzaakt worden in geval van verkeerde afvalbehandeling. Het recycleren van materialen draagt bij tot het behoud van natuurlijke bronnen.
In het geval dat de producten om redenen van veiligheid, prestaties dan wel in verband met data-integriteit een permanente verbinding met een ingebouwde batterij vereisen, mag deze batterij enkel door gekwalificeerd servicepersoneel vervangen worden. Om ervoor te zorgen dat de batterij, het elektrisch en het elektronische apparaat op een juiste wijze zal worden behandeld, dienen deze producten aan het eind van zijn levenscyclus overhandigd te worden aan het desbetreffende inzamelingspunt voor de recyclage van elektrisch en elektronisch materiaal.
Voor alle andere batterijen verwijzen we u naar het hoofdstuk over hoe de batterij veilig uit het product te verwijderen.
Overhandig de batterij aan het desbetreffende inzamelingspunt voor de recyclage van batterijen.
Voor meer details in verband met het recycleren van dit product of batterij, kan u contact opnemen met de gemeentelijke instanties, de organisatie belast met de verwijdering van huishoudelijk afval of de winkel waar u het product of batterij hebt gekocht.
Voor klanten die hun camera gekocht hebben in een winkel in Japan die aan toeristen verkoopt
Opmerking
Sommige certificaatmerken voor standaards die door de camera ondersteund worden, kunnen weergegeven worden op het scherm van de camera.
Selecteer MENU → 📄 (Instellingen) → [Certificatielogo].
Als de weergave niet lukt wegens problemen zoals een cameradefect, neemt u contact op met uw Sony-verdeler of een plaatselijke, erkende servicedienst van Sony.
Voor informatie over de Wi-Fi- en NFC One-touch functions, raadpleegt u het bijgevoegde document "Wi-Fi Connection/One-touch (NFC) Guide" of de "Help-gids".
In deze gebruiksaanwijzing worden diverse modellen met verschillende lenzen behandeld.
De modelnaam varieert afhankelijk van de meegeleverde lens. Welk model leverbaar is hangt af van het land/gebied waar u woont.
| Modelnaam Lens | |
| ILCE-7M2 Niet bijgeleverd | |
| ILCE-7M2K FE 28-70 mm F3.5-5.6 OSS | |
Opmerkingen over het gebruik van uw camera
Taal van het scherm
U kunt op het menu de taal kiezen die op het scherm wordt gebruikt.
Opnameprocedure
Deze camera heeft 2 functies voor het observeren van onderwerpen: de monitorfunctie met gebruikmaking van de monitor, en de zoekerfunctie met gebruikmaking van de zoeker.
Functies ingebouwd in deze camera
- Deze handleiding beschrijft 1080 60i-compatibele apparaten en de 1080 50i-compatibele apparaten.
Om te controleren of uw camera een 1080 60i-compatibel apparaat of een 1080 50i-compatibel apparaat is, controleert u of de volgende merktekens op de onderkant van de camera staan. Apparaat compatibel met 1080 60i: 60i Apparaat compatibel met 1080 50i: 50i - De camera is compatibel met bewegende beelden van het formaat 1080 60p of 50p. Anders dan bij standaardopnamefuncties tot nu toe, die opnemen volgens de geïnterlinieerde methode, neemt deze camera op volgens de progressieve methode. Dit verhoogt de resolutie en geeft een vloeiender, realistischer beeld.
Een beelddatabasebestand aanmaken
Als u een geheugenkaart in de camera plaatst waarop geen beelddatabasebestand staat en vervolgens de camera inschakelt, creëert de camera automatisch een beelddatabasebestand en gebruikt daarbij een deel van de capaciteit van de geheugenkaart.
Het proces kan lang duren en u kunt de camera niet bedienen totdat het proces voltooid is. Als een databasebestandsfout optreedt, exporteert u alle beelden naar uw computer met behulp van PlayMemories Home™ en formatteert u de geheugenkaart met behulp van de camera.
Opmerkingen over opnemen/weergeven
- Voor een stabiele werking van de geheugenkaart adviseren wij u de geheugenkaart in de camera te formatteren wanneer u hem voor de eerste keer gebruikt met die camera. Wanneer u de geheugenkaart formatteert worden alle gegevens op de geheugenkaart gewist en deze kunnen niet meer worden hersteld. Alvorens te formatteren, kopieer de gegevens naar een computer of ander apparaat.
- Als u herhaaldelijk beelden opneemt en wist gedurende een lange tijd, kunnen de bestanden op de geheugenkaart gefragmenteerd worden en kan het opnemen van bewegende beelden tussentijds worden onderbroken. Als dit gebeurt, kopieert u de gegevens naar een computer of ander apparaat en voert u vervolgens [Formatteren] uit.
- Voordat u begint met opnemen maakt u een proefopname om te controleren of de camera juist werkt.
Aanbeveling van reservekopie van een geheugenkaart
Als u de camera uitschakelt of de accu of de geheugenkaart verwijdert terwijl het toegangslampje knippert, kunnen de gegevens op de geheugenkaart beschadigd raken. Om gegevensverlies te vermijden, maakt u altijd een (reserve)kopie op een ander apparaat.
Geen compensatie voor beschadigde gegevens of weigeren op te nemen
Sony kan geen compensatie bieden voor het weigeren op te nemen of voor verlies of beschadiging van opgenomen content als gevolg van een storing in de camera, opnamemedia, enz.
Opnemen met een lens met E-vatting die compatibel is met het APS-C-formaat
Deze camera is uitgerust met een volframe-CMOS-sensor van 35 mm. Echter, het beeldformaat wordt automatisch ingesteld op dat van de APS-C-formaatinstelling, en het beeldformaat is kleiner wanneer een lens met een E-vatting die compatibel is met het APS-C-formaat wordt gebruikt (standaardinstelling).
Opmerkingen over de monitor, de elektronische zoeker, de lens en de beeldsensor
- De monitor en de elektronische zoeker zijn vervaardigd met behulp van uiterste precisietechnologie zodat meer dan 99,99% van de beeldpunten effectief werkt. Het is echter mogelijk dat enkele kleine zwarte punten en/of oplichtende punten (wit, rood, blauw of groen) permanent op de monitor en de elektronische zoeker zichtbaar zijn. Deze punten zijn een normaal gevolg van het productieproces en heeft geen enkele invloed op de beelden.
- Houd de camera niet vast aan de monitor.
- Als een elektrisch bediende zoomlens is bevestigd, let u erop dat uw vingers of enig ander voorwerp niet bekneld raken in de lens.
- Stel de camera niet bloot aan een sterke lichtbron, zoals zonlicht. De inwendige componenten kunnen beschadigd raken.
- Kijk niet in het zonlicht of een sterke lichtbron door de lens wanneer deze eraf gehaald is. Dit kan leiden tot onherstelbare schade aan de ogen of een storing veroorzaken.
- Gebruik de camera niet op plaatsen waar sterke radiogolven of straling wordt uitgezonden. Mogelijk werken opnemen en weergeven niet correct.
- Op een koude plaats kan het beeld op het scherm naijlen. Dit is geen storing. Wanneer u de camera op een koude plaats inschakelt, kan het scherm tijdelijk donker zijn. Als de camera is opgewarmd, zal het scherm normaal werken.
- Het opgenomen beeld kan verschillen van het beeld dat u zag vóór de opname.
Opmerkingen over het gebruik van de lenzen en accessoires
Wij adviseren u Sony-lenzen en - accessoires te gebruiken die zijn ontworpen voor de kenmerkende eigenschappen van deze camera. Als u deze camera gebruikt met producten van andere fabrikanten, kunnen de prestaties ervan nadelig worden beïnvloed, waardoor een ongeluk of storing kan ontstaan. Sony draagt geen verantwoordelijkheid voor dergelijke ongelukken en storingen.
Opmerkingen over de multi- interfaceschoen
- Wanneer u accessoires, zoals een externe flitser, aanbrengt op of verwijdert vanaf de multi-interfaceschoen, schakelt u eerst de camera UIT. Bij het aanbrengen van de accessoire, draait u de schroeven helemaal vast en controleert u of hij stevig bevestigd is op de camera.
- Gebruik geen externe flitser met een aansluiting voor hoogspanningsflitssynchronisatie of omgekeerde polariteit. Hierdoor kan een storing ontstaan.
Opmerkingen over opnemen met de zoeker
Deze camera is uitgerust met een OEL-zoeker (Organic Electro-Luminescence) met een hoge resolutie en een hoog contrast. Deze zoeker heeft een brede kijkhoek en een grote oogafstand. Deze camera is ontworpen met een goed afleesbare zoeker door een goede afweging van diverse elementen.
- Het beeld kan licht vervormd zijn in de hoeken van de zoeker. Dit is geen storing. Wanneer u de volledige compositie wilt zien met alle details, kunt u ook de monitor gebruiken.
-
Als u de camera pant terwijl u in de zoeker kijkt of uw ogen in de rondte beweegt, kan het beeld in de zoeker vervormd zijn of kunnen de kleuren van het beeld veranderen. Dit is een eigenschap van de lens of het weergaveapparaat en geen storing. Wanneer u een beeld opneemt, adviseren wij u naar het middengebied van de zoeker te kijken.
-
Tijdens het opnemen met de zoeker kunt u last krijgen van symptomen zoals vermoeidheid van het oog, lichamelijke vermoeidheid, reisziekte of misselijkheid. Wij adviseren u regelmatig een pauze te nemen wanneer u opneemt met de zoeker.
De vereiste lengte of frequentie van de pauze kan verschillen afhankelijk van de persoon, dus wij adviseren u dit naar eigen behoefte te kiezen. In het geval u zich oncomfortabel voelt, stopt u met het gebruik van de zoeker tot u zich weer beter voelt en raadpleegt u zo nodig uw huisarts.
Opmerkingen over opnemen gedurende een lange tijdsduur
-
Afhankelijk van de camera- en accutemperatuur, is het mogelijk dat u geen bewegende beelden kunt opnemen of de voeding automatisch wordt onderbroken om de camera te beschermen.
Voordat de camera wordt uitgeschakeld of u geen bewegende beelden meer kunt opnemen, wordt een mededeling afgebeeld op het scherm. Laat in dat geval de camera uitgeschakeld liggen en wacht tot de temperatuur van de camera en accu lager is geworden. Als u de camera inschakelt zonder de camera en de accu voldoende te laten afkoelen, kan de voeding weer worden onderbroken, of kan het onmogelijk zijn bewegende beelden op te nemen. -
Bij hoge omgevingstemperaturen stijgt de temperatuur van de camera snel.
- Wanneer de temperatuur van de camera stijgt, kan de beeldkwaliteit verslechteren. Wij adviseren u te wachten tot de temperatuur van de camera is gezakt voordat u verder gaat met opnemen.
- Het oppervlak van de camera kan warm worden. Dit is geen storing.
Opmerkingen over het importeren van bewegende beelden in het XAVC S-formaat en het AVCHD-formaat in een computer
Om bewegende beelden in het XAVC S-formaat of AVCHD-formaat in een computer te importeren, downloadt en gebruikt u het softwareprogramma PlayMemories Home vanaf de volgende website: http://www.sony.net/pm/
Opmerkingen over het weergeven van bewegende beelden op andere apparaten
- Deze camera gebruikt MPEG-4 AVC/H.264 High Profile voor het maken van opnamen in het AVCHD-formaat. Bewegende beelden die zijn opgenomen in het AVCHD-formaat met deze camera, kunnen niet worden weergegeven op de volgende apparaten.
- Andere apparaten die compatibel zijn met het AVCHD-formaat en die geen ondersteuning bieden voor High Profile
- Apparaten die niet compatibel zijn met het AVCHD-formaat
Deze camera gebruikt ook MPEG-4 AVC/H.264 Main Profile voor het maken van opnamen in het MP4-formaat. Om deze reden kunnen bewegende beelden die met deze camera zijn opgenomen in het MP4-formaat niet worden weergegeven op apparaten die MPEG-4 AVC/H.264 niet ondersteunen.
- Discs die zijn opgenomen met HD (high-definition)-beeldkwaliteit, kunnen alleen worden weergegeven op apparaten die compatibel zijn met het AVCHD-formaat. Op DVD's gebaseerde spelers en recorders kunnen geen discs opgenomen in HD (high-definition)-beeldkwaliteit weergeven omdat ze niet compatibel zijn met het AVCHD-formaat. Bovendien is het mogelijk dat een op DVD's gebaseerde speler of recorder een disc in HD (high-definition)-beeldkwaliteit niet kan uitwerpen.
- Bewegende beelden opgenomen in het 1080 60p/1080 50p-formaat kunnen alleen worden weergegeven op apparaten die ondersteuning bieden voor 1080 60p/1080 50p.
- Bewegende beelden opgenomen in het XAVC S-formaat kunnen alleen worden weergegeven op apparaten die XAVC S ondersteunen.
Waarschuwing over auteursrechten
Televisieprogramma's, films, videobanden en ander materiaal kunnen beschermd zijn door auteursrechten. Het zonder toestemming opnemen van dergelijk materiaal, kan in strijd zijn met de wetten op de auteursrechten.
De afbeeldingen die in deze handleiding worden gebruikt
De foto's die als voorbeeldfoto's in deze handleiding worden gebruikt, zijn gereproduceerde afbeeldingen en niet de werkelijke afbeeldingen die met deze camera zijn gemaakt.
Informatie over de gegevensspecificaties die in deze handleiding worden beschreven
De gegevens over prestaties en specificaties zijn gedefinieerd onder de volgende omstandigheden, behalve zoals beschreven in deze handleiding: bij een omgevingstemperatuur van 25 °C en met gebruik van een accu die volledig is opgeladen totdat het oplaadlampje is uitgegaan.
Draadloos-netwerkfuncties (Wi-Fi, NFC, enz.) tijdelijk uitschakelen
Als u in een vliegtuig, enz., zit, kunt u alle draadloos-netwerkfuncties tijdelijk uitschakelen.
Selecteer de MENU-knop →
(Draadloos) → [Vliegtuig-stand] → [Aan].
Als u [Vliegtuig-stand] instelt op [Aan], wordt een ♦vliegtuig) indicator afgebeeld op het scherm.
Draadloos LAN
Als uw camera verloren of gestolen is, accepteert Sony geen aansprakelijkheid wegens verlies of schade veroorzaakt door illegale toegang tot of gebruik van het geregistreerde accesspoint op de camera.
Opmerkingen over de beveiliging bij gebruik van draadloos-LAN-producten
- Zorg er altijd voor dat u een beveiligd draadloos LAN gebruikt om te voorkomen dat u wordt gehackt, kwaadwillige derden toegang kunnen krijgen, en andere kwetsbaarheden zich voordoen.
- Het is belangrijk dat u de beveiligingsinstellingen instelt wanneer u een draadloos LAN gebruikt.
- Wanneer zich een beveiligingsprobleem voordoet omdat geen veiligheidsmaatregelen zijn getroffen of als gevolg van onvoorkoombare omstandigheden tijdens het gebruik van draadloos LAN, draagt Sony geen verantwoordelijkheid voor verlies of beschadiging.
De bijgeleverde items controleren
De cijfer tussen haakjes geeft het aantal stuks aan.
Geleverd bij alle modellen:
- Camera (1)
- Netspanningsadapter AC-UD10/AC-UUD11 (1)
De vorm van de netspanningsadapter kan verschillen afhankelijk van het land/gebied. - Netsnoer (1)* (niet bijgeleverd in de Verenigde Staten en Canada)

* Er zullen misschien meerdere netsnoeren bij uw camera worden geleverd. Gebruik het snoer dat geschikt is voor uw land/regio.
• Oplaadbare accu NP-FW50 (1)

- Micro-USB-kabel (1)

Voor instructies over het bevestigen van de schouderriem aan de camera, raadpleegt u pagina 15.
- Accessoireschoenafdekking (1) (bevestigd op de camera)
- Oogkap voor oculair (1) (bevestigd op de camera)
- Gebruiksaanwijzing (1) (deze handleiding)
• Wi-Fi Connection/One-touch (NFC) Guide (1)
Deze handleiding beschrijft de functies die een Wi-Fi-verbinding vereisen.
ILCE-7M2K:
- Zoomlens FE 28-70 mm F3.5-5.6 OSS (1) met lensdop op de voorkant (1), achterlensdop (1) en lenskap (1)
Onderdelen herkennen
Raadpleeg de paginanummers tussen haakjes voor meer informatie over de bediening van de onderdelen.
Vooraanzicht

Wanneer de lens is verwijderd

text_image
8 9 10 11①Aan/Uit-schakelaar/ontspanknop
② Voorste keuzeknop
3 Afstandsbedieningssensor
4 Wi-Fi-antenne (ingebouwd)
5 Lensontgrendelingsknop
6Ingebouwde microfoon*
7 AF-hulplicht/
zelfontspannerlamp
8Vattingmarkering
9Beeldsensor* 2
10Vatting
11Contactpunten* 2
*1 Bedek dit deel niet tijdens het opnemen van bewegende beelden. Als u dit doet kan ruis worden veroorzaakt of het volume worden verlaagd.
*2 Raak deze onderdelen niet rechtstreeks aan.
Achteraanzicht

text_image
1 2 3 4 5
①Oogkap voor oculair
2 Zoeker
3MENU-toets (26)
4Oogsensor
5Monitor (18)
• U kunt de stand van de monitor aanpassen voor het maken van opnamen vanuit elk standpunt.

- Stel het diopter in overeenkomstig uw gezichtsvermogen door het diopter-instelwiel te draaien totdat het scherm in de zoeker scherp te zien is.

7Voor opnemen:
C3 (custom 3)-knop
Voor weergeven:
⊕ (vergroot-)knop
8AF/MF/AEL-keuzeknop 9Achterste keuzeknop
10 Voor opnemen:
AF/MF (automatische scherpstelling/handmatige scherpstelling)-knop/AEL-knop
Voor weergeven:
(beeldindex-)knop

11MOVIE-knop
12 Voor opnemen: Fn-toets (24)
Voor weergeven: ⚡Naar smartph verznd-)knop
- U kunt het scherm [Naar smartph verznd] afbeelden door op deze knop te drukken.
13 Besturingswiel (22)
14 Voor opnemen:
C4 (Eigen 4-)knop
Voor weergeven: (wis-)knop
15 Toegangslamp
16 (weergave-)knop
NL
Bovenaanzicht/zijaanzicht

text_image
1 2 3 4 5 6 7
① Positiemarkering beeldsensor
②Luidspreker
③ (microfoon-)aansluiting
- Wanneer een externe microfoon is aangesloten, wordt de microfoon automatisch ingeschakeld. Als de externe microfoon van een stekker is voorzien, wordt de voeding voor de microfoon geleverd door de camera.
4 (hoofdtelefoon-)aansluiting
5Multi/Micro USB-aansluiting*
- Ondersteunt een micro-USB-compatibel apparaat.
6 Oplaadlampje (29)
7HDMI-microaansluiting
8Multi-interfaceschoen*
- Sommige accessoires kunnen niet helemaal erop geschoven worden en steken aan de achterkant uit de multi-interfaceschoen. Echter, wanneer het accessoire tot aan de voorkant van de schoen erop is geschoven, is de aansluiting correct.
9 Functiekeuzeknop
10C2 (custom 2)-knop
11C1 (custom 1)-knop
12 Belichtingscompensatieknop
13 Bevestigingsogen voor de schouderriem
- Bevestig beide uiteinden van de riem aan de camera.

- Deze markering geeft het aanraakpunt aan voor het verbinden van de camera met een NFC-compatibele smartphone.
Voor informatie over de plaats van de (N-markering) op uw smartphone, raadpleegt u de gebruiksaanwijzing van uw smartphone.

• NFC (Near Field Communication) is een internationale norm voor draadloze communicatie over een korte afstand.
15Deksel van geheugenkaartgleuf
* Voor meer informatie over accessoires die compatibel zijn met de multi-interfaceschoen en de multi/micro USB-aansluiting, gaat u naar de Sony-website of neemt u contact op met uw Sony-dealer of de plaatselijke, erkende technische dienst van Sony.
U kunt ook accessoires gebruiken die compatibel zijn met de accessoireschoen.
De werking van accessoires van andere fabrikanten kan niet worden gegarandeerd.
ni Multi Interface Shoe
Accessory Shoe
NL
Onderaanzicht

1 Accuvak (28)
2Accudeksel (28)
③Schroefgat voor statief
- Gebruik een statief met een schroef van minder dan 5,5 mm lang. Als de schroef te lang is, kunt u de camera niet stevig bevestigen en kan de camera worden beschadigd.
4 Vergrendelknop van deksel van batterijvak
5Ontgrendelhendel van deksel van batterijvak
- Wanneer u een verticale handgreep (los verkrijgbaar) bevestigt, verwijdert u het deksel van het batterijvak.
Afdekking van verbindingsplaat
Gebruik deze wanneer u een AC-PW20-netspanningsadapter (los verkrijgbaar) gebruikt. Steek de verbindingsplaat in het accuvak en geleid het snoer daarna door de opening in de afdekking van verbindingsplaat zoals hieronder is afgebeeld.

- Let erop dat het snoer niet bekneld raakt wanneer u het accudeksel sluit.
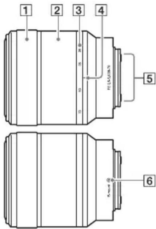
Lens FE 28-70 mm F3.5-5.6 OSS (geleverd bij ILCE-7M2K)

text_image
1 2 3 4 5 6① Scherpstelring
2Zoomring
③ Schaal voor brandpuntsafstand
4 Markeringen voor brandpuntsafstand
5 Contactpunten van de lens*
6Vattingmarkering
* Raak dit onderdeel niet rechtstreeks aan.
Lijst van pictogrammen op de monitor
De status van de monitor is in de standaardinstellingen ingesteld op [Alle info weerg.].
Wanneer u de instelling van [DISP-knop] verandert, en op het besturingswiel op DISP drukt, verandert de status van het scherm naar de zoekerfunctie. U kunt ook het histogram afbeelden door op DISP te drukken. De weergegeven contents en hun positie die hieronder worden afgebeeld, dienen slechts als richtlijn en kunnen verschillen van het daadwerkelijke display.
Monitorfunctie Voor weergave
Basisinformatiedisplay

text_image
1 2 2 3
Histogramweergave
Automatisch. modus- of Scènekeuze-functie

text_image
1 3 1 ISO AUTO 2 100%
flowchart
graph TD
A["1"] --> B["Layer 1"]
C["2"] --> D["Layer 2"]
E["3"] --> F["Layer 3"]
P/A/S/M/Panorama d. beweg.-functie

| Weergave-scherm | Indicatie |
| Opnamefunctie | |
| 1 2 M 1 M 2M 3 M 4 | Registernummer |
| Pictogram van scèneherkenning | |
| NO CARDOFF↑ ↑ ↑ | Geheugenkaart (33)/Uploaden |
| 100 Resterend | aantal opneembare beelden |
| Houding van stilstaande beelden | |
| 24M 20M10M 8.7M6.0M 5.1M2.6M 2.2MWIDESTD | Beeldformaat van stilstaande beelden |
| RAWRAW+JX.FINEFINE STD | Beeldkwaliteit van stilstaande beelden |
| 60p 60i 30p 24p50p 50i 25p | Frames per seconde van bewegende beelden |
| Weergave-scherm | Indicatie |
| Beeldformaat van bewegende beelden | |
| Resterende acculading (31) | |
| Waarschuwing voor resterende acculading | |
| Flitser bezig op te laden | |
| APS-C-opnameformaat | |
| Instelling effect uit | |
| AF-hulplicht | |
| NFC is geactiveerd | |
| Vliegtuigfunctie | |
| Geen audio-opname van bewegende beelden | |
| Windgeluid-onderdrukking | |
| SteadyShot/Camerabeweging-indicator | |
| SteadyShotBrandpuntsafstand/waarschuwingcamerabeweging | |
| Waarschuwing voor oververhitting | |
| bestand vol/Databasebestandsfout | |
| Slimme-zoom/Helde Beeld Zoom/Digitale zoom | |
| Digitale niveaumeter | |
| Audioniveau | |
| Weergavefunctie | |
| 100-0003 Map | -bestandsnummer |
| ○—nBeveiligen | |
| XAVC S AVCHD MP4 | Opnamefunctie van bewegende beelden |
| DPOF DPOF ingesteld | |
| Automatisch objectomkadering | |
| Dubbele video-OPN | |
| -PC- | PC-afstandsbedien. |
2
| Weergave-scherm | Indicatie |
| Transportfunctie | |
| Flitserfunctie/Rode-ogeneffect-vermindering | |
| compensatie | |
| Scherpstellingsfunctie | |
| AF-gebied |
| Weergave-scherm | Indicatie |
![]() | Gezichtsherkenning/Lach-herkenning |
![]() | Lichtmeetfunctie |
![]() | untsafstand van lens |
![]() | Witbalans(Automatisch, Vooringesteld, Onderwater automatisch, Eigen, Kleurtemperatuur, kleurcorrectiefilter) |
![]() | |
![]() | Dynamisch-bereikoptimalisatie/Auto HDR |
![]() | Creatieve stijl/Contrast, Verzadiging, Scherpte |
![]() | Foto-effect |
![]() | Gevoeligheidsindicator lachdetectie |
![]() | |
3
| Weergave-scherm | Indicatie |
| ● AF-vergrendeling | AF-vergrendeling-gids |
![]() | EV-schaalverdeling |
![]() | Belichtingscompensatie/Gemeten-handmatig |
![]() | ameduur van de bewegende beelden (m:s) |
![]() | Scherpstellen |
![]() | d |
![]() | awaarde |
![]() ![]() | ISO-gevoeligheid |
![]() | ndeling/FEL-vergrendeling |
![]() | Sluitertijdbalk |
![]() | Diafragma-indicatie |
![]() | Histogram |
![]() ![]() ![]() | Dynamisch-bereikoptimalisatie/Auto HDR/Waarschuwing Auto HDR-beeld |
![]() | Foto-effect-fout |
![]() ![]() | Opnamedatum |
![]() | immer/Aantal beelden in de weergavefunctie |
![]() | ediening |
![]() | Spot-lichtmeetveld |
![]() | jdcode (uur:minuut:seconde: frame) |
De camera bedienen
Het gebruik van het besturingswiel

text_image
DISP ISO- U kunt het besturingswiel draaien of op de boven-/onder-/linker-/rechterkant van het besturingswiel drukken om het geselecteerde kader te veranderen. Druk op ● in het midden van het besturingswiel om het geselecteerde onderdeel in te stellen. In deze handleiding wordt het drukken op de boven-/onder-/linker-/rechterkant van het besturingswiel aangegeven met ▲/▼/◄/►.
- De volgende functies zijn toegewezen aan ▲/◄/► op het besturingswiel.
| ▲DISP Verandert de aanduidingen op het scherm. | ||
| ►ISO ISO-gevoeligheid | ||
| ◄/ | Transportfunctie | Continue opname/BracketZelfontspanner |
- U kunt een gewenste functie toewijzen aan de knoppen ▼/◄/►/● en aan de draaistand van het besturingswiel in de opnamefunctie.
- Wanneer u het besturingswiel draait of op ◀/▶ op het besturingswiel drukt in de weergavefunctie, kunt u het vorige of volgende beeld weergeven.
Het gebruik van de voorste/achterste keuzeknop

U kunt de voorste of achterste keuzeknop draaien om de gewenste instellingen voor elke opnamefunctie met onmiddellijk effect te veranderen.
NL
Een functie selecteren met de Fn (functie)-knop
Deze knop wordt gebruikt voor het instellen of uitvoeren van functies die veelvuldig worden gebruikt tijdens het opnemen, behalve voor functies op het Quick Navi-scherm.
1 Druk op DISP op het besturingswiel om de schermfunctie in te stellen op iets anders dan [Voor zoeker].
2 Druk op de Fn-knop.

text_image
Fn3 Selecteer het gewenste item met ▲/▼/◄/► op het besturingswiel.
Het instelscherm wordt afgebeeld.
4 Selecteer de gewenste instelling door de voorste keuzeknop te draaien en druk daarna op ● op het besturingswiel.
- Sommige instelwaarden kunnen worden fijngeregeld door de achterste keuzeknop te draaien.

text_image
AP53 AF-C GMP ±0.0 AF-5 ( ) ISO AUTO AMB SFP 124-125 PIndividuele instellingen maken op het specifieke scherm
In stap 3, selecteer een instelitem en druk op ● op het besturingswiel om over te schakelen naar het specifieke scherm van het instelitem. Stel de items in aan de hand van de Bedieningsgids.

text_image
AP-1 AP-C 3MP BedieningsgidsNL
Functies die kunnen worden geselecteerd met de MENU-knop
U kunt de basisinstellingen instellen voor de camera als geheel of functies uitvoeren zoals opnamen maken, afspelen of andere bedieningshandelingen.
1 Druk op de MENU-knop om het menu af te beelden.
2 Selecteer het gewenste instelitem door op ▲/▼/◄/► van het besturingswiel te drukken of door het besturingswiel te draaien, en daarna op ● in het midden van het besturingswiel te drukken.
- Selecteer een pictogram bovenaan het scherm en druk op ◀/▶ van het besturingswiel om naar een ander MENU-onderdeel te gaan.

text_image
1 2 3 4 5 6 7 8 9 _______________________________ _______________________________ _______________________________ _______________________________ _______________________________ _______________________________ _______________________________ WBS >3 Selecteer de waarde van de instelling en druk daarna ter bevestiging op ●.
Het tegelmenu weergeven
Selecteert of het beginscherm van het menu altijd moet worden weergegeven wanneer u op de MENU-knop drukt.
MENU-knop → 📄 (Instellingen) → [Tegelmenu] → [Aan]
De helpfunctie in camera gebruiken
U kunt met [Eigen toetsinstelling.] de helpfunctie in camera toewijzen aan de gewenste knop.
De helpfunctie in camera beeldt beschrijvingen af van de huidig geselecteerde menufunctie of instelling.
MENU-knop → ⚙ (Eigen instellingen) → [Eigen toetsinstelling.] → Selecteer de gewenste knop toegewezen aan de functie. → [Helpfunct. in camera]
Druk op de MENU-knop en gebruik het besturingswiel om een MENU-onderdeel te selecteren waarvan u de beschrijving wilt lezen, en druk daarna op de knop waaraan de [Helpfunct. in camera] is toegewezen.
De accu opladen
Het is belangrijk dat u de accu NP-FW50 (bijgeleverd) oplaadt als u de camera voor het eerst gebruikt.
De InfoLITHIUM™-accu kan zelfs worden opgeladen als deze niet volledig leeg is.
De accu kan ook worden gebruikt als deze niet volledig opgeladen is.
De opgeladen accu verliest steeds wat lading, ook als u de accu niet gebruikt. Om te voorkomen dat u een opnamekans mist, laadt u de accu op voordat u opnieuw opneemt.
1 Zet de ON/OFF (Aan/Uit)-schakelaar op OFF.

text_image
OFF ON2 Verschuif de knop om het deksel te openen.

3 Gebruik de punt van de accu om de vergrendelingshendel te verschuiven en steek de accu er helemaal in.
Vergrendelingshendel

5 Sluit de camera aan op de netspanningsadapter (bijgeleverd) met behulp van de micro-USB-kabel (bijgeleverd), en sluit de netspanningsadapter aan op een stopcontact.

Het oplaadlampje brandt oranje en het opladen start.
- Zorg ervoor dat tijdens het opladen van de accu de camera is uitgeschakeld.
- Wanneer het oplaadlampje knippert en het opladen niet klaar is, haalt u de accu eruit en plaatst u deze er weer in.
- Voor andere landen/gebieden dan de VS en Canada, sluit u het netsnoer aan op de netspanningsadapter en sluit u de netspanningsadapter aan op het stopcontact.

Brandt niet: Opladen voltooid
Knippert:
Oplaadfout of opladen tijdelijk gepauzeerd omdat de camera niet binnen het juiste temperatuurbereik is
Opmerkingen
- Wanneer het oplaadlampje van de camera knippert terwijl de netspanningsadapter is aangesloten op het stopcontact, betekent dit dat het opladen tijdelijk is onderbroken omdat de temperatuur buiten het aanbevolen bereik ligt. Wanneer de temperatuur weer binnen het geschikte bereik komt, wordt het opladen hervat. Het wordt aanbevolen de accu op te laden bij een omgevingstemperatuur van 10 °C t/m 30 °C.
- Sluit de netspanningsadapter (bijgeleverd) aan op een stopcontact in de buurt. In het geval een storing optreedt tijdens het gebruik van de netspanningsadapter, trekt u onmiddellijk de stekker van het netsnoer uit het stopcontact om de voeding los te koppelen.
- Wanneer u de batterij voor het eerst oplaadt of wanneer de batterij een lange tijd niet is gebruikt, kan het oplaadlampje snel knipperen. Als dat gebeurt, haalt u de accu uit de camera en plaatst u hem daarna weer terug om hem op te laden.
- Blijf de accu niet continu of herhaaldelijk opladen zonder hem te gebruiken als hij al (bijna) helemaal is opgeladen. Als u dat doet kunnen de prestaties van de accu achteruitgaan.
- Nadat het opladen klaar is, trekt u de stekker van het netsnoer van de netspanningsadapter uit het stopcontact.
- Gebruik uitsluitend een originele accu, micro-USB-kabel (bijgeleverd) en netspanningsadapter (bijgeleverd) van het merk Sony.
De oplaadtijd met de netspanningsadapter (bijgeleverd) is ongeveer 150 minuten.
Opmerkingen
- Bovenstaande oplaadtijd geldt voor het opladen van een volledig lege accu bij een temperatuur van 25 °C. Het opladen kan langer duren afhankelijk van gebruikscondities en de omstandigheden.
Opladen door aansluiting op een computer
De accu kan worden opgeladen door de camera met behulp van een micro-USB-kabel aan te sluiten op een computer. Sluit de camera aan op de computer terwijl de camera is uitgeschakeld.

- Als de camera is aangesloten op een laptop-computer die niet op de stroomvoorziening is aangesloten, daalt de acculading van de laptop. Laad niet langdurig op.
- Zet de computer niet aan/uit en start de computer niet opnieuw op, al dan niet uit de energiebesparingsstand, wanneer een USB-verbinding tot stand is gebracht tussen de computer en de camera. De camera kan een storing veroorzaken. Voordat u de computer uit- of inschakelt, herstart of uit de slaapstand wekt, verbreekt u de verbinding tussen de camera en de computer.
- Wanneer een eigengebouwde of gewijzigde computer wordt gebruikt om de accu in de camera op te laden, kan de juiste werking niet worden gegarandeerd.
NL
De resterende acculading controleren
De resterende-ladingindicator wordt afgebeeld op het scherm.

text_image
Vol LeegOpmerkingen
- Het is mogelijk dat de resterende-acculadingindicator niet correct aangeeft onder bepaalde omstandigheden.
De accu eruit halen
Zet de camera uit. Verschuif de vergrendelingshendel na gecontroleerd te hebben dat het toegangslampje (pagina 13) uit is en haal de accu eruit. Zorg ervoor dat u de accu niet laat vallen.
Vergrendelingshendel

Een geheugenkaart (los verkrijgbaar) plaatsen
1 Verschuif de knop om het deksel te openen.

2 Plaats de geheugenkaart.
- Met de afgeschuinde hoek gericht zoals aangegeven in de afbeelding, steekt u de geheugenkaart in de gleuf tot hij op zijn plaats vastklikt.

Let erop dat de afgeschuinde hoek in de juiste richting wijst.
3 Sluit het deksel.

De geheugenkaart eruit halen
Controleer dat het toegangslampje (pagina 13) niet aan is, en duw daarna de geheugenkaart eenmaal naar binnen.
Geheugenkaarten die kunnen worden gebruikt
U kunt de volgende geheugenkaarten in deze camera gebruiken. Een goede werking kan echter niet voor alle typen geheugenkaarten worden gegarandeerd.
| Geheugenkaart | Voor stilstaande beelden | Voor bewegende beelden | |
| A | Memory Stick PRO DuoTM (alleen Mark2) | √ | |
| Memory Stick PRO-HG DuoTM | √ | √ | |
| Memory Stick XC-HG DuoTM | √ | √ | |
| B | SD-geheugenkaart (klasse 4 of sneller) | √ | √ |
| SDHC-geheugenkaart (klasse 4 of sneller) | √ | ||
| SDXC-geheugenkaart (klasse 4 of sneller) | √ |
- In deze gebruiksaanwijzing worden de producten in de tabel gezamenlijk als volgt genoemd:
A: Memory Stick PRO Duo
B: SD-kaart
Opnemen van bewegende beelden in het XAVC S-formaat
Gebruik de volgende geheugenkaarten:
- SDXC-geheugenkaart (64 GB of meer en klasse 10 of sneller)
- SDXC-geheugenkaart (64 GB of meer en UHS-I (U1))
- Memory Stick XC-HG Duo
Opmerkingen
- Beelden die zijn opgenomen op een Memory Stick XC-HG Duo of een SDXC-geheugenkaart kunnen niet worden geïmporteerd of weergegeven op computers of AV-apparaten die niet compatibel zijn met exFAT*. Controleer of het apparaat compatibel is met exFAT voordat u het op de camera aansluit. Als u uw camera op een incompatibel apparaat aansluit, zult u misschien worden gevraagd de kaart te formatteren.
Formatteer de kaart nooit als reactie op deze melding, omdat alle gegevens op de kaart zullen worden gewist, als u dat doet.
* exFAT is het bestandssysteem dat wordt gebruikt op de Memory Stick XC-HG Duo en SDXC-geheugenkaarten.
De lens bevestigen
Zet de Aan/Uit-schakelaar van de camera op OFF voordat u de lens bevestigt of verwijdert.
1 Haal de lensvattingdop van de camera af en haal de achterlensdop van de lens af.
- Als u de lens verwisselt, doet u dit snel en op een stofvrije plaats om te voorkomen dat stof of vuil in de camera kan binnendringen.
- Alvorens op te nemen, haalt u de lensdop op de voorkant van de lens af.
Lensdop op de voorkant van de lens

text_image
Lensvattingdop Achterlensdop2 Lijn eerst de witte uitlijnmarkeringen (vattingmarkeringen) op de lens en de camera met elkaar uit.
- Houd de camera vast met de lens omlaag gericht om te voorkomen dat stof in de camera kan binnendringen.

Witte uitlijnmarkeringen
NL
3 Terwijl u de lens licht tegen de camera aan duwt, draait u de lens rechtsom totdat deze in de vergrendelde positie klikt.
- Het is belangrijk dat u de lens recht op de camera zet.

- Bij het bevestigen van de lens, mag u de lensontgrendelingsknop niet indrukken.
- Oefen bij het bevestigen van de lens geen grote kracht uit.
- De vattingadapter (los verkrijgbaar) is vereist om een lens met A-vatting (los verkrijgbaar) te kunnen gebruiken. Als u de vattingadapter gebruikt, raadpleegt u de gebruiksaanwijzing die bij de vattingadapter werd geleverd.
- Wanneer u volframe-beelden wilt opnemen, gebruikt u een lens die is ontworpen voor een volframe-camera.
- Als u de camera draagt terwijl een lens is bevestigd, houdt u zowel de camera als de lens zorgvuldig vast.
- Houd de lens niet vast aan het gedeelte dat is uitgeschoven ten behoeve van zoomen of scherpstellen.
De lens eraf halen
1 Druk de lensontgrendelingsknop helemaal in en draai de lens linksom tot aan de aanslag.

2 Bevestig de lensdoppen op de voor- en achterkant van de lens en de lensvattingdop op de camera.
- Voordat u de lens bevestigt, verwijdert u eventueel stof eraf.

Opmerkingen over het wisselen van lenzen
Als bij het wisselen van de lens stof of vuil in de camera binnendringt en op het oppervlak van de beeldsensor komt (het onderdeel dat het licht omzet in een elektrisch signaal), kan dit afhankelijk van de opnameomstandigheden als donkere vlekken zichtbaar zijn op het beeld.
Wanneer u een lens bevestigt of eraf haalt doet u dit snel en op een stofvrije plaats.
De datum en tijd instellen
Wanneer u de camera voor het eerst inschakelt of nadat u de functies hebt geïntitialiseerd, wordt het scherm voor de instelling van de datum en de tijd afgebeeld.
1 Zet de Aan/Uit-schakelaar op ON als u de camera wilt inschakelen.
Het scherm voor het instellen van datum en tijd wordt afgebeeld.
- Zet de Aan/Uit-schakelaar op OFF als u de camera wilt uitschakelen.

text_image
OFF ON2 Controleer of [Enter] is geselecteerd op het scherm, en druk daarna op ● op het besturingswiel.
![SONY Alpha ILCE7M2K - Controleer of [Enter] is geselecteerd op het scherm, en druk daarna op ● op het besturingswiel. - 1](/content/2026/03/464007/images/1c9e36559ae570b178dbd9998b93499413dca99bc3400cc84cb41036ed19f9e6.jpg)
3 Selecteer een gewenste geografische locatie en druk daarna op ●.
4 Druk op ▲/▼ op het besturingswiel of selecteer een instelitem door het besturingswiel te draaien, en druk daarna op ●.
5 Druk op ▲/▼/◄/► of selecteer een gewenste instelling door het besturingswiel te draaien, en druk daarna op ●.
6 Herhaal de stappen 4 en 5 om andere items in te stellen, en selecteer daarna [Enter] en druk op ● op het besturingswiel.
De instelbediening van de datum en tijd annuleren
Druk op de MENU-knop.
De datum/tijd en het gebied controleren of terugstellen
Het instelscherm voor de datum en tijd wordt automatisch afgebeeld wanneer de camera voor de eerste keer wordt ingeschakeld of nadat de ingebouwde, oplaadbare reservebatterij leeg is. Om de datum en tijd opnieuw in te stellen, gebruikt u het menu.
MENU-knop → 📁 (Instellingen) → [Datum/tijd instellen] of [Tijdzone instellen]

text_image
MENU-knopOpmerkingen
- De camera heeft geen functie voor het invoegen van de datum op een beeld. U kunt de datum invoegen en het beeld opslaan of afdrukken met behulp van PlayMemories Home (pagina 42).
De instelling van de datum en de tijd bewaren
Deze camera is uitgerust met een interne, oplaadbare batterij om de datum en tijd en ook andere instellingen te bewaren, ongeacht of de camera is ingeschakeld of niet en of de accu in het toestel zit of niet.
De software gebruiken
Gebruik de volgende softwareprogramma's om de beelden die u met uw camera hebt opgenomen optimaal te benutten.
• Image Data Converter
- PlayMemories Home
- Remote Camera Control
Voor informatie over het installeren, zie pagina's 41 en 44.
Systeemvereisten
U vindt de systeemvereisten voor de software op de volgende URL: http://www.sony.net/pcenv/

Image Data Converter gebruiken
Door Image Data Converter te gebruiken kunt u het volgende doen:
- U kunt beelden die in het RAW-formaat zijn opgenomen weergeven en bewerken met diverse correcties, zoals tooncurve en scherpte.
- U kunt beelden aanpassen met witbalans, belichting, [Creatieve stijl], enz.
- U kunt de beelden die op een computer zijn weergegeven en bewerkt, opslaan.
U kunt het beeld opslaan in het RAW-formaat of in een algemeen bestandsformaat.
- U kunt de RAW-beelden en JPEG-beelden die door deze camera zijn opgenomen, weergeven en vergelijken.
- U kunt de beelden rangschikken in 5 klassen.
• U kunt kleurlabels toepassen, enz.
Raadpleeg de helpfunctie voor informatie over het gebruik van Image Data Converter.
Klik op [start] → [Alle programma's] → [Image Data Converter] → [Help] → [Image Data Converter Ver.4].
Image Data Converter-ondersteuningspagina (alleen in het Engels) http://www.sony.co.jp/ids-se/
NL
Image Data Converter installeren
1 Download de software vanaf de volgende URL en installeer de software op uw computer.
Windows:
http://www.sony.co.jp/imsoft/Win/
Mac:
- Log in als beheerder.
PlayMemories Home gebruiken
Met het softwareprogramma PlayMemories Home kunt u stilstaande en bewegende beelden in u computer importeren en deze gebruiken.
PlayMemories Home is vereist voor het importeren van bewegende beelden in het XAVC S-formaat of AVCHD-formaat in uw computer.

Beelden importeren uit uw camera

Geïmporteerde beelden
weergeven

Onder Windows zijn ook de volgende functies beschikbaar:

Beelden bekijken
op een kalender

Een disc met
bewegende
beelden
maken

YouTube
Beelden uploaden naar netwerkservices
Beelden delen op
PlayMemories Online™

PlayMemories Online


- U kunt Image Data Converter of Remote Camera Control, enz. downloaden door de onderstaande procedure te volgen: Sluit de camera op uw computer aan → open PlayMemories Home → klik op [Meldingen].
Opmerkingen
- Een internetverbinding is noodzakelijk om PlayMemories Home te installeren.
- Een internetverbinding is noodzakelijk om PlayMemories Home of andere netwerkservices te gebruiken. PlayMemories Home of andere netwerkservices zijn mogelijk niet beschikbaar in sommige landen of gebieden.
- Voor softwareprogramma's voor Mac, raadpleegt u de volgende URL: http://www.sony.co.jp/imsoft/Mac/
- Als het softwareprogramma PMB (Picture Motion Browser), dat werd geleverd bij modellen die zijn uitgebracht vóór 2011, reeds is geïnstalleerd op uw computer, zal het tijdens de installatie worden overschreven door PlayMemories Home. Gebruik PlayMemories Home, de opvolger van het softwareprogramma PMB.
- Bewegende beelden die zijn opgenomen terwijl [Oname-instell.] is ingesteld op [60p 28M(PS)]/[50p 28M(PS)], [60i 24M(FX)]/[50i 24M(FX)] of [24p 24M(FX)]/[25p 24M(FX)], worden door PlayMemories Home omgezet om een AVCHD-opnamedisc te maken. Deze omzetting kan lang duren. U kunt geen disc maken met de originele beeldkwaliteit. Als u de oorspronkelijke beeldkwaliteit wilt behouden, slaat u uw films op op een Blu-ray-disc.
PlayMemories Home installeren
1 Gebruik de internetbrowser op uw computer en ga naar de volgende URL en klik daarna op [Installeren] → [Uitvoeren].
http://www.sony.net/pm/
NL
2 Volg de aanwijzingen op het scherm en voltooi de installatie.
Remote Camera Control gebruiken
Sluit de camera op uw computer aan. Met Remote Camera Control kunt u:
- De camera instellen of een beeld opnemen vanaf een computer.
- Een beeld rechtstreeks op de computer opnemen.
- Maak een intervaltimeropname.
Maak de volgende instelling vóór gebruik: MENU-knop →

(Instellingen) → [USB-verbinding] → [PC-afstandsbedien.]
Remote Camera Control installeren
1 Gebruik de internetbrowser op uw computer en ga naar de volgende URL.
Windows:
http://www.sony.co.jp/imsoft/Win/
Mac:
2 Volg de instructies op het scherm om de Remote Camera Control te downloaden en installeren.
Opmerkingen
- Een internetverbinding is noodzakelijk om Remote Camera Control te installeren.
Handelsmerken
• Memory Stick en zijn handelsmerken of gedeponeerde handelsmerken van Sony Corporation.
• XAVC S en XAVC S
gedeponeerde handelsmerken van Sony Corporation.
- "AVCHD Progressive" en het logo "AVCHD Progressive" zijn handelsmerken van Panasonic Corporation en Sony Corporation.
- Windows is een gedeponeerd handelsmerk van Microsoft Corporation in de Verenigde Staten en/of andere landen.
• Mac is een gedeponeerd handelsmerk van Apple Inc. in de Verenigde Staten en andere landen.
- Het SDXC-logo is een handelsmerk van SD-3C, LLC.
- Facebook en het "f"-logo zijn handelsmerken of gedeponeerde handelsmerken van Facebook, Inc.
- YouTube en het YouTube-logo zijn handelsmerken of gedeponeerde handelsmerken van Google Inc.
- Alle andere in deze gebruiksaanwijzing vermelde systeem- en productnamen zijn doorgaans handelsmerken of gedeponeerde handelsmerken van de betreffende ontwikkelaars of fabrikanten. In deze gebruiksaanwijzing worden de aanduidingen ^TM en ^® mogelijk niet in alle gevallen gebruikt.

InfoLITHIUM







Extra informatie over dit product en antwoorden op veelgestelde vragen vindt u op onze Customer Support-website voor klantenondersteuning.
http://www.sony.net/
SimpelGids































