Alpha ILCE7M2K - Aparat fotograficzny SONY - Bezpłatna instrukcja obsługi
Znajdź bezpłatnie instrukcję urządzenia Alpha ILCE7M2K SONY w formacie PDF.
Questions des utilisateurs sur Alpha ILCE7M2K SONY
0 question sur cet appareil. Repondez a celles que vous connaissez ou posez la votre.
Poser une nouvelle question sur cet appareil
Pobierz instrukcję dla swojego Aparat fotograficzny w formacie PDF za darmo! Znajdź swoją instrukcję Alpha ILCE7M2K - SONY i weź swoje urządzenie elektroniczne z powrotem w ręce. Na tej stronie opublikowane są wszystkie dokumenty niezbędne do korzystania z urządzenia. Alpha ILCE7M2K marki SONY.
INSTRUKCJA OBSŁUGI Alpha ILCE7M2K SONY
Aparat cyfrowy z wymiennymi obiektywami/Instrukcja obsługi
Więcej informacji o aparacie („Przewodnik pomocniczy”)

„Przewodnik pomocniczy” to instrukcja internetowa. Instrukcję „Przewodnik pomocniczy” można czytać w komputerze lub na smartfonie. Zawiera ona szereg szczegółowych opisów wielu funkcji aparatu.
Adres URL:
http://rd1.sony.net/help/ilc/1450/h_zz/

Aby zmniejszyć ryzyko pożaru lub porażenia prądem, nie wystawiać urządzenia na deszcz i chronić je przed wilgocią.
WAŻNE INSTRUKCJE DOTYCZĄCE BEZPIECZEŃSTWA -ZACHOWAJ TE INSTRUKCJE NIEBEZPIECZEŃSTWO ABY ZMNIJEJSZYĆ RYZYKO POŻARU I PORAŻENIA PRADEM, POSTĘPUJ ZGODNIE Z TYMI INSTRUKCJAMI
OSTRZEŻENIE
Akumulator
Nieprawidłowe obchodzenie się z akumulatorem może doprowadzić do jego wybuchu, pożaru lub nawet poparzenia chemicznego. Należy przestrzegać następujących uwag.
- Akumulatora nie należy demontować.
- Nie należy zgniatać ani narażać akumulatora na zderzenia lub działanie sił takich, jak uderzanie, upuszczanie lub nadepnięcie.
-
Nie należy doprowadzać do zwarcia ani do zetknięcia obiektów metalowych ze stykami akumulatora.
-
Akumulatora nie należy wystawiać na działanie wysokich temperatur powyżej 60°C spowodowanych bezpośrednim działaniem promieni słonecznych lub pozostawieniem w nasłonecznionym samochodzie.
- Akumulatora nie należy podpalać ani wrzucać do ognia.
- Nie należy używać uszkodzonych lub przeciekających akumulatorów litowo-jonowych.
- Należy upewnić się, że akumulator jest ładowany przy użyciu oryginalnej ładowarki firmy Sony lub urządzenia umożliwiającego jego naładowanie.
- Akumulator należy przechowywać w miejscu niedostępnym dla małych dzieci.
- Należy chronić akumulator przed wilgocią i zamoczeniem.
- Akumulator należy wymienić tylko na akumulator tego samego lub zbliżonego typu, zgodnie z zaleceniami firmy Sony.
- Zużytych akumulatorów należy pozbyć się szybko, tak jak opisano w instrukcji.
Zasilacz sieciowy
Aby skorzystać z zasilacza sieciowego, należy podłączyć go do pobliskiego gniazda sieciowego. Jeśli wystąpią jakiekolwiek problemy podczas korzystania z zasilacza sieciowego, natychmiast wyjmij wtyczkę z gniazda zasilania.
Jeżeli przewód zasilający jest dostarczony, jest on przeznaczony wyłącznie do użycia z tym aparatem i nie może być używany razem z innym sprzętem elektrycznym.
Uwaga dla klientów w Europie
Uwaga dla klientów w krajach stosujących dyrektywy UE
Producent: Sony Corporation, 1-7-1 Konan Minato-ku Tokio, 108-0075 Japonia Wprowadzenie produktu na terenie RP: Sony Europe Ltd., The Heights, Brooklands, Weybridge, Surrey KT13 0XW, Wielka Brytania Informacje o zgodności produktu z wymaganiami UE: Sony Deutschland GmbH, Hedelfinger Strasse 61, 70327 Stuttgart, Niemcy
CE
Niniejszym Sony Corporation oświadcza, że opisywane urządzenie jest zgodne z zasadniczymi wymaganiami oraz innymi stosownymi postanowieniami Dyrektywy 1999/5/ WE. Szczegółowe informacje znaleźć można pod następującym adresem URL: http://www.compliance.sony.de/
Uwaga
Jeśli ładunki elektrostatyczne lub pola elektromagnetyczne spowodują przerwanie przesyłania danych, należy uruchomić ponownie aplikację lub odłączyć, a następnie ponownie podłączyć kabel komunikacyjny (USB itp.).
Urządzenie przetestowano i stwierdzono jego zgodność z limitami określonymi w przepisach dotyczących zgodności elektromagnetycznej dotyczących wykorzystania przewodów połączeniowych krótszych niż 3 metry.
Na obraz i dźwięk z urządzenia może wpływać pole elektromagnetyczne o określonej częstotliwości.
Pozbywanie się zużytych baterii i zużytego sprzętu (stosowane w krajach Unii Europejskiej i w pozostałych krajach europejskich mających własne systemy zbiórki)

Ten symbol umieszczony na produkcie, baterii lub na jej opakowaniu oznacza, że ten ani produkt ani bateria nie mogą być ona traktowane jako odpad komunalny. Symbol ten dla pewnych rodzajów baterii może być stosowany w kombinacji z symbolem chemicznym. Symbole chemiczne rtęci (Hg) lub ołowiu (Pb) stosuje się jako dodatkowe oznaczenie, jeśli bateria zawiera więcej niż 0,0005% rtęci lub 0,004% ołowiu. Odpowiednio gospodarując zużytymi produktami i zużytymi bateriami, możesz zapobiec potencjalnym negatywnym wpływom na środowisko oraz zdrowie ludzi, jakie mogłyby wystąpić w przypadku niewłaściwego obchodzenia się z tymi odpadami. Recykling baterii pomoże chronić środowisko naturalne.
W przypadku produktów, w których ze względu na bezpieczeństwo, poprawne działanie lub integralność danych wymagane jest stałe podłączenie do baterii, wymianę zużytej baterii należy zlecić wyłącznie wykwalifikowanemu personelowi stacji serwisowej.
Aby mieć pewność, że bateria znajdująca się w zużytym sprzęcie elektrycznym i elektronicznym będzie właściwie zagospodarowana, należy dostarczyć sprzęt do odpowiedniego punktu zbiórki.
W odniesieniu do wszystkich pozostałych zużytych baterii, prosimy o zapoznanie się z rozdziałem instrukcji obsługi produktu o bezpiecznym demontażu baterii. Zużytą baterię należy dostarczyć do właściwego punktu zbiórki.
W celu uzyskania bardziej szczegółowych informacji na temat zbiórki i recyklingu baterii należy skontaktować się z lokalną jednostką samorządu terytorialnego, ze służbami zajmującymi się zagospodarowywaniem odpadów lub ze sklepem, w którym zakupiony został ten produkt lub bateria.
Dotyczy klientów, którzy zakupili aparat w Japonii w sklepie obsługującym turystów
Uwaga
Niektóre symbole certyfikatów wspieranych przez aparat norm można znaleźć na ekranie aparatu.
Wybierz MENU →

(Ustawienia)
→ [Logo certyfikatu].
Jeśli wyświetlanie nie jest możliwe z powodu problemów takich jak awaria aparatu, należy skontaktować się ze sprzedawcą firmy Sony lub miejscową autoryzowaną placówką serwisową firmy Sony.
PL
Więcej informacji na temat funkcji Wi-Fi i funkcji z jednym dotknięciem NFC zawiera dołączony dokument „Wi-Fi Connection/One-touch (NFC) Guide” lub „Przewodnik pomocniczy”.
Niniejsza instrukcja dotyczy kilku modeli dostarczanych z różnymi obiektywami.
Nazwa modelu zależy od dostarczonego obiektywu. Dostępne modele zależą od kraju lub regionu.
| Nazwa modelu Obiektyw | |
| ILCE-7M2 Nie ma w zestawie | |
| ILCE-7M2K FE 28-70 mm F3.5-5.6 OSS | |
Uwagi dotyczące użytkowania aparatu
Język wyświetlany na ekranie
Możesz wybrać język wyświetlany na ekranie przy użyciu menu.
Procedura fotografowania
Aparat zapewnia dwa tryby podglądu: tryb monitora z wykorzystaniem monitora oraz tryb wizjera z wykorzystaniem wizjera.
Funkcje wbudowane w aparat
- Instrukcja urządzenia opisuje urządzenia obsługujące formaty 1080 60i oraz 1080 50i.
Aby dowiedzieć się, czy aparat obsługuje format 1080 60i lub 1080 50i, sprawdź następujące oznaczenia na spodzie aparatu. urządzenia zgodne z zapisem 1080 60i: 60i urządzenie zgodne z zapisem 1080 50i: 50i - Aparat obsługuje filmy w formacie 1080 60p lub 50p. W przeciwieństwie do standardowych trybów zapisu używanych do tej pory, które wykorzystują przeplot, opisywany aparat rejestruje obraz metodą progresywną. Powoduje to zwiększenie rozdzielczości i zapewnia wyraźniejszy, bardziej realistyczny obraz.
Tworzenie pliku bazy danych obrazów
Po włożeniu do aparatu karty pamięci, która nie zawiera pliku bazy danych obrazów, i włączeniu zasilania, aparat automatycznie tworzy plik bazy danych obrazów wykorzystując część pojemności karty pamięci.
Procedura może zająć dużo czasu i w tym czasie nie można używać aparatu, dopóki proces ten nie zostanie zakończony. Jeżeli wystąpi błąd pliku bazy danych, należy wyeksportować wszystkie obrazy do komputera przy użyciu programu PlayMemories Home™ i sformatować kartę pamięci przy użyciu aparatu.
Uwagi dotyczące nagrywania/odtwarzania
-
W celu zapewnienia stabilnej pracy karty pamięci, wskazane jest jej sformatowanie z poziomu aparatu przed jej pierwszym użyciem w danym aparacie.
Formatowanie karty pamięci powoduje usunięcie wszystkich danych zarejestrowanych na karcie pamięci bez możliwości ich przywrócenia. Przed przystąpieniem do formatowania należy skopiować dane na komputer lub inne urządzenie. -
W przypadku wielokrotnego nagrywania i usuwania obrazów w dłuższym okresie czasu, pliki na karcie pamięci mogą ulec fragmentacji i może nastąpić wstrzymanie operacji nagrywania filmu przed jej zakończeniem. W takim przypadku należy skopiować dane na komputer lub inne urządzenie, po czym wykonać polecenie [Formatuj].
- Przed przystąpieniem do wykonywania zdjęć/nagrywania należy wykonać zapis próbny, aby upewnić się, że aparat działa prawidłowo.
Zalecenie dotyczące kopii zapasowej karty pamięci
Wyłączenie aparatu lub wyjęcie akumulatora albo karty pamięci przy migającym wskaźniku dostępu może spowodować uszkodzenie danych na karcie pamięci. Aby nie doszło do utraty danych, zawsze należy pamiętać o ich skopiowaniu na inne urządzenie (utworzeniu kopii zapasowej).
Brak odszkodowania za uszkodzoną zawartość lub brak nagrania
Firma Sony nie może rekompensować szkód wynikających z braku możliwości zapisu, utraty lub uszkodzenia zapisanych treści wynikających z usterki aparatu lub nośnika danych, itp.
Wykonywanie zdjęć z obiektywem z bagnetem E zgodnym z rozmiarem APS-C
Aparat jest wyposażony w czujnik CMOS odpowiadający pełnoklatkowej kliszy 35 mm. Jednak rozmiar zdjęcia jest automatycznie ustawiany zgodnie z ustawieniem rozmiaru APS-C, a rozmiar zdjęcia jest mniejszy, gdy stosowany jest obiektyw z bagnetem E zgodny z rozmiarem APS-C (ustawienia domyślne).
Uwagi dotyczące monitora, wizjera elektronicznego, obiektywu i przetwornika obrazu
- Monitor i wizjer elektroniczny zostały wykonane przy użyciu wyjątkowo precyzyjnej technologii, dzięki której efektywnie wykorzystywanych może być ponad 99,99% pikseli. Na monitorze i na wizjerze elektronicznym mogą się jednak stale pojawiać małe czarne i/lub jasne punkciki (białe, czerwone, niebieskie lub zielone). Występowanie wspomnianych punktów jest normalnym zjawiskiem wynikającym z procesu produkcyjnego. Nie mają one żadnego wpływu na rejestrowane obrazy.
- Nie trzymać aparatu za monitor.
- W przypadku korzystania z obiektywu z zoomem elektrycznym, należy uważać na palce lub inne przedmioty, aby ich nie przytrzasnąć.
-
Chronić aparat przed źródłem mocnego światła, na przykład przed światłem słonecznym. Wewnętrzne podzespoły mogą bowiem ulec uszkodzeniu.
-
Nie patrzeć na słońce, ani ostre światło przez odłączony obiektyw. Może bowiem dojść do nieodwracalnego uszkodzenia wzroku lub nieprawidłowej pracy urządzenia.
- Nie używać aparatu w obszarach występowania silnych fal radiowych lub promieniowania. Funkcje nagrywania i odtwarzania mogą działać nieprawidłowo.
- W niskich temperaturach na ekranie może wystąpić efekt smużenia. Nie świadczy to o usterce.
Gdy aparat zostanie włączony w niskiej temperaturze, ekran może przez jakiś czas być ciemny. Gdy aparat rozgrzeje się, ekran zacznie działać normalnie. - Zapisany obraz może się różnić od obrazu widocznego na ekranie przed wykonaniem zdjęcia.
Uwagi dotyczące korzystania z obiektywów i akcesoriów
Wskazane jest korzystanie z obiektywów/akcesoriów marki Sony, ponieważ dostosowane są one do parametrów opisywanego aparatu. Użytkowanie opisywanego aparatu z produktami pochodzącymi od innych producentów może mieć wpływ na jego parametry, grozić wypadkiem lub być przyczyną nieprawidłowego działania. Sony nie ponosi żadnej odpowiedzialności za wspomniane wypadki lub nieprawidłowe działanie.
Uwagi dotyczące stopki multiinterfejsowej
- Przed przystąpieniem do podłączenia osprzętu, na przykład zewnętrznej lampy błyskowej, do stopki multiinterfejsowej lub odłączeniem go od niej, należy najpierw ustawić przełącznik zasilania w pozycji OFF. Mocując osprzęt, należy do oporu dokręcić śruby i sprawdzić, czy osprzęt jest dobrze zamocowany na aparacie.
- Nie używać zewnętrznej lampy błyskowej ze stykiem wysokiego napięcia do synchronizacji błysku lub o odwrotnej polaryzacji. Grozi to awarią.
Uwagi dotyczące wykonywania zdjęć z wizjerem
Aparat jest wyposażony w wizjer OEL o wysokiej rozdzielczości i dużym kontraście. Wizjer ten zapewnia szeroki kąt widzenia oraz ogranicza zmęczenie oczu. Aparat zaprojektowano tak, aby zapewnić dużą widoczność wizjera, poprzez odpowiednie zrównoważenie różnych elementów.
- Obraz może być nieco zniekształcony w narożnikach wizjera. Nie świadczy to o usterce. Gdy zależy nam na pełnej kompozycji z wszelkimi szczegółami, można również skorzystać z monitora.
- Jeśli przesuniesz aparat, patrząc przez wizjer lub poruszysz oczami, obraz na wizjerze może być zniekształcony lub barwy obrazu mogą się zmienić. Jest to cecha charakterystyczna obiektywu lub wyświetlacza i nie świadczy o usterce. Gdy wykonujesz zdjęcie, zalecamy, abyś patrzył na środkowy obszar wizjera.
- Podczas rejestrowania obrazów z wykorzystaniem wizjera użytkownik może objawy zmęczenia oczu, zmęczenia ogólnego, choroby lokomocyjnej lub nudności. W przypadku rejestrowania obrazów z wykorzystaniem wizjera wskazane są regularne przerwy.
Wymagana długość przerw i ich częstotliwość zależą od cech indywidualnych. Każdy powinien dobierać je według własnego uznania. W przypadku uczucia dyskomfortu należy zaprzestać korzystania z wizjera do momentu poprawy samopoczucia i zasięgnąć porady lekarza.
Uwagi dotyczące ciągłego zapisu wykonywanego przez dłuższy czas
- Zależnie od temperatury aparatu i akumulatora, nagrywanie filmów może być niemożliwe lub zasilanie może wyłączyć się automatycznie w celu ochrony aparatu. Na ekranie pojawi się komunikat informujący o wyłączeniu aparatu lub braku możliwości nagrywania filmów. W takim przypadku należy pozostawić zasilanie wyłączone i poczekać, aż aparat i akumulator ostygną. Jeśli włączysz zasilanie, nie pozwalając na obniżenie temperatury aparatu i akumulatora, może się ono ponownie samo wyłączyć, lub nagrywanie filmów będzie niemożliwe.
- Przy wysokiej temperaturze otoczenia temperatura aparatu szybko wzrasta.
- Przy wysokiej temperaturze aparatu jakość zdjęć może się pogorszyć. Zaleca się, aby poczekać z wykonywaniem zdjęć, aż temperatura aparatu spadnie.
- Powierzchnia aparatu może się rozgrzać. Nie świadczy to o usterce.
Uwagi dotyczące importowania filmów XAVC S i filmów AVCHD do komputera
W przypadku importowania filmów XAVC S lub filmów AVCHD do komputera należy korzystać z oprogramowania PlayMemories Home pobranego z następującej witryny:
http://www.sony.net/pm/
Uwagi dotyczące odtwarzania filmów na innych urządzeniach
- Aparat ten wykorzystuje MPEG-4 AVC/H.264 High Profile do nagrywania w formacie AVCHD. Filmy zapisane w formacie AVCHD przy użyciu aparatu nie mogą być odtwarzane przez następujące urządzenia.
– Inne urządzenia zgodne z formatem AVCHD, które nie obsługują High Profile
– Urządzenia nieobstugujące formatu AVCHD
Aparat ten wykorzystuje również MPEG-4 AVC/H.264 Main Profile do nagrywania w formacie MP4. Z tego powodu filmy zapisane w formacie MP4 przy użyciu aparatu nie mogą być odtwarzane na urządzeniach nieobsługujących MPEG-4 AVC/H.264.
- Płyty zapisane z jakością HD (wysoka rozdzielczość) można odtwarzać tylko na urządzeniach zgodnych z formatem AVCHD. Odtwarzacze lub nagrywarki DVD nie mogą odtwarzać płyt z jakością HD, gdyż są niezgodne z formatem AVCHD. Poza tym odtwarzacze lub nagrywarki DVD mogą nie wysuwać płyt nagranych z jakością HD.
- Filmy zapisane w formacie 1080 60p/1080 50p można odtwarzać tylko na urządzeniach obsługujących format 1080 60p/1080 50p.
- Filmy zarejestrowane w formacie XAVC S można odtwarzać wyłącznie na urządzeniach obsługujących format XAVC S.
Ostrzeżenie dotyczące praw autorskich
Programy telewizyjne, filmy, taśmy wideo i inne materiały mogą być chronione prawami autorskimi. Nieuprawniona rejestracja takich materiałów może stanowić naruszenie przepisów dotyczących ochrony praw autorskich.
Rysunki zawarte w niniejszej instrukcji
Zdjęcia używane jako przykłady w niniejszej instrukcji to reprodukcje, a nie rzeczywiste obrazy wykonane opisywanym aparatem.
Specyfikacje danych opisane w niniejszej instrukcji
Dane dotyczące wydajności i specyfikacji są ustalone zgodnie z poniższymi warunkami, o ile nie podano inaczej w niniejszej instrukcji: przy typowej temperaturze otoczenia równej 25°C i z użyciem akumulatora, który został całkowicie naładowany aż do chwili, gdy lampka ładowania zgasła.
Tymczasowe wyłączanie funkcji sieci bezprzewodowych (Wi-Fi i NFC, itp.)
Gdy wsiadasz do samolotu, itp. możesz tymczasowo wyłączyć wszystkie funkcje sieci bezprzewodowych.
Wybierz przycisk MENU → 📞 (Sieć bezprzew.) → [Tryb samolotowy] → [WŁ.].
Jeśli ustawisz [Tryb samolotowy] na [WŁ.], na ekranie będzie widoczny odpowiedni symbol (samolot).
Uwagi dotyczące bezprzewodowych sieci LAN
Jeśli aparat zostanie zagubiony lub skradziony, firma Sony nie ponosi odpowiedzialności za straty wynikające z nieautoryzowanego dostępu lub wykorzystania punktu dostępowego zarejestrowanego na aparacie.
Uwagi dotyczące bezpieczeństwa podczas korzystania z bezprzewodowych produktów LAN
- Aby uchronić się przed działaniami hakerów, niepożądanym dostępem stron trzecich i zminimalizować możliwości ataku, zawsze należy upewnić się, że wykorzystywana jest bezpieczna sieć bezprzewodowa LAN.
- Przed przystąpieniem do korzystania z sieci bezprzewodowej LAN ważne jest, aby skonfigurować ustawienia zabezpieczeń.
- W przypadku problemów związanych z bezpieczeństwem wynikających z braku środków bezpieczeństwa lub z okoliczności nie do uniknięcia podczas korzystania z bezprzewodowej sieci LAN, Sony nie ponosi odpowiedzialności za jakiekolwiek straty lub szkody.
PL
Sprawdzenie dostarczonych elementów
Liczba w nawiasach oznacza liczbę sztuk.
W zestawie ze wszystkimi modelami:
- Aparat (1)
• Zasilacz sieciowy AC-UD10/AC-UUD11 (1)
W różnych krajach/regionach świata mogą występować różnice w kształcie zasilacza sieciowego. - Przewód zasilający (1)* (brak w zestawie w przypadku USA i Kanady)

* W zestawie z aparatem może znajdować się kilka przewodów zasilających. Należy użyć właściwego w danym kraju/regionie.
• Akumulator NP-FW50 (1)

- Przewód micro USB (1)

- Pasek na ramię (1)

Informacje dotyczące mocowania paska na ramię do aparatu podane są na stronie 17.
- Oślona korpusu (1) (założona na aparat)

- Nakładka na stopkę (1) (założona na aparat)
- Nakładka na okular (1) (założona na aparat)
- Instrukcja obsługi (1) (niniejsza instrukcja)
• Wi-Fi Connection/One-touch (NFC) Guide (1)
W tym przewodniku objaśniono funkcje, które wymagają połączenia Wi-Fi.
ILCE-7M2K:
- Obiektyw z zoomem FE 28-70 mm F3.5-5.6 OSS (1)/Przednia osłona obiektywu (1)/Tylna osłona obiektywu (1)/Osłona przeciwodblaskowa obiektywu (1)
Elementy aparatu
Strony w nawiasach opisują szczegółowo działanie poszczególnych części.
Widok z przodu

Po odłączeniu obiektywu

text_image
8 9 10 11①Przycisk zasilania/przycisk migawki
②Pokrętło przednie
③Czujnik zdalnego sterowania
4 Antena Wi-Fi (wbudowana)
5Przycisk zwolnienia obiektywu
⑥ Wbudowany mikrofon* 1
⑦ Wspomaganie AF/Lampka samowyzwalacza
8 Wskaźnik mocowania
9Przetwornik obrazu* 2
10Mocowanie
11 Styki* 2
*1 Nie zasłaniać tego elementu podczas nagrywania filmów. Może to spowodować szumy lub zmniejszyć głośność filmu.
*2 Nie wolno bezpośrednio dotykać tych części.
Widok z tyłu

text_image
1 2 3 4 5
①Nakładka na okular
2 Wizjer
3Przycisk MENU (28)
4Czujnik oka
5Monitor (20)
- Monitor można ustawić pod kątem zapewniającym dobrą widoczność i rejestrować obrazy z dowolnej pozycji.

⑥Pokrętło regulacji dioptrażu
- Dostosować ustawienie pokrętła regulacji dioptrażu do swojego wzroku w taki sposób, aby ekran w wizjerze był wyraźnie widoczny.

⑦Fotografowanie: Przycisk C3 (Własne 3)
Wyświetlanie: Przycisk
⊕ (powiększenie)
⑧Dźwignia przełącznika AF/MF/AEL
⑨Pokrętło tylne
10 Fotografowanie: Przycisk
AF/MF (ostrość automatyczna/ostrość ręczna)/przycisk AEL Wyświetlanie: Przycisk
(indeks obrazów)

11Przycisk MOVIE
12Fotografowanie: Przycisk Fn (26)
Wyświetlanie: Przycisk

(Wyślij do smartfona)
- Naciśnięciem tego przycisku można wyświetlić ekran [Wyślij do smartfona].
13Pokrętło sterowania (24)
14 Fotografowanie: Przycisk C4 (Własne 4)
Wyświetlanie: Przycisk
(Usuń)
15 Wskaźnik dostępu
16Przycisk

(Odtwarzanie)
PL
Widok z góry/Widok z boku

text_image
1 2 3 4 5 6 7
text_image
8 9 10 11 12 13 14
text_image
15 161 Znacznik położenia przetwornika obrazu
2 Głośnik
③Gniazdo (mikrofon)
- Gdy podłączony jest mikrofon zewnętrzny, jest on włączany automatycznie. Jeśli mikrofon zewnętrzny nie posiada własnego zasilania, jest on zasilany przez aparat.
4Gniazdo Ⓝ (słuchawki)
⑤Złącze USB Multi/Micro*
- Przeznaczone do urządzeń zgodnych z microUSB.
6 Lampka ładowania (31)
7Złącze micro HDMI
⑧Stopka multiinterfejsowa*
- Niektórych akcesoriów może nie udać się wsunąć do końca i mogą one wystawać poza stopkę multiinterfejsową. Jeśli jednak przyłącze akcesoriów sięga do przedniego końca stopki, to połączenie jest prawidłowe.
⑨Pokrętło trybu
10Przycisk C2 (Własne 2)
11Przycisk C1 (Własne 1)
12 Pokrętło kompensacji ekspozycji
13 Zaczepy paska na ramię
- Przymocuj oba KOńce paska do aparatu.

- Znak ten wskazuje punkt styku służący do łączenia aparatu ze smartfonem z obsługą NFC. Informacje dotyczące znaku (znaku N) na smartfonie można znaleźć w instrukcji obsługi posiadanego smartfona.

- NFC (Near Field Communication - komunikacja bliskiego zasięgu) to międzynarodowy standard komunikacji bezprzewodowej krótkiego zasięgu.
15Pokrywa karty pamięci
16Gniazdo karty pamięci
* Szczegółowe informacje dotyczące akcesoriów zgodnych ze stopką multiinterfejsową oraz złączem USB Multi/Micro można znaleźć w witrynie Sony lub uzyskać w punkcie sprzedaży wyrobów Sony, albo w miejscowym autoryzowanym punkcie serwisowym produktów Sony. Możesz również używać akcesoriów, które są zgodne ze stopką do akcesoriów. Nie można zagwarantować prawidłowego działania w przypadku osprzętu innych producentów.
ni Multi Interface Shoe
Accessory Shoe
PL
Widok od dołu

1 Gniazdo akumulatora (30)
②Pokrywa akumulatora (30)
3Otwór gniazda statywu
- Użyj statywu z wkrętem o długości mniejszej niż 5,5 mm. W przeciwnym wypadku aparat nie daje się pewnie umocować i może ulec uszkodzeniu.
4Przycisk blokady pokrywy akumulatora
⑤Dźwignia zwolnienia pokrywy akumulatora
- Przed zamocowaniem pionowego uchwytu (sprzedawany oddzielnie) należy zdemontować pokrywę akumulatora.
Pokrywa płytki połączeniowej
Używana w przypadku korzystania z zasilacza sieciowego AC-PW20 (sprzedawany oddzielnie). Wóż płytkę przyłączeniową do wnęki akumulatora, a następnie przełoż przewód poprzez pokrywę płytki przyłączeniowej, jak to pokazano poniżej.

- Należy zwrócić uwagę, aby nie przytrzasnąć przewodu przy zamykaniu pokrywy.
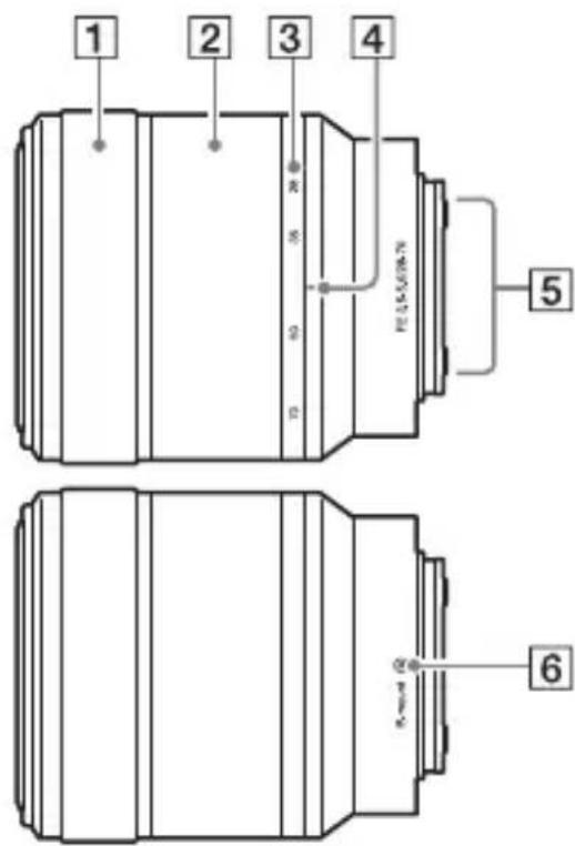
Obiektyw FE 28-70 mm F3.5-5.6 OSS (dostarczony z ILCE-7M2K)

text_image
1 2 3 4 5 61 Pierścień ostrości
2 Pierścień zoomu
3 Skala ogniskowej
4Indeks ogniskowej
5 Styki obiektywu*
⑥ Wskaźnik mocowania
* Nie dotykać bezpośrednio tego elementu.
PL
Lista ikon na monitorze
Domyślnym ustawieniem monitora jest [Wyśw. wsz. info.].
Zmiana ustawienia [Przycisk DISP] i naciśnięcie DISP na pokrętle sterowania powoduje przełączenie stanu ekranu do trybu wizjera.
Możesz również wyświetlić histogram, naciskając DISP. Wyświetlane informacje i ich rozmieszczenie przedstawione poniżej podano jedynie w sposób orientacyjny i mogą one odbiegać od faktycznego wyglądu ekranu.
Tryb monitora W przypadku odtwarzania
Ekran informacji podstawowych

text_image
1 2 2 3
Tryb auto lub tryb Wybór sceny

text_image
1 3 1 ISO AUTO 2 100%Ekran histogramu

flowchart
graph TD
A["1"] --> B["Bar"]
C["2"] --> D["Bar"]
E["3"] --> F["Bar"]
B --> G["Shaded Area 1"]
B --> H["Shaded Area 2"]
B --> I["Shaded Area 3"]
style A fill:#f9f,stroke:#333
style C fill:#f9f,stroke:#333
style E fill:#f9f,stroke:#333
style B fill:#ccf,stroke:#333
style D fill:#ccf,stroke:#333
style F fill:#ccf,stroke:#333
Tryb P/A/S/M/Rozległa panorama

| Ekran Wskazanie | |
| i i+ P P* A S M | Tryb fotografowania |
| 1 2 M 1 M 2M 3 M 4 | Numer rejestru |
| Ikony rozpoznaniasceny | |
| NO CARD | Karta pamięci (35)/Przesyłanie |
| 100 Pozostała liczba zdjęćdo zapisu | |
| 3:2 Proporcje zdjęć | |
| 24M 20M10M 8.7M6.0M 5.1M2.6M 2.2MWIDESTD | Rozmiar obrazu zdjęć |
| RAWRAW+JX.FINEFINE STD | Jakość zdjęć |
| 60p 60i 30p 24p50p 50i 25p | Liczba klatek naminutę dla filmów |
| Ekran Wskazanie | |
| 50FXFHPS1080VGA | Rozmiar klatki filmów |
| 100% | Stan naładowania akumulatora (33) |
| Ostrzeżenie naładowania akumulatora | |
| Ładowanie lampy błyskowej | |
| Rejestracja w rozm i ar z e A P | |
| VIEW | Efekt ustawień WYŁ |
| ON | Wspomaganie AF |
| NFC jest włączone | |
| Tryb samolotowy | |
| Brak nagrania audio w f i l m a c h | |
| Redukcja szumu wiatru | |
| SteadyShot/Ostrzeżenie o poruszeniu aparatu | |
| 8mm8mm | SteadyShot Ogniskowa/ Ostrzeżenie o drganiach aparatu |
| Ostrzeżenie przed przegrzaniem | |
| Plik bazy danych zapelniony/błąd pliku bazy danych | |
| S⊕C⊕D⊕ | Inteligentny zoom/wyraźny zoom obrazu/zoom cyfrowy |
| Poziomica cyfrowa | |
| CR1CR2 | Poziom dźwięku |
| Tryb oglądania | |
| 100-0003 Folder - numer pliku | |
| Ochrona | |
| XAVC SAVCHDMP4 | Tryb nagrywania filmów |
| DPOF Ustawienie DPOF | |
| Automatyczne kadrowanie obiektu | |
| NAGR. podw. wideo | |
| -PC- | Zdalne sterow. PC |
2
| Ekran Wskazanie | |
| Tryb pracy | |
| Tryb lampybłyskowej/Redukcjaczerwonych oczu | |
| ±0.0 Korekcja błysku | |
| Tryb ostrości | |
| Obszarautomatycznejostrości | |
| Ekran Wskazanie | |
![]() | Wykrywanie twarzy/Zdjęcie z uśmiechem |
![]() | |
![]() | Tryb pomiaru |
![]() | iskowaobiektywu |
![]() | Balans bieli(automatyczny,fabryczny,automatyczny pod wodą,niestandardowy,temperatura barw,filtr kolorów) |
![]() | |
![]() | |
![]() | |
![]() | Optymalizacja D-Range/Auto HDR |
![]() | Strefa twórcza/kontrast, nasycenie,ostrość |
![]() | |
![]() | |
![]() | |
![]() | |
![]() | |
![]() | Efekt wizualny |
![]() | |
![]() | |
![]() | |
![]() | |
![]() | |
![]() | Wskaźnik czułościewykrywania uśmiechu |
![]() | |
![]() | zdjęcia |
![]() | |
3
| Ekran Wskazanie | |
| ● AF z podążaniem | Przewodnik AF z podążaniem |
| Skala EV | |
| Kompensacja ekspozycji/pomiar ręczny | |
| REC 0:12 Czas nagrywania filmu (m:s) | |
| Ostrość | |
| 1/250 Szybkość migawki | |
| F3.5 Wartość | przysłony |
| ISO400 ISO AUTO | Czułość ISO |
| AE /blokada FEL | |
| Wskaźnik szybkości migawki | |
| Wskaźnik przysłony | |
| Histogram | |
| Optymalizacja D-Range/Auto HDR/Sygnalizacja zdjęcia w trybie Auto HDR | |
| Błąd funkcji Efekt wizualny | |
| 2014-1-1 10:37PM | Data zapisu |
| 3/7 Numer pliku/liczba zdjęć w trybie oglądania | |
| Sterowanie REC | |
| Ekran Wskazanie | |
| ○ | Obszar pomiaru punktowego |
| 00:00:00:00 | Kod czasu (godzina:minuta: sekunda:klatka) |
PL
Obsługa aparatu
Korzystanie z pokrętła sterowania

text_image
DISP ISO- Możesz przekręcić pokrętło sterowania lub nacisnąć górną/dolną/ lewą/prawą część pokrętła, aby przesunąć ramkę wyboru. Naciśnij
- na środku pokrętła sterowania, aby ustawić wybrany element.
W niniejszej instrukcji naciśnięcie górnej/dolnej/lewej/prawej części pokrętła sterowania oznaczane jest symbolem ▲/▼/◄/►. - Następujące funkcje są przypisane do sekcji ▲/◄/► pokrętła sterowania.
| ▲DISP Zmienia wyświetlanie na ekranie. | |
| ►ISO Czułość ISO | |
| ◄/ Trvb pracy | Zdjęcia seryjne/BracketingSamowyzw |
- Możesz przypisać odpowiednią funkcję do przycisków ▼/◄/►/● i do obrotu pokrętłem sterowania w trybie fotografowania.
- Gdy obracasz pokrętem sterowania albo naciskasz ◀/▶ na pokrętle sterowania w trybie odtwarzania, możesz wyświetlić poprzednie lub następne zdjęcie.
Korzystanie z pokrętła przedniego/pokrętła tylnego

Możesz przekręcić pokrętło przednie lub pokrętło tylne, aby zmienić ustawienia wymagane w każdym trybie fotografowania z natychmiastowym skutkiem.
PL
Wybór funkcji wykorzystującej przycisk Fn (Funkcja)
Przycisk ten służy do konfiguracji lub użycia funkcji często stosowanych przy robieniu zdjęć, poza funkcjami z ekranu Quick Navi.
1 Naciśnij DISP na pokrętle sterowania, aby ustawić tryb ekranu na inny niż [Wizjer].
2Naciśnij przycisk Fn.

text_image
Fn3 Wybierz odpowiednią pozycję przy pomocy ▲/▼/◄/► na pokrętle sterowania.
Pojawia się ekran ustawień.
4Wybierz odpowiednie ustawienie obracając pokrętem przednim, a następnie naciśnij ● na pokrętle sterowania.
- Niektóre wartości można dokładnie ustawić, przekręcając pokrętło tylne.

text_image
AP53 AF-C GMP ±0.0 AF-5 ( ) ISO AUTO AMB SFP 124-125 PZmiana poszczególnych ustawień na oddzielnym ekranie
W kroku 3 wybierz pozycję ustawienia i naciśnij ● na pokrętle sterowania, aby oddzielny ekran ustawień dla tej pozycji. Dokonaj ustawień zgodnie ze wskazówkami na ekranie.

Wskazówki na ekranie
PL
Funkcje, które można wybrać przy pomocy przycisku MENU
Można ustawić podstawowe funkcje całego aparatu lub uruchomić funkcje takie jak wykonywanie zdjęć, wyświetlanie i inne.
1 Naciśnij MENU, aby wyświetlić ekran menu.
2 Wybierz odpowiednią pozycję ustawienia za pomocą ▲/▼/◄/► na pokrętle sterowania lub obracając nim, a następnie naciśnij ● na środku pokrętła sterowania.
- Wybierz ikonę u góry ekranu i naciśnij ◀/▶ na pokrętle sterowania, aby przejść do następnej pozycji MENU.

text_image
1 2 3 4 5 6 7 8 9 _______________________________ _______________________________ _______________________________ _______________________________ _______________________________ _______________________________ _______________________________ WBS >3Wybrać wartość nastawy, po czym zatwierdzić ją naciśnięciem ●.
Wyświetlanie menu kafelkowego
Pozwala określić, czy ma być zawsze wyświetlany pierwszy ekran menu po naciśnięciu przycisku MENU.
Przycisk MENU → 📄 (Ustawienia) → [Menu kafelkowe] → [WŁ.]
Korzystanie z przewodnika w aparacie
Możesz użyć [Ust. przyc. Własne], aby przypisać przewodnik w aparacie do danego przycisku.
Przewodnik w aparacie wyświetla wyjaśnienia dotyczące wybranej funkcji lub ustawienia menu.
Przycisk MENU → ⚙ (Ustawienia niestandard.) → [Ust. przyc. Własne] → Wybierz odpowiedni przycisk z przypisaną daną funkcją. → [Przewodnik w apar.]
Naciśnij przycisk MENU i użyj pokrętła sterowania, aby wybrać pozycję MENU, której opis chcesz przeczytać, a następnie naciśnij przycisk, do którego przypisany jest [Przewodnik w apar.].
PL
Ładowanie akumulatora
Przed pierwszym użyciem aparatu należy naładować akumulator NP-FW50 (w zestawie).
Akumulator InfoLITHIUM™ można ładować, nawet jeśli nie został całkowicie rozładowany.
Akumulatora można używać również wtedy, gdy nie został do końca naładowany.
Naładowany akumulator będzie się stopniowo rozładowywał, nawet jeśli nie jest używany. Przed przystąpieniem do robienia zdjęć akumulator należy naładować, aby nie stracić okazji do utrwalenia ciekawych ujęć.
1 Ustaw przełącznik ON/OFF (Zasilanie) w położenie OFF.

text_image
OFF ON2Przesuń dźwignię, aby otworzyć pokrywę.

3Wsuń do końca akumulator, używając końca akumulatora do naciśnięcia dźwigni blokady.
Dźwignia blokady

5Podłącz aparat do zasilacza sieciowego (w zestawie) za pośrednictwem przewodu micro USB (w zestawie), a zasilacz do gniazda elektrycznego.

Lampka ładowania zostanie podświetlona na pomarańczowo i rozpocznie się ładowanie.
- Wyłącz aparat podczas ładowania akumulatora.
- Gdy lampka ładowania miga, a ładowanie nie zakończyło się, wyjmij i włóż z powrotem akumulator.
- W przypadku innych krajów/regionów niż USA i Kanada, należy podłączyć przewód zasilający do zasilacza sieciowego i zasilacz do gniazda elektrycznego.

Wyłączona: Ładowanie zakończone
Miga:
Błąd ładowania lub ładowanie chwilowo przerwane, ponieważ temperatura aparatu nie mieści się w odpowiednim zakresie
Uwagi
- Migająca lampka ładowania na aparacie, gdy zasilacz sieciowy jest podłączony do gniazda elektrycznego, sygnalizuje chwilowe wstrzymanie operacji ładowania z uwagi na temperaturę poza zalecanym zakresem. Gdy temperatura wróci do właściwego przedziału, ładowanie zostanie wznowione. Zalecane jest ładowanie akumulatora w temperaturze od 10°C do 30°C.
- Podłącz zasilacz sieciowy (w zestawie) do najbliższego gniazda elektrycznego. W razie wystąpienia problemów w trakcie korzystania z zasilacza sieciowego, należy natychmiast wyjąć wtyczkę z gniazda elektrycznego, aby odłączyć urządzenie od źródła zasilania.
- Podczas pierwszego ładowania akumulatora lub podczas jego ładowania po długiej przerwie w eksploatacji, lampka ładowania może szybko migać. W takim przypadku należy wyjąć akumulator z aparatu i włożyć go ponownie do naładowania.
- Nie ładować ciągle lub wielokrotnie akumulatora bez jego użycia, jeśli jest już całkowicie lub prawie naładowany. Może to spowodować pogorszenie jego działania.
- Po zakończeniu ładowania należy odłączyć zasilacz sieciowy od gniazda elektrycznego.
- Należy stosować tylko oryginalne akumulatory, przewód micro USB (w zestawie) oraz zasilacz sieciowy (w zestawie) firmy Sony.
Czas ładowania (pełne naładowanie)
Czas ładowania przy użyciu zasilacza sieciowego (w zestawie) wynosi w przybliżeniu 150 min.
Uwagi
- Powyższy czas ładowania odpowiada ładowaniu całkowicie rozładowanego akumulatora w temperaturze 25°C. W pewnych warunkach i okolicznościach ładowanie może trwać dłużej.
Ładowanie za pośrednictwem komputera
Akumulator można ładować, podłączając aparat do komputera przy użyciu przewodu micro USB. Podłącz wyłączony aparat do komputera.

- Jeżeli aparat jest podłączony do laptopa, który nie jest podłączony do źródła zasilania, wówczas poziom naładowania akumulatora laptopa będzie ulegał stopniowemu zmniejszeniu. Nie należy ładować akumulatora bardzo długo.
- Po zestawieniu połączenia USB między komputerem a aparatem nie wolno wyłącać/włączać lub restartować komputera, ani wychodzić z trybu uśpienia. Aparat może spowodować usterkę. Przed włączeniem/wyłączeniem, ponownym uruchomieniem komputera lub wybudzeniem komputera z hibernacji należy rozłączyć aparat i komputer.
- Ładowanie przy pomocy komputera składanego/modyfikowanego we własnym zakresie nie jest objęte gwarancją.
PL
Sprawdzanie poziomu naładowania akumulatora
Na ekranie wyświetlany jest wskaźnik naładowania akumulatora.

text_image
Wysoki stan Niski stanUwagi
- W niektórych okolicznościach wskazanie naładowania akumulatora może nie być prawidłowe.
Wyjmowanie akumulatora
Wyłącz aparat. Przesuń dźwignię blokady po sprawdzeniu, że wskaźnik dostępu (str. 15) nie świeci się, i wyjmij akumulator.
Uważaj, aby nie upuścić akumulatora.
Dźwignia blokady

Wkładanie karty pamięci (sprzedawana oddzielnie)
1Przesuń dźwignię, aby otworzyć pokrywę.

2Włożyć kartę pamięci.
- Ustawiając ścięty narożnik tak, jak pokazano na rysunku, wsunąć kartę pamięci do oporu, aż wskoczy na swoje miejsce.

Upewnij się, że ścięty narożnik jest właściwie skierowany.
3Zamknij pokrywę.

Wyjmowanie karty pamięci
Upewnij się, że wskaźnik dostępu (str. 15) nie świeci się, a następnie wciśnij raz kartę pamięci.
Karty pamięci, jakie można wykorzystywać w aparacie
W aparacie możesz stosować następujące typy kart pamięci. Jednakże nie można zagwarantować poprawnego działania w przypadku wszystkich typów kart pamięci.
| Karta pamięci Do zdjęć Do filmów | |||
| A | Memory Stick PRO DuoTM (Tylko Mark2) | √ | |
| Memory Stick PRO-HG DuoTM | √ | √ | |
| Memory Stick XC-HG DuoTM | √ | √ | |
| B | Karta pamięci SD (Klasa 4 lub szybsza) | √ | |
| Karta pamięci SDHC (Klasa 4 lub szybsza) | √ | ||
| Karta pamięci SDXC (Klasa 4 lub szybsza) | √ | ||
- W niniejszej instrukcji produkty opisane w tabeli są łącznie określane następująco:
A: Memory Stick PRO Duo
B: Karta SD
W przypadku nagrywania filmów w formacie XAVC S
Należy używać poniższych kart
pamięci:
– Karta pamięci SDXC (co najmniej 64 GB w klasie 10 lub wyższej)
– Karta pamięci SDXC (co najmniej 64 GB zgodna ze standardem UHS-I (U1))
- Memory Stick XC-HG Duo
Uwagi
- Obrazów zarejestrowanych na Memory Stick XC-HG Duo lub karcie pamięci SDXC nie można importować ani odtwarzać na komputerach lub urządzeniach audio-video niezgodnych z systemem exFAT*. Przed podłączeniem aparatu do urządzenia należy upewnić się, że jest ono zgodne z systemem exFAT. W przypadku podłączenia aparatu do niezgodnego urządzenia może pojawić się monit o sformatowanie karty.
Nie wolno formatować karty w odpowiedzi na to zapytanie, gdyż w przeciwnym razie zostaną usunięte wszystkie dane z karty.
* exFAT to system plików wykorzystywany na Memory Stick XC-HG Duo oraz kartach pamięci SDXC.
Zakładanie obiektywu
Przed podłączeniem lub odłączeniem obiektywu przełącznik zasilania aparatu należy ustawić w pozycji OFF.
1Zdejmij osłone korpusu z aparatu oraz tylną osłone z obiektywu.
- Wymianę obiektywu należy przeprowadzić szybko, unikając zakurzonych miejsc, aby do wnętrza aparatu nie przedostał się kurz lub inne zanieczyszczenia.
- Podczas robienia zdjęć zdejmij przednią osłonę obiektywu.
Przednia osłona obiektywu

text_image
Osłona korpusuTylna osłona obiektywu
2Zamocuj obiektyw, wyrównując białe znaczniki mocowania na obiektywie i aparacie.
- Aparat należy trzymać otworem obiektywu skierowanym w dół, aby zapobiec przedostawaniu się kurzu do środka.

Białe znaczniki mocowania
PL
3Docisnąwszy lekko obiektyw do aparatu, obrócić go zgodnie z ruchem wskazówek zegara, aż do pozycji blokady, co sygnalizowane jest charakterystycznym kliknięciem.
- Obiektyw należy nakładać prosto.

- Zakładając obiektyw, uważaj, aby nie nacisnąć przycisku zwolnienia obiektywu.
- Podczas zakładania obiektywu nie wolno używać nadmiernej siły.
- Do założenia obiektywu z bagnetem A (sprzedawany oddzielnie) konieczny jest adapter obiektywu (sprzedawany oddzielnie). Szczegółowe informacje znajdziesz w instrukcji obsługi dostarczonej razem z adapterem obiektywu.
- Jeśli chcesz robić zdjęcia pełnoklatkowe, użyj obiektywu przeznaczonego do aparatów pełnoklatkowych.
- Jeśli niesiesz aparat z założonym obiektywem, mocno trzymaj zarówno aparat, jak i obiektyw.
- Nie trzymaj za część obiektywu, która wysuwa się do powiększenia lub zmiany ostrości.
Zdejmowanie obiektywu
1 Nacisnąć do oporu przycisk zwolnienia obiektywu i wykręcić obiektyw, obracając go do oporu w kierunku przeciwnym do ruchu wskazówek zegara.

Przycisk zwolnienia obiektywu
2 Założ przednią i tylną osłone na obiektyw oraz osłone korpusu aparatu.
- Przed założeniem osłon usuń z nich kurz.

Uwagi dotyczące wymiany obiektywów
Jeśli w czasie zmiany obiektywu do aparatu dostaną się zanieczyszczenia i przylgną do powierzchni przetwornika obrazu (części, która zamienia promienie światła na sygnał elektryczny), mogą one być widoczne na zdjęciach jako ciemne plamy, w zależności od warunków otoczenia.
Trzeba pamiętać, aby zawsze szybko zakładać/zdejmować obiektyw, unikając zakurzonych miejsc.
PL
Ustawianie daty i godziny
Gdy włączysz aparat po raz pierwszy lub gdy dokonasz inicjalizacji funkcji, pojawi się ekran ustawienia daty i godziny.
1 Przestaw przełącznik zasilania na ON, aby włączyć aparat.
Pojawi się ekran ustawienia daty i godziny.
- Aby wyłączyć aparat, przestaw przełącznik zasilania na OFF.

text_image
OFF ON2Sprawdź, czy na ekranie wybrano [Enter], a następnie naciśnij ● na pokrętle sterowania.
![SONY Alpha ILCE7M2K - 2Sprawdź, czy na ekranie wybrano [Enter], a następnie naciśnij ● na pokrętle sterowania. - 1](/content/2026/03/464007/images/0b38eda980106455fb4fac9825cf935cd0f72caf30a61adca01096a297e0c0d0.jpg)
3Wybierz odpowiednią lokalizację geograficzną, a następnie naciśnij ●.
4 Naciśnij ▲/▼ na pokrętle sterowania lub wybierz pozycję ustawienia obracając pokrętłem sterowania, a następnie naciśnij ●.
5 Naciśnij ▲/▼/◄/► lub wybierz pozycję ustawienia obracając pokrętłem sterowania, a następnie naciśnij ●.
6 Powtórz kroki 4 i 5, aby ustawić inne pozycje, a potem wybierz [Enter] i naciśnij ● na pokrętle sterowania.
Anulowanie ustawienia daty i godziny
Naciśnij przycisk MENU.
PL
Sprawdzanie lub ponowne ustawienie daty/godziny i regionu
Ekran ustawienia daty i godziny pojawia się automatycznie tylko wtedy, gdy zasilanie jest włączone po raz pierwszy lub gdy wewnętrzny akumulator zapasowy wyładował się. Aby ponownie ustawić datę i godzinę, użyj menu.
Przycisk MENU → (Ustawienia) → [Ust.daty/czasu] lub [Nastawia region]

text_image
Przycisk MENUUwagi
- Opisywany aparat nie posiada funkcji wstawiania daty do zdjęcia. Datę można wstawić, a zdjęcie zapisać lub je wydrukować z poziomu programu PlayMemories Home (str. 44).
Zachowanie ustawienia daty i godziny
Aparat posiada wewnętrzny akumulator, podtrzymujący datę, czas i inne ustawienia, niezależnie od tego, czy zasilanie jest włączone czy wyłączone lub czy akumulator jest włożony, czy też nie.
Korzystanie z oprogramowania
Należy użyć poniższych aplikacji, aby optymalnie wykorzystać zdjęcia wykonane przy użyciu aparatu.
• Image Data Converter
- PlayMemories Home
- Remote Camera Control
Informacje na temat instalacji oprogramowania można znaleźć na stronach 43–46.
Wymagania systemowe
Informacje na temat wymagań systemowych dla tego oprogramowania można znaleźć pod adresem URL:
http://www.sony.net/pcenv/

Korzystanie z aplikacji Image Data Converter
Oprogramowanie Image Data Converter pozwala wykonać następujące czynności:
- Możesz wyświetlać i edytować zdjęcia zapisane w formacie RAW po wprowadzeniu różnych poprawek, np. zmianie krzywej tonalnej lub ostrości.
- Możesz zmienić ustawienia zdjęć, takie jak balans bieli, ekspozycja czy też [Strefa twórcza], itp.
- Możesz zapisać obrazy wyświetlane i modyfikowane na komputerze.
Możesz albo zapisać obraz w formacie RAW, albo w ogólnym formacie plików. - Możesz wyświetlić i porównać obrazy RAW oraz obrazy JPEG wykonane przy użyciu tego aparatu.
- Obrazy możesz ocenić w skali 1-5.
- Możesz nadać obrazom barwne etykiety.
Informacje na temat obsługi programu Image Data Converter można znaleźć w Pomocy.
Kliknij [Start] → [Wszystkie programy] → [Image Data Converter] → [Pomoc] → [Image Data Converter Ver.4].
Strona pomocy Image Data Converter (tylko po angielsku)
Instalacja Image Data Converter
1Pobierz oprogramowanie z następującego adresu URL i zainstaluj je na swoim komputerze.
Windows:
http://www.sony.co.jp/imsoft/Win/
Mac:
- Zaloguj się jako administrator.
Korzystanie z aplikacji PlayMemories Home
Oprogramowanie PlayMemories Home pozwala na importowanie zdjęć i filmów do komputera i ich wykorzystanie. Oprogramowanie PlayMemories Home jest niezbędne w przypadku importowania filmów XAVC S lub filmów AVCHD do komputera.

Import zdjęć z aparatu

W systemie Windows dostępne są również następujące funkcje:

Oglądanie
zdjęć
w w i d o k u
kalendarza

Tworzenie
płyty
z filmami

YouTube
Przesyłanie zdjęć do serwisów internetowych
Odtwarzanie zaimportowanych obrazów

Udostępnianie zdjęć na PlayMemories Online™

PlayMemories Online


- Aplikacje Image Data Converter, Remote Camera Control itp. można pobrać wykonując poniższą procedurę:
Podłącz aparat do komputera → uruchom PlayMemories Home → kliknij [Powiadomienia].
Uwagi
- Do instalacji oprogramowania PlayMemories Home wymagane jest połączenie z Internetem.
- Do korzystania z PlayMemories Home lub innych serwisów internetowych niezbędne jest połączenie internetowe. PlayMemories Home lub inne serwisy internetowe mogą nie być dostępne w niektórych krajach lub regionach.
- Oprogramowanie Mac można znaleźć pod adresem URL: http://www.sony.co.jp/imsoft/Mac/
- Jeżeli na komputerze jest już zainstalowany program PMB (Picture Motion Browser), dostarczany z modelami oferowanymi przed 2011 r., zostanie on podczas instalacji zastąpiony przez PlayMemories Home. Należy używać oprogramowania PlayMemories Home, które zastąpiło PMB.
- W celu utworzenia płyty AVCHD, filmy zapisane przy ustawieniu [60p 28M(PS)]/[50p 28M(PS)], [60i 24M(FX)]/[50i 24M(FX)] lub [24p 24M(FX)]/[25p 24M(FX)] w pozycji [Ust. nagrywania] są konwertowane przez program PlayMemories Home. Konwersja taka może być czasochłonna. Poza tym nie można utworzyć płyty z wyjściową jakością obrazu. Jeżeli zależy nam na zachowaniu pierwotnej jakości obrazu, filmy należy zapisywać na płycie Blu-ray.
Instalacja PlayMemories Home
1 Korzystając z przeglądarki internetowej na komputerze, przejdź pod następujący adres URL, a następnie kliknij [Zainstaluj] → [Uruchom].
http://www.sony.net/pm/
PL
2Postępuj według instrukcji na ekranie, aby przeprowadzić instalację.
Korzystanie z aplikacji Remote Camera Control
Podłącz aparat do komputera. Program Remote Camera Control pozwala:
- Skonfiguruj aparat lub wykonaj zdjęcie z poziomu komputera.
- Zapisz zdjęcie bezpośrednio na komputerze.
- Wykonaj zdjęcia z odstępem czasowym.
Przed użyciem należy ustawić następujące opcje: Przycisk MENU →

(Ustawienia) → [Połączenie USB] → [Zdalne sterow. PC]
Instalacja Remote Camera Control
1 Korzystając z przeglądarki internetowej na komputerze, przejdź pod następujący adres URL.
Windows:
http://www.sony.co.jp/imsoft/Win/
Mac:
2Aby pobrać i zainstalować program Remote Camera Control, należy postępować zgodnie z instrukcjami na ekranie.
Uwagi
- Do instalacji oprogramowania Remote Camera Control wymagane jest połączenie z Internetem.
Znaki towarowe
- Memory Stick i sąznakami towarowymi lub zastrzeżonymi znakami towarowymi Sony Corporation.
• XAVCS KAVA S
zastrzeżonymi znakami towarowymi firmy Sony Corporation.
- „AVCHD Progressive” i logotyp „AVCHD Progressive” są znakami towarowymi Panasonic Corporation i Sony Corporation.
- Windows jest zastrzeżonym znakiem towarowym Microsoft Corporation w Stanach Zjednoczonych i/lub w innych krajach.
• Mac jest zastrzeżonym znakiem towarowym Apple Inc. w Stanach Zjednoczonych i w innych krajach. - Logo SDXC jest znakiem towarowym firmy SD-3C, LLC.
- Facebook oraz logo „f” to znaki towarowe lub zastrzeżone znaki towarowe Facebook, Inc.
- YouTube oraz logo YouTube to znaki towarowe lub zastrzeżone znaki towarowe Google Inc.
- Dodatkowo, używane w instrukcji nazwy systemów i produktów są ogólnie znakami towarowymi lub zastrzeżonymi znakami towarowymi ich twórców lub producentów. Jednakże w niniejszej instrukcji symbole ^TM lub ® mogły zostać czasami pominięte.

InfoLITHIUM







Dodatkowe informacje o tym produkcie i odpowiedzi na najczęściej zadawane pytania znajdują się na naszej witrynie pomocy technicznej.
http://www.sony.net/
ProstaInstrukcja
























