Alpha ILCE7M2K - Kamera SONY - Kostenlose Bedienungsanleitung
Finden Sie kostenlos die Bedienungsanleitung des Geräts Alpha ILCE7M2K SONY als PDF.
Questions des utilisateurs sur Alpha ILCE7M2K SONY
0 question sur cet appareil. Repondez a celles que vous connaissez ou posez la votre.
Poser une nouvelle question sur cet appareil
Laden Sie die Anleitung für Ihr Kamera kostenlos im PDF-Format! Finden Sie Ihr Handbuch Alpha ILCE7M2K - SONY und nehmen Sie Ihr elektronisches Gerät wieder in die Hand. Auf dieser Seite sind alle Dokumente veröffentlicht, die für die Verwendung Ihres Geräts notwendig sind. Alpha ILCE7M2K von der Marke SONY.
BEDIENUNGSANLEITUNG Alpha ILCE7M2K SONY
Digitalkamera mit Wechselobjektiv/Gebrauchsanleitung DE
CAN ICES-3 B/NMB-3 B
CAN ICES-3 B/NMB-3 B
Weitere Informationen über die Kamera („Hilfe“)

„Hilfe“ ist eine Online-Anleitung. Sie können die „Hilfe“ auf Ihrem Computer oder Smartphone lesen. Schlagen Sie darin nach, um detaillierte Anweisungen zu den zahlreichen Funktionen der Kamera zu erhalten.
URL:
http://rd1.sony.net/help/ilc/1450/h_zz/

Um Feuergefahr und die Gefahr eines elektrischen Schlags zu verringern, setzen Sie das Gerät weder Regen noch Feuchtigkeit aus.
WICHTIGE SICHERHEITS- ANWEISUNGEN -BEWAHREN SIE DIESE ANWEISUNGEN AUF GEFAHR UM DIE GEFAHR VON BRAND ODER ELEKTRISCHEN SCHLÄGEN ZU VERRINGERN, SOLLTEN SIE DIESE ANWEISUNGEN GENAU BEFOLGEN
ACHTUNG
Akku
Bei unsachgemäßem Gebrauch des Akkus kann er explodieren oder es besteht Feuergefahr oder die Gefahr von Verätzungen. Beachten Sie bitte die folgenden Hinweise.
- Zerlegen Sie den Akku nicht.
- Setzen Sie den Akku keinen Stößen, Schlägen usw. aus, quetschen Sie ihn nicht, lassen Sie ihn nicht fallen und achten Sie darauf, nicht versehentlich auf den Akku zu treten.
- Halten Sie Gegenstände aus Metall von den Akkuanschlüssen fern. Es kann sonst zu einem Kurzschluss kommen.
- Setzen Sie den Akku keinen Temperaturen über 60 °C aus, wie sie z. B. bei direkter Sonneneinstrahlung oder in einem in der Sonne geparkten Auto auftreten können.
- Zünden Sie den Akku nicht an und werfen Sie ihn nicht ins Feuer.
- Berühren Sie beschädigte oder auslaufende Lithium-Ionen-Akkus nicht.
- Laden Sie den Akku unbedingt mit einem Originalladegerät von Sony oder einem Gerät mit Ladefunktion.
- Halten Sie den Akku von kleinen Kindern fern.
- Schützen Sie den Akku vor Feuchtigkeit.
- Tauschen Sie den Akku nur gegen den gleichen oder einen vergleichbaren Akkutyp aus, der von Sony empfohlen wird.
- Entsorgen Sie verbrauchte Akkus unverzüglich wie in den Anweisungen erläutert.
Netzgerät
Benutzen Sie eine nahe gelegene Netzsteckdose bei Verwendung des Netzgerätes. Trennen Sie das Netzgerät unverzüglich von der Netzsteckdose, falls eine Funktionsstörung während der Benutzung des Apparats auftritt.
Das Netzkabel, falls vorhanden, ist speziell für den Gebrauch nur mit dieser Kamera ausgelegt und sollte nicht mit anderen Elektrogeräten verwendet werden.
Für Kunden in Europa
Hinweis für Kunden in Ländern, in denen EU-Richtlinien gelten
Hersteller: Sony Corporation, 1-7-1 Konan Minato-ku Tokio, 108-0075 Japan Für EU Produktkonformität: Sony Deutschland GmbH, Hedelfinger Strasse 61, 70327 Stuttgart, Deutschland
CE
Hiermit erklärt Sony Corporation, dass sich dieses Gerät in Übereinstimmung mit den grundlegenden Anforderungen und den übrigen einschlägigen Bestimmungen der Richtlinie 1999/5/EG befindet. Weitere Informationen erhältlich unter: http://www.compliance.sony.de/
Hinweis
Wenn eine Datenübertragung aufgrund statischer oder elektromagnetischer Störeinflüsse abbricht (fehlschlägt), starten Sie die entsprechende Anwendung neu, oder entfernen Sie das USB-Kabel, und schließen Sie es wieder an.
Dieses Produkt wurde geprüft und erfüllt die Auflagen der EMV-Vorschriften für den Gebrauch von Verbindungskabeln, die kürzer als 3 m sind.
Die elektromagnetischen Felder bei den speziellen Frequenzen können Bild und Ton dieses Gerätes beeinflussen.
Entsorgung von gebrauchten Batterien und Akkus und gebrauchten elektrischen und elektronischen Geräten (anzuwenden in den Ländern der Europäischen Union und anderen europäischen Ländern mit einem separaten Sammelsystem für diese Produkte)

Das Symbol auf der Batterie/dem Akku, dem Produkt oder der Verpackung weist darauf hin, dass das Produkt oder die Batterie/der Akku nicht
als normaler Haushaltsabfall zu behandeln sind.
Ein zusätzliches chemisches Symbol Pb (Blei) oder Hg (Quecksilber) unter der durchgestrichenen Mülltonne bedeutet, dass die Batterie/der Akku einen Anteil von mehr als 0,0005% Quecksilber oder 0,004% Blei enthält.
Durch Ihren Beitrag zum korrekten Entsorgen des Produktes und der Batterie schützen Sie die Umwelt und die Gesundheit Ihrer Mitmenschen. Umwelt und Gesundheit werden durch falsches Entsorgen gefährdet. Materialrecycling hilft, den Verbrauch von Rohstoffen zu verringern.
Bei Produkten, die auf Grund ihrer Sicherheit, der Funktionalität oder als Sicherung vor Datenverlust eine ständige Verbindung zur eingebauten Batterie benötigen, sollte die Batterie nur durch qualifiziertes Servicepersonal ausgetauscht werden.
Um sicherzustellen, dass das Produkt und die Batterie korrekt entsorgt werden, geben Sie das Produkt zwecks Entsorgung an einer Annahmestelle für das Recycling von elektrischen und elektronischen Geräten ab. Für alle anderen Batterien entnehmen Sie die Batterie bitte entsprechend dem Kapitel über die sichere Entfernung der Batterie. Geben Sie die Batterie an einer Annahmestelle für das Recycling von Batterien/Akkus ab.
Weitere Informationen über das Recycling dieses Produkts oder der Batterie erhalten Sie von Ihrer Gemeinde, den kommunalen Entsorgungsbetrieben oder dem Geschäft, in dem Sie das Produkt gekauft haben. Hinweis für Lithiumbatterien: Bitte geben Sie nur entladene Batterien an den Sammelstellen ab. Wegen Kurzschlussgefahr überkleben Sie bitte die Pole der Batterie mit Klebestreifen. Sie erkennen Lithiumbatterien an den Abkürzungen Li oder CR.
Für Kunden, die ihre Kamera in Japan in einem Laden gekauft haben, der auf Touristen ausgerichtet ist
Hinweis
Einige Zertifizierungszeichen für von der Kamera unterstützte Standards können auf dem Bildschirm der Kamera angezeigt werden.
Wählen Sie dazu MENU →

(Einstellung) → [Zertifizierungslogo].
Wenn die Anzeige aufgrund von Problemen wie Störungen an der Kamera nicht möglich ist, wenden Sie sich an Ihren Sony-Händler oder einen autorisierten Sony-Kundendienst vor Ort.
Einzelheiten zu den Wi-Fi- und NFC-One-touch functions entnehmen Sie bitte dem beigefügten Dokument „Wi-Fi Connection/One-touch (NFC) Guide“ oder dem „Hilfe“.
Diese Gebrauchsanleitung behandelt mehrere Modelle, die mit verschiedenen Objektiven geliefert werden.
Der Name des Modells unterscheidet sich je nach mitgeliefertem Objektiv. Das jeweils erhältliche Modell unterscheidet sich je nach Land bzw. Region.
| Modellbezeichnung Objektiv | |
| ILCE-7M2 Nicht mitgeliefert | |
| ILCE-7M2K FE 28-70 mm F3.5-5.6 OSS | |
Vorstellung der Funktionen
Dieser Abschnitt stellt einige häufig benutzte Aufnahmefunktionen und andere einzigartige Funktionen vor.
Einzelheiten finden Sie auf den in Klammern angegebenen Seiten.
Häufig benutzte Aufnahmefunktionen
Belichtungskorr. (35)
Sie können die Belichtung einstellen, um die Helligkeit des gesamten Bilds zu ändern.
Selbst bei Einstellung des Aufnahmemodus auf M können Sie die Belichtung einstellen, wenn die ISO-Empfindlichkeit auf [ISO AUTO] eingestellt ist.
ISO/Multiframe-RM (35)
Sie können die Lichtempfindlichkeit einstellen.
Die ISO-Empfindlichkeit kann zwischen ISO 50 und ISO 25600 eingestellt werden.
Wenn Sie (Multiframe-RM) wählen, können Sie größere ISO-Werte als die maximale ISO-Empfindlichkeit wählen.
Weißabgleich (35)
Sie können die Farbtöne einstellen.
Sie können eine Option zur Anpassung an eine Lichtquelle wählen, oder Feineinstellungen mittels Farbtemperatur und Farbfiltern vornehmen.
Bildfolgemodus (34)
Sie können einen geeigneten Bildfolgemodus für Ihre Zwecke wählen, z. B. Einzelaufnahme, Serienaufnahme oder Reihenaufnahme.
Merkmale dieser Kamera
DRO/Auto HDR (72)
[Dynamikb.Opt.]: Durch Unterteilen des Bilds in kleine Flächen analysiert die Kamera den Kontrast von Licht und Schatten zwischen Motiv und Hintergrund, und erzeugt ein Bild mit optimaler Helligkeit und Abstufung. [Auto HDR]: Die Kamera nimmt 3 Bilder mit unterschiedlichen Belichtungen auf, und überlagert dann diese Bilder, um ein Bild mit reicher Abstufung zu erzeugen.
Kreativmodus (71)
Sie können den gewünschten Stil aus 13 Stilen auswählen.
Sie können auch bestimmte Bildfaktoren, wie z. B. Belichtung, einstellen, wobei der ausgewählte Stil als Basis dient.
Filmaufnahme mit manuellen Einstellungen (69)
Selbst bei Filmaufnahmen können Sie die Belichtung im Modus P, A, S oder M einstellen.
Fotoprofil (75)
Bei Filmaufnahme können Sie die Einstellungen, wie z. B. Farbe und Farbton, ändern.
Bedienen oder Anpassen der Kamera
Display-Informationen (38)
Wenn Sie in den Sucher blicken, wird der Suchermodus aktiviert, und wenn Sie Ihr Gesicht vom Sucher entfernen, wird der Betrachtungsmodus auf den Monitormodus (Standardeinstellungen) zurückgeschaltet. Sie können den Monitoranzeigemodus durch Drücken von DISP am Einstellrad ändern.
Quick Navi (27)
Auf dem Bildschirm [Für Sucher] können Sie schnell vom Monitor auf den Bildschirm Quick Navi umschalten, indem Sie die Taste Fn drücken. Mithilfe des vorderen/hinteren Drehrads und des Einstellrads können Sie die Posten mit intuitiver Bedienung einstellen.
Anpassung (41)
Die Kamera ist mit Anpassungstasten ausgestattet, die mit gewünschten Funktionen belegt werden können. Auch andere Tasten, wie z. B. die Taste AEL, können mit Funktionen belegt werden.
Hinweise zur Benutzung Ihrer Kamera
Bildschirmsprache
Sie können die auf dem Bildschirm angezeigte Sprache mit dem Menü (Seite 44) auswählen.
Aufnahmeverfahren
Diese Kamera besitzt 2 Modi zur Überwachung von Motiven: den Monitor-Modus bei Verwendung des Monitors und den Suchermodus bei Verwendung des Suchers.
In diese Kamera eingebaute Funktionen
- Diese Anleitung beschreibt mit 1080 60i und 1080 50i kompatible Geräte.
Um festzustellen, ob Ihre Kamera mit 1080 60i oder 1080 50i kompatibel ist, prüfen Sie nach, ob eines der folgenden Zeichen an der Unterseite der Kamera vorhanden ist.
1080 60i-kompatibles Gerät: 60i
1080 50i-kompatibles Gerät: 50i - Diese Kamera ist mit Filmen des Formats 1080 60p oder 50p kompatibel. Im Gegensatz zu den bislang üblichen Standard-Aufnahmemodi, bei denen nach einem Zeilensprungverfahren aufgenommen wird, nimmt diese Kamera nach einem Progressivverfahren auf.
Dadurch wird die Auflösung erhöht und ein geschmeidigeres, realistischeres Bild geliefert.
Erstellen einer Bilddatenbankdatei
Wenn Sie eine Speicherkarte, die keine Bilddatenbankdatei enthält, in die Kamera einsetzen und die Kamera einschalten, erzeugt die Kamera automatisch eine Bilddatenbankdatei, die etwas Platz auf der Speicherkarte belegt.
Der Vorgang kann lange dauern, und Sie können die Kamera nicht bedienen, bis der Vorgang abgeschlossen ist. Sollte ein Datenbankdateifehler auftreten, exportieren Sie alle Bilder mit PlayMemories Home™ zu Ihrem Computer, und formatieren Sie dann die Speicherkarte mit der Kamera.
Hinweise zu Aufnahme/Wiedergabe
- Um den Betrieb der Speicherkarte zu stabilisieren, wird empfohlen, die Speicherkarte in der Kamera zu formatieren, wenn Sie sie zum ersten Mal mit der Kamera benutzen. Durch Formatieren der Speicherkarte werden alle auf der Speicherkarte aufgezeichneten Daten gelöscht und können nicht wiederhergestellt werden. Kopieren Sie daher die Daten vor dem Formatieren zu einem Computer oder einem anderen Gerät.
- Wenn Sie Bilder über einen langen Zeitraum wiederholt aufzeichnen und löschen, können die Dateien auf der Speicherkarte fragmentiert werden, und die Filmaufnahme kann auf halbem Weg unterbrochen werden. Falls dies eintritt, kopieren Sie die Daten zu einem Computer oder einem anderen Gerät, und führen Sie dann [Formatieren] durch.
- Vor der eigentlichen Aufnahme sollten Sie eine Probeaufnahme machen, um sich zu vergewissern, dass die Kamera einwandfrei funktioniert.
Sicherungsempfehlung für eine Speicherkarte
Wenn Sie die Kamera ausschalten oder den Akku oder die Speicherkarte entnehmen, während die Zugriffslampe blinkt, können die Daten auf der Speicherkarte beschädigt werden. Um der Gefahr von Datenverlust vorzubeugen, sollten Sie Daten stets zu einem anderen Gerät kopieren (sichern).
Keine Entschädigung für beschädigten Inhalt oder Aufnahmeversagen
Sony leistet keine Entschädigung für Aufnahmeversagen oder Beschädigung des Aufnahmeinhalts, die auf eine Funktionsstörung der Kamera oder des Speichermediums usw. zurückzuführen sind.
Aufnehmen mit dem APS-C-Format, das mit E-Bajonett-Objektiven kompatibel ist
Diese Kamera ist mit einem 35-mm-Vollformat-CMOS-Sensor ausgestattet. Die Bildgröße wird jedoch automatisch an die Größe des APS-C-Formats angepasst und reduziert, wenn ein mit dem APS-C-Format kompatibles E-Bajonett-Objektiv verwendet wird (Standardeinstellungen).
Hinweise zu Monitor, elektronischem Sucher, Objektiv und Bildsensor
- Da Monitor und elektronischer Sucher unter Einsatz von extrem genauer Präzisionstechnologie hergestellt werden, sind über 99,99 % der Pixel für effektiven Betrieb funktionsfähig. Dennoch besteht die Möglichkeit, dass winzige schwarze und/oder helle Punkte (weiße, rote, blaue oder grüne Punkte) ständig auf dem Monitor und dem elektronischen Sucher sichtbar sind. Diese Punkte sind ein normales Resultat des Herstellungsprozesses und haben keinerlei Einfluss auf die Bilder.
- Halten Sie die Kamera nicht am Monitor.
- Wenn Sie ein Motorzoomobjektiv benutzen, achten Sie darauf, dass Ihre Finger oder andere Gegenstände nicht vom Objektiv eingeklemmt werden.
- Setzen Sie die Kamera keiner starken Lichtquelle, wie z. B. Sonnenlicht, aus. Anderenfalls können die internen Komponenten beschädigt werden.
- Blicken Sie nicht durch das abgenommene Objektiv auf die Sonne oder eine starke Lichtquelle. Dies kann zu irreparabler Schädigung der Augen führen oder eine Funktionsstörung verursachen.
- Benutzen Sie die Kamera nicht in Bereichen, wo starke Radiowellen oder Strahlung emittiert werden. Aufnahme und Wiedergabe funktionieren u. U. nicht richtig.
- Bei niedrigen Temperaturen kann ein Nachzieheffekt auf dem Monitor auftreten. Dies ist keine Funktionsstörung. Wenn die Kamera an einem kalten Ort eingeschaltet wird, kann der Monitor vorübergehend dunkel werden. Sobald die Kamera warm wird, funktioniert der Monitor normal.
- Das aufgezeichnete Bild kann von dem Bild abweichen, das Sie vor der Aufnahme überwacht haben.
Hinweise zur Benutzung der Objektive und des Zubehörs
Es wird empfohlen, Objektive und Zubehör von Sony, die speziell für die Eigenschaften dieser Kamera entwickelt wurden, zu verwenden. Die Benutzung dieser Kamera mit Produkten anderer Hersteller kann ihre Leistung beeinträchtigen und zu Unfällen oder Funktionsstörungen führen. Sony übernimmt keine Verantwortung für solche Unfälle oder Funktionsstörungen.
Hinweise zum Multi-Interface-Schuh
- Bevor Sie Zubehörteile, wie z. B. ein externes Blitzgerät, am Multi-Interface-Schuh anbringen oder von ihm abnehmen, sollten Sie zuerst die Kamera ausschalten. Wenn Sie Zubehör anbringen, sollten Sie die Schrauben vollständig anziehen und sich vergewissern, dass das Teil einwandfrei an der Kamera befestigt ist.
- Verwenden Sie kein externes Blitzgerät mit einem Hochspannungs-Blitzsynchronanschluss oder umgekehrter Polarität. Dies könnte zu einer Funktionsstörung führen.
Hinweise zum Aufnehmen mit dem Sucher
Diese Kamera ist mit einem Organischen Elektrolumineszenzsucher mit hoher Auflösung und hohem Kontrast ausgestattet. Die besonderen Merkmale dieses Suchers sind ein breiter Betrachtungswinkel und ein großer Augenabstand. Bei der Konstruktion dieser Kamera wurde großer Wert auf einen leicht ablesbaren Sucher durch entsprechendes Abstimmen verschiedener Elemente gelegt.
- Das Bild kann in der Nähe der Ecken des Suchers geringfügig verzerrt sein. Dies ist keine Funktionsstörung. Wenn Sie die volle Komposition mit all ihren Details sehen möchten, können Sie auch den Monitor benutzen.
- Wenn Sie die Kamera schwenken, während Sie in den Sucher blicken oder Ihre Augen umher bewegen, kann das Sucherbild verzerrt sein, oder die Farbe des Bilds kann sich ändern. Dies ist ein Merkmal des Objektivs oder des Anzeigegerätes und stellt keine Funktionsstörung dar. Zum Fotografieren empfehlen wir, auf den Mittenbereich des Suchers zu blicken.
- Wenn Sie den Sucher zum Aufnehmen benutzen, können sich möglicherweise solche Symptome wie Augenbelastung, Ermüdung, Reisekrankheit oder Übelkeit bemerkbar machen. Wir empfehlen Ihnen, beim Aufnehmen mit dem Sucher Pausen in regelmäßigen Abständen einzulegen.
Die erforderliche Länge oder Häufigkeit der Pausen kann je nach der Einzelperson unterschiedlich sein, weshalb es ratsam ist, diese nach eigenem Ermessen zu entscheiden. Falls Sie sich unbehaglich fühlen, benutzen Sie den Sucher nicht, bis Sie sich wieder erholt haben, und konsultieren Sie nötigenfalls Ihren Arzt.
Hinweise zum Aufnehmen über lange Zeitspannen
- Je nach der Temperatur der Kamera und des Akkus kann es vorkommen, dass keine Filme aufgenommen werden können, oder dass sich die Kamera zum eigenen Schutz automatisch ausschaltet. Eine Meldung erscheint auf dem Monitor, bevor sich die Kamera ausschaltet oder die Filmaufnahme gesperrt wird. Lassen Sie die Kamera in diesem Fall ausgeschaltet, und warten Sie, bis sich die Temperatur von Kamera und Akku normalisiert hat. Falls Sie die Kamera einschalten, ohne Kamera und Akku ausreichend abkühlen zu lassen, schaltet sich die Kamera u. U. erneut aus, oder Filmaufnahmen sind eventuell nicht möglich.
- Bei hohen Umgebungstemperaturen steigt die Temperatur der Kamera rasch.
- Mit zunehmender Temperatur der Kamera kann sich die Bildqualität verschlechtern. Wir empfehlen zu warten, bis die Temperatur der Kamera gesunken ist, bevor Sie Ihre Aufnahmen fortsetzen.
• Die Oberfläche der Kamera kann warm werden. Dies ist keine Funktionsstörung.
Hinweise zum Importieren von XAVC S-Filmen und AVCHD-Filmen zu einem Computer
Um XAVC S- oder AVCHD-Filme zu einem Computer zu importierten, laden Sie die Software PlayMemories Home von der folgenden Website herunter:
http://www.sony.net/pm/
Hinweise zur Wiedergabe von Filmen auf anderen Geräten
- Diese Kamera verwendet MPEG-4 AVC/H.264 High Profile für Aufnahme im AVCHD-Format. Mit dieser Kamera im AVCHD-Format aufgenommene Filme können nicht mit den folgenden Geräten wiedergegeben werden.
- Andere mit dem AVCHD-Format kompatible Geräte, die High Profile nicht unterstützen
– Geräte, die nicht mit dem AVCHD-Format kompatibel sind Diese Kamera verwendet auch MPEG-4 AVC/H.264 Main Profile für Aufnahme im MP4-Format. Aus diesem Grund können mit dieser Kamera im MP4-Format aufgenommene Filme nicht auf Geräten wiedergegeben werden, die MPEG-4 AVC/H.264 nicht unterstützen.
- Discs, die in HD-Bildqualität (hochauflösend) aufgenommen wurden, können nur auf Geräten wiedergegeben werden, die mit dem AVCHD-Format kompatibel sind. Player oder Recorder auf DVD-Basis können Discs in HD-Bildqualität nicht wiedergeben, da sie nicht mit dem AVCHD-Format kompatibel sind. Außerdem kann es vorkommen, dass Discs in HD-Bildqualität nicht von Playern oder Recordern auf DVD-Basis ausgeworfen werden.
- Im Format 1080 60p/1080 50p aufgenommene Filme können nur auf Geräten wiedergegeben werden, die 1080 60p/1080 50p unterstützen.
- Im Format XAVC S aufgenommene Filme können nur auf XAVC S-tauglichen Geräten abgespielt werden.
Warnung zum Urheberrecht
Fernsehprogramme, Filme, Videobänder und andere Materialien können urheberrechtlich geschützt sein. Unerlaubtes Aufnehmen solcher Materialien kann gegen die Bestimmungen des Urheberrechts verstoßen.
Die in dieser Anleitung verwendeten Bilder
Bei den in dieser Anleitung als Beispiele verwendeten Fotos handelt es sich um reproduzierte Bilder, nicht um Bilder, die tatsächlich mit dieser Kamera aufgenommen wurden.
Info zu den in dieser Anleitung beschriebenen technischen Daten
Die Daten zu Leistung und Spezifikationen sind unter den folgenden Bedingungen definiert, außer wie in dieser Anleitung beschrieben: bei einer normalen Umgebungstemperatur von 25°C, und bei Verwendung eines Akkus, der voll aufgeladen wurde, bis die Ladekontrollleuchte erloschen ist.
So schalten Sie Drahtlos-Netzwerkfunktionen (Wi-Fi und NFC usw.) vorübergehend aus
Wenn Sie in ein Flugzeug usw. einsteigen, können Sie alle Drahtlos-Netzwerkfunktionen vorübergehend ausschalten. Wählen Sie die Taste MENU → (Drahtlos) → [Flugzeug-Modus] → [Ein]. Wenn Sie [Flugzeug-Modus] auf [Ein] setzen, wird das Zeichen (Flugzeug) auf dem Monitor angezeigt.
Hinweise zu Drahtlos-LAN
Falls Ihre Kamera verloren geht oder gestohlen wird, übernimmt Sony keine Verantwortung für Verlust oder Schäden, die durch unbefugten Zugriff oder Benutzung des registrierten Zugangspunkts an der Kamera entstehen.
Hinweise zur Sicherheit bei Verwendung von WLAN-Produkten
- Achten Sie stets darauf, dass Sie ein sicheres Drahtlos-LAN verwenden, um Hacking, Zugriff durch böswillige Dritte oder sonstige Sicherheitslücken zu vermeiden.
- Bei Verwendung eines Drahtlos-LAN ist es sehr wichtig, die richtigen Sicherheitseinstellungen vorzunehmen.
- Falls bei Verwendung eines Drahtlos-LAN ein Sicherheitsproblem entsteht, weil keine Sicherheitsmaßnahmen in Kraft sind oder unvermeidliche Umstände auftreten, übernimmt Sony keine Verantwortung für Verluste oder Schäden.
Überprüfen des mitgelieferten Zubehörs
Die Zahl in Klammern gibt die Stückzahl an.
Wird mit allen Modellen geliefert:
- Kamera (1)
- Netzteil AC-UD10/AC-UUD11 (1)
Die Form des Netzteils kann je nach Land/Region unterschiedlich sein. - Netzkabel (1)* (in USA und Kanada nicht mitgeliefert)

* Eventuell werden mehrere Netzkabel mit der Kamera mitgeliefert. Verwenden Sie das für Ihr Land bzw. Gebiet geeignete Netzkabel.
- Akku NP-FW50 (1)

- Micro-USB-Kabel (1)

Angaben zur Anbringung des Schulterriemens an der Kamera finden Sie auf Seite 19.
• Gehäusekappe (1) (an Kamera angebracht)

• Schuhkappe (1) (an Kamera angebracht)
- Okularmuschel (1) (an Kamera angebracht)
• Gebrauchsanleitung (1) (vorliegendes Handbuch)
• Wi-Fi Connection/One-touch (NFC) Guide (1)
Diese Anleitung erläutert die Funktionen, die eine Wi-Fi-Verbindung erfordern.
ILCE-7M2K:
- Zoomobjektiv FE 28-70 mm F3.5-5.6 OSS (1)/Vordere Objektivkappe (1)/Hintere Objektivkappe (1)/Gegenlichtblende (1)
Identifizierung der Teile
Einzelheiten zu den Funktionen der Teile finden Sie auf den Seiten in Klammern.
Vorderseite

Ansicht bei abgenommenem Objektiv

text_image
8 9 10 111 Ein-Aus-Schalter/Auslöser
2 Vorderes Drehrad
3 Fernbedienungssensor
4 Wi-Fi-Antenne (eingebaut)
5 Objektiventriegelungsknopf
⑥Eingebautes Mikrofon*
7 AF-Hilfslicht (35)/ Selbstauslöserlampe
8 Ansetzindex
9 Bildsensor* 2
10 Anschluss
11Kontakte* 2
*1 Diesen Teil während Filmaufnahmen nicht verdecken. Anderenfalls können Störgeräusche verursacht oder die Lautstärke verringert werden.
*2 Vermeiden Sie direkte Berührung dieser Teile.
Rückseite

text_image
1 2 3 4 5
- Sie können den Monitor auf einen bequemen Betrachtungswinkel einstellen und aus jeder Position aufnehmen.

⑥Dioptrien-Einstellrad
- Stellen Sie den Sucher mit dem Dioptrien-Einstellrad auf Ihre Sehkraft ein, bis die Anzeige im Sucher deutlich sichtbar ist.

7 Für Aufnahme: Taste C3 (Benutzer 3) (26)
Für Wiedergabe: Taste ⊕ (Vergrößern) (77)
⑧Umschalthebel AF/MF/AEL
⑨Hinteres Drehrad
10 Für Aufnahme: Taste AF/MF (Automatische/Manuelle Fokussierung)/Taste AEL (26)
Für Wiedergabe: Taste (Bildindex) (77)

11Taste MOVIE (65)
12 Für Aufnahme: Taste Fn (31) Für Wiedergabe: Taste 📂(An Smartph. send.)
- Sie können den Bildschirm für [An Smartph. send.] durch Drücken dieser Taste anzeigen.
13Einstellrad (29)
14 Für Aufnahme: Taste C4 (Anpassung 4) (26) Für Wiedergabe: Taste 📂 (Löschen) (68)
15Zugriffslampe
16Taste (Wiedergabe) (66)
Oberseite/Seite

text_image
1 2 3 4 5 6 7
text_image
8 9 10 11 12 13 14
text_image
15 161 Bödsensor- Positionsmarke
②Lautsprecher
③Buchse (Mikrofon)
- Wenn ein externes Mikrofon angeschlossen wird, wird das Mikrofon automatisch eingeschaltet. Handelt es sich bei dem externen Mikrofon um einen Typ mit Phantomspeisung, übernimmt die Kamera die Stromversorgung.
④Buchse Ⓝ (Kopfhörer)
5Multi/Micro-USB-Buchse*
- Unterstützt Micro-USB-kompatible Geräte.
6Ladekontrollleuchte (48)
7HDMI-Mikrobuchse
8Multi-Interface-Schuh*
- Manche Zubehörteile werden u. U. nicht vollständig eingeschoben und können nach hinten vom Multi-Interface-Schuh überstehen. Erreicht das Zubehör jedoch den vorderen Anschlag des Schuhs, ist die Verbindung vollständig.
9Moduswahlknopf (69)
10 Taste C2 (Benutzer 2) (26)
11 Taste C1 (Benutzer 1) (26)
12 Belichtungskorrekturknopf (26)
13Öse für Schulterriemen
- Befestigen Sie beide Enden des Riemens an der Kamera.

- Dieses Zeichen kennzeichnet den Berührungspunkt zur Verbindung der Kamera und eines NFC-tauglichen Smartphones. Einzelheiten zur Lage des Zeichens (N-Zeichen) an Ihrem Smartphone entnehmen Sie bitte der Gebrauchsanleitung des Smartphones.

• NFC (Near Field Communication) ist ein internationaler Übertragungsstandard zum kontaktlosen Austausch von Daten per Funktechnik über kurze Strecken.
15Speicherkartenklappe
16Speicherkartenschlitz
* Um Näheres zu kompatiblem Zubehör für den Multi-Interface-Schuh und die Multi/Micro-USB-Buchse zu erfahren, besuchen Sie die Sony-Website, oder konsultieren Sie Ihren Sony-Händler oder eine lokale autorisierte Sony-Kundendienststelle.
Sie können auch Zubehör verwenden, das mit dem Zubehörschuh kompatibel ist.
Einwandfreier Betrieb mit Zubehör anderer Hersteller kann nicht garantiert werden.

Accessory Shoe
Unterseite

1 Akkueinschubfach (47)
② Akkufachklappe (47)
3 Stativgewinde
- Verwenden Sie ein Stativ, dessen Schraube kürzer als 5,5 mm ist. Anderenfalls wird die Kamera nicht richtig befestigt und kann beschädigt werden.
4 Akkufachklappen-Verriegelungsknopf
⑤ Akkufachklappen-Entriegelungshebel
- Wenn Sie einen Vertikalgriff (getrennt erhältlich) anbringen, entfernen Sie die Akkufachklappe.
Anschlussplattendeckel
Verwenden Sie diese bei Verwendung des Netzteils AC- PW20 (getrennt erhältlich). Setzen Sie die Anschlussplatte in das Akkufach ein, und führen Sie dann das Kabel durch den Anschlussplattendeckel, wie unten abgebildet.

- Achten Sie darauf, dass das Kabel beim Schließen der Klappe nicht eingeklemmt wird.
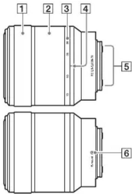
Objektiv FE 28-70 mm F3.5-5.6 OSS (mit ILCE-7M2K geliefert)

text_image
1 2 3 4 5 61 Fokussierring
2Zoomring
3Brennweitenskala
4 Brennweitenindex
5 Objektivkontakte*
6 Ansetzindex
* Vermeiden Sie direkte Berührung dieses Teils.
DE
Liste der Symbole auf dem Monitor
In den Standardeinstellungen ist der Status des Monitors auf [Alle Infos anz.] eingestellt.
Wenn Sie die Einstellung von [Taste DISP] ändern und dann DISP am Einstellrad drücken, wechselt der Bildschirmstatus zum Suchermodus.
Durch Drücken von DISP können Sie auch das Histogramm anzeigen. Die Anzeige-Inhalte und ihre unten angegebenen Positionen sind lediglich ein Leitfaden und können von der tatsächlichen Anzeige abweichen.
Monitormodus Für Wiedergabe
Grundinformationsanzeige

text_image
1 2 2 3
Suchermodus
Modus Automatik oder Szenenwahl-Modus

P/A/S/M/Schwenk-Panorama-Modus

| Anzeige Bedeutung | |
| iPP*ASM | Aufnahmemodus (69) |
| 12M12M3M4 | Registernummer (69) |
| Szenenerkennungs-symbole | |
| NO CARDOFF | Speicherkarte (52)/Upload (43) |
| 100 Verfügbare | Restbildzahl |
| 3:2 Sutenverhältnis von Standbildern (34) | |
| 24M 20M10M 8.7M6.0M 5.1M2.6M 2.2MWIDESTD | Bildgröße von Standbildern (34) |
| RAWRAW+JX.FINEFINE STD | Bildqualität von Standbildern (34) |
| 60p 60i 30p 24p50p 50i 25p | Bildfrequenz von Filmen |
| Anzeige Bedeutung | |
| Bildgröße von Filmen (73) | |
| Akku-Restladung (50) | |
| Warnanzeige der Akku-Restladung | |
| Blitzladung im Gange | |
| Aufnahme im APS-C-Format (40) | |
| Einstelleffekt AUS (39) | |
| AF-Hilfslicht (35) | |
| NFC ist aktiviert | |
| Flugzeugmodus | |
| Keine Tonaufnahme von Filmen (37) | |
| Windgeräuschunterdrückung (37) | |
| SteadyShot/Verwacklungswarnung (59) | |
| SteadyShotBrennweiten-/Verwacklungswarnung (59) | |
| Überhitzungswarnung | |
| Datenbankdatei voll/Fehler in der Datenbankdatei | |
| Smart-Zoom/KlarbilZoom/Digitalzoom | |
| Digitale Wasserwaage | |
| Audiopegel (76) | |
| Ansichtsmodus (67) | |
| 100-0003 Ordner - Dateinummer | |
| Schützen (43) | |
| XAVC S AVCHD MP4 | Filmaufnahmemodus |
| DPOF DPOF aktiviert | |
| Automatische Objekteinrahmung | |
| Dual-Video-AUFN (34) | |
| -PC- | PC-Fernbedienung |
2
| Anzeige Bedeutung | |
| Bildfolgemodus (34) | |
| Blitzmodus (34)/Rote-Augen-Reduzierung (35) | |
| korrektur (34) | |
| Fokussiermodus (35) | |
| AF-Feld | |
| Gesichtserkennung/Auslösung bei Lächeln (36) | |
| Messmodus (35) | |
DE
| Anzeige Bedeutung | |
| 35mm Objektiv-Brennweite | |
AWB [ZWV7] [BHKW] [ZWYC]7500KA5 G5 | Weißabgleich(Automatik, Vorwahl, Unterwasser-Automatik,Benutzerdefiniert,Farbtemperatur,Farbfilter) (35) |
[DBCX] [C3BT] ![]() | Dynamikbereichoptimierung/Auto HDR (72) |
![]() [SCH7] [OKT0] ![]() [AOY5]+3 +3 +3 | Kreativmodus (71)/Kontrast,Farbsättigung,Konturenschärfe |
[HOSK] [WHYG][S4C4] [W528] [TT73] ![]() [ZCH7] ![]() ![]() | Bildeffekt (36) |
![]() [S378]![]() ![]() | Empfindlichkeits-anzeige für die Lächelerkennung |
| PP1 - FQ T profil (75) | |
3
| Anzeige Bedeutung | |
| ● AF-Verriegelung | Führer AF-Verriegelung |
| -1040000000000000000000000000000000000000000000000000000000000000000000000000000000000000000000000000000 | EV-Skala |
| +2 Belichtungskorrektur(35)/Manuelle Messung | |
| REC 0:12 Filmaufnahmezeit(Minuten:Sekunden) | |
| ● (●) (●) | Fokus |
| 1/250 Verschlusszeit | |
| F3.5 Blendenwert | |
| ISO400ISO AUTO | ISO-Empfindlichkeit(35) |
| * AE-Speicher/FEL-Speicher | |
| 128888888888888888888888888888888888888888888888888888888888888888888888888888888888888888888888888888 | |
| 128888888888888888888888888888888888888888888888888888888888888888888888888888888888888888888888 | |
| 13000000000000000000000000000000000000000000000000000000000000000000000000000000000000000000000000000 | |
| 13000000000000000000000000000000000000000000000000000000000000000000000000000000000000000000000 | |
| 13-R OFFDRO HDRHDR ! | Dynamikbereich-Optimierung/AutoHDR/Auto HDR-Bildwarnung |
| 13-1111111111111111111111111111111111111111111111111111111111111111111111111111111111111111111111111111 | |
| 2014-1-110:37PM | Aufnahmedatum |
| 3/7 Dateinummer/Anzahlder Bilder imAnsichtsmodus | |
| RECE RECE RECE RECE RECE RECE RECE RECE RECE RECE RECE RECE RECE RECE RECE RECE RECE RECE RECE RECE RECE RECE RECE RECE RECE RECE RECE RECE RECE RECE RECE RECE RECE RECE RECE RECE RECE RECE RECE RECE RECE RECE RECE RECE RECE RECE RECE RECE RECE RECE RECE | Steuerung |
| ○ | Spotmesskreis |
| 00:00:00:00 Timecode(Stunde:Minute:Sekunde:Bild) (75) | |
DE
Durch Bedienung der Tasten/Knöpfe verfügbare Funktionen
Mithilfe dieser Tasten/Knöpfe können Sie verschiedene Funktionen einrichten oder betätigen.
Einzelheiten zur Anordnung der Tasten/Knöpfe finden Sie unter „Identifizierung der Teile“ (Seite 15).
| Moduswahlknopf (69) Dient zum Umschalten des Aufnahmemodus. | |
| Taste MENU (33) Zeigt den Menübildschirm zum Einstellen von Menüposten an. | |
| Taste MOVIE (65) Dient zum Aufnehmen von Filmen. | |
| Taste AF/MF/Taste AEL/Taste | Schaltet vorübergehend zwischen Autofokus und Manuellfokus um./Fixiert die Belichtung des gesamten Bildschirms./Zeigt mehrere Bilder gleichzeitig auf dem Bildschirm an. |
| Taste (77) Vergrößert ein Bild beim Betrachten von Bildern. | |
| Taste Fn (31)/Taste Zeigt den Setup-Bildschirm für Funktionen an, die mit der Taste Fn eingestellt werden. Schaltet auf dem Bildschirm [Für Sucher] auf den Bildschirm Quick Navi um./Durch Drücken der Taste im Wiedergabemodus wird auf den Bildschirm „An Smartph. send.“ umgeschaltet. | |
| Belichtungskorrekturknopf Legt den Bereich für die Belichtungseinstellung fest. | |
| Taste (66) Dient der Wiedergabe von Bildern. | |
| Taste (68) Löscht Bilder. | |
| Anpassungstaste | Weist der Taste eine häufig benutzte Funktion zu.In den Standardeinstellungen wird die folgende Funktion der jeweiligen Taste zugeordnet.Taste C1 (Benutzer 1): WeißabgleichTaste C2 (Benutzer 2): Fokus-EinstellungTaste C3 (Benutzer 3): FokusmodusTaste C4 (Benutzer 4): Nicht festgelegt |
Verwendung des Bildschirms Quick Navi
Mithilfe des Bildschirms Quick Navi können Sie Einstellungen direkt auf der Aufnahmeinformationsanzeige ändern, wenn der Bildschirmmodus auf [Für Sucher] (Quick Navi) eingestellt ist. Die Anzeige-Inhalte und ihre unten angegebenen Positionen sind lediglich ein Leitfaden und können von der tatsächlichen Anzeige abweichen.
1 Taste MENU → ⚙ (Benutzer- einstlg.) → [Taste DISP] → [Monitor] → [Für Sucher] → [Eingabe]
2 Drücken Sie DISP am Einstellrad, um den Bildschirmmodus auf [Für Sucher] einzustellen.
3 Drücken Sie die Taste Fn, um auf den Bildschirm Quick Navi umzuschalten.
Im Modus Automatik oder Szenenwahl-Modus

text_image
100 24u FNE60p i 1/125 F3.5 ±0.0 -1.0 ISO AUTO 100% → 100 24u FNE60p 928 100 24u FNE60p 928 ±0.0 -1.0 i 3/2 ISO AUTO 100%Im Modus P/A/S/M/Schwenk-Panorama

text_image
100 24m FNE60p P 1/125 F3.5 ±0.0 ±0.0 ISO AUTO 100% 100 24m FNE60p P 1/125 F3.5 ±0.0 ±0.0 ISO AUTO 100%4 Wählen Sie den gewünschten Posten mit ▲/▼/◄/► am Einstellrad aus.
5 Stellen Sie den Posten mit dem vorderen Drehrad ein.
- Bei manchen Einstellwerten kann durch Drehen des hinteren Einstellrads eine Feineinstellung durchgeführt werden.
- Durch Drücken der Mitte des Einstellrads wird der zur Einrichtung des ausgewählten Postens vorgesehene Bildschirm aufgerufen (Seite 29).
- Durch erneutes Drücken der Taste Fn wird der Bildschirm Quick Navi ausgeschaltet, und der ursprüngliche Bildschirm erscheint wieder auf dem Monitor.
Auf dem Bildschirm Quick Navi verfügbare Funktionen
| Bildfolgemodus Blitzmodus | Blitzkompens. | |
| Fokusmodus Fokusfeld Belichtungskorr. | ||
| ISO Messmodus Weißabgleich | ||
| DRO/Auto HDR Kreativmodus Bildeffekt | ||
| Fotoprofil Lächel-/Ges.-Erk. | Bildgröße | |
| Seitenverhält. Qualität SteadyShot | ||
| Modus Automatik | Szenenwahl | Kantenanheb.stufe |
Hinweise
- Ausgegraute Posten auf dem Bildschirm Quick Navi sind nicht verfügbar.
- Wenn Sie [Kreativmodus] (Seite 71) oder [Fotoprofil] (Seite 75) benutzen, können bestimmte Einrichtungsaufgaben nur auf einem zweckbestimmten Bildschirm durchgeführt werden.
Bedienung der Kamera
Gebrauch des Einstellrads

text_image
DISP ISO- Sie können das Einstellrad drehen oder die Position oben/unten/rechts/links am Einstellrad drücken, um den Auswahlrahmen zu bewegen. Drücken Sie ● in der Mitte des Einstellrads, um den ausgewählten Posten festzulegen. In dieser Anleitung ist der Vorgang des Drückens der Position oben/unten/links/rechts des Einstellrads durch ▲/▼/◄/► gekennzeichnet.
• Die folgenden Funktionen sind ▲/◄/► am Einstellrad zugewiesen.
| ▲DISP Dient zum Umschalten der Monitoranzeige. | |
| ►ISO ISO-Empfindlichkeit | |
| ◄/ Bildfolgemodus | Serienaufnahme/BelichtungsreiheSelbstauslöser |
- Im Aufnahmemodus können Sie den Tasten ▼/◄/►/● und der Drehposition des Einstellrads eine gewünschte Funktion zuweisen.
- Wenn Sie im Wiedergabemodus das Einstellrad drehen oder ◀/▶ am Einstellrad drücken, können Sie das vorherige oder nächste Bild anzeigen.
Benutzung des vorderen/hinteren Drehrads

Durch Drehen des vorderen oder hinteren Einstellrads können Sie die für den jeweiligen Aufnahmemodus erforderlichen Einstellungen mit sofortiger Wirkung ändern.
Auswählen einer Funktion mit der Taste Fn (Funktion)
Diese Taste dient der Einrichtung oder Ausführung von Funktionen, die bei der Aufnahme oft verwendet werden, außer Funktionen auf dem Bildschirm Quick Navi.
1 Drücken Sie DISP am Einstellrad, um einen anderen Bildschirmmodus als [Für Sucher] zu wählen.
2 Drücken Sie die Taste Fn.

text_image
FnDE
3 Wählen Sie den gewünschten Posten mit ▲/▼/◄/► am Einstellrad aus.
Der Einstellbildschirm erscheint.
4 Wählen Sie die gewünschte Einstellung durch Drehen des vorderen Drehrads aus, und drücken Sie dann ● am Einstellrad.
- Bei manchen Einstellwerten kann durch Drehen des hinteren Einstellrads eine Feineinstellung durchgeführt werden.

So legen Sie die individuellen Einstellungen auf dem dedizierten Bildschirm fest
Wählen Sie in Schritt 3 einen Einstellungsposten aus, und drücken Sie am Einstellrad, um auf den dedizierten Bildschirm für den Einstellungsposten umzuschalten. Stellen Sie die Posten gemäß der Bedienungshilfe ein.

text_image
A-F A/C 2-M BedienungshilfeFunktionen, die mit der Taste Fn (Funktion) registriert werden können
Sie können die anzuzeigenden Funktionen auswählen, wenn Sie die Taste Fn (Funktion) drücken.
Taste MENU → ⚙ (Benutzer- einstlg.) → [Funkt.menu-Einstlg.] → Weisen Sie die Funktion der gewünschten Position zu.
Die folgenden Funktionen können mit der Taste Fn ausgewählt werden:
| Bildfolgemodus Blitzmodus | Blitzkompens. | |
| Fokusmodus Fokusfeld Belichtungskorr. | ||
| ISO Messmodus Weißabgleich | ||
| DRO/Auto HDR Kreativmodus Aufn.-Modus | ||
| Bildeffekt Fotoprofil Mittel-AF-Verriegel. | ||
| Lächel-/Ges.-Erk. Soft Skin-Effekt Auto. Objektrahm. | ||
| Bildgröße Seitenverhält-Qualität | ||
| SteadyShot | SteadyShot-Anpass. | SteadyS.Brennweite |
| Tonaufnahmepegel | Zebra | Gitterlinie |
| Markierungsanz. | Tonpegelanzeige | Kantenanheb.stufe |
| Kantenanheb.farbe | Nicht festgelegt | |
Funktionen, die mit der Taste MENU ausgewählt werden können
Sie können die grundlegenden Einstellungen für die Kamera im Ganzen einstellen oder bestimmte Funktionen ausführen, z. B. Aufnahme, Wiedergabe oder andere Vorgänge.
1 Drücken Sie die Taste MENU, um den Menübildschirm anzuzeigen.
2 Wählen Sie den gewünschten Einstellungsposten mit ▲/▼/◄/► am Einstellrad oder durch Drehen des Einstellrads aus, und drücken Sie dann ● in der Mitte des Einstellrads.
- Wählen Sie ein Symbol am oberen Bildschirmrand aus, und drücken Sie ◀/▶ am Einstellrad, um einen anderen MENU-Posten anzusteuern.

text_image
1 2 3 4 5 6 7 8 9 _______________________________ _______________________________ _______________________________ _______________________________ _______________________________ _______________________________ _______________________________ _______________________________ _______________________________ _______________________________ _______________________________ _______________________________ _______________________________ _______________________________ _______________________________ _______________________________ _______________________________ _______________________________ _______________________________ _______________________________ _______________________________ _______________________________ _______________________________ _______________________________ _______________________________ ______________________________DE
3 Wählen Sie den Einstellwert aus, und drücken Sie dann ● zur Bestätigung.
So zeigen Sie das Kachelmenü an
Damit wählen Sie, ob beim Drücken der Taste MENU immer der erste Bildschirm des Menüs angezeigt werden soll.
Taste MENU → 📁 (Einstellung) → [Kachelmenü] → [Ein]

(Kamera- einstlg.)
| Bildgröße | Damit wählen Sie die Größe der Standbilder aus.(L: 24M/M: 10M/S: 6.0M (3:2)L: 20M/M: 8.7M/S: 5.1M (16:9)L: 10M/M: 6.0M/S: 2.6M (Größe APS-C, 3:2)L: 8.7M/M: 5.1M/S: 2.2M (Größe APS-C, 16:9)) |
| Seitenverhält. Damit wählen Sie das Bildseitenverhältnis für Standbilder aus.(3:2/16:9) | |
| Qualität | Damit stellen Sie die Bildqualität für Standbilder ein.(RAW/RAW & JPEG/Extrafein/Fein/Standard) |
| Panorama: Größe Damit wählen Sie die Größe von Panoramabildern aus.(Standard/Breit) | |
| Panorama: Ausricht. Damit legen Sie die Aufnahmerichtung für Panoramabilder fest.(Rechts/Links/Aufwärts/Abwärts) | |
| Dateiformat Damit wählen Sie das Filmdateiformat aus.(XAVC S/AVCHD/MP4) | |
| Aufnahmeeinstlg Damit wählen Sie die Qualität und Größe des aufgezeichneten Filmbilds.(XAVC S: 60p 50M/50p 50M/30p 50M/25p 50M/24p 50M*1AVCHD: 60i 24M(FX)/50i 24M(FX)/60i 17M(FH)/50i 17M(FH)/60p 28M(PS)/50p 28M(PS)/24p 24M(FX)/25p 24M(FX)/24p 17M(FH)/25p 17M(FH)MP4: 1440×1080 12M/VGA 3M) | |
| Dual-Video-AUFN Damit wird festgelegt, ob ein XAVC S-Film und ein MP4-Film, bzw. ein AVCHD-Film und ein MP4-Film gleichzeitig aufgezeichnet werden.(Ein/Aus) | |
| Bildfolgemodus Damit legen Sie den Bildfolgemodus, z. B. für Serienaufnahme, fest.(Einzelaufnahme/Serienaufnahme/Selbstauslöser/Selbstaus(Serie)/Serienreihe/Einzelreihe/WA-Reihe/DRO-Reihe) | |
| Blitzmodus Ermöglich Blitzeinstellungen.(Blitz Aus/Blitz-Automatik/Aufhellblitz/Langzeitsync./Sync 2. Vorh./Drahtlos Blitz) | |
| Blitzkompens. Damit stellen Sie die Blitzstärke ein.(-3,0 EV bis +3,0 EV) | |
| Rot-Augen-Reduz | Damit reduzieren Sie den Rote-Augen-Effekt bei Blitzaufnahmen.(Ein/Aus) |
| Fokusmodus Damit wird der Fokussiermodus gewählt.(Einzelbild-AF/Nachführ-AF/Direkt. Manuelf./Manuellfokus) | |
| Fokusfeld Damit wählen Sie den Fokussierbereich.(Breit/Feld/Mitte/Flexible Spot/AF-Verriegelung) | |
| Fokus-Einstellung Gestattet Ihnen, mit dem vorderen Drehrad, dem hinteren Drehrad oder dem Einstellrad zu fokussieren. | |
| AF-Hilfslicht Damit aktivieren Sie das AF-Hilfslicht, das dunkle Szenenerhellt, um die Fokussierung zu erleichtern.(Auto/Aus) | |
| Belichtungskorr. Korrigiert die Helligkeit des gesamten Bildes.(-5,0 EV bis +5,0 EV) | |
| Belicht.stufe Damit wählen Sie die Schrittgröße für Verschlusszeit, Blende und Belichtung.(0,5 EV/0,3 EV) | |
| ISO Einstellung der ISO-Empfindlichkeit.(Multiframe-RM/ISO AUTO/ISO 50 bis ISO 25600) | |
| Messmodus | Damit wählen Sie die für die Helligkeitsmessung verwendete Methode aus.(Multi/Mitte/Spot) |
| Weißabgleich | Damit stellen Sie den Farbton von Bildern ein.(Auto/Tageslicht/Schatten/Bewölkt/Glühlampe/Leuchtst.:warmweiß/Leuchtst.: Kaltweiß/Leuchtst.:Tag.-weiß/Leuchtst.: Tageslicht/Blitz/Unterwasser-Auto/Farbtmp./Filter/Anpassung 1-3/Benutzer-Setup) |
| DRO/Auto HDR | Helligkeit und Kontrast werden automatisch kompensiert.(Aus/Dynamikb.Opt./Auto HDR) |
| Kreativmodus Damit wählen Sie die gewünschte Bildverarbeitung. Sie können auch Kontrast, Farbsättigung und Konturenschärfe einstellen.(Standard/Lebhaft/Neutral/Klar/Tief/Hell/Porträt/Landschaft/Sonnenunterg./Nachtszene/Herbstlaub/Schwarz/Weiß/Sepia/Kreativmodusfunkt.1-6) | |
| Bildeffekt Bilder werden mit einer Textur aufgenommen, die auf den gewählten Effekt beschränkt ist.(Aus/Spielzeugkamera/Pop-Farbe/Posterisation/Retro-Foto/Soft High-Key/Teilfarbe/Hochkontr.-Mono./Weichzeichnung/HDR Gemälde/Sattes Monochrom/Miniatur/Wasserfarbe/Illustration) | |
| Fotoprofil Damit können Sie Einstellungen, wie z. B. Farbe und Farbton, bei Filmaufnahme ändern.(Aus/PP1 -PP7) | |
| Zoom Damit wird der Zoomfaktor für Klarbild-Zoom und Digitalzoom festgelegt. | |
| Fokusvergröß Damit vergrößern Sie das Bild vor der Aufnahme, so dass Sie den Fokus überprüfen können. | |
| Langzeit-RM Damit legen Sie die Rauschunterdrückungsverarbeitung für Aufnahmen mit einer Verschlusszeit von 1 Sekunde oder länger fest.(Ein/Aus) | |
| Hohe ISO-RM Damit legen Sie die Rauschunterdrückungsverarbeitung für Hochempfindlichkeitsaufnahme fest.(Normal/Niedrig/Aus) | |
| Mittel-AF-Verriegel. Damit aktivieren Sie die Funktion der Motivverfolgung und Fokusnachführung, wenn Sie die mittlere Taste auf dem Aufnahmebildschirm drücken.(Aus/Ein) | |
| Lächel-/Ges.-Erk. Damit wählen Sie, ob Gesichter automatisch erkannt und verschiedene Einstellungen automatisch durchgeführt werden. Damit bestimmen Sie, ob die Kamera automatisch den Verschluss auslöst, wenn sie ein Lächeln erkennt.(Aus/Ein (registr. Gesicht)/Ein/Auslös. bei Lächeln) | |
| Soft Skin-Effekt Damit stellen Sie den Soft Skin-Effekt und die Effektstufe ein.(Ein: Hoch/Ein: Mittel/Ein: Niedrig/Aus) | |
| Auto.Objektrahm. | Diese Funktion analysiert die Szene beim Erfassen von Gesichtern, Nahaufnahmen oder Motiven, die mit AF-Verriegelung verfolgt werden, und beschneidet und speichert automatisch eine weitere Kopie des Bilds mit einer eindrucksvolleren Komposition.(Aus/Auto) |
| Modus Automatik Zum Aufnehmen steht entweder Intelligente Automatik oder Überlegene Automatik zur Auswahl.(Intelligente Auto./Überlegene Autom.) | |
| Szenenwahl Damit wählen Sie vorprogrammierte Einstellungen zur Anpassung an verschiedene Szenenbedingungen aus. (Porträt/Sportaktion/Makro/Landschaft/Sonnenunterg./Nachtszene/Handgeh. bei Dämm./Nachtaufnahme/Anti-Beweg.-Unsch.) | |
| Film | Damit wählen Sie den für Ihr Motiv oder den gewünschten Effekt geeigneten Belichtungsmodus. (Programmautomatik/Blendenpriorität/Zeitpriorität/Manuelle Belichtung) |
| SteadyShot Damit wird | SteadyShot für Standbild- oder Filmaufnahme aktiviert. Diese Funktion reduziert Verwacklungsunschärfe beim Aufnehmen mit handgehaltener Kamera. (Ein/Aus) |
| SteadyShot-Einstlg. | Damit werden SteadyShot-Einstellungen festgelegt. (SteadyShot-Anpass./SteadyS.Brennweite) |
| Farbraum | Damit ändern Sie den Bereich der reproduzierbaren Farben. (sRGB/AdobeRGB) |
| Auto. Lang.belich. | Damit aktivieren Sie die Funktion, welche die Verschlusszeit im Filmmodus automatisch der Umgebungshelligkeit anpasst. (Ein/Aus) |
| Audioaufnahme Damit | bestimmen Sie, ob Ton während einer Filmaufnahme aufgezeichnet wird. (Ein/Aus) |
| Tonaufnahmepegel | Diese Funktion passt den Tonaufnahmepegel während der Filmaufnahme an. (0 bis 31) |
| Tonausgabe-Timing | Diese Funktion legt den Zeitpunkt der Tonausgabe während der Filmaufnahme fest. (Live/Lippen-Synchro) |
| Windgeräuschreduz. | Reduziert das Windgeräusch während der Filmaufnahme. (Ein/Aus) |
| Speicherabruf Dient zum Aufrufen von Einstellungen, die in [Speicher] vorregistriert wurden. (1/2/M1-M4) | |
| Speicher | Dient zum Registrieren der gewünschten Modi oder Kamera-Einstellungen. (1/2/M1-M4) |

(Benutzer- einstlg.)
| Zebra | Diese Funktion zeigt Streifen für die Helligkeitseinstellung an. (Aus/70 bis 100/100+) | |
Unte | ![]() | Zeigt ein vergrößertes Bild für manuelle Fokussierung an. (Ein/Aus) |
![]() | ![]() | |
| [SH3H] | ||
![]() | ![]() | |
![]() | ![]() | Damit wird festgelegt, ob bei Filmaufnahmen die Markierung auf dem Monitor angezeigt wird oder nicht. (Ein/Aus) |
![]() | ![]() | ![]() |
![]() | ||
| Tonpegelanzeige Damit wird die Audiopegelanzeige festgelegt. (Ein/Aus) | ||
![]() | ![]() | |
![]() | ||
![]() | ![]() | |
![]() | ||
| Kantenanheb.stufe He | ![]() | |
![]() | ||
![]() | ![]() | |
| [SW7X] | ||
![]() | ![]() | |
![]() | ||
| Anzeige Live-View Damit bestimmen Sie, ob Einstellungen, wie z. B. die Belichtungskorrektur, auf der Monitoranzeige reflektiert werden oder nicht.(Alle Einstellung. Ein/Alle Einstell. Aus) | |
| Nachführ-AF-B. anz. Damit wird festgelegt, ob das Fokusfeld im Modus [Nachführ-AF] angezeigt wird oder nicht.(Ein/Aus) | |
| Phasenerk.bereich | Damit wird der Phasenerkennungs-AF-Bereich festgelegt.(Ein/Aus) |
| Vor-AF Damit bestimmen Sie, ob Autofokus durchgeführt wird oder nicht, bevor der Auslöser halb gedrückt wird.(Ein/Aus) | |
| Zoom-Einstellung Damit bestimmen Sie, ob Klarbild-Zoom und Digitalzoom beim Zoomen verwendet werden oder nicht.(Nur optischer Zoom/Ein: Klarbild-Zoom/Ein: Digitalzoom) | |
| Eye-Start AF | Damit bestimmen Sie, ob der Autofokus verwendet wird, wenn Sie durch den Sucher blicken, falls ein LA-EA2/LA-EA4 Mount-Adapter (getrennt erhältlich) angebracht ist.(Ein/Aus) |
| FINDER/MONITOR Damit legen Sie die Methode zum Umschalten zwischen Sucher und Monitor fest.(Auto/Sucher/Monitor) | |
| Ausl. ohne Objektiv Damit legen Sie fest, ob der Verschluss geöffnet werden kann, wenn kein Objektiv angeschlossen ist.(Aktivieren/Deaktivieren) | |
| AF b. Auslösung | Damit bestimmen Sie, ob AF beim halben Drücken des Auslösers durchgeführt wird oder nicht. Diese Funktion ist praktisch, wenn Sie Fokus und Belichtung getrennt einstellen wollen.(Ein/Aus) |
| AEL mit Auslöser | Damit wird festgelegt, ob die Belichtung durch halbes Niederdrücken des Auslösers eingestellt wird. Diese Funktion ist praktisch, wenn Sie Fokus und Belichtung getrennt einstellen wollen.(Auto/Ein/Aus) |
| Elekt.1.Verschl.vorh. | Damit bestimmen Sie, ob die elektronische Funktion „Vorderer Schlitzverschluss“ verwendet wird oder nicht.(Ein/Aus) |
| Üb. Auto. Bildextrah. | Damit legen Sie fest, ob alle im Modus [Überlegene Autom.] fortlaufend aufgenommenen Bilder gespeichert werden oder nicht.(Auto/Aus) |
| Bel.korr einst. Damit | legen Sie fest, ob der Belichtungskorrekturwert für die Blitzkorrektur übernommen wird.(Umlicht&Blitz/Nur Umlicht) |
| EV-Korr. zurücksetz. | Damit legen Sie fest, ob der ohne Belichtungsknopf eingestellte Belichtungswert beibehalten oder auf 0 zurückgesetzt wird, wenn die Kamera ausgeschaltet wird.(Beibehalten/Zurücksetzen) |
| Reihenfolge Damit bestimmen Sie die Aufnahmereihenfolge bei Belichtungsreihen- und Weißabgleichreihenaufnahme. (0 - +/- 0 +) | |
| Gesichtsregistr. Damit | registrieren oder wechseln Sie die Person, die bei der Fokussierung Priorität erhalten soll.(Neuregistrierung/Änderung der Reihenf./Löschen/Alle Lösch.) |
| APS-C Größ.erfass. | damit legen Sie fest, ob mit einer Fläche, die dem APS-C-Format entspricht, aufgenommen wird oder nicht.(Ein/Auto/Aus) |
| AF Mikroeinst. | Gestattet Ihnen, Feineinstellungen der Fokusposition vorzunehmen, wenn ein LA-EA2/LA-EA4 Mount-Adapter (getrennt erhältlich) angebracht ist.(AF-Regelung/Wert/Löschen) |
| Objektivkomp. Damit | werden durch das angeschlossene Objektiv verursachte Verzerrungen auf dem Bildschirm kompensiert.(Schattenaufhellung/Farbabweich.korrek./Verzeichnungskorr.) |
| Funkt.menu-Einstlg. | damit können Sie die Funktionen anpassen, die beim Drücken der Taste Fn (Funktion) angezeigt werden.(Bildfolgemodus/Blitzmodus/Blitzkompens./Fokusmodus/Fokusfeld/Belichtungskorr./ISO/Messmodus/Weißabgleich/DRO/Auto HDR/Kreativmodus/Aufn.-Modus/Bildeffekt/Fotoprofil/Mittel-AF-Verriegel./Lächel-/Ges.-Erk./Soft Skin-Effekt/Auto. Objektrahm./Bilgloße/Seitenverhält./Qualität/SteadyShot/SteadyShot-Anpass./SteadyS.Brennweite/Tonaufnahmepegel/Zebra/Gitterlinie/Markierungsanz./Tonpegelanzeige/Kantenanheb.stufe/Kantenanheb.farbe/Nicht festgelegt) |
| Key-Benutzereinstlg. | Mit der Zuweisung von Funktionen zu den verschiedenen Tasten können Sie Bedienungsvorgänge durch Betätigen der Tasten beschleunigen.(Steuerrad/Benutzerdef. Taste 1/Benutzerdef. Taste 2/ Benutzerdef. Taste 3/Benutzerdef. Taste 4/Funkt. d. Mitteltaste/Funkt. der Linkstaste/Funkt. d. Rechtstaste/ Unten-Taste/Funkt. d. AEL-Taste/AF/MF-Taste/Taste Fokus halten*)* Sie können der Fokushaltetaste am Objektiv ein Funktion zuweisen. |
| Regler-Konfiguration | Damit können Sie die Funktionen des vorderen und hinteren Drehreglers festlegen, wenn der Belichtungsmodus auf M eingestellt ist. Die Drehregler können zur Einstellung der Verschlusszeit und Blende verwendet werden.( SS F/no. F/no. SS) |
| Regler Ev-Korrektur | Die Belichtungskorrektur kann mit dem vorderen oder hinteren Drehrad durchgeführt werden.(Aus/ Regler vorn/ Regler hinten) |
| Zoomring-Drehricht. | Ein- und Auszoomen wird der Drehrichtung des Zoomobjektivs zugewiesen. Diese Funktion ist nur mit einem Motorzoomobjektiv verfügbar, das mit dieser Funktion kompatibel ist.(Links(W)/Rechts(T) oder Rechts(W)/Links(T)) |
| MOVIE-Taste | Damit wird die Taste MOVIE aktiviert oder deaktiviert.(Immer/Nur Filmmodus) |
| Regler-/Radsperre | Damit wird festgelegt, ob das vordere Drehrad, das hintere Drehrad oder das Einstellrad durch Gedrückthalten der Taste Fn deaktiviert wird.(Sperren/Entsperren) |

(Drahtlos)
| An Smartph. send. Damit übertragen Sie Bilder zur Anzeige auf einem Smartphone.(Auf Diesem Gerät ausw./Auf Smartphone ausw.) | |
| An Comp. senden Damit können Sie Bilder sichern, indem Sie diese zu einem Computer übertragen, der mit einem Netzwerk verbunden ist. | |
| Auf TV wiedergeben | Sie können Bilder auf einem netzwerktauglichen Fernsehgerät betrachten. |
| One-Touch(NFC) Damit | weisen Sie eine Applikation der One-Touch-Funktion (NFC) zu. Sie können die Applikation zum Aufnehmen aufrufen, indem Sie ein NFC-taugliches Smartphone an die Kamera halten. |
| Flugzeug-Modus Damit | können Sie die drahtlose Kommunikation dieses Gerätes deaktivieren.(Ein/Aus) |
| WPS-Tastendruck | Durch Drücken der Taste WPS können Sie den Zugangspunkt bequem in der Kamera registrieren. |
| Zugriffspkt.-Einstlg. Sie können Ihren Zugangspunkt manuell registrieren. | |
| Gerätename bearb. | Sie können den Gerätenamen unter Wi-Fi Direct usw. ändern. |
| MAC-Adresse anz. Zeigt die MAC-Adresse der Kamera an. | |
| SSID/PW zurücks. Setzt SSID und Passwort einer Smartphone-Verbindung zurück. | |
| Netzw.einst. zurücks. | Alle Netzwerkeinstellungen werden zurückgesetzt. |
(Applikation)
Sie können über das Internet eine Verbindung zu der PlayMemories Camera Apps™ Download-Site herstellen, um Ihrer Kamera gewünschte Funktionen hinzuzufügen.
- In diese Kamera ist die residente Applikation namens [Smart Remote eingebettet] vorinstalliert, die es Ihnen ermöglicht, die Kamera mit Ihrem Smartphone zu steuern. Die vorinstallierte Applikation [Smart Remote eingebettet] wird nicht gelöscht, selbst wenn Sie Taste MENU → (Einstellung) → [Einstlg zurücksetzen] → [Initialisieren] wählen.
(Wiedergabe)
| Löschen Damit löschen | Sie ein Bild.(Mehrere Bilder/Alle in diesem Ordner/Alle mit diesem Dat.) |
| Ansichtsmodus Damit | können Sie Bilder des angegebenen Datums oder Ordners von Standbildern und Filmen wiedergeben.(Datums-Ansicht/Ordnerans. (Standbild)/Ordneransicht (MP4)/AVCHD-Ansicht/XAVC S-Ansicht) |
| Bildindex Damit können | Sie mehrere Bilder gleichzeitig anzeigen.(9 Bilder/25 Bilder) |
| Anzeige-Drehung Damit legen Sie die Wiedergaberichtung des aufgenommenen Bilds fest. (Auto/Manuell/Aus) | |
| Diaschau Damit zeigen Sie eine Diaschau an. (Wiederholen/Intervall) | |
| Drehen Dient zum Drehen des Bilds. | |
| ⊕ Vergrößern Damit können Sie Wiedergabebilder vergrößern. | |
| 4K Standbild-Wdg. Standbilder werden in 4K-Auflösung zu einem über HDMI-Verbindung angeschlossenen Fernsehgerät ausgegeben, das 4K unterstützt. | |
| Schützen Damit schützen Sie die Bilder. (Mehrere Bilder/Alle in diesem Ordner/Alle mit diesem Dat./Alle in dies. Ordn. aufh./Alle mit dies. Dat. aufh.) | |
| Ausdrucken Damit markieren Sie ein Standbild mit einem Druckauftragssymbol. (Mehrere Bilder/Alles aufheben/Druckeinstellung) | |

(Einstellung)
DE
*1 Nur für 1080 60i-kompatible Modelle.
*2 Nur für 1080 50i-kompatible Modelle.
| Monitor-Helligkeit Damit stellen Sie die Monitorhelligkeit ein. (Manuell/Sonnig) | |
| Sucherhelligkeit Legt die Helligkeit des elektronischen Suchers fest. (Auto/Manuell) | |
| Sucher-Farbtemp. Damit stellen Sie die Farbtemperatur des Suchers ein. | |
| Lautstärkeeinst. | Damit stellen Sie die Lautstärke für Filmwiedergabe ein. |
| Signaltöne Damit bestimmen Sie, ob ein Piepton während Autofokus- oder Selbstauslöservorgängen abgegeben wird oder nicht. (Ein/Aus) | |
| Upload-Einstell. Damit aktivieren Sie die Upload-Funktion der Kamera, wenn Sie eine Eye-Fi-Karte benutzen. (Ein/Aus) | |
| Kachelmenü Damit bestimmen Sie, ob das Kachelmenü bei jedem Drücken der Taste MENU angezeigt wird oder nicht. (Ein/Aus) | |
| Modusregler-Hilfe Damit schalten Sie den Moduswahlknopfführer (Erläuterung des jeweiligen Aufnahmemodus) ein oder aus. (Ein/Aus) | |
| Löschbestätigung | Damit bestimmen Sie, ob Löschen oder Abbrechen auf dem Löschungs-Bestätigungsbildschirm vorgewählt wird. ("Löschen" Vorg /"Abbruch" Vorg) |
| Anzeigequalität Damit | legen Sie die Anzeigequalität fest.(Hoch/Standard) |
| Energiesp.-Startzeit D | damit können Sie die Zeitintervalle bis zur automatischen Aktivierung des Stromsparmodus einstellen.(30 Minuten/5 Minuten/2 Minuten/1 Minute/10 Sek.) |
| PAL/NTSC-Auswahl*2 | Durch Ändern des TV-Formats des Gerätes ist Aufnahme in einem anderen Filmformat möglich. |
| Reinigungsmodus Startet den Reinigungsmodus zum Reinigen des Bildsensors. | |
| Demo-Modus Damit schalten Sie die Demonstrationswiedergabe eines Films ein oder aus.(Ein/Aus) | |
| TC/UB-Einstlg. Damit | legen Sie den Timecode (TC) und das User Bit (UB) fest.(TC/UB-Anz.einstlg/TC Preset/UB Preset/TC Format/TC Run/TC Make/UB Time Rec) |
| Fernbedienung Damit | bestimmen Sie, ob die Infrarot-Fernbedienung verwendet wird.(Ein/Aus) |
| HDMI-Einstellungen D | damit legen Sie die HDMI-Einstellungen fest.(HDMI-Auflösung/24p/60p-Ausg.* /HDMI-Infoanzeige/TC-Ausgabe/RC-Steuerung/STRG FÜR HDMI) |
| USB-Verbindung Damit | bestimmen Sie die USB-Verbindungsmethode.(Auto/Massenspeich./MTP/PC-Fernbedienung) |
| USB-LUN-Einstlg. Erweitert die Kompatibilität durch Einschränken der Funktionen der USB-Verbindung. Setzen Sie diese Funktion unter normalen Bedingungen auf [Multi]. Die Einstellung [Einzeln] sollte nur dann verwendet werden, wenn die Verbindung zwischen der Kamera und einem Computer oder einer AV-Komponente nicht hergestellt werden kann.(Multi/Einzeln) | |
| Sprache Damit wählen Sie die Sprache aus. | |
| Datum/Uhrzeit Damit | stellen Sie Datum und Uhrzeit sowie die Sommerzeit ein. |
| Gebietseinstellung Damit | stellen Sie den Einsatzort ein. |
| Formatieren Damit wird die Speicherkarte formatiert. | |
| Dateinummer | damit legen Sie die Methode für die Zuweisung von Dateinummern zu Standbildern und Filmen fest.(Serie/Rückstellen) |
| REC-Ordner wählen | damit ändern Sie den ausgewählten Ordner zum Speichern von Standbildern und Filmen (MP4). |
| Neuer Ordner Damit erstellen Sie einen neuen Ordner zum Speichern von Standbildern und Filmen (MP4). | |
| Ordnername Damit legen Sie das Ordnerformat für Standbilder fest.(Standardformat/Datumsformat) | |
| Bild-DB wiederherst. | Damit können Sie die Bilddatenbankdatei wiederherstellen und Aufnahme und Wiedergabe aktivieren. |
| Medien-Info anzeig. | Damit zeigen Sie die verbleibende Aufnahmezeit von Filmen und die noch speicherbare Anzahl von Standbildern auf der Speicherkarte an. |
| Version Zeigt die Software-Version der Kamera an. | |
| Zertifizierungslogo*3 | Die Zertifizierung kann auf der Kamera angezeigt werden. |
| Einstlg zurücksetzen | Damit setzen Sie die Einstellungen auf ihre Vorgaben zurück. Wählen Sie [Initialisieren], um alle Einstellungen auf ihre Standardwerte zurückzusetzen.(Initialisieren/ Kameraeinstlg. Reset) |
Wenn Sie diesen Posten umschalten, müssen Sie die Speicherkarte in der Einstellung formatieren, die mit dem PAL- bzw. dem NTSC-System kompatibel ist. Beachten Sie auch, dass es u. U. nicht möglich ist, mit dem NTSC-System aufgezeichnete Filme auf einem Fernsehgerät des PAL-Systems abzuspielen.
*3 Nur Übersee-Modell.
Benutzung des Kameraführers
Sie können [Key-Benutzereinstlg.] benutzen, um den Kameraführer der gewünschten Taste zuzuweisen.
Der Kameraführer zeigt Erläuterungen für die gegenwärtig gewählte Menüfunktion oder Einstellung an.
Taste MENU → ⚙ (Benutzer- einstlg.) → [Key-Benutzereinstlg.] → Wählen Sie die gewünschte Taste, die der Funktion zugewiesen ist. → [Kameraführer]
Drücken Sie die Taste MENU, wählen Sie mithilfe des Einstellrads einen MENU-Posten aus, dessen Erläuterung Sie lesen möchten, und drücken Sie dann die Taste, welcher der [Kameraführer] zugewiesen ist.
Laden des Akkus
Denken Sie vor der ersten Benutzung der Kamera daran, den Akku NP-FW50 (mitgeliefert) aufzuladen.
Der InfoLITHIUM™-Akku kann auch geladen werden, wenn er nicht ganz entladen ist.
Der Akku kann auch verwendet werden, wenn er nicht voll aufgeladen ist. Der aufgeladene Akku entlädt sich nach und nach, auch wenn er nicht verwendet wird. Damit Sie keine Aufnahmegelegenheit verpassen, laden Sie den Akku vor der nächsten Aufnahme wieder auf.
1 Stellen Sie den Schalter ON/OFF (Ein/Aus) auf OFF.

text_image
OFF ONDE
2 Verschieben Sie den Hebel, um die Klappe zu öffnen.

3 Schieben Sie den Akku vollständig ein, wobei Sie den Verriegelungshebel mit der Spitze des Akkus hineindrücken.
Verriegelungshebel

4 Schließen Sie die Klappe.

5 Verbinden Sie die Kamera über das Micro-USB-Kabel (mitgeliefert) mit dem Netzteil (mitgeliefert), und schließen Sie das Netzteil an eine Netzsteckdose an.

Die Ladekontrollleuchte leuchtet orange, und der Ladevorgang beginnt.
• Schalten Sie die Kamera aus, während Sie den Akku laden.
- Wenn die Ladekontrollleuchte blinkt und der Ladevorgang nicht beendet ist, nehmen Sie den Akku heraus, und setzen Sie ihn wieder ein.
- In anderen Ländern/Regionen außer USA und Kanada schließen Sie das Netzkabel an das Netzteil an, und stecken Sie dann das Netzteil in die Netzsteckdose.

Leuchtet: Ladevorgang aktiv
Aus: Ladevorgang beendet
Blinkend:
Ladefehler oder Unterbrechung des Ladevorgangs, weil Kamera außerhalb des geeigneten Temperaturbereichs ist
Hinweise
- Falls die Ladekontrollleuchte an der Kamera blinkt, wenn das Netzteil an die Netzsteckdose angeschlossen ist, bedeutet dies, dass der Ladevorgang vorübergehend unterbrochen wird, weil die Temperatur außerhalb des empfohlenen Bereichs liegt. Sobald die Temperatur wieder in den entsprechenden Bereich zurückgekehrt ist, wird der Ladevorgang fortgesetzt. Es wird empfohlen, den Akku bei einer Umgebungstemperatur zwischen 10°C und 30°C aufzuladen.
- Schließen Sie das Netzteil (mitgeliefert) an die nächstgelegene Netzsteckdose an. Sollten während der Benutzung des Netzteils irgendwelche Funktionsstörungen auftreten, ziehen Sie sofort den Stecker von der Netzsteckdose ab, um die Stromquelle abzutrennen.
- Wenn Sie den Akku zum ersten Mal oder nach längerem Nichtgebrauch laden, blinkt die Ladekontrollleuchte eventuell schnell. Nehmen Sie in solchen Fällen den Akku aus der Kamera heraus, und setzen Sie ihn zum Aufladen wieder ein.
- Unterlassen Sie fortlaufendes oder wiederholtes Laden des Akkus, ohne ihn zu benutzen, wenn er bereits ganz oder nahezu voll aufgeladen ist. Anderenfalls kann eine Verschlechterung der Akkuleistung verursacht werden.
- Wenn der Ladevorgang beendet ist, trennen Sie das Netzteil von der Netzsteckdose.
- Verwenden Sie nur Original-Teile der Marke Sony Akkus, Micro-USB-Kabel (mitgeliefert) und das Netzteil (mitgeliefert).
DE
Ladezeit (Vollständige Ladung)
Die Ladezeit beträgt ungefähr 150 Minuten mit dem Netzteil (mitgeliefert).
Hinweise
- Die obige Ladezeit gilt für das Laden eines völlig erschöpften Akkus bei einer Temperatur von 25°C. Je nach den Nutzungsbedingungen und Umständen kann das Laden länger dauern.
Laden durch Anschluss an einen Computer
Der Akku kann geladen werden, indem die Kamera über ein Micro-USB-Kabel an einen Computer angeschlossen wird. Verbinden Sie die Kamera im ausgeschalteten Zustand mit dem Computer.

- Wird die Kamera an einen Laptop angeschlossen, der nicht an eine Stromquelle angeschlossen ist, wird der Akku im Laptop entladen. Laden Sie nicht über eine längere Zeitspanne hinweg.
- Unterlassen Sie Ein-/Ausschalten, Neustart oder Wecken des Computers zur Fortsetzung des Betriebs aus dem Ruhezustand heraus, wenn eine USB-Verbindung zwischen dem Computer und der Kamera hergestellt worden ist. Die Kamera kann sonst eine Funktionsstörung verursachen. Bevor Sie den Computer ein-/ausschalten, neu starten oder aus dem Ruhemodus heraus wecken, trennen Sie Kamera und Computer.
- Einwandfreier Ladebetrieb mit einem speziell gebauten oder modifizierten Computer kann nicht garantiert werden.
Prüfen der Akku-Restladung
Die Restladungsanzeige erscheint auf dem Monitor.

text_image
Hoch NiedrigHinweise
• Die Restladungsanzeige ist unter bestimmten Umständen möglicherweise nicht korrekt.
So nehmen Sie den Akku heraus
Schalten Sie die Kamera aus. Verschieben Sie den Verriegelungshebel, nachdem Sie sichergestellt haben, dass die Zugriffslampe (Seite 17) aus ist, und nehmen Sie den Akku heraus.
Lassen Sie den Akku nicht fallen.
Verriegelungshebel

Einsetzen einer Speicherkarte (getrennt erhältlich)
1 Verschieben Sie den Hebel, um die Klappe zu öffnen.

2 Setzen Sie die Speicherkarte ein.
- Richten Sie die eingekerbte Ecke gemäß der Abbildung aus, und führen Sie die Speicherkarte ein, bis sie einrastet.

Auf korrekte Ausrichtung der abgeschnittenen Ecke achten.
3 Schließen Sie die Klappe.

So nehmen Sie die Speicherkarte heraus
Vergewissern Sie sich, dass die Zugriffslampe (Seite 17) erloschen ist, und drücken Sie dann die Speicherkarte einmal hinein.
Verwendbare Speicherkarten
Die folgenden Speicherkartentypen können mit dieser Kamera verwendet werden. Allerdings kann nicht garantiert werden, dass alle Speicherkartentypen einwandfrei mit der Kamera funktionieren.
| Speicherkarte Für Standbilder Für Filme | |||
| A | Memory Stick PRO DuoTM (nur | Mark2)√ | √ |
| Memory Stick PRO-HG DuoTM | √ | √ | |
| Memory Stick XC-HG DuoTM | √ | √ | |
| B | SD-Speicherkarte (Klasse 4 oder schneller) | √ | |
| SDHC-Speicherkarte (Klasse 4 oder schneller) | √ | ||
| SDXC-Speicherkarte (Klasse 4 oder schneller) | √ | ||
- In dieser Anleitung werden die Produkte in der Tabelle kollektiv wie folgt bezeichnet:
A: Memory Stick PRO Duo
B: SD-Karte
Bei Aufnahme von Filmen des XAVC S-Formats
Verwenden Sie die folgenden Speicherkarten:
- SDXC-Speicherkarte (64 GB oder mehr und Klasse 10 oder schneller)
- SDXC Speicherkarte (64 GB oder mehr und UHS-I (U1))
– Memory Stick XC-HG Duo
Hinweise
- Bilder, die auf einem Memory Stick XC-HG Duo oder einer SDXC-Speicherkarte gespeichert sind, können nicht zu Computern oder AV-Geräten, die nicht mit exFAT* kompatibel sind, importiert oder von diesen wiedergegeben werden. Vergewissern Sie sich vor dem Anschluss des Gerätes an die Kamera, dass es mit exFAT kompatibel ist. Wenn Sie die Kamera an ein nicht kompatibles Gerät anschließen, werden Sie u. U. aufgefordert, die Karte zu formatieren. Formatieren Sie die Speicherkarte als Reaktion auf diese Aufforderung auf keinen Fall, weil sonst alle Daten auf der Speicherkarte gelöscht werden.
* exFAT ist das Dateisystem, das auf Memory Stick XC-HG Duo und SDXC-Speicherkarten verwendet wird.
Anbringen eines Objektivs
Stellen Sie den Ein-Aus-Schalter der Kamera auf OFF, bevor Sie das Objektiv anbringen oder abnehmen.
1 Nehmen Sie den Gehäusedeckel von der Kamera und die Hintere Objektivkappe von der Rückseite des Objektivs ab.
- Wechseln Sie das Objektiv zügig in staubfreier Umgebung, um zu verhindern, dass Staub oder Schmutz in die Kamera eindringt.
- Zum Aufnehmen entfernen Sie die vordere Objektivkappe von der Vorderseite des Objektivs.
Vordere Objektivkappe

text_image
GehäusedeckelHintere Objektivkappe
2 Montieren Sie das Objektiv, indem Sie die weißen Ausrichtmarkierungen (Ansetzindices) an Objektiv und Kamera aufeinander ausrichten.
- Halten Sie die Kamera mit dem Objektiv nach unten, um das Eindringen von Staub in die Kamera zu verhindern.

Weiße Ausrichtmarkierungen
3 Drehen Sie das Objektiv im Uhrzeigersinn, während Sie es leicht gegen die Kamera drücken, bis es in der Verriegelungsposition einrastet.
- Setzen Sie das Objektiv gerade auf.

- Drücken Sie beim Anbringen eines Objektivs nicht auf den Objektiventriegelungsknopf.
- Wenden Sie beim Anbringen eines Objektivs keine Gewalt an.
- Der Mount-Adapter (getrennt erhältlich) wird zur Benutzung eines A-Bajonett-Objektivs (getrennt erhältlich) benötigt. Einzelheiten zur Benutzung des Mount-Adapters entnehmen Sie bitte dessen Gebrauchsanleitung.
- Wenn Sie Vollformatbilder aufnehmen wollen, verwenden Sie ein Objektiv, das für eine Vollformatkamera ausgelegt ist.
- Wenn Sie die Kamera mit angebrachtem Objektiv tragen, halten Sie Kamera und Objektiv fest.
- Halten Sie nicht den Teil des Objektivs, der für Zoom- oder Fokuseinstellungen ausgefahren wird.
So nehmen Sie das Objektiv ab
1 Drücken Sie den Objektiventriegelungsknopf vollständig hinein, und drehen Sie das Objektiv bis zum Anschlag entgegen dem Uhrzeigersinn.

Objektiventriegelungsknopf
DE
2 Bringen Sie die Kappen an Vorder- und Rückseite des Objektivs und die Gehäusekappe an der Kamera an.
• Säubern Sie die Kappen und den Deckel vor dem Anbringen von etwaigem Staub.

Hinweise zum Objektivwechsel
Falls beim Wechseln des Objektivs Staub oder Schmutz in die Kamera eindringen und sich auf dem Bildsensor (dem Teil, der Licht in ein elektrisches Signal umwandelt) absetzen, kann dies je nach Aufnahmeumgebung in Form von dunklen Flecken auf dem Bild sichtbar werden. Führen Sie den Objektivwechsel zügig an einem staubfreien Ort durch.
Einstellen von Datum und Uhrzeit
Beim ersten Einschalten der Kamera oder nach der Initialisierung der Funktionen erscheint der Bildschirm zum Einstellen von Datum und Uhrzeit.
1 Stellen Sie den Ein-Aus-Schalter auf ON, um die Kamera einzuschalten.
Der Bildschirm zum Einstellen von Datum und Uhrzeit erscheint.
• Zum Ausschalten der Kamera stellen Sie den Ein-Aus-Schalter auf OFF.

text_image
OFF ON2 Prüfen Sie, ob [Eingabe] auf dem Bildschirm ausgewählt ist, und drücken Sie dann ● am Einstellrad.

3 Wählen Sie den gewünschten geografischen Standort aus, und drücken Sie dann ●.
4 Drücken Sie ▲/▼ am Einstellrad, oder wählen Sie einen Einstellungsposten durch Drehen des Einstellrads aus, und drücken Sie dann ●.
5 Drücken Sie ▲/▼/◄/►, oder wählen Sie die gewünschte Einstellung durch Drehen des Einstellrads aus, und drücken Sie dann ●.
6 Wiederholen Sie die Schritte 4 und 5 zur Einstellung anderer Posten, wählen Sie dann [Eingabe], und drücken Sie ● am Einstellrad.
So brechen Sie die Einstellung von Datum und Uhrzeit ab Drücken Sie die Taste MENU.
Überprüfen oder Rücksetzen von Datum/Uhrzeit und Gebiet
Der Bildschirm zum Einstellen von Datum und Uhrzeit erscheint automatisch beim ersten Einschalten der Kamera, oder wenn die interne wiederaufladbare Speicherschutzbatterie entladen ist. Um Datum und Uhrzeit neu einzustellen, benutzen Sie das Menü.
Taste MENU → 📁 (Einstellung) → [Datum/Uhrzeit] oder [Gebietseinstellung]

- Diese Kamera besitzt keine Funktion für das Einblenden des Datums in ein Bild. Mit PlayMemories Home (Seite 84) können Sie das Datum einfügen und das Bild speichern oder drucken.
Aufrechterhaltung der Datums- und Uhrzeiteinstellung
Diese Kamera enthält eine interne wiederaufladbare Batterie, die den Speicher für Datum und Uhrzeit sowie andere Einstellungen speist, ohne Rücksicht darauf, ob die Kamera ein- oder ausgeschaltet oder der Akku eingesetzt ist oder nicht.
Klare Bildaufnahme ohne Verwacklung
„Verwacklung“ bezieht sich auf ungewollte Bewegungen der Kamera, die nach dem Drücken des Auslösers auftreten und zu einem unscharfen Bild führen.
Um Verwacklung zu reduzieren, folgen Sie den nachstehenden Anweisungen.
Verwacklungs-Warnanzeige
In Situationen, in denen die Kamera anfällig für Verwacklung ist, blinkt die Anzeige «W» (Verwacklungswarnung). Verwenden Sie in diesem Fall ein Stativ oder den Blitz.

Anzeige
(Verwacklungswarnung)
DE
Hinweise
- In den folgenden Situationen erscheint die Verwacklungs-Warnanzeige nicht:
– Der Belichtungsmodus ist auf M/S eingestellt, oder während Filmaufnahme. - Bei Einstellung des Betrachtungsmodus auf [Daten n. anz.], [Neigung] oder [Histogramm].
SteadyShot-Funktion
Diese Funktion ermöglicht es Ihnen, mit der optimalen Verwacklungskompensation für das verwendete Objektiv aufzunehmen.
1 Taste MENU → 📷 (Kamera- einstlg.) → [SteadyShot] → [Ein]
2 [SteadyShot-Einstlg.] → [SteadyShot-Anpass.] → Wählen Sie die gewünschte Einstellung.
| Auto Analysiert die Objektivinformation und gleicht Verwacklung automatisch aus. | |
| Manuell Gleicht Verwacklung unter Verwendung der mit [SteadyS.Brennweite] (8mm – 1000mm) eingestellten Brennweite aus.Stellen Sie die Brennweite des Objektivs für Aufnahme ein. |
Hinweise
- Die SteadyShot-Funktion arbeitet eventuell nicht optimal, wenn die Kamera erst kurz zuvor eingeschaltet wurde, soeben erst auf das Motiv gerichtet wurde, oder der Auslöser sofort ganz durchgedrückt wurde, ohne auf halbem Weg anzuhalten.
- Wenn Sie ein Stativ benutzen, deaktivieren Sie die SteadyShot-Funktion, weil die Möglichkeit für eine Funktionsstörung der SteadyShot-Funktion besteht.
- Wenn die Kamera keine Brennweiteninformation vom Objektiv erhalten kann, arbeitet die SteadyShot-Funktion nicht richtig. Setzen Sie [SteadyShot-Anpass.] auf [Manuell], und passen Sie [SteadyS.Brennweite] an das verwendete Objektiv an.
- Wenn die Kamera keine Brennweiteninformation vom Objektiv erhalten kann, oder wenn [SteadyShot-Anpass.] auf [Manuell] gesetzt wird, wird der aktuelle Einstellwert der SteadyShot-Brennweite neben angezeigt.
- Wenn Sie ein Sony Objektiv mit Telekonverter usw. benutzen, setzen Sie [SteadyShot-Anpass.] auf [Manuell], und stellen Sie die Brennweite ein.
Korrektes Halten der Kamera
Stabilisieren Sie Ihren Oberkörper, und nehmen Sie eine Position ein, die Kamerabewegungen verhindert.
Suchermodus

Die eine Hand hält den Griff der Kamera, und die andere Hand stützt des Objektiv ab.
DE
Punkt ②
Nehmen Sie eine sichere Haltung mit den Füßen in Schulterbreite ein.
Punkt ③
Stützen Sie Ihre Ellbogen leicht am Körper ab.
Wenn Sie in kniender Position aufnehmen, halten Sie Ihren Oberkörper ruhig, indem Sie Ihren Ellbogen auf Ihrem Knie abstützen.
Abnehmen der Okularmuschel
Um den Winkelsucher FDA-A1AM (getrennt erhältlich) an der Kamera anzubringen, muss die Okularmuschel abgenommen werden.
Legen Sie Ihre Finger unter die Okularmuschel, und schieben Sie sie nach oben.

- Wenn ein Winkelsucher FDA-A1AM (getrennt erhältlich) an der Kamera angebracht ist, schalten Sie die Anzeige zwischen Sucher und Monitor um, indem Sie [FINDER/MONITOR] in (Benutzer- einstlg.) einstellen.
Standbildaufnahme
Im Modus [Modus Automatik] analysiert die Kamera das Motiv und ermöglicht Ihnen Aufnahmen mit geeigneten Einstellungen.
1 Stellen Sie den Ein-Aus-Schalter auf ON, um die Kamera einzuschalten.
2 Stellen Sie den Moduswahlknopf auf AUTO (Modus Automatik).

text_image
AUTO SCNDE
3 Blicken Sie durch den Sucher, und halten Sie die Kamera.
4 Bestimmen Sie die Größe eines Motivs.
Bei Verwendung eines Objektivs mit Zoomhebel: Verschieben Sie den Zoomhebel. Bei Verwendung eines Objektivs mit Zoomring: Drehen Sie den Zoomring.
- Der optische Zoom ist nicht verfügbar, wenn ein Objektiv mit fester Brennweite montiert wird.
- Wird der Zoombereich des optischen Zooms überschritten, wenn ein Motorzoomobjektiv montiert ist, schaltet die Kamera automatisch auf den Zoommodus außerhalb des optischen Zooms um.

text_image
Zoomring5 Drücken Sie den Auslöser halb nieder, um zu fokussieren.
- Wenn das Bild scharf ist, ertönt ein Piepton, und die Anzeige ● oder leuchtet auf.

6 Drücken Sie den Auslöser ganz nieder, um zu fotografieren.
- Wenn Sie Gesichter, nahe Motive (Makro) oder von AF-Nachführung verfolgte Motive bei Einstellung von [Auto. Objektrahm.] auf [Auto] aufnehmen, analysiert die Kamera die Szene und beschneidet das aufgenommene Bild automatisch zu einer geeigneten Komposition. Beide Bilder (Originalbild und beschnittenes Bild) werden gespeichert.
Filmaufnahme
1 Drücken Sie die Taste MOVIE, um die Aufnahme zu starten.
- Da die [MOVIE-Taste] in der Standardeinstellung auf [Immer] eingestellt ist, können Filmaufnahmen von jedem Aufnahmemodus aus gestartet werden.

2 Drücken Sie die Taste MOVIE erneut, um die Aufnahme zu stoppen.
DE
Hinweise
• Die Betriebsgeräusche der Kamera werden während der Filmaufnahme eventuell mit aufgezeichnet. Sie können die Tonaufzeichnung deaktivieren, indem Sie [Audioaufnahme] auf [Aus] (Seite 37) setzen.
- Um bei Verwendung eines Motorzoomobjektivs zu verhindern, dass die Betriebsgeräusche des Zoomrings während der Filmaufnahme aufgezeichnet werden, empfehlen wir, bei Filmaufnahmen den Zoomhebel zu benutzen. Legen Sie Ihren Finger zur Betätigung des Zoomhebels leicht auf den Hebel, und betätigen Sie ihn nicht ruckartig.
• Die ununterbrochene Aufnahmezeit eines Films hängt von der Umgebungstemperatur und vom Zustand der Kamera ab. Siehe „Hinweise zu fortlaufender Filmaufnahme“ (Seite 90).
- Wenn das Symbol erscheint, ist die Temperatur der Kamera zu hoch. Schalten Sie die Kamera aus, und warten Sie, bis die Temperatur der Kamera sinkt.
- Wenn Sie längere Zeit ununterbrochen aufnehmen, bemerken Sie eventuell, dass die Kamera warm ist. Dies ist normal. Außerdem kann die Meldung [Kamera zu warm. Abkühlen lassen.] erscheinen. Schalten Sie in solchen Fällen die Kamera aus, und warten Sie, bis die Kamera wieder aufnahmebereit ist.
- Während der Aufnahme kann je nach der vorliegenden Situation das Geräusch der Schulterriemenhaken (Dreieckhaken) aufgezeichnet werden.
Bildwiedergabe
1 Drücken Sie die Taste

text_image
Taste2 Wählen Sie ein Bild durch Drücken von ◀/▶ am Einstellrad aus.
- Um Filme wiederzugeben, drücken Sie ● am Einstellrad.
Wenn Sie ▼ am Einstellrad während der Wiedergabe eines Films drücken, wird das Bedienfeld angezeigt.
| Bedienfeld Funktion während der Filmwiedergabe | |
| ►Wiedergabe | |
| ■Pause | |
| ►Vorlauf | |
| ◀Rücklauf | |
| ►Zeitlupenwiedergabe vorwärts | |
| ◀Zeitlupenwiedergabe rückwärts | |
| ►Nächster Film | |
| ■◀Vorheriger Film | |
| ■►Einzelbild vorwärts | |
| ◀■Einzelbild rückwärts | |
| ◀) | Lautstärkeeinstellungen |
| ↔ | Schließt das Bedienfeld |
Hinweise
- Filme, die mit anderen Geräten aufgenommen wurden, können u. U. nicht auf dieser Kamera wiedergegeben werden.
Umschalten zwischen Standbildern und Filmen
Zur Wiedergabe von Standbildern setzen Sie [Ansichtsmodus] auf [Ordnerans. (Standbild)], und zur Wiedergabe von Filmen setzen Sie [Ansichtsmodus] auf [Ordneransicht (MP4)], [AVCHD-Ansicht] oder [XAVC S-Ansicht]. Wenn Sie [Datums-Ansicht] wählen, werden sowohl Standbilder als auch Filme nach Datum sortiert auf dem Bildschirm angezeigt.
Taste MENU → ▶ (Wiedergabe) → [Ansichtsmodus] → Wählen Sie den gewünschten Modus aus.
DE
Löschen von Bildern
Nachdem ein Bild einmal gelöscht worden ist, kann es nicht wiederhergestellt werden. Vergewissern Sie sich, dass Sie das Bild auch wirklich löschen wollen, bevor Sie fortfahren.
1 Während das zu löscheide Bild angezeigt wird, drücken Sie die Taste 📂 (Löschen).

text_image
Taste (Löschen)2 Wählen Sie [Löschen] mit ▲/▼ am Einstellrad, und drücken Sie dann ●.
- Um mehrere Bilder auf einmal zu löschen, wählen Sie Taste MENU → (Wiedergabe) → [Löschen].
Hinweise
- Geschützte Bilder können nicht gelöscht werden.
Auswählen des Aufnahmemodus
Stellen Sie den Moduswahlknopf auf den gewünschten Aufnahmemodus ein.

text_image
AUTO SCNDie folgenden Aufnahmemodi sind verfügbar.
| AUTO (Modus Automatik) | Gestattet die Aufnahme von Standbildern mit automatischen Einstellungen. |
| P(Programmautomatik) | Ermöglicht Aufnehmen mit automatisch eingestellter Belichtung (Verschlusszeit und Blendenwert). Die übrigen Einstellungen können manuell durchgeführt werden. |
| A(Blendenpriorität) | Gestattet Ihnen, vor der Aufnahme die Blende einzustellen, den Fokussierbereich zu ändern oder den Hintergrund zu defokussieren. |
| S (Zeitpriorität) Gestattet Ihnen, die Verschlusszeit vorzuwählen, um die Bewegung eines Motivs hervorzuheben. | |
| M (Manuelle Belichtung) | Gestattet Ihnen, vor der Aufnahme die Belichtung (Verschlusszeit und Blendenwert) mithilfe des vorderen oder hinteren Einstellrads manuell einzustellen. |
| 1/2 (Speicherabruf) Dient zum Aufrufen von Einstellungen, die unter [Speicher] in Kamera- einstlg.) vorregistriert wurden. | |
| SCN (Szenenwahl) Gestattet Ihnen, mit vorgewählten Einstellungen entsprechend der jeweiligen Szene zu fotografieren. | |
| (Schwenk-Panorama) | Gestattet Ihnen, Panoramabilder durch Kombinieren mehrerer Bilder aufzunehmen. |
| (Film) | Gestattet Ihnen, Aufnahme-Einstellungen zu ändern und einen Film aufzunehmen. |
DE
Für den jeweiligen Aufnahmemodus verfügbare Funktionen
Die verwendbaren Funktionen hängen vom gewählten Aufnahmemodus ab. In der nachstehenden Tabelle bedeutet √dass die Funktion verfügbar ist, und –, dass die Funktion nicht verfügbar ist.
| Aufn.-Modus | Belichtungskorr. | Selbstauslöser | Serienaufnahme | Gesichts-erkennung | Auslös. bei Lächeln | Auto. Objekt-rahm. | |
| AUTO | √ | √ | √ | √ | √ | ||
| SCN | - | √ | - | √ | √ | √ | |
| - | - | √ | √ | √ | - | ||
| - | √ | - | √ | √ | √ | ||
| - | √ | - | - | - | √ | ||
| - | √ | - | - | - | √ | ||
| - | √ | - | - | - | √ | ||
| - | - | - | √ | - | - | ||
| - | √ | - | √ | √ | √ | ||
| - | - | - | √ | - | - | ||
| √ | - | - | - | - | - | ||
| P | √ | √ | √ | √ | √ | √ | |
| A | √ | √ | √ | √ | √ | √ | |
| S | √ | √ | √ | √ | √ | √ | |
| M | -* | √ | √ | √ | √ | √ | |
| √* | - | -√ | - | ||||
* Bei Einstellung des Aufnahmemodus auf M kann die Belichtung nur angepasst werden, wenn [ISO] auf [ISO AUTO] eingestellt ist.
Verwendung der verschiedenen Funktionen
Diese Anleitung bietet hauptsächlich eine Einführung in die Benutzung der Kamera und eine Liste von Funktionen. Um mehr über die Kamera zu erfahren, nehmen Sie auf die „Hilfe“ (Seite 2) Bezug, die ausführliche Beschreibungen der zahlreichen Funktionen enthält.
Kreativmodus
Sie können die gewünschte Bildverarbeitungsart unter 13 Stilen auswählen. Außerdem können Sie den Kontrast, die Sättigung und die Konturenschärfe für jeden [Kreativmodus]-Posten einstellen.

① Taste MENU → 📄 (Kamera- einstlg.) → [Kreativmodus]
② Wählen Sie den gewünschten Stil mit ▲/▼ am Einstellrad aus.

[Kreativmodus]-Posten

[Kreativmodusfunkt.] Sie können die Einstellung fein abstimmen und die angepasste Einstellung speichern.
DRO/Auto HDR
Mithilfe der Funktion [DRO/Auto HDR] können Sie Bilder mit verschiedenen Kontrastabstufungen aufnehmen.
[Dynamikb.Opt.]: Durch Unterteilen des Bilds in kleine Flächen analysiert die Kamera den Kontrast von Licht und Schatten zwischen Motiv und Hintergrund, und erzeugt ein Bild mit optimaler Helligkeit und Abstufung. [Auto HDR]: Die Kamera nimmt 3 Bilder mit unterschiedlicher Belichtung auf und überlagert dann das korrekt belichtete Bild, die hellen Bereiche eines unterbelichteten Bilds und die dunklen Bereiche eines überbelichteten Bilds, um so ein Bild mit vielfältiger Abstufung zu erhalten.

① Taste MENU → 📄 (Kamera- einstlg.) → [DRO/Auto HDR]
②Wählen Sie die gewünschte Einstellung mit ▲/▼ am Einstellrad aus.
Dateiformat
Taste MENU → 📄 (Kamera- einstlg.) → [Dateiformat] → Wählen Sie den gewünschten Modus aus.
| XAVC S Zeichnet X | AVC S-Filme auf (24p*/30p/25p/60p/50p). Dieses Format unterstützt höhere Bitraten als AVCHD oder MP4. Audio: LPCM* Nur für 1080 60i-kompatible Modelle. |
| AVCHD Zeichnet A | VCHD-Filme auf (60i/50i/24p/25p/60p/50p). Dieses Format eignet sich für die Betrachtung von Filmen auf einem HD-Fernsehgerät. Mithilfe der Software PlayMemories Home können Sie eine Blu-ray-Disc, eine AVCHD-Aufnahmedisc oder eine DVD-Videodisc erzeugen. Audio: Dolby Digital |
| MP4 Zeichnet MP4 | -(AVC)-Filme auf. Dieses Format eignet sich für WEB-Uuploads, E-Mail-Anhänge usw. Audio: AAC |
Hinweise
- Wenn Sie bei Einstellung von [Dateiformat] auf [XAVC S] aufnehmen, benötigen Sie eine SDXC-Speicherkarte (64 GB oder mehr und Klasse 10 oder schneller) (Seite 53).
- Mit der Software PlayMemories Home können keine Discs von Filmen erstellt werden, die bei Einstellung von [Dateiformat] auf [XAVC S] oder [MP4] aufgenommen wurden.
Aufnahmeeinstlg
Je höher die Bitrate ist, desto höher ist die Bildqualität.
Taste MENU → 📄 (Kamera- einstlg.) → [☐ Aufnahmeeinstlg] → Wählen Sie den gewünschten Modus aus.
Bei Einstellung von [Dateiformat] auf [XAVC S]
| Aufnahmeeinstlg | Bitrate Beschreibung | |
| 60p 50M50p 50M | Ca. 50 Mbps(durchschn.) | Filme werden in hoher Bildqualität mit 1920 × 1080 (60p/50p) aufgenommen. |
| 30p 50M25p 50M | Ca. 50 Mbps(durchschn.) | Filme werden in hoher Bildqualität mit 1920 × 1080 (30p/25p) aufgenommen. |
| 24p 50M* Ca. 50 | Mbps(durchschn.) | Filme werden in hoher Bildqualität mit 1920 × 1080 (24p) aufgenommen. Damit wird eine kinoartige Atmosphäre erzeugt. |
* Nur für 1080 60i-kompatible Modelle.
Bei Einstellung von [Dateiformat] auf [AVCHD]
| Aufnahmeeinstlg | Bitrate Beschreibung | |
| 60i 24M(FX)50i 24M(FX) | Ca. 24 Mbps(max.) | Filme werden in hoher Bildqualität mit 1920 × 1080 (60i/50i) aufgenommen. |
| 60i 17M(FH)50i 17M(FH) | Ca. 17 Mbps(durchschn.) | Filme werden in Standard-Bildqualität mit 1920 × 1080 (60i/50i) aufgenommen. |
| 60p 28M(PS)50p 28M(PS) | Ca. 28 Mbps(max.) | Filme werden in höchster Bildqualität mit 1920 × 1080 (60p/50p) aufgenommen. |
| 24p 24M(FX)25p 24M(FX) | Ca. 24 Mbps(max.) | Filme werden in hoher Bildqualität mit 1920 × 1080 (24p/25p) aufgenommen. Damit wird eine kinoartige Atmosphäre erzeugt. |
| 24p 17M(FH)25p 17M(FH) | Ca. 17 Mbps(durchschn.) | Filme werden in Standard-Bildqualität mit 1920 × 1080 (24p/25p) aufgenommen. Damit wird eine kinoartige Atmosphäre erzeugt. |
Bei Einstellung von [Dateiformat] auf [MP4]
| Aufnahmeeinstlg | Bitrate Beschreibung | |
| 1440×1080 12M | Ca. 12 Mbps(durchschn.) | Filme werden mit 1440 × 1080 aufgenommen. |
| VGA 3M Ca. 3 Mbps(durchschn.) | Filme werden im VGA-Format aufgenommen. | |
Hinweise
- Filme, die mit der Einstellung [60p 28M(PS)]/[50p 28M(PS)]/[60i 24M(FX)]/[50i 24M(FX)]/[24p 24M(FX)]/[25p 24M(FX)] in [Aufnahmeeinstlg] aufgenommen wurden, werden von PlayMemories Home umgewandelt, um eine AVCHD-Aufnahmedisc zu erstellen. Diese Umwandlung kann lange dauern. Außerdem können Sie keine Disc in der ursprünglichen Bildqualität erstellen. Wenn Sie die ursprüngliche Bildqualität beibehalten wollen, speichern Sie Ihre Filme auf einer Blu-ray-Disc.
- Um 24p/25p-Filme auf einem Fernsehgerät wiederzugeben, muss das Fernsehgerät mit den Formaten 24p/25p kompatibel sein. Falls das Fernsehgerät nicht mit dem Format 24p/25p kompatibel ist, werden 24p/25p-Filme als 60i/50i-Filme ausgegeben.
- Sie können Bilder im Super 35-mm-Format aufnehmen, wenn Sie [APS-C Größ. erfass.] auf [Ein] einstellen (Seite 40).
Anpassen der Bildqualität (Fotoprofil)
Bei Filmaufnahme können Sie die Einstellungen, wie z. B. Farbe und Farbton, ändern.
Bildqualitätseinstellungen für unterschiedliche Aufnahmebedingungen sind als Standard-Filmeinstellungen in [PP1] bis [PP7] gespeichert worden.
Taste MENU → 📄 (Kamera- einstlg.) → [Fotoprofil] → Wählen Sie die gewünschte Einstellung aus.
Einzelheiten zu [Fotoprofil] finden Sie unter „Hilfe“ (Seite 2).
Einstellen des Timecodes (TC/UB-Einstlg.)
Die Kamera zeichnet Filme zusammen mit Zeitdaten, wie z. B. Timecode und User Bit, auf.
Taste MENU → 📁 (Einstellung) → [TC/UB-Einstlg.] → Wählen Sie die gewünschte Einstellung aus.
Einzelheiten zu [TC/UB-Einstlg.] finden Sie unter „Hilfe“ (Seite 2).
Audio-Einstellungen für Filmaufnahme
Zusätzlich zu Filmeinstellungen in HD-Qualität können die folgenden Posten eingestellt werden: [Tonaufnahmepegel], [Tonpegelanzeige] und [Tonausgabe-Timing].

①Stellen Sie den Moduswahlknopf auf (Film).
②Buchse ⚙ (Kopfhörer) - Wenn Sie einen Kopfhörer benutzen, können Sie die Echokompensation mit [Tonausgabe-Timing] einstellen.
③ Taste MENU → (Kamera-einstlg.) → [Tonaufnahmepegel]

text_image
16 - + Zurücksetzen -00 -3 mHz 00- Sie können den Tonaufnahmepegel durch Überwachen des Pegelmessers einstellen.
④ Taste MENU → ⚙ (Benutzer-einstlg.) → [Tonpegelanzeige]

text_image
01 02[Tonpegelanzeige]
- Sie können den Audiopegel auf dem Bildschirm anzeigen, indem Sie [Ein] im Menü wählen.
⑤Drücken Sie die Taste MOVIE, um die Aufnahme zu starten oder zu stoppen.
Wiedergabefunktionen
Die folgenden praktischen Funktionen für Wiedergabe sind verfügbar:

text_image
A B C DA Vergrößert oder verkleinert Bilder.
- Drehen Sie das Einstellrad, um ein Bild zu vergrößern oder zu verkleinern. Drehen Sie das vordere oder hintere Drehrad, um auf das nächste/vorherige Bild umzuschalten.
B Bildindex-Ansicht
- Sie können die Anzahl der anzuzeigenden Bilder auswählen: Taste MENU →
(Wiedergabe) → [Bildindex]

Cöscht unnötige Bilder.
D Schaltet auf den Wiedergabebildschirm um.
DE
Verwendung der Wi-Fi- und NFC-One-touch functions
Die Wi-Fi- und NFC-One-touch functions der Kamera ermöglichen die Durchführung der folgenden Vorgänge.
Speichern von Bildern auf einem Computer.

Verwendung des Smartphones als Fernbedienung für die Kamera.
Übertragen von Bildern von der Kamera zu einem Smartphone.

Wiedergeben von Standbildern auf einem Fernsehgerät.

Einzelheiten zu den Wi-Fi- und NFC-One-touch functions entnehmen Sie bitte dem beigefügten Dokument „Wi-Fi Connection/One-touch (NFC) Guide“ oder dem „Hilfe“ (Seite 2).
Verbinden der Kamera mit einem drahtlosen Zugangspunkt
Verbinden Sie die Kamera mit Ihrem drahtlosen Zugangspunkt. Bevor Sie mit dem Vorgang beginnen, vergewissern Sie sich, dass Sie die SSID (Name des Zugangspunkts) und das Passwort Ihres drahtlosen Zugriffspunkts bei sich haben.
1 Taste MENU → 📞 (Drahtlos) → [Zugriffspkt.-Einstlg.]
2 Drücken Sie ▲/▼ am Einstellrad, um den Zugangspunkt, mit dem Sie eine Verbindung herstellen wollen, auszuwählen. Drücken Sie ● in der Mitte des Einstellrads, geben Sie das Passwort ein, falls ein Schlüsselsymbol mit einem drahtlosen Zugangspunkt angezeigt wird, und wählen Sie dann [OK].

flowchart
graph LR
A["User Interface"] --> B{Signal Transmission}
B --> C["Lock Status"]
C --> D["Device Interface"]
DE
Hinweise
- Falls keine Verbindung hergestellt wird, schlagen Sie in der Gebrauchsanleitung des drahtlosen Zugangspunkts nach, oder wenden Sie sich an den Administrator des Zugangspunkts.
- Um Bilder auf einem Computer zu speichern, installieren Sie die folgende dedizierte Software auf Ihrem Computer.
Bei Verwendung von Windows: PlayMemories Home
http://www.sony.net/pm/
Bei Verwendung von Mac: Drahtlos-Importautomatik
Hinzufügen von Applikationen zur Kamera (Applikations-Download)
Sie können die gewünschten Funktionen zu Ihrer Kamera hinzufügen, indem Sie über das Internet eine Verbindung mit der Applikations-Download-Website (PlayMemories Camera Apps) herstellen. Die folgenden Funktionen sind z. B. verfügbar:
- Sie können verschiedene Effekte zum Aufnehmen von Bildern benutzen.
- Sie können Bilder direkt von der Kamera zu Netzwerkdensten hochladen.
Herunterladen von Applikationen
1 Rufen Sie die Applikations-Download-Website auf.
http://www.sony.net/pmca/
2 Folgen Sie den Anweisungen auf dem Bildschirm, und erstellen Sie ein Dienstkonto.
- Wenn Sie bereits ein Dienstkonto haben, melden Sie sich auf der Applikations-Download-Website an.
3 Wählen Sie die gewünschte Applikation aus, und laden Sie die Applikation gemäß den Anweisungen auf dem Bildschirm zur Kamera herunter.

text_image
① An einen USB-Anschluss des Computers ② Micro-USB-Kabel (mitgeliefert) ③ Multi/Micro-USB-BuchseHinweise
- Die Applikations-Download-Funktion ist in manchen Ländern und Regionen eventuell nicht verfügbar. Einzelheiten entnehmen Sie der obigen Applikations-Download-Website.
Direktes Herunterladen von Applikationen mit der Wi-Fi-Funktion der Kamera
Mithilfe der Wi-Fi-Funktion können Sie Applikationen ohne Anschluss an einen Computer herunterladen.
Wählen Sie die Taste MENU → 📄 (Applikation) → [Applikationsliste] → (PlayMemories Camera Apps), und folgen Sie dann den
Anweisungen auf dem Bildschirm, um Applikationen herunterzuladen. Erstellen Sie vorher ein Dienstkonto.
Wählen Sie Taste MENU → 📞 (Drahtlos) → [Zugriffspkt.-Einstlg.] → zu verbindender Zugangspunkt → Ändern Sie den Posten [IP-
Adresseneinstlg] zu [Auto], falls er auf [Manuell] eingestellt ist.
DE
Starten der Applikation
1 Taste MENU → 📄 (Applikation) → [Applikationsliste] → Wählen Sie die zu startende gewünschte Applikation aus.
- Mithilfe des Menüs [One-Touch(NFC)] können Sie NFC-One-touch functions installieren und die Applikationen aufrufen, indem Sie einfach das Zeichen an der Kamera mit dem Smartphone berühren. Bevor Sie die NFC-One-touch functions benutzen, richten Sie die Applikationen, die Sie aufrufen möchten, nach dem folgenden Verfahren ein:
- Taste MENU → 📋 (Drahtlos) → [One-Touch(NFC)] → gewünschte Applikation
- Nachdem der Aufnahmebildschirm an der Kamera aufgerufen worden ist, halten Sie das Smartphone an die Kamera.
- In der Standardeinstellung ist „Smart Remote eingebettet“ der Funktion [One-Touch(NFC)] zugewiesen.
Verwenden der Software
Benutzen Sie die folgenden Applikationen, um den Gebrauch der mit Ihrer Kamera aufgenommenen Bilder zu optimieren.
• Image Data Converter
- PlayMemories Home
- Remote Camera Control
Einzelheiten zur Installation finden Sie auf den Seiten 83 bis 86.
Systemanforderungen
Sie finden die Systemanforderungen für die Software unter der folgenden URL:
http://www.sony.net/pcenv/

Verwendung von Image Data Converter
Mit Image Data Converter ist Folgendes möglich:
- Sie können im RAW-Format aufgenommene Bilder mit verschiedenen Korrekturen, wie z. B. Farbtonkurve und Konturenschärfe, wiedergeben und bearbeiten.
- Sie können Bilder mit Weißabgleich, Belichtung und [Kreativmodus] usw. anpassen.
- Sie können die auf einem Computer angezeigten und bearbeiteten Bilder speichern.
Sie können das Bild entweder im RAW-Format oder in einem allgemeinen Dateiformat speichern.
- Sie können die mit dieser Kamera aufgenommenen RAW-Bilder und JPEG-Bilder anzeigen und vergleichen.
- Sie können Bilder in 5 Güteklassen einordnen.
- Sie können Farbetiketten anbringen.
DE
Angaben zur Benutzung von Image Data Converter finden Sie in der Hilfe. Klicken Sie auf [Start] → [Alle Programme] → [Image Data Converter] → [Hilfe] → [Image Data Converter Ver.4].
Image Data Converter Support-Seite (nur Englisch)
1 Laden Sie die Software von der folgenden URL herunter, und installieren Sie sie auf Ihrem Computer.
Windows:
http://www.sony.co.jp/imsoft/Win/
Mac:
- Melden Sie sich als Administrator an.
Verwendung von PlayMemories Home
Die Software PlayMemories Home ermöglicht es Ihnen, Standbilder und Filme zu Ihrem Computer zu importieren und zu benutzen. PlayMemories Home wird benötigt, um XAVC S- oder AVCHD-Filme zu Ihrem Computer zu importierten.

Importieren von Bildern von Ihrer Kamera

Wiedergeben von importierten Bildern

Für Windows sind die folgenden Funktionen ebenfalls verfügbar:

Betrachten von Bildern auf einem Kalender

Erstellen
von
Filmdiscs

YouTube
Hochladen von Bildern zu Netzwerkdiensten
Austauschen von Bildern auf PlayMemories Online™

PlayMemories Online


- Sie können Image Data Converter oder Remote Camera Control usw. nach dem folgenden Verfahren herunterladen:
Schließen Sie die Kamera an Ihren Computer an → Starten Sie PlayMemories Home → Klicken Sie auf [Benachrichtigungen].
Hinweise
- Zur Installation von PlayMemories Home wird eine Internet-Verbindung benötigt.
- Zur Benutzung von PlayMemories Home oder anderer Netzwerkdienste wird eine Internet-Verbindung benötigt. PlayMemories Home oder andere Netzwerkdienste sind in manchen Ländern oder Regionen eventuell nicht verfügbar.
- Besuchen Sie für Mac-Software die folgende URL: http://www.sony.co.jp/imsoft/Mac/
- Falls die Software PMB (Picture Motion Browser), die mit älteren Modellen vor 2011 geliefert wurde, bereits auf Ihrem Computer installiert ist, wird sie bei der Installation von PlayMemories Home überschrieben. Verwenden Sie PlayMemories Home, die Nachfolger-Software von PMB.
- Filme, die mit der Einstellung [60p 28M(PS)]/[50p 28M(PS)], [60i 24M(FX)]/[50i 24M(FX)] oder [24p 24M(FX)]/[25p 24M(FX)] in [Aufnahmeeinstlg] aufgenommen wurden, werden von PlayMemories Home umgewandelt, um eine AVCHD-Aufnahmedisc zu erstellen. Diese Umwandlung kann lange dauern. Außerdem kann keine Disc mit der Originalbildqualität erstellt werden. Wenn Sie die ursprüngliche Bildqualität beibehalten wollen, speichern Sie Ihre Filme auf einer Blu-ray-Disc.
DE
Installieren von PlayMemories Home
1 Rufen Sie mit dem Internet-Browser auf Ihrem Computer den folgenden URL auf, und klicken Sie dann auf [Installieren] → [Ausführen].
http://www.sony.net/pm/
2 Befolgen Sie die Anweisungen auf dem Bildschirm, um die Installation durchzuführen.
Verwendung von Remote Camera Control
Verbinden Sie die Kamera mit Ihrem Computer. Mit Remote Camera Control ist Folgendes möglich:
- Sie können die Kamera vom Computer aus einrichten oder zur Bildaufnahme auslösen.
- Sie können ein Bild direkt auf dem Computer aufzeichnen.
- Sie können Intervall-Timer-Aufnahmen durchführen.
Richten Sie vor Gebrauch die folgenden Posten ein: Taste MENU →

(Einstellung) → [USB-Verbindung] → [PC-Fernbedienung]
Installieren von Remote Camera Control
1 Rufen Sie mit dem Internet-Browser auf Ihrem Computer die folgende URL auf.
Windows:
http://www.sony.co.jp/imsoft/Win/
Mac:
2 Folgen Sie den Anweisungen auf dem Bildschirm, um Remote Camera Control herunterzuladen und zu installieren.
Hinweise
- Zur Installation von Remote Camera Control wird eine Internet-Verbindung benötigt.
Überprüfen der Standbildzahlen und Filmaufnahmezeiten
Wenn Sie eine Speicherkarte in die Kamera einsetzen und den Ein-Aus-Schalter auf ON stellen, wird die Anzahl der speicherbaren Bilder (bei Fortsetzung der Aufnahme mit den aktuellen Einstellungen) auf dem Monitor angezeigt


Hinweise
- Wenn „0“ (die Anzahl der aufnehmbaren Bilder) gelb blinkt, ist die Speicherkarte voll. Ersetzen Sie die Speicherkarte durch eine andere, oder löschen Sie Bilder auf der gegenwärtigen Speicherkarte (Seiten 42, 68).
- Wenn „NO CARD“ (die Anzahl der aufnehmbaren Bilder) gelb blinkt, bedeutet dies, dass keine Speicherkarte eingesetzt worden ist. Setzen Sie eine Speicherkarte ein.
DE
Anzahl der auf einer Speicherkarte speicherbaren Bilder
Die nachstehende Tabelle gibt die ungefähre Anzahl von Bildern an, die auf einer mit dieser Kamera formatierten Speicherkarte aufgenommen werden kann. Die Werte wurden unter Verwendung von Sony-Standardspeicherkarten für Prüfzwecke bestimmt. Die Werte können je nach den Aufnahmebedingungen und der Art der verwendeten Speicherkarte unterschiedlich sein.
Bildgröße: L: 24M
Seitenverhält.: 3:2*
Mit dieser Kamera formatierte Speicherkarte (Einheiten: Bilder)
| Größe\Kapazität | 2 GB | 4 GB | 8 GB | 16 GB | 32 GB | 64 GB |
| Standard 280 560 1 | 100 2250 4 | 600 9200 | ||||
| Fein 195 395 800 1 | 600 3200 6 | 400 | ||||
| Extrafein 105 215 4 | 35 870 17 | 0 3450 | ||||
| RAW & JPEG 54 1 | 05 215 435 | 870 1750 | ||||
| RAW | 74 145 | 295 600 1 | 200 2400 |
* Wenn [Seitenverhält.] auf [16:9] eingestellt ist, können Sie mehr Bilder als die in der obigen Tabelle angegebene Anzahl aufnehmen (außer bei Wahl von [RAW]).
Anzahl der mit einem einzelnen Akku aufnehmbaren Bilder
Beachten Sie, dass die tatsächlichen Werte je nach den Benutzungsbedingungen abweichen können.
| Akku-Nutzungsdauer | Anzahl von Bildern | ||
| Aufnahme(Standbilder) | Bildschirm — Ca. 350 Bilder | ||
| Sucher — Ca. 270 Bilder | |||
| Tatsächliche Aufnahme (Filme) | Bildschirm Ca. 65 Min. — | ||
| Sucher Ca. 60 Min. — | |||
| Daueraufnahme (Filme) | Bildschirm Ca. 100 Min. — | ||
| Sucher Ca. 100 Min. — | |||
| Wiedergabe (Standbilder) Ca. 280 Min. | Ca. 5600 Bilder | ||
Hinweise
- Die obige Bilderzahl gilt für den voll aufgeladenen Akku. Die Bilderzahl kann je nach den Benutzungsbedingungen abnehmen.
• Die Anzahl der aufnehmbaren Bilder gilt für Aufnahme unter den folgenden Bedingungen:
– Der Akku wird bei einer Umgebungstemperatur von 25°C benutzt.
- Verwenden des Objektivs FE 28-70 mm F3.5-5.6 OSS
– Mit einem Sony Memory Stick PRO Duo (Mark2) (getrennt erhältlich)
– [Sucherhelligkeit] ist auf [Manuell] [±0] eingestellt.
- [Monitor-Helligkeit] ist auf [Manuell] [± 0] eingestellt.
– [Anzeigequalität] ist auf [Standard] eingestellt.
- Die Zahl für „Aufnahme (Standbilder)“ basiert auf dem CIPA-Standard und gilt für Aufnahme unter den folgenden Bedingungen:
- DISP ist auf [Alle Infos anz.] eingestellt.
– [Fokusmodus] ist auf [AF-S] eingestellt.
– Eine Aufnahme alle 30 Sekunden.
– Die Kamera wird nach jeweils zehn Benutzungen ein- und ausgeschaltet.
• Die Minutenzahlen für Filmaufnahme basieren auf dem CIPA-Standard und gelten für Aufnahme unter den folgenden Bedingungen:
- [Aufnahmeeinstlg] ist auf [60i 17M(FH)]/[50i 17M(FH)] eingestellt.
- Typische Filmaufnahme: Akku-Nutzungsdauer basierend auf wiederholter Durchführung von Aufnahme, Zoomen, Aufnahmebereitschaft, Ein-/Ausschalten usw.
- Kontinuierliche Filmaufnahme: Akku-Nutzungsdauer basierend auf ununterbrochener Aufnahme bis zum Erreichen der Obergrenze (29 Minuten), und dann durch erneutes Drücken der Taste MOVIE fortgesetzter Aufnahme. Andere Funktionen, wie z. B. Zoomen, werden nicht ausgeführt.
Verfügbare Aufnahmezeit für einen Film
Die nachstehende Tabelle zeigt die ungefähren Gesamtaufnahmezeiten bei Verwendung einer mit dieser Kamera formatierten Speicherkarte. Die Aufnahmezeit für XAVC S- und AVCHD-Filme entspricht der Aufnahmezeit bei Einstellung von [Dual-Video-AUFN] auf [Aus].
Mit dieser Kamera formatierte Speicherkarte (h (Stunden), m (Minuten))
| KapazitätAufnahmeeinstlg | 2 GB | 4 GB | 8 GB | 16 GB | 32 GB | 64 GB |
| 60p 50M/50p 50M — — | — — — | 2 h 35 m | ||||
| 30p 50M/25p 50M — — | — — — | 2 h 35 m | ||||
| 24p 50M* — — — — — | 2 h 35 m | |||||
| 60i 24M(FX)/50i 24M(FX) | 10 m 20 | m 40 m 1 | h 30 m 3 | h 6 h | ||
| 60i 17M(FH)/50i 17M(FH) | 10 m 30 | m 1 | h 2 h 4 h | 5 m 8 h | 15 m | |
| 60p 28M(PS)/50p 28M(PS) | 9 m | 15 m 35 | m 1 h 15 | m 2 h 30 | m 5 h 5 m | |
| 24p 24M(FX)/25p 24M(FX) | 10 m 20 | m 40 m 1 | h 30 m 3 | h 6 h | ||
| 24p 17M(FH)/25p 17M(FH) | 10 m 30 | m 1 | h 2 h | 4 h 8 h | ||
| 1440×1080 12M | 20 m | 40 m | 1 h 20 m | 2 h 45 m | 5 h 30 m | 11 h |
| VGA 3M | 1 h 10 m | 2 h 25 m | 4 h 55 m | 10 h | 20 h | 40 h |
* Nur für 1080 60i-kompatible Modelle.
- Daueraufnahme ist für ungefähr 29 Minuten (eine Produktspezifikationsgrenze) möglich.
Hinweise
- Die verfügbare Filmaufnahmezeit ist unterschiedlich, weil die Kamera mit VBR (Variable Bit Rate) aufnimmt. Bei diesem Verfahren wird die Bildqualität abhängig von der Aufnahmeszene automatisch justiert. Wenn Sie schnell bewegte Motive aufnehmen, ist das Bild klarer, aber die verfügbare Aufnahmezeit wird kürzer, weil für die Aufnahme mehr Speicherplatz erforderlich ist.
Die Aufnahmezeit hängt ebenfalls von den Aufnahmebedingungen, dem Motiv oder der Einstellung von Bildqualität/Bildgröße ab.
• Die angegebenen Werte gelten nicht für Daueraufnahme.
- Die verfügbare Aufnahmezeit hängt von den Aufnahmebedingungen und der verwendeten Speicherkarte ab.
- Einzelheiten zur Filmwiedergabe finden Sie auf Seite 66.
Hinweise zu fortlaufender Filmaufnahme
- Die Durchführung von Filmaufnahmen in hoher Qualität oder Serienaufnahmen mit dem Bildsensor fordert einen hohen Strombedarf. Daher steigt bei fortgesetzter Aufnahme die Innentemperatur der Kamera, besonders die des Bildsensors. In solchen Fällen schaltet sich die Kamera automatisch aus, da höhere Temperaturen die Qualität der Bilder beeinträchtigen oder den internen Mechanismus der Kamera schädigen.
- Die für Filmaufnahme verfügbare Zeitdauer ist wie folgt, wenn die Kamera mit der Aufnahme beginnt, nachdem sie eine Zeitlang ausgeschaltet war. (Die folgenden Werte geben die ununterbrochene Zeit vom Aufnahmestart bis zum Aufnahmestopp an.)
| Umgebungstemperatur Daueraufnahmezeit für Filme | |
| 20 °C Etwa 29 Minuten | |
| 30 °C Etwa 29 Minuten | |
| 40 °C Etwa 29 Minuten |
- Die für Filmaufnahmen verfügbare Zeit hängt von der Temperatur oder dem Zustand der Kamera vor dem Aufnahmestart ab. Wenn Sie nach dem Einschalten der Kamera den Bildausschnitt häufig ändern oder viele Bilder aufnehmen, steigt die Innentemperatur der Kamera, so dass die verfügbare Aufnahmezeit verkürzt wird.
- Wenn [17] angezeigt wird, brechen Sie die Filmaufnahme ab. Die Innentemperatur der Kamera ist auf ein nicht akzeptables Niveau gestiegen.
-
Falls die Kamera die Aufnahme wegen hoher Temperatur abbricht, lassen Sie die Kamera mehrere Minuten ausgeschaltet liegen. Setzen Sie die Aufnahme fort, nachdem die Innentemperatur der Kamera vollkommen gesunken ist.
-
Durch Beachten der folgenden Punkte können Sie die Aufnahmezeit verlängern.
– Halten Sie die Kamera von direktem Sonnenlicht fern.
– Schalten Sie die Kamera aus, wenn sie nicht benutzt wird.
• Die maximale kontinuierliche Aufnahmezeit beträgt 29 Minuten.
• Die maximale Größe einer Filmdatei beträgt etwa 2 GB, wenn [Dateiformat] auf [AVCHD] eingestellt wird. Wenn die Dateigröße etwa 2 GB erreicht, wird eine neue Filmdatei automatisch erzeugt.
DE
Technische Daten
Kamera
[System]
Kameratyp: Digitalkamera mit Wechselobjektiv
Objektiv: Sony E-Bajonett-Objektiv
[Bildsensor]
Bildformat:
35-mm-Vollformat (35,8 mm ×
23,9 mm), CMOS-Bildsensor
Effektive Pixelzahl der Kamera:
Ca. 24 300 000 Pixel
Gesamtpixelzahl der Kamera:
Ca. 24 700 000 Pixel
[SteadyShot]
System: Bildstabilisierung mit
Sensorverschiebung in der
Kamera
[Staubschutz]
System: Antistatikschicht auf
Bildsensor und Bildsensor-
Verschiebungsmechanismus
[Autofokussystem]
System: Phasenerkennungssystem/
Kontrasterkennungssystem
Empfindlichkeitsbereich: -1 EV bis
+20 EV (bei ISO 100-
Entsprechung mit F2,0-Objektiv)
AF-Hilfslicht: Ca. 0,3 m bis 3 m (Bei
Verwendung eines FE 28-70 mm
F3.5-5.6 OSS-Objektivs)
[Elektronischer Sucher]
Typ: Elektronischer Sucher
Gesamtzahl der Bildpunkte:
2 359 296 Punkte
Sucherbildabdeckung: 100%
Vergrößerung: Ca. 0,71× mit 50-mm-
Objektiv bei unendlich, -1 m^-1
Augenabstand: Ca. 27 mm vom
Okular, 22 mm vom Okularbild
bei -1m^-1 (mit CIPA-Standard
konform)
Dioptrien-Einstellung: -4,0m^-1 bis
+3,0 m ^-1
[Monitor]
LCD-Monitor: 7,5 cm (Typ 3,0)
TFT-Ansteuerung
Gesamtzahl der Bildpunkte:
1 228 800 (640 × 4 (RGBW)
× 480) Punkte
[Belichtungssteuerung]
Messbereich: -1 EV bis +20 EV (bei
ISO 100-Entsprechung mit F2,0- Objektiv)
ISO-Empfindlichkeit (Empfohlener Belichtungsindex):
Standbilder: ISO 100 bis 25 600
(Extended ISO 50), [ISO AUTO]
(ISO 100 bis 6 400, Maximum/Minimum kann eingestellt werden.)
Filme: entspricht ISO 200 bis 25 600, [ISO AUTO]
(Entsprechung von ISO 200 bis 6 400, Maximum/Minimum kann eingestellt werden.)
Mehrbild-Rauschminderung: [ISO AUTO]/ISO 100 bis 51 200 (1-EV-Schritte)
Belichtungskorrektur: ±5,0 EV (umschaltbar zwischen 1/3-EV und 1/2-EV-Schritten)
Bei Verwendung des Belichtungskorrekturknopfes: ±3,0 EV (1/3-EV-Schritte)
[Verschluss]
Typ: Elektronisch gesteuerter Vertikal-Schlitzverschluss
Verschlusszeitbereich: Standbilder: 1/8 000 Sekunde bis 30 Sekunden, BULB
Filme: 1/8 000 Sekunde bis 1/4 Sekunde (1/3-EV-Schritte)
- 1080 60i-kompatibles Gerät bis zu 1/60 Sekunde im Modus AUTO (bis zu 1/30 Sekunde im automatischen Langverschlusszeitmodus)
- 1080 50i-kompatibles Gerät bis zu 1/50 Sekunde im Modus AUTO (bis zu 1/25 Sekunde im automatischen Langverschlusszeitmodus)
Blitzsynchronzeit: 1/250 Sekunde
[Serienaufnahme]
Serienaufnahmegeschwindigkeit:
Hi : Maximal 5 Bilder pro Sekunde/Maximal 2,5 Bilder pro Sekunde
- Basierend auf unseren Messbedingungen. Die Serienaufnahmegeschwindigkeit kann je nach den Aufnahmebedingungen niedriger sein.
Anzahl von Serienaufnahmen:
Hi : Extra feine 50 Bilder/
Lo: Extra feine 69 Bilder
[Aufnahmeformat]
Dateiformat: JPEG (DCF Ver. 2.0, Exif Ver. 2.3, MPF Baseline)-konform, RAW (Sony ARW 2.3-Format)
Film (XAVC S-Format): Mit dem Format MPEG-4 AVC/H.264 XAVC S Ver. 1.0 konform Video: MPEG-4 AVC/H.264 Audio: LPCM 2ch (48 kHz 16 Bit)
Film (AVCHD-Format): Mit dem Format AVCHD Ver. 2.0 kompatibel
Video: MPEG-4 AVC/H.264
Audio: Dolby Digital 2ch, Ausstattung mit Dolby Digital Stereo Creator
- Hergestellt unter Lizenz von Dolby Laboratories.
Film (MP4-Format): Video: MPEG-4 AVC/H.264 Audio: MPEG-4 AAC-LC 2ch
[Speichermedium]
Memory Stick PRO Duo, SD-Karte
[Eingänge/Ausgänge]
Multi/Micro-USB-Buchse*: Hi-Speed USB (USB 2.0)
HDMI: Micro-HDMI-Buchse Typ D
Buchse ⚙ (Mikrofon): 3,5-mm-Stereo-Minibuchse
Buchse ⚡ (Kopfhörer): 3,5-mm-Stereo-Minibuchse
* Unterstützt Micro-USB-kompatible Geräte.
[Stromversorgung, Allgemeines]
Akku: Akku NP-FW50
[Leistungsaufnahme (während der Aufnahme)]
Bei Verwendung eines Objektivs FE 28-70 mm F3.5-5.6 OSS*
Bei Verwendung des Suchers:
Ca. 3,5 W
Bei Verwendung des Monitors:
Ca. 2,6 W
* Geliefert mit ILCE-7M2K.
[Sonstiges]
Exif Print: Kompatibel
DPOF: Kompatibel
PRINT Image Matching III: Kompatibel
Abmessungen: 126,9 mm × 95,7 mm × 59,7 mm (B/H/T, ohne Vorsprünge)
Gewicht:
Ca. 599 g (mit Akku und Memory Stick PRO Duo)
Ca. 556 g (nur Gehäuse)
Betriebstemperatur: 0 °C bis 40 °C
[Drahtloses LAN]
Unterstütztes Format: IEEE 802.11 b/g/n
Frequenzband: 2,4 GHz Bandbreite
Sicherheit: WEP/WPA-PSK/WPA2-PSK
Zugangsmethode: Infrastruktur-Modus
NFC: NFC Forum Type 3 Tag-konform
Model No. WW328278
Netzteil AC-UD10/AC-UUD11
Spannungsversorgung: 100 V bis 240 V Wechselstrom, 50 Hz/60 Hz, 70 mA
Ausgangsspannung: 5 V Gleichstrom, 1,5 A
Akku NP-FW50
Batterietyp: Lithium-Ionen-Akku
Maximale Spannung: 8,4 V Gleichstrom
Nennspannung: 7,2 V Gleichstrom
Maximale Ladespannung: 8,4 V Gleichstrom
Maximaler Ladestrom: 1,02 A
Kapazität: Typisch 7,7 Wh (1 080 mAh)
Minimal: 7,3 Wh (1 020 mAh)
Objektiv FE 28-70 mm F3.5-5.6 OSS (mit ILCE-7M2K geliefert)
Brennweite: 28 mm – 70 mm
Linsengruppen-Elemente: 8–9
Blickwinkel: 75^-34^
Minimale Fokussierweite ^* : 0,3 m – 0,45 m
Maximale Vergrößerung: 0,19×
Minimaler Blendenwert: f/22 - f/36
Filterdurchmesser: 55 mm
Abmessungen (max. Durchmesser × Höhe): Ca. 72,5 mm × 83 mm
Gewicht: Ca. 295 g
SteadyShot: Verfügbar
* Die Naheinstellgrenze ist der kürzeste Abstand zwischen Bildsensor und Motiv.
Änderungen von Design und technischen Daten vorbehalten.
SInfo zur Bilddatenkompatibilität
- Diese Kamera entspricht dem von JEITA (Japan Electronics and Information Technology Industries Association) aufgestellten Universalstandard DCF (Design rule for Camera File system).
- Werden mit dieser Kamera aufgenommene Bilder auf Fremdgeräten bzw. mit Fremdgeräten aufgenommene oder bearbeitete Bilder auf dieser Kamera wiedergegeben, kann eine einwandfreie Wiedergabe nicht garantiert werden.
Markenzeichen
- Memory Stick und sind Markenzeichen oder eingetragene Markenzeichen der Sony Corporation.
- XAVC S und XAVC S eingetragene Markenzeichen der Sony Corporation.
- „AVCHD Progressive“ und das „AVCHD Progressive“-Logo sind Markenzeichen von Panasonic Corporation und Sony Corporation.
- Dolby und das Doppel-D-Symbol sind Markenzeichen von Dolby Laboratories.
• Die Begriffe HDMI und HDMI High-Definition Multimedia Interface sowie das HDMI-Logo sind Markenzeichen oder eingetragene Markenzeichen von HDMI Licensing LLC in den Vereinigten Staaten und anderen Ländern.
- Windows ist ein eingetragenes Markenzeichen der Microsoft Corporation in den Vereinigten Staaten und/oder anderen Ländern.
• Mac ist ein eingetragenes Markenzeichen von Apple Inc. in den Vereinigten Staaten und anderen Ländern.
- iOS ist ein eingetragenes Markenzeichen oder Markenzeichen von Cisco Systems, Inc.
- iPhone und iPad sind eingetragene Markenzeichen von Apple Inc. in den Vereinigten Staaten und anderen Ländern.
• Das SDXC-Logo ist ein Markenzeichen von SD-3C, LLC.
- Android und Google Play sind Markenzeichen der Google Inc.
- Wi-Fi, das Wi-Fi-Logo und Wi-Fi PROTECTED SET-UP sind eingetragene Markenzeichen der Wi-Fi Alliance.
- Das N-Zeichen ist ein Markenzeichen oder eingetragenes Markenzeichen von NFC Forum, Inc. in den Vereinigten Staaten und anderen Ländern.
• DLNA und DLNA CERTIFIED sind Markenzeichen der Digital Living Network Alliance. - Facebook und das „f“-Logo sind Markenzeichen oder eingetragene Markenzeichen von Facebook, Inc.
- YouTube und das YouTube-Logo sind Markenzeichen oder eingetragene Markenzeichen von Google Inc.
- Eye-Fi ist ein Markenzeichen von Eye-Fi, Inc.
- Außerdem sind die in dieser Anleitung verwendeten System- und Produktbezeichnungen im Allgemeinen Markenzeichen oder eingetragene Markenzeichen ihrer jeweiligen Entwickler oder Hersteller. Die Zeichen ^TM oder ^® werden jedoch nicht in allen Fällen in dieser Anleitung verwendet.








Zusätzliche Informationen zu diesem Produkt und Antworten zu häufig gestellten Fragen können Sie auf unserer Kundendienst-Website finden.
http://www.sony.net/
DE
Español
Montura E
16Geheugenkaartgleuf
Союза: Sony Deutschland GmbH,
Hedelfinger Strasse 61, 70327 Stuttgart,
Germany
CE
Objektivfrigöringsknapp
EinfachAnleitung
[ZWV7]
[BHKW]
[ZWYC]7500KA5 G5

[SCH7]
[OKT0]

[AOY5]+3 +3 +3
[WHYG][S4C4]
[W528] [TT73] 
[ZCH7]



[S378]

Unte






















