SPOUTNIK - Mikrohullámú sütők FAGOR - Ingyenes használati útmutató
Találja meg az eszköz kézikönyvét ingyenesen SPOUTNIK FAGOR PDF formátumban.
Felhasználói kérdések a következőről SPOUTNIK FAGOR
0 kérdés erről a készülékről. Válaszolj azokra, amiket ismersz, vagy tedd fel a sajátod.
Tegyél fel egy új kérdést erről a készülékről
Töltse le az útmutatót a következőhöz Mikrohullámú sütők PDF formátumban ingyenesen! Találja meg kézikönyvét SPOUTNIK - FAGOR és vegye vissza elektronikus eszközét a kezébe. Ezen az oldalon közzé van téve az eszköze használatához szükséges összes dokumentum. SPOUTNIK márka FAGOR.
HASZNÁLATI ÚTMUTATÓ SPOUTNIK FAGOR
17 / 23 literes digitális mikrohullámú sūtō Használatiutasítás
MWB-17EX/MWB-23EX
Olvassa el figyelmesen a hasznalati utasitast es orizze meg késobbi hasznalat esetere.

Energiafogyasztás: 220-240V~50Hz, 1.080 W
Névleges teljesítmény:700W
Muködési frekvencia:2,450MHz
Külső méretek: 592mm(Szelesség) x 350 mm(Mélység) x 390 mm (Magasság)
Sutő belső méreiei: 320mm(Szelesség) x 288 mm(Mélység) x 183 mm (Magasság)
Netto suly: Kb. 14,7 Kg
Energiafogyasztás: 220-240V~50Hz, 1.280 W
Névleges teljesítmény:800W
Muködési frekvencia:2,450MHz
Külső méretek: 592mm(Szelesség) x 400 mm(Mélység) x 390 mm (Magasság)
Sutő belső méreiei: 330mm(Szelesség) x 330 mm(Mélység) x 212 mm (Magasság)
Netto suly: Kb. 17,5 Kg
TEENDÖK, MIELOTT A SZAKSZERVIZHEZ FORDULNA
1.- Amennyiben a sutō nem muködik, a kijelzó fény nem jelenik meg, vagy eltünik:
a) Győződjön meg arról, hogy a sutő megfeleloen csatlakozik az elektromos halózatra. Amennyiben nem igy van, húzza ki a dugót, és 10 masodperc elteltével ismétCsatlakoztassa.
b) Ellenőrizz, hogy nem olvadt-e meg az áramkörben valamelyik biztosíték vagyalandt le a fóramkörben valamelyik megszakíto. Amennyiben úgy tünik, hogy jol mücködk,probabilitykiadugaljategymásik készülékkel.
2.- Amennyiben nem mukodik a mikrosutó áramköre:
a) Győzódjön meg arról, hogy az időzítő be van-e állitva.
b) Győződjön meg arról, hogy az ajtó megfeleloen záródk-e oly mádon, hogy aBiztonsági fulek összekapcsolódnak. Ellenkező esetben a mikrosütő energiaja nem a sütőbe áramlik.
HA NEM AZ ELOBBIEKBEN FELSOROLT ESETEK ALLNAK FENN, FORDULJON A KIJELÖLT MÁRKASZERVIZ MUNKATÁRSAHOZ.
Megjegyzes:
A keszülk háztartási használatra, ételek és italok felmelegítésé elektromágneses energia segütesgével, és kizárólag beltéri használatra keszüt.
RADIÔINTERFERENCIÁK
A mikrohullámú sūtō mūködése interferenciát okozhat rádioja, televíziója és hasonló készülékek mūködése közben. Amikor ezek az interferenciák bekövetkeznek, az alábbi mádon lehet elkerülni vagy csökkenteni hatásukat:
a.- Tisztftsa meg a suto ajtajat es az illesztesek feluletet.
b.- Helyezze a rádiót, televíziót, stb. a lehető legtávolabb a mikrosütóól.
c.- Használjon a rádiohoz, televízióhoz, stb. megfeleloen elhelyezett antennat az erösebb vétel érdekében.
BEÜZEMELÉS
1.-Ellenorizze, hogy a csomagolásból minded alkatrészt kivette-e.
2.- Nézze à t a sūtǒt a kicsomagolás után, ellenörizze a készülék épségét. A következő hibákat találhatja:
Nem csatlakoztatott ajtó.
Sérûlt ajtó.
Horpadások vagy lyukak az ajtó ablaküvegen és kijelzöjen.
Horpadások a sutő besejében.
Amennyiben a sérulések kozül valamelyik észlehlhető, NE HASZNÁLJA a sutőt.
3.- Ez a mikrohullámú sūtō 17,5 kg súlyú, és a súlyát elbíró vizszintes felületre kelli helyezni.
4.- A sutot magas homersekletu es gozt kibocsato feluletektol tavol kell elhelyezni.
5.- NE helyezzen semmit a sutō tetejérè.
6.- NE vegye ki a forgotányér forgatótengelyét.
7.- Mint minded elektramos keszülék esetében, gyermekekCsak felnött felügyele mellett használatják a keszüléket.
FIGYELMEZTETÉS - EZT A KÉSZÜLEKET CSAK FÖLDELT HÁLOZATON LEHET HASZNÁLNI
1.- A dugónak a halózati csatlakozóhoz közel kell elhelyezkednie.
2.- Ez a sutő 1.3 KVA -t elbíró dugaljat kíván. Javasoljuk, hogy a beszereléshez kérje a szakszerviz segütségét.
FIGYELMEZTETÉS: a sūtōt egy 10Amp, 250V-os beépītéttBiztositék védi.
FONTOS
A fovezetek szalai a kovetkező kód alapján megkülönboztethető szineket tartalmaznak.
Zöld és sárga: födelés
Kék: nulla
Barna: “fázis”
Amennyiben a fovezetek szinei nem feelnek meg a dugaljban levő, polusokat jelző szinjelzeseknek, a kovetkező modon kell eljární:
A zöld és sárga színű szalat össze kell kõtni a dugalj zöld és sárga színű kimenetének zöld színű, E jelzésű vagy a foldelés jelzésű kimenetével.
A kék szinú szalat az N jelzésú vagy fekete kimenethez kell csatlakoztatni.
A barna szinú szalat az L jelzésú vagy piros szinú kimenettel kell összekötni.
FONTOS BIZTONSÁGI ELOÍRÁSOK
-
FIGYELMEZTETÉS: Amennyiben az ajtó vagy az ajtó illesztései sérültek, ne használja a készüléket, amíg a szakserviz munkatársa meg nem javította.
-
FIGYELMEZTETÉS: A hozza nem értö személy szamára veszelyes oyan javítást vagy karbantartást vegezni, amely során el kell távolítani a készülék burkolatát, amely olv a mikrohullámú sūtō energiajától.
-
FIGYELMEZTETÉS: Nem lehet lezárt edényben melegiténi ételt vagy folyadékot, mivel ez robbanásveszéllyel jár.
-
FIGYELMEZTETÉS: A gyermekek nem használatják a mikrohullámú sūtōt felnött felügyelete nélkūl kíve, ha ismerik a használatra vonatkozó elöirásokat, beleertve a nem rendeltetesszeru használatból adódo veszélyeket, és ezáltal biztonságosan tudják használni a készüléket.
-
A sūtōnek megfelelo szellözsésre van szüksége. Tartson 10 cm-es távolságot az also résznél, 15 cm-es távolságot az oldalainál és 30 cm-es távolságot a felső részenél. Ne vegye le a sūtō lábait, és ne tömítse el a sūtō szellözonyilásait.
-
Csak mikrohullámú sutōben használtó edényeket használjon.
-
Amikor mu'anyag vagy papír alapú edenyben melegít ételt, vegye figyelembe a gyulladásveszélyt és ügyeljen a sütőre.
-
Amennyiben füstöt észlel, kapcsolja ki a készüléket, vagy húzza ki a dugó tés hagyjá zárva az ajtajat annak érdekében, hogy a keletkezett láng elaludjon.
-
Amikor italt melegít a mikrohullámú sütöben, az ital felforrhat a sutő kikapcsolóda sa után, ezér ügyeljen, amikor kiveszi az edényt.
-
A kancsó és a cumisüveg tartalmat fel kell rázni és ellenőrizni kell az ital hómr sékletét fogyasztás elött elkerülve az égési sérülseket.
-
Ne fózzön tojást héjában és ne melegítsen fött tojást, mivel ezek felrobbanhatnak, meg a mikrosütő kikapcsolóda sa után is.
- Az ajto, az ajto illesztéseinek és a sutő besejének tisztitásához használjon enyhe, nem suroló hatású szappant vagy mosószer és szivacsot vagy puha ruhát.
- A sütôt rendszeresen kell tiszṭitani és az etelmaradékokat el kell távolítani.
- A sūtō nem megfelelo higiéniai körulmények kozott tartasa a felületének károsodását okozza, ami a készülék elettartamát csökkenti és kockázatot okoz.
- Amennyiben a gezetőkábel sérült, kérje a cserét a gyártóól, általa kirendelt szakembertől vagy megfelelo képesítésel rendelkező szerelőtól a kockázat elkerülése érdekényen.
BIZTONSÁGI ELOÍRÁSOK ÁLTALÁNOS HASZNÁLATRA
A következőkbennéhány a készülék maximális teljesítényét garantáló normát ésutasítást sorolunk fel:
1.- A sūtō mūkōdése közben az üvegtányér, a forgo alap és a görgők legyenek a megfelelo helyen.
2.- Ne használja a sütôt az etelkésztístól eltérő celokra, mint például ruhaszárítás, papírszárítás vagy egyéb dolog, ami nem élelmiszer illetev nem használtó fertőtlenitésre.
3.- Ne muködtesse a sutôt üres állapotban, ezáltal sérülhet a sutó.
4.- Ne használja a sutő besejét tárgyak tárolására, mint például papírok, szakácskönyv, stb.
5.- Ne keszitsen oyan etelt, amely valamilyen hartyaval boritott, mint peldául tojassárgája, burgonya, csirkemaj, anelkül, hogy egy villával töbször megszúrná.
6.- Ne dugjon semmilyen tárgyat a sutō besejében levő resekbe.
7.- Ne vegyen le a sūtöról semmilyen alkatrészt, mint például a lábai, illesztések, csavarok, stb.
8.- Ne kozvetlenül az üvegtányéron keszítse el az etelt. Tegye az etelt egy megfelelo, fózésre alkalmas edénybe mielött a sütöbe helyezné.
9.- FONTOS - A MIKROHULLÁMÜ SUTÖBEN NEM HASZNÁLHATÖ EDÉNYEK
Ne használjon fémlábast vagy fémfogantyúval ellatott tălat.
Ne hasznaljon semmilyen fémes szel'u edenyt.
Ne használjon papírral bevont fémkapcsos muanyag zacskót.
Ne használjon lakkozott edényt, mert ezek oyan anyagot tartalmaznak, amelyek elnyelik a mikrohullámú sūtő energiaját. Ez azzal jár, hogy az edények megrepedeznek vagy elszenesednek és csökken a sūtesi folyamat gyorsasága.
Ne használjon "Centura Tableware"-t. Az üveg nem alkumas mikrohullámú sütóben történő használatra. A zárt fulü "Corelle Livingware" csészeket sem lehet használni.
Ne fózzón olyan edényekben, amelyeknek kicsi a nyílasuk, mint például múanyag üvegek, salataolajos üvegek, mert felrobbanhatnak, amennyiben tülmelegszenek a mikrohullámú sütőben.
Ne használjon hagyományos hushómérőt ésinyencsegekhez való hómérőt. Leteznek kifejezetten mikrohullámú sütőben használtato hómérők, amelyeket batran használhat.
10.- Csak a gyartóutasításainak megfelelo, mikrózható edenyeket lehet használi.
11.- Ne probáljon bo olajban készülő ételeket sütni a sutōben.
12.- Ne felejtse, hovy a mikrohullámú sūtō az edényben levő folyadékot jobban megmelegiti, mint magát az edényt. Tehát,Meg ha az edény fedele nem is meleg az edény kivételekor, ne felejtse, hovy a benne levő étel/folyadék ugyanakkora mennyiségü gozt bocsát ki és/vagy fröcsösag fedő levételekor, mint a hagyományos fózési folyamat során.
13.- Mindig saját maga Ellenőrizze az elkészült étel hómér sékletét, fökepp akkor, ha csecsemők szárára készt, vagy melegít éelt/italt. Jvasoljuk, hogy ne közvetlenül a sütőból történő kivétel után fogyassza az éelt/italt, hanem hagyja néhány percig pihenni, és keverje meg az etelt/italt, hogy az egész egységes hómér sékletü legyen.
14.- Az oyan etelek, amelyekben keveredik a viz és a zsir, peldául húsleves, a kikapcsolás után 30-60 masodpercig maradjanak a sutöben, ezáltal lehetőv é valik, hogy a keverék leülepeden és elkerüljuk a leforrázást, amikor egy kanalat helyezünk azételbe/folyadékba vagy hozzáadunk egy húsleveskockát.
-
- Azétel/ital készítésénél, ne feledje, hogy vannak bizonyos éelemiszerek, pédául a karacsonyi puding, lekvár és az aszaltgyümölcs-keverék, amelyek gyorsan melegszenek. A magas zsir vagy kukortartalmú ételek készítésénél vagy melegítésénél ne használjon muányag edényt.
16.- Lehetséges, hovy a konyhai edenyek felmelegszenek a melegitett étel hójének atvételével. Ez kulönösen akkor történik meg, amikor a burkolat befedi az edeny fuleit és felsö résztét. Ilyen esetben celszerú konyhai kesztyút használni az edeny megfogásanál.
17.- A túzveszély csökkentése a sutő besejében:
a) Ne fözze tül az ételeket. Különosen figyeljen a mikrohullámú sūtőre, ha a sūtő besejébe a sūtésel ösegítő anyagot, pédául papírt, muányagot vagy egyéb éghető anyagot helyezett.
b) Mielott zacskóhelyez a sutóbe, vegye le rola a fém zárakat.
c) Amennyiben az anyagok lángra kapnak a sutō besejében, tartsa zárva a sutō ajtaját, húzza ki a dugót vagy kapcsolja ki az elektramos halózatot aBiztositéktáblán vagy az automata megszakító segísegével.
KÉP

(1) Biztonsági ajtózár
(2) Sutobablak
(3) Sutó szellozó
(4) Forgo alap
(5) Üvegtányér
(6) Mueszerfal
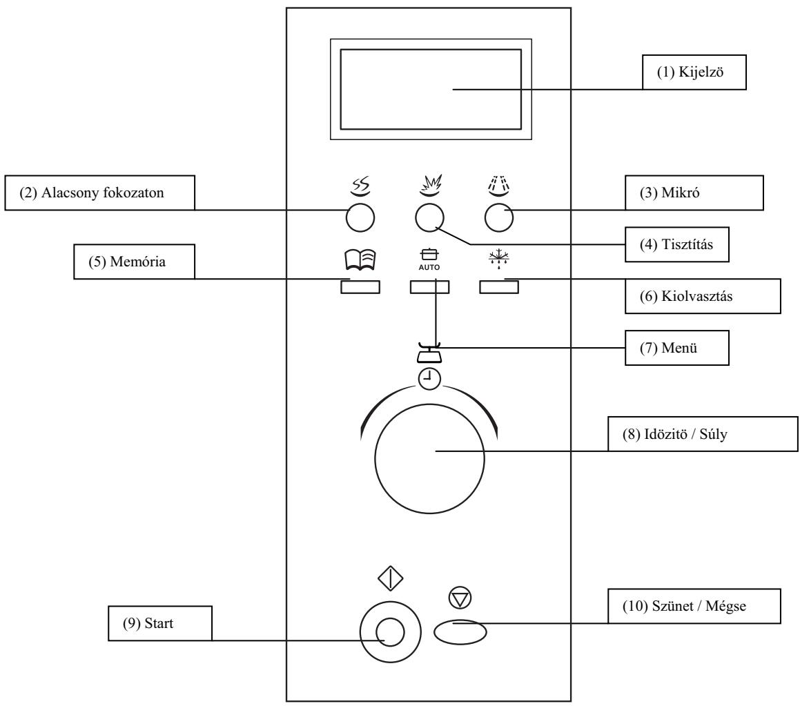
MUSZERFAL

MÜKÖDTÉSI UTASITÁSOK
1.- Alap Mikrohullam Funkció
Egy gomb lenyomásával elkezdheti a fózést, nagyon kényelmes és gyors egy pohár viz, stb. felmelegítésénél.
Példa: egy pohár viz felmelegítése.
a) Helyezze be a pohár vizet a forgotányérrá és csukja be az ajtó.
b) Nyomja meg a "Start" gombat és a mikrohullámú sütő elkezd 100%-os teljesítményel működni 1 percig.
c) Öt rövid jelzöhang hallhato, amikor befejezte.
2.-Mikrohullám Funkció
Ez a funkció két részból all
1) Gyors melegités funkció (100%-os teljesitmény).
Példa: ételek melegítése 100% -os teljesitménnyel 5 percig.
a) Csavarja el az "Idözító/Súly" gombat az "5:00" állásba.
b) Nyomja meg a "Start" gombat.
2) Kézi beallitásu Funkció
Példa: ételek melegitése 70% -os teljesitménnyel 10 percig.
a) Nyomja meg a "Mikró" gombot, valassza ki a 70%-os teljesítményt.
b) Csavejarazidzit/Suly gombota "10:00"allasba.
c) Nyomja meg a "Start" gombat.
5 teljesitményszint kozul lehet valasztani, a maximalis melegítési idő 60 perc.
| Gombnyomások száma | Mikrohullám teljesítmény | Megjelenítés |
| 1 | 100% | P100 |
| 2 | 70% | P70 |
| 3 | 50% | P50 |
| 4 | 30% | P30 |
| 5 | 10% | P10 |
- Fózs alacsony fokozaton
Az alacsony fokozaton történő fózsnek két szintje van:
S-1 az erős alacsony fokozat (31,25% mikrohullám); S-2 a gyenge alacsony fokozat (18,75% mikrohullám).
Példa: gyenge alacsony fokozaton fözze az etelt 1 orán át.
A) Érintse meg a „Lassú“ gombot,álassza az „S-2“ gombot;
B) Forgassa el a kódoló kapcsoló „1H:00”;
C) Nyomja meg a start gombat.
- a leghosszabb alacsony fokozaton való fózési idó 3 ora.
4.- Kiolvasztás
Válassza ki az étel típusát és sulyát, a gép automatikusan beprogramozza a teljesítmenyszintet és az időt.
Példa: 0,5 kg fagyasztott hús kiolvasztása
a) Nyomja meg a "Kiolvasztás" gombot a "d-1"-es állásban.
b) Csaparja el az "Idoztio/Suly" gombot a 0,5kg allasba.
c) Nyomja meg a "Start" gombat.
A hús súlya ne haladja meg a 2 kg-t.
A hal sulya ne haladja meg az 1 kg-t.
Megegyzés: “d-1” jelzes hús kiolvasztása funkciót jelent, a “d-2” jelzes hal kiolvasztása funkciót jelent.
5.- Menu Funkció
Csak ki kell valiasztania az etel típusát és sulyát, a gép automatikusan beprogramozza a teljesitményszintet és az időt.
Példa: menufunfkió0,4kghalhoz.
a) Nyomja meg a "Menu Funkcio" gombat az A-4 állásba.
b) Csaparja el az "Idozito/Suly" gombat a 0,4kg suly allasba.
c) Nyomja meg a "Start" gombat.
Ez a funkció képes megjegyezni néhány hasznos programot annak érdekében, hogy ne kelljen mindig ujraprogramozni az időt és a teljesítényt.
a) Amennyiben a的记忆 a nincs beprogramozva, nyomja meg a "Memoria" gombot es megjelenik az "1" jelzés, pátlálja be a teljesítényt és a főzési időt, nyomja meg ismét a "Memoria" gombot, a programot memorizálja a gép. Ha a "Memoria" gomb helyett a "Start" gombot nyomja meg, a sütő elkezd működní és a programot igy is memorizálja.
b) Ha már be van programozva a memoria, a “Memória” gomb megnyomásával megjeleníthető az “1” jelzés és a sutő a memorizált programnak megfeleloen fog működni a “Start” gomb megnyomása után.
A program megszakad, ha az elektromos halózatban rovidzárlat következik be.
7. Tisztítás:
Ez a funkció lehetővé teszi, hogy a készülék beseje és az étel lehüljön, és a sütőnek ne legyen ételszaga.
Érintse meg a „Tisztítás“ gombot, a ventilátor ilyenkor 1 percig múködik (ezen idő alatt a mikrohullám cső és a grill cső nem múködik), nyomja meg egyszer, a ventilátor múködési ideje 1 perccel no. A tisztítás leghosszabb időtartama 15 perc.
8.- GYERMEK BIZTONSÁGÍ ZÁR
Nyomja meg a "Szünet/Mégse" gombat háromszor egymás után, hogy a sūtő le legyen zárva.
Nyomja meg a "Szünet/Mégse" gombat ismét háromszor egymás után, hogy az ajtókti lehessen nyitni, és újra működjenek a funkciók.
9.- Szünet/Mégsem
a) Ha muködes kozben megnyomja a "Szünet/Mégse" gombot, a sütő leál.
b) Valamilyen program beallitasa es a Start gomb lenyomasa utan lenyomja ezt a gombat, minded beprogramozott funkció trolodik.
A MIKROHULLÁMÜ SÜTÜ KARBANTARTÁSA
1.- Áramtalanítsa a sutôt és húzza ki a dugó t a fali csatlakozóból.
2.- Tartsa tisztn a sutō besejét. Ha az étel kifröcsög, a folyadék kiömlik vagy a sutō oldalaira rakódk, tiszītsa le egy nedves ruhával. Nem javasolt maró vagy surolószer használata.
3.- A sūtō kūlso felületét nedves ruhával kell tiszṭitani. Ügyeljenarra, hogy a szellözonyílasokon keresztül ne kerüljön viz a sūtō belsejébe, hogy a múködestbiztosító alkatrészek ne sérüljenek meg.
4. Üglyeljenarra, hogy a Múszerfalat ne érje viz. Enyhén vizes ruhával tiszítitsa meg. Ne használjon suroló hatású tiszítósztert, mosószert vagy permetező folyadékot a Múszerfátiszítíasához.
5.- Amennyiben goz csapodik le a sutoajtó belso feluletén vagy külsején, puha ruhával törölje le. Ez akkor kovetkezhet be, ha a mikrohullámú sutot nedves környezetben használja, de ez nem azt jalenti, hogy a suto ne muködn megfeleloen.
6.- Idönként vegye ki az üvegtányört és tisztítsa meg. Mossa el meleg vizben tisz tíószerrel vagy mosogatógépen.
7.- A sūtō alját és aforgó alapot rendszeresen kell tiszṭitani a tulzott zaj elkerülése érdekében. Egyszerüen tisztítsa ki a sūtō alját enyhe mosószeres vizzzel vagy ablaktisztító folyadékkal és szárítsa meg. A forgo alap mosószeres vizben vagy mosogatógépben moshato. A fōzés közben keletkezett goźök kicsapódnak a rendszeres hasznalattal, de ez nem károsítja a sūtō belso felületét és a forgo alap gōrgǒit.
Amikor kiveszi a forgo alapot tisztlas celjából, a visszahelyezéskor ügyeljen arra, hogy megfelelo' pozicióba legyen visszahelyezve.
8.- A sütöben keletkező kellemetlen szagokat el lehet távolítani: keverjen össze egy csésze vizet egy citrom levével és héjalval egy mély mikrózható edenyben és tegye be 5 percre a mikrohullámú sütöbe. Alaposan tiszítsa ki és szárítsa meg egy puha ruha segítségével.
9.- Amikor szükséges, cserélje ki a sutő égőjét, ehez kérje a forgalmazó segütségét.
FAGOR

Digitálna mikrovlnná rúra, 17 1 / 23 1
Námod na obsluhu
KönnyűKézikönyv