SPOUTNIK - Microwaves FAGOR - Free user manual and instructions
Find the device manual for free SPOUTNIK FAGOR in PDF.
User questions about SPOUTNIK FAGOR
0 question about this device. Answer the ones you know or ask your own.
Ask a new question about this device
Download the instructions for your Microwaves in PDF format for free! Find your manual SPOUTNIK - FAGOR and take your electronic device back in hand. On this page are published all the documents necessary for the use of your device. SPOUTNIK by FAGOR.
USER MANUAL SPOUTNIK FAGOR
Operating instructions 23
FRANCAIS
Read the Instructions carefully and Keep for Future Reference

SPECIFICATIONS 17L
Power consumption:
Output:
Operating Frequency:
Outside Dimensions:
Oven Cavity Dimensions:
Uncrated Weight:
220-240V~50Hz,1080W
700W
2,450MHz
592mm(W) X 350mm(D) X 390mm(H)
320mm(W) X 288mm(D) X 183mm(H)
Approx. 14.7kg
SPECIFICATIONS 23L
Power consumption:
Output:
Operating Frequency:
Outside Dimensions:
Oven Cavity Dimensions:
Uncrated Weight:
220-240V~50Hz,1280W
800W
2,450MHz
592mm(W) X 400mm(D) X 390mm(H)
330mm(W) X 330mm(D) X 212mm(H)
Approx. 17.5kg
BEFORE YOU CALL FOR SERVICE
- If the oven will not perform at all, the display does not appear or the display disappears:
a) Check to ensure that the oven is plugged in securely. If it is not, remove the plug from the outlet, wait 10 seconds and plug it in again securely.
b) Check the premises for a blown circuit fuse or a tripped main circuit breaker. If these seem to be operating properly,
test the outlet with another appliance.
- If the microwave power does not function:
a) Check to see whether the timer is set.
b) Check to make sure that the door is securely closed to engage the safety interlocks. Otherwise, the microwave energy will not flow into the oven.
IF NONE OF THE ABOVE RECTIFIES THE SITUATION, THEN CONTACT THE AUTHORIZED SERVICE AGENT.
Note:
The appliance is for household use for heating food and beverages using electromagnetic energy and for indoor use only.
RADIO INTERFERENCE
Microwave oven may cause interference to your radio, TV, or similar equipment. When interference occurs, it may be eliminated or reduced by the following procedures.
a. Clean the door and sealing surface of the oven.
b. Place the radio, TV, etc. as far away from your microwave oven as possible.
c. Use a properly installed antenna for your radio, TV, etc. to get a strong signal reception.
INSTALLATION
- Make sure all the packing materials are removed from the inside of the door.
- Inspect the oven after unpacking for any visual damage such as:
Misaligned Door
Damaged Door
Dents or Holes in Door Window and Screen
Dents in Cavity
If any of the above are visible, DO NOT use the oven.
- This Microwave Oven weighs 17.5kg and must be placed on a horizontal surface strong enough to support this weight.
- The oven must be placed away from high temperature and steam.
- DO NOT place anything on top of the oven.
- DO NOT remove the turn -table drive shaft.
- As with any appliance, close supervision is necessary when used by children.
WARNING-THIS APPLIANCE MUST BE EARTHED.
- The plug socket should be within easy reach of the power cord
- This oven requires 1.3 KVA for its input. consultation with service engineer is suggested when installing the oven.
CAUTION:This oven is protected internally by a 250V, 10 Amp Fuse.
IMPORTANT
The wires in this mains lead are coloured in accordance with the following code:
Green-and-yellow : Earth
Blue
Neutral
Brown
:Live
As the colours of the wires in the mains leads of the appliance may not correspond with the coloured markings indentifying the terminals in your plug, proceed as follows:
The wire which is coloured green-and-yellow must be connected to the terminal in the plug which is marked with the letter E or by the earth symbol coloured green of green-and-yellow.
The wire which is coloured blue must be connected to the terminal which is marked with the letter N or coloured black.
The wire which is coloured brown must be connected to the terminal which is marked with the letter L or coloured red.
IMPORTANT SAFETY INSTRUCTIONS
-WARNING: When the appliance is operated in the combination mode, children should only use the oven under adult supervision due to the temperatures generated; (Only for the model with grill function)
-WARNING: If the door or door seals are damaged, the oven must not be operated until it has been repaired by a competent person;
-WARNING: It is hazardous for anyone other than a competent person to carry out any service or repair operation that involves the removal of a cover which gives protection against exposure to microwave energy;
-WARNING: liquids and other foods must not be heated in sealed containers since they are liable to explode.
-WARNING: Only allow children to use the oven without supervision when adequate instructions have been given so that the child is able to use the oven in a safe way and understands the hazards of improper use;
- The oven must have sufficient air flow. Keep 10 cm space at back; 15 cm at both sides and 30cms from top of the oven. Don't remove oven's feet, do not block air events of the oven.
- Only use utensils that are suitable for use in microwave ovens.
- When heating food in plastic or paper containers, keep an eye on the oven due to the possibility of ignition;
- If smoke is observed, switch off or unplug the appliance and keep the door closed in order to stifle any flames;
- Microwave heating of beverages can result in delayed eruptive boiling, therefore care must be taken when handling the container;
- The contents of feeding bottles and baby food jars shall be stirred or shaken and the temperature checked before consumption, in order to avoid burns;
- Eggs in their shell and whole hard-boiled eggs should not be heated in microwave ovens since they may explode, even after microwave heating has ended;
- When cleaning surfaces of door, door seal, cavity of the oven, use only mild, nonabrasive soaps, or detergents applied with a sponge or soft cloth.
- The oven should be cleaned regularly and any food deposits removed;
- Failure to maintain the oven in a clean condition could lead to deterioration of the surface that could adversely affect the life of the appliance and possibly result in a hazardous situation;
- If the supply cord is damaged, it must be replaced by the manufacturer, its service agent or similarly qualified persons in order to avoid a hazard.
SAFETY INSTRUCTIONS FOR GENERAL USE
Listed below are, as with all appliances, certain rules to follow and safeguards to assure top performance from this oven:
- Always have the glass tray, roller arms, coupling and roller track in place when operating the oven.
- Do not use the oven for any reason other than food preparation, such as for drying clothes, paper, or any other nonfood items, or for sterilizing purposes.
- Do not operate the oven when empty. This could damage the oven.
-
Do not use the oven cavity for any type of storage, such a papers, cookbooks, etc.
5.Do not cook any food surrounded by a membrane,such as egg yolks,potatoes,chicken livers,etc without first being pierced several times with a fork. -
Do not insert any object into the openings on the outer case.
- Do not at any time remove parts from the oven such as the feet, coupling, screws, etc.
- Do not cook food directly on the glass tray. Place food in/on proper cooking utensil before placing in the oven.
- IMPORTANT-COOKWARE NOT TO USE IN YOUR MICROWAVE OVEN
Do not use metal pans or dishes with metal handles.
Do not use anything with metal trim.
Do not use paper covered wire twist-ties on plastic bags. Do not use melamine dishes as they contain a material which will absorb microwave energy. This may cause the dishes to crack or char and will slow down the cooking speed.
Do not use Centura Tableware. The glaze is not suitable for microwave use. Corelle Livingware closed handle cups should not be used.
Do not cook in a container with a restricted opening, such as a pop bottle or salad oil bottle, as they may explode if heated in a microwave oven.
Do not use conventional meat or candy thermometers. There are the thermometers available specifically for microwave cooking. These may be used.
- Microwave utensils should be used only in accordance with manufacturer's instructions.
- Do not attempt to deep-fry foods in this oven.
- Please remember that a microwave oven only heats the liquid in a container rather than the container itself. Therefore, even though the lid of a container is not hot to the touch when

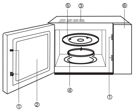
FEATURE DIAGRAM
removed from the oven, please remember that the food/liquid inside will be releasing the same amount of steam and/or spitting when the lid is removed as in conventional cooking.
- Always test the temperature of cooked food yourself especially if you are heating or cooking food/liquid for babies. It is advisable never to consume food/liquid straight from the oven but allow it to stand for a few minutes and stir food/liquid to distribute heat evenly.
- Food containing a mixture of fat and water, e.g.stock,should stand for 30-60 seconds in the oven after it has been turned off. This is to allow the mixture to settle and to prevent bubbling when a spoon is placed in the food/liquid or a stock cube is added.
- When preparing/cooking food/liquid and remember that there are certain foods, e.g. Christmas puddings, jam and mincemeat, which heat up very quickly. When heating or cooking foods with a high fat or sugar content do not use plastic containers.
- Cooking utensil may become hot because of heat transferred from the heated food. This is especially true if plastic wrap has been covering the top and handles of the utensil. Potholders may be needed to handle the utensil.
17.To reduce the risk of fire in the oven cavity:
(a) Do not overcook food. Carefully attend microwave oven if paper, plastic, or other combustible materials are placed inside the oven to facilitate cooking.
(b) Remove wire twist-ties from bags before placing bag in oven.
(c) If materials inside the oven should ignite, keep oven door closed, turn the oven off at the wall switch, or shut off power at the fuse or circuit breaker panel.
(1) Door Safety Lock System
(2) Oven Window
(3) Oven Air Vent
(4) Roller Ring
(5) Glass Tray
(6) Control Panel
COMPUTER CONTROL PANEL

Operation Instruction
1.Single Button Heating
Only with a single press of a button, you can start simple cooking, it is very convenient and quick to heat a glass of water etc.
Example: To heat a glass of water
a) Put a glass of water onto the glass turntable, and close the door.
b) Press the button "Start", the microwave oven will work on 100% power for 1 minutes.
c) You will hear 5 beeps when cooking is complete.
2.Microwave Heating
This function has two options.
1) Quick microwave heating (100% power)
Example: to heat food on 100% power for 5 minutes
a) Rotate the knob "Time setting. Weight" to until "5:00" displayed.
b) Press "Start".
2) Manual-operation microwave heating
Example: To heat food on 70% power for 10 minutes
a) Press "Micro" button, select "70%" power;
b) Rotate the knob "Time setting . Weight" to until "10:00" displayed.
c) Press "Start".
There are 5 power levels and the longest microwave heating time is 60 minutes.
| Touching times | Microwave power | Display |
| 1 | 100% | P100 |
| 2 | 70% | P70 |
| 3 | 50% | P50 |
| 4 | 30% | P30 |
| 5 | 10% | P10 |
3. Slow fire cooking:
The slow fire cooking include 2 grades:
S-1 is powerful grade slow fire (31.25% microwave fire); S-2 is weak grade slow fire(18.75% microwave fire).
Example: To cook food on weak slow fire for 1 hour.
A) Touch "Slow" button, select "S-2" button;
B) Turn encoder switch right to "1H:00";
C) Push the start button.
- The longest slow fire cooking time is 3 hours.
4.Auto weight defrost
Select the food type and weight, it will automatically help you to adjust the power level and time.
Example: defrost 0.5kg frozen meat.
a) Press the button "Auto defrost" to choose "d-1".
b) Rotate the knob "Time setting.Weight" to set the weight 0.5kg.
c) Press "Start"
The weight of meat must be less than 2kg
The weight of seafood must be less than 1kg
Note: "d-1" means defrosting meat, "d-2" means defrosting seafood.
5.Auto-menu
You only need to select the food type and weight, it will help you to automatically adjust the power and time.
Example: Auto cooking 0.4kg fish
a) Press "Auto menu" button to choose A-4.
b) Rotate the knob "Time setting. Weight" to set weight 0.4kg .
c) Press "Start".
kg
| Weight Menu Touching Times | A-1 | A-2 | A-3 | A-4 | A-5 | A-6 |
| Auto Reheat | Vegetable | Noodles | Fish | Meat | Bread | |
| 1 | 0.1 | 0.1 | 1PC | 0.2 | 0.2 | 0.1 |
| 2 | 0.2 | 0.2 | 2PC | 0.3 | 0.4 | 0.2 |
| 3 | 0.3 | 0.3 | 0.4 | 0.6 | 0.3 | |
| 4 | 0.4 | 0.4 | 0.5 | 0.8 | 0.4 | |
| 5 | 0.5 | 0.5 | 0.6 | 1.0 | 0.5 | |
| 6 | 0.6 | 0.6 | 0.8 | 1.2 | ||
| 7 | 1.0 | 1.5 | ||||
| 8 |
6. Memory cooking function:
This function can memorize some useful cooking programs to avoid resetting time and power operation. a) If no memory has been set press "memory" "1" will be displayed, input cooking power and time, press "memory" again, the set program will be minorized. If you press "Start" instead of "menory" button, the oven will start work, and the program also will be minorized.
b) It there is any memory has been set already, when you press "menory" button, "1" will be displayed, the oven will operate according to the memorized program after you press "Start" button.
The progrume will not be kept when the electricity is off.
7. Clear:
This function can make the cavity and food cool, and get rid of the smell of cooking.
Touch "Cooling / Fresh air" button, the fan will run 1 minute (at this time, microwave tube and grill tube won't work), push once, the time of fan running will increase 1 minute. The longest clear time is 15 minutes.
- Child-safety-lock .
Press "Pause/Cancel" three times to lock the machine.
Press "Pause/Cancel" three times again to unlock the machine and to recover operation functions.
- Pause/cancel
a) In the course of operation, pressing "Pause/Cancel" button will stop operation.
b) If any program was set before, pressing start, pressing this button will cancel all the set program.
- Turn the oven off and remove the power plug from the wall socket before cleaning.
- Keep the inside of the oven clean. When food splatters or spilled liquids adhere to oven walls, wipe with a damp cloth. The use of harsh detergent or abrasives is not recommended.
- The outside oven surface should be cleaned with a damp cloth. To prevent damage to the operating parts inside the oven, water should not be allowed to seep into the ventilation openings.
- Do not allow the Control Panel to become wet. Clean with a soft, damp cloth, Do not use detergents, abrasives or spray-on cleaners on the control Panel.
5.If steam accumulates inside or around the outside of the oven door, wipe with a soft cloth. This may occur when the microwave oven is operated under high humidity conditions and in no way indicates malfunction of the unit. - It is occasionally necessary to remove the glass tray for cleaning. Wash the tray in warm sudsy water or in a dishwasher.
- The roller ring and oven cavity floor should be cleaned regularly to avoid excessive noise. Simply wipe the bottom surface of the oven with mild detergent, water or window cleaner and dry. The roller ring may be washed in mild sudsy water or sish washer. Cooking vapours collect during repeated use but in no way affect the bottom surface or roller ring wheels.
When removing the roller ring from cavity floor for cleaning, be sure to replace it in the proper position.
- Remove odors from your oven by combining a cup of water with the juice and skin of one lemon in a deep microwaveable bowl. Microwave for 5 minutes, wipe thoroughly and dry with a soft cloth.
- When it becomes necessary to replace the oven light, please consult a dealer to have it replaced.
FAGOR

WAARSCHUWING-DIT APPARAAT DIENT GEAARD TE WORDEN
DÔLEŽITÉ BEZPECNOSTNÉ POKNY
TEXHINUeCKNE XAPAKTEPNUCTIKN 17 JIITpa
1.-EcJINIeYbHe pa6oTaET,HNcJIeN3aRopaTeCnHIn He 3aRopaTeC:
a) Y6eIHTecb, YTO IeYb IIpaBnJIbHO IIOKJIHOyeHa. EcJH IeYb IIOKJIHOyeHa HeIIpaBnJIbHO, OTKJIHOHTe ee, IIOJOxIHTe 10 MHHyt H cHOBa IIOKJIHOHTe ee, CJeIJa 3a IIpaBnJIbHOCTbIO.
b) Y6eIHTecb, YTO HNKaKoI IpeIOxpaHNTeJIb B IeIIIN He IpeERopeJI, HJIN YTO He BblIeJI H3 cTPO KaKoI-HN6yIb IIpeEKJIIOuAteJIb B rJaBHOI IeIIIN. EcJIIN Bce B HopMe, IIPOBepbTe HCTOuHHK IITaHHa, IODKJIIOUHb K HeMy dpyrO IIpH6Op.
2.-EcJIIN He HJET Tok CBU:
a) Y6eIHTecb, YTO TaIMeP 3aIIpoIpaMMnPoBaH.
b) Y6eHITecb, YTO DBepua Neu npaBnIbHO 3aKpbTa, TaK YTO6bI HMeJIO MeCTO coeHNHeHne 6JIOKNpOBoOHbIX KOHTaKToB. B IpoTHBHOM cJIyueae 3HeprHmIKpOBOJH He 6yET paPpocTpaHrTBcB B Neu.
ECJIN HN OJHA I3 YKA3AHHbIX MEP HE IIPIBIOINT K INCIPABJEHHIO CNTVAIIN,OBPATHTECb K IPIPCTABNTEJIIO CEPTNΦHUNPOBAHHO CEPBNCHOIHTPA
Пимецанne:
Hactoii np6op npedha3naeH IJIa HcII0JIb3OBAHHB DOMaIHHX ycIOBHx H cJyKHT JIHaHarpBaHHN IIpoDyKTOB IHTaHH N HAINTKOB C IHOIOBIO 3JIeKtpOMaHHTHO HeprHH. Hactoii np6op doJIkeH HcII0JIb3OBAtbcra ToJIbKO BHyTpHn HomeeHH.
PAДИОПOMEXN
MnKpOBoJIHOBaIeYb MoKeT BbI3bIBaTb IOMExN B pa6oTe paJHo, TeJIeBn3Opa HJIN IOIo6HOrO o6OpyIOBaHHa. Bo3HnKaIOIIne IOMexN MoKHO ycTpaHHTb HJIn yMeHbIHTb, CJeJyra HnKeYka3aHHbIM HHCTpyKIIHM:
a.- IpOtpHte Ibepu H IOBepxHOCTb IeTeJIb IBePbI NeuN.
b.- YcTaHOBHTe paIHO, TeJIeBH3Op I T.II. KaK MoJKHo IaJIbIIe OTe MHKpOBOJIHOBoI NeuN.
c.- IcnoJIb3yIte npaBnJIbHO yCTaHOBJIeHHyIO aHTeHHy IJIa BaIIero paIHO, TeJIeBn3OpaH T.II. IIJI pyHeMa 6OJIee yCTOuHBOrO cIHHaJa.
YCTAHOBKA
1.-Y6eIHTecb, YTO BCE 3JIeMeHTbI yIIaKOBKn H3 Ieyn yJaJIeHbI.
2.- IocJIe pacIIaKOBKN OcMOTpHTe IIeYb C IIeJIbIO O6HapUxKeHnB BO3MOxHbIX DeΦeKTOB, TaKHX KaK:
HepOBHaJ IBePua.
Поврждения Девпа.
BmTnHbI nJIn OTBepCTnB OKHe DBePbI bNIN DnCIIJIe.
BmTnHbI B IOJIOCTN Neu.
B cIyue BbIeHnIIO6oTo I3 IepuHcJIeHHbIX DeΦeKTOB HE IHCIOJIb3YIHTE IIeYb.
3.-Данная мнкробловая песь BeCNT 17,5 К и дожна установытбя на Горизютайhoи поверхонсп, досяточно почио, чобь вдегжать BECпech.
4.-IeYb cJIeIyEYTcTaHaBJIHbATb BdaJIH OT HCTOHHKOB BBICOKHX TeMIIepaTpy I npapa.
5.- HEpacnoJaaraTe HnYeTo Ha BepxHeu YacTn Neu.
6.- HE chHmaiTe BaJI IbHraTeJI BpaIaIOIeOcI IOIHocA.
7.-Kak H B cIyuae IpyTHX IIpH6OpOB, HCIOJIb3OBAHHe IIeHN DeTbMn IOJIgHO IIPOHCxOJNTb IIOI IIpHcMOTpOM B3pOcJIbIX.
EasyManual