SPOUTNIK - Mikrofale FAGOR - Bezpłatna instrukcja obsługi
Znajdź bezpłatnie instrukcję urządzenia SPOUTNIK FAGOR w formacie PDF.
Pytania użytkowników dotyczące SPOUTNIK FAGOR
0 pytanie dotyczące tego urządzenia. Odpowiedz na te, które znasz, lub zadaj własne.
Zadaj nowe pytanie dotyczące tego urządzenia
Pobierz instrukcję dla swojego Mikrofale w formacie PDF za darmo! Znajdź swoją instrukcję SPOUTNIK - FAGOR i weź swoje urządzenie elektroniczne z powrotem w ręce. Na tej stronie opublikowane są wszystkie dokumenty niezbędne do korzystania z urządzenia. SPOUTNIK marki FAGOR.
INSTRUKCJA OBSŁUGI SPOUTNIK FAGOR
Instrukcja obslugi. 54
NEDERLANDS
Cyfrowa kuchenka mikrofalowa 17 / 23 litry Instrukcja obslugi
MWB-17EX / MWB-23EX
Prosimy zapoznać są szczegółowo z instrukcja obstrugi i zachować są welu poźniejszych konsultaci.

DANE TECHNICZNE 17L.
Zužycie energii:
220-240V\~50Hz, 1.080 W
Wyjscie:
700W
Czestotliwość:
2,450MHz
Wymiary zewétrzne:
592mm(szer.) x 350 mm(gleb.) x 390 mm (wys.)
Pojemnosć kuchenki:
320mm(szer.)× 288mm(g.)× 183mm(wys.)
Waga netto:
ok. 14,7 Kg
DANE TECHNICZNE 23L.
Zužycie energii:
220-240V\~50Hz,1.280 W
Wyjscie:
800W
Czestotliwość:
2,450MHz
Wymiary zewétrzne:
592mm(szer.) x 400 mm(gleb.) x 390 mm (wys.)
Pojemnosć kuchenki:
330mm(szer.)× 330mm(g.)× 212mm(wys.)
Waga netto:
ok. 17,5 Kg
PRZED SKONTAKTOWANIEM SIE Z BIUREM OBSLUGI TECHNICZNEJ
1.- Jesli kuchenka nie działa, a na ekranie nic sie nie pojawia lub znika:
a) Upewnicie,czy kuchenka jest prawidlowo podlaczona do zrodla pradu.W przypadku, gdyby nie byla, nalezy ja odlaczyc, odczeka 10 sekund i podlaczyc na nowo w sposob pewny.
b) Upewnicie,czynie spalit sie ktorys z bezpiecznikow obwodu lub wyskoczyl jeder z przy到账nikow obwodu glownego. Jesli wzystko działa prawidtowo, nalezy sprawdzić gniazdko za pomocą innego urzadzenia.
2.- Jesli w kuchence nie ma prudu:
a) Upewnic sie,czy programator zegarowy zostal zaprogramowy.
b) Upewnic sie,czy drzewiczki zostaly prawidlowo zamkniete i są w kontakcie z blokady zabezpieczajca. W przyciwnym razie, energia mikrofalowa nie bedzie przypeływać przyez kuchenke.
JEZELI ZADNE Z WYJEJ WYMIENIONYCH ROZWIAZAN NIE POPRAWI SYTUACJI, NALEZY SKONTAKTOWAÇ SIE Z PERSONELEM AUTORYZOWANEGO PUNKTU SERWISOWEGO
Uwaga:
Urzadzenie przy wykorzystaniu energii elektromagnetycznej.
ZAKŁOCENIA RADIOWE
Kuchenka mikrofalowa要去 spowodowa zaklocenia w odbiorze radia, telewizji, itp. W przypadku zaistnienia zaklocen, maar je usanagan lub zmiejszyc postepujac zgodnie z ponieszymi wskazówkami:
a.- Wyczyscic drzewiczki i powierzchnie uszczelki kuchenki.
b.- Ustawić odbiornik radiowy, telewizyjniy, itp. jak najdalej od kuchenki mikrofalowej.
c.- Korzystać z prawidłowo zainstalowanej anteny radiowej, telewizynej, itp. w celu OSIAGNIęCIA silniejszego odbioru sygnalu.
INSTALACJA
1.-Upewnić sie,czy zostały usuniete z wnétrza wszymstkie elementy opakowania.
2.- Po Rozpakowaniu obejrzejć dokladnie kuchenkę welu wykrycia moziłowych wad takich, jak:
Drzewiczki przyzesunjęte w osi.
Drzewiczki uszkodzone.
Wgniecenia lub Dziury w okienku drzwiczek lub na ekranie.
Wgniecenia we wnece.
Jesli zaobserwowana zostanie którakolwiek z powyźyszych wad, NIE NALEZY UZYWAC kuchenki.
3.- Kuchenka wamy 17,5kg , nalezy ustawic ja na powierzchni poziomej wytrzymalej na tego rodzaju cięzar.
4.- Naleź yustawic kuchenkę z dala od zródeł ciepla i pary wodnej.
5.- NIE ustawiać nickego na kuchence.
6- NIE nalezy usuwac osi napedowej talerza obrotowej.
7.- Takismo, jak w przypadku jakiegokolwiek innego urzadzenia, daneci powinny je uzywać jestynie pod nadzoremość dorosłych.
OSTRZEZENIE - URZADZENIE MUSI BYC UZIEMIONE
1.- Gniażdko powinno znajdłowć scie blisko przywodu sieciowej.
2.- Kuchenka potrzebuje do odbioru prad o 1.3 KVA. W chwili instalacji, zaleca sie skonsultowanie z serwisem technicznym.
OSTRZEJELENIE: Kuchenka jest zabezpieczona wewnetrznie za posreduitwem bezpiecznika o 10Amp, 250V.
WAZNE
Przewody glônneo kabla, zgodnie z nastepujacym kodem, są coloru:
Zielono-źóty: uziemienie
Niebieski: zerowy
Brazowy: "faza"
W przypadku, gdyby kolory glówno kabla urzadzenia nie odpowiadały oznakowaniu kolorów, identyfikujacemu bieguny odbieraka pradu, sąȩzy postępowć zgodnia z następujacymi wskazówkami:
Przewód zielono-źólty;nalezy podłacZYc do końcowki gniazdka oznaczonej litera E, lub za pomocą symbolu uziemienia w kolorze zielonym lub zielono-źóltym.
Przewód niebieski naleź podȩczyć do konćówski oznaczonej litera N lub koloru czarnego.
Przewód brazowy sąȩzy podłączyć do konćowej oznaczonej litera L lub koloru czerwonego.
ISTOTNE ZASADY BEZPIECZENSTWA
-
OSTRZEJEZENIE: Jesli drzewiczki lub uszczelki drzewiczek są uszkodzone, nieNSE wyzywać kuchenki az do chwili, kiedy zostanie ona naprawiona przyez wykwalifikowypersonel.
-
OSTRZEZENIE: Zadna osoba nie wykwalifikowana nie powinna wykonywać prac konserwacyjnych ani naprawczych, wymagajych wyjecia osłony zabezpieczajacej przyded ekspozycja na energia mikrofalowa.
-
OSTRZEZENIE: Nie{nalezy podgrzewa'cPokarmow i napojów w zastemplowych naczyniach, gdyż grożone wybuchem.
-
OSTRZEJELENIE: Dzieci nie powinny uzywać kuchenki bez nadzoru osob doroszych chyba,ź zostały przyszkolone, jak z są zostroić w spośob bezpiecznych i są swiadome zagrożemDynikajacych zNieprawidowej obsglugi.
-
Kuchenka wymaga odpowiednej wentylacji. Nalezy zachować odstep 10 cm z tyfu, 15 cm po bokach i 30 cm od góry. Nie usuwac nozek kuchenki i nie zatykać wylotów powietrza kuchenki.
-
Korzystać jestynie z naczyń zdatnych do kuchenek mikrofalowych.
-
Pogrzewajć zywność w naczyniach plastikowych lub papierowych, sąȩzy pilnowość, zęby nie doźło do ich zapalenia.
-
Jesli zaobserwuje sie dym, nalezy urzadzenie wyłaczyć lub odźaczyć od zródrę prȩdu, oraz pozostawic drzewiczki zamkni三点 w celu stłamszenia moziłowych plomieni.
-
Podgrzewanie napojów za pomocamy mikrofali są doprowadzić do wrzenia po wyłączeniu kuchenki, są zatem zachowania ostrożnosć podczas wyjmowania naczynyia.
-
Aby zapobiec poparzeniom, plyny w dzbankach i butelkach ze smoczkiem nalezy zamieszacja lub wstrząsnać, oraz sprawdzić ich temperature przy spożyciem.
- Nie gotować w kuchence mikrofalowej jajek z skorupce, gdyż moga one wybuchnać nawet po zakończeniu procesu podgrzewania mikrofalowej.
- Do czyszczenia powierzchni i uszczelki drzewiczek, a takłe wȩki kuchenki stosowej jedynie delikatne plyny, nie zawierajuć składników sciernych, lub odpowiednie detergenty przy wykorzystaniu gabki lub delikatnej szmatki.
- Kuchenkne danezy regularnieczyscić iusuwać wszelkie resztki poźwienia.
- Nieutrzymywanie kuchenki w warunkach higienicznych powoduje zużycie jej powierzchni, a co za tym idzie, niedorzystnie wplywa na jejźwyotnosć. PonadtoMZE stanowic zagrozenia.
- Aby zapobiec zagrozeniu, jesti przywod elektryczny jest uszkodzony, powinien wymieni go producent,IRONED PRZEDSTAWICIEL lub osoba wykwalifikowana.
OGÓLNE INSTRUKCJE DOTYCZACE BEZPIECZENSTWA
Poniżej opisane zostały niedźóre zasady i sposoby postępowania, sąȩce na celu zagwarantowanie maksymalnej wydajnosci kuchenki:
1.- Szklana tacka, obrotowa podstawka oraz bieźnia musza byc w trakcie uzytkowania prwidłowo ustawione.
2.- Nie wykorzystywać kuchenki do innych celów, jak do przygotowywania poźwywnia, takich jak np. suszenie ubran, papieru lub jakiegokolwiek przydmiotu nie sąȩcego poźwywniem, lub w celu sterylizacja.
3.- Nie uruchamiać pustej kuchenki,doğanj w ten sposob uszkodzić.
4.- Nie wykorzystwyac wneki kuchenki do przechowywania takich przydmiotów, jak papiery, ksiąźki kucharskie, itp.
5.- Nie gotować zadnychPokarmów Pokrytych lupina lub blona takich, jak jajka, ziemniaki, wąróbski kurze, nie przykuwysz ich uprozdnio kila razy widelcem.
6.- Nie wiktadać zadnych przychodmiotów w otwory obudowy zewétrznej.
7.- Nie usuwac zadnych czosci składowych kuchenki takich, jak noźki, zącza, strubki, itd.
8.- Nie gotowaćPokarmu bezposrednio na szklanej tacy. Wloźyc zzywnosć do odpowiedniago naczynia przy文化传播eniem do kuchenki.
9.- WAZNE - NACZYNIA, KTORYCH NIE NALEZY UZYWAC W KUCHENCE MIKROFALOWEJ
Nie uzywać metalowych garnków lub talerzy o metalowych uchwytach.
Nie uzywać przyego o metalowych krawędziach.
Nie uzywać plastikowcyh toreb o metalowych zamknięciach pokrytych papierem.
Nie uzywać talerzy z melaminy, gdyż zawieraju one tworzywo pochłaniajasce energia mikrofalowa. Moze to spowodowej,ź talerze są pomarszcza lub zwęgla, co skróci prędkość gotowania.
Nie uzywać "Centura Tableware". Szkło nie jest odpowiednim tworzywem do stosowania w kuchence mikrofalowej. Nie uzywać filizanjek "Corelle Livingware" o zamknietym uchu.
Nie gotować w naczyniach o ograniczonym otworze takich, jak plastikowe butelki lub butelki na olwie, gdyż groź one wybuchem podczas podgrzewania w kuchence mikrofalowej.
Nie uzywać termometrów tradycyjnych, ani zwywnosciowych. Istnieja specjalne termometry przyznaczone do gotowania mikrofalowego, którch uzycie jest dozwolone.
10.- Naleź stosowej naczynia do kuchenek mikrofalowych zgodnia z instrukcjami ich producenta.
11.- W kuchence nie nalezy smaźcyźwnosci w glębokim oleju.
12.- Naleź y pamiętac, z e kuchenka mikrofalowa nagrzewa bardziej pląn w naczyniu niz samo naczynie. A zatem, mimo iż Pokrywa naczynia nie bedzie po wyjeciu z kuchenki goręca w dotyku, naleź y pamiętac, z e tokarm/pląn bedzie wydał taka są są ilość pary i/lub pryskal, jak w przypadku gotowania tradycyjniego.
13.- ZawszeNSE alezy sprawdzić samemu temperaturegotowanjzwywnosci,zwlaszcza jesti podgrzewa siePokarm/napoj dla niemowlat.Zaleca sie nie spozywać niczoego od razu po wyjeciu z kuchenki, lecz odczekać kilka minut i zamieszaćPokarm/napoj w celu rownomierneo Rozlozenia ciepla.
14.- Zywnosc zawierajca mieszanine tuszczu i wody, np. rosol, nalezy pozostawić w kuchence przy ez ok. 30-60 sekund po jej wyłąceniu. U主要用于 opadnięcie mieszanine i zapobiega wrzeniu wchwili wędzenia lzycki lub dodania koskirosołowojew.
15. - Przygotowujac/gotujacPokarmy/napoje{nalezy pamiętać,źnektóre pożwy Wienia np.budyń, marmolada,czy mieszanka zsuchych owoców podgrzewaja są bardzo szybko.Nie nalezy podgrzewać ani gotowaćźwnosci o wysokiej zawartosci thouczu lub cukru w plastikowych naczyniach.
16.- Istnieje mözgliwość nagrzania są naczyń poprzej z przenoszenia ciepla z podgrzewanję zwywnosci. Ma to.), zwaśczka wtedy, gdy plastikowe opakowaniaPokrywa czego górną i uchwyty naczynia. W takich przypadkach sązy korzystać przy wyjmowaniu z rękawic kucharskich.
17.- Aby zmniejszyc rzyko powstania ognia we wnece kuchenki nalezy:
a) Nie przygotować pozywienia. Zwracać szczególna uwage na kuchenkę mikrofalowa, jestli wędzyło są dość papier, plastik lub inné tworzywa Łatwopalne ułowajność gotowanie.
b) Usança metalowe zamkniecia toreb przyd ich wlozeniem do kuchenki.
c) Jesli tworzywa zapala sie wewnatrix kuchenki, pozostawic drzewiczki zamkniete, odłaczyc kuchenke odźóla pradu poprzej wyjecie wyczki z gniazdka, lub wyłączyć ja na tablicy, gdzie znajduje sie bezpiecznik lub wyłącznik automatyczny.
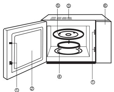
SCHEMAT

(1) System bezpiecznégo zamkniece drzewiczek
(2) Okienko drzwiczek
(3) Wentylacja kuchenki
(4) Obrotowa podstawka
(5) Szklana tacka
(6) Tablica obstrugowa
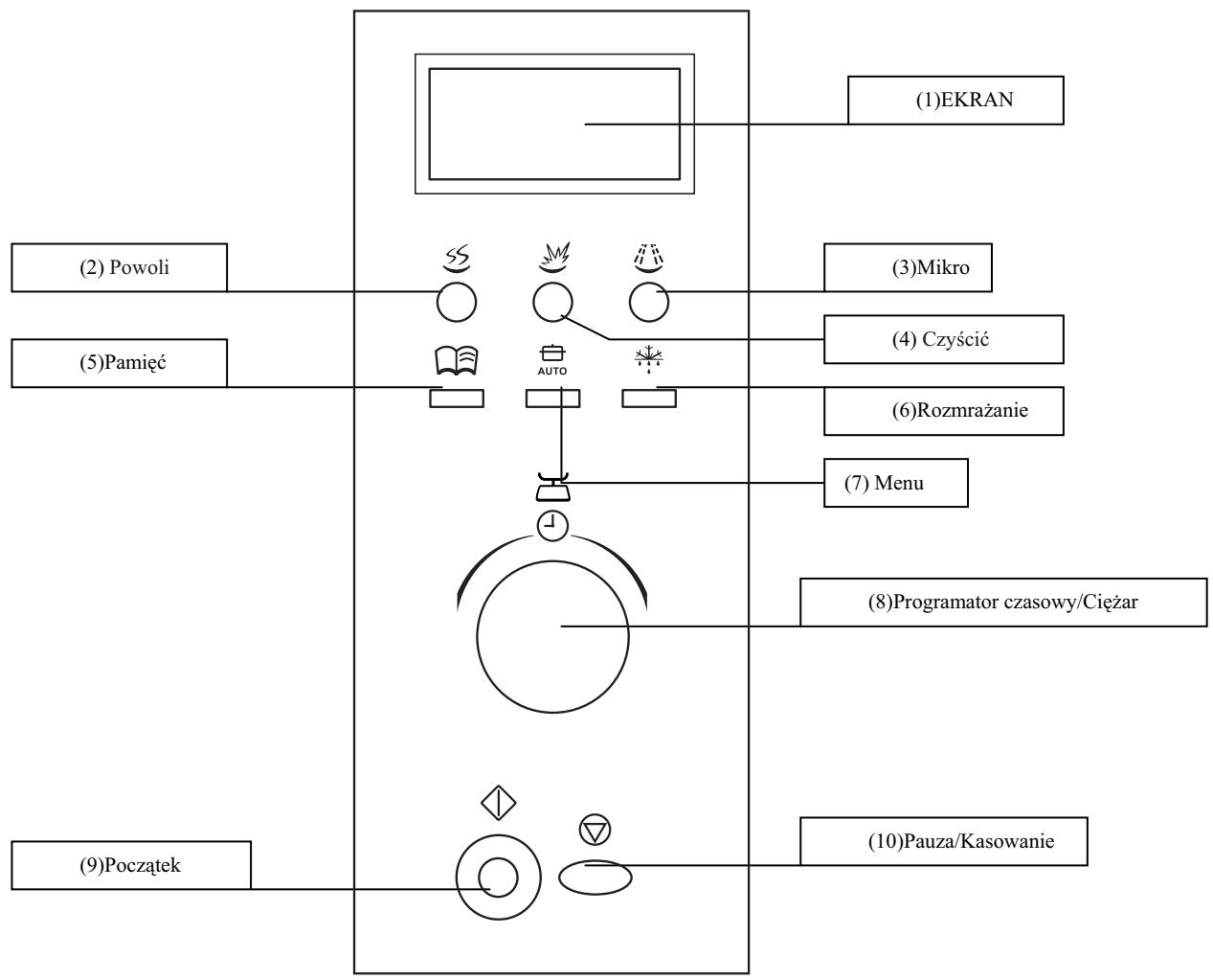
TABLICA OBSLUGOWA

INSTRUKCJA OBSLUGI
1.- Podstawowa Funkcja Mikrofali
Za pomocă jedynie jegno przyciskudoğan Rozpoczac gotowanie, jest to bardzo wygodny i szybki sposob podgrzania np. szklanki wody.
Przyklad: w celu podgrzania szklanki z woda.
a) Ustawic szkrankę z wodą na obrotowej tacy i zamkną德州iczki.
b) Nacisnac przycisk "Początek", kuchenka mikrofalowa zacznie pracstawć z mocamy 100% przyczem 1 minuţe.
c) W chwili zakończenia kuchenka wyda dzwiek 5 gwizdków.
2.-Funkcja Mikrofali
Funkcja ta ma dwie opcje
1) Funkcja szybkiego podgrzewania (100% mocy).
Przyklad: podgrzewaniePokarmu przy 100% mocy przye 5 minut.
a) Przekość „Programator czasowy/ciezar“ aż do pojawenia są wartość “5:00”.
b) Nacisnac przycisk "Poczatek".
2) Funkcja ręcznych sterowania
Przyklad: podgrzewaniePokarmu przy 70% mocy przy 10 minut.
a) Nacisnac przycisk "Micro", ustawic moc na 70% .
b) Przekość podkrety „Programator czasowy/ciezar“ aż do pojawietenia są wartość “10:00”.
c) Nacisnac przycisk "Poczatek".
Istnieje 5 poziomów mocy, a najdłuźsy czas podgrzewaniaDynosi 60 minut.
| Liczba wciȩść | Moc mikrofali | Symbol na ekranie |
| 1 | 100% | P100 |
| 2 | 70% | P70 |
| 3 | 50% | P50 |
| 4 | 30% | P30 |
| 5 | 10% | P10 |
- Funkcja gotowania na małym ogniu:
Funkcja gotowania na małym ogniu posiada 2 poziomy:
S-1 polega na gotowaniu na małym ogniu przy wysokiej mocy (31.25% ciepla mikrofalowego); S-2 polega na gotowaniu na małym ogniu przy niskiej mocy (18.75% ciepla mikrofalowego).
Przyklad: gotowanie przyez 1 godzine na małym ogniu.
A) Nacisné przycisk "Powoli" i wybrać przycisk "S-2";
B) Przekrecić przyȩclaznik kodujćny w sprawo na wartosć "1H:00";
C) Nacisnac przycisk(PCZATku.
- Najdłuszcy czas gotowania na małym ogniuDynosi 3 godziny.
4.- Rozmrazanie
Wybrać rodzaj i cięzar zywnosci, automatycznie zaprogramuje są wartość mocowa i czas rozmrażania.
Przykriad: rozmrozić 0,5 kg zamrożonego.mişa.
a) Nacisnăc przycisk “Rozmrażanie” (auto defrost) wybierȩąc “d-1”
b) Przekość „Programator czasowy/ciezar“, welu zaprogramowania cięzaru na 0,5kg .
c) Nacisné przycisk "Poczatek".
Mięsno nie powinno wąźć wieczej niz 2 kg.
Ryby Nie powinny waźycość niz 1 kg.
Uwaga: "d-1" oznacza rozmrażanie mięska, "d-2" oznacza rozmrażanie ryby
5.- Funkcja Menu
Nalezy Jedynie wybrać rodzaj tokarmu i了我的ę za, automatycznych zaprogramuje są wartość mocowa i czas.
Przyklad: funkcjama menu dla 0,4kg ryby.
a) Nacisnac przycisk "Funkcja menu" ustawiajac na A-4.
b) Przekość podkrety „Programator czasowy/ciezar“, welu zaprogramowaniaciezaru na 0,4 kg.
c) Nacisnácz przycisk "Poczatek".
Ta funkacja要去 zapamiętać noweportede przydatne programy,ȩki czemu nie trzeba三点地做些工作,现在正在做一些工作。
a) Jesli nie została zaprogramowana paminsć,ość nacisné przycisk „paminsć”, pojawsi „1“, a nastepnie wprésadzić wartsć mocowa i czas gotowania, nacisné ponownie „paminsć“, w ten sposób program zostanie zapamiątany. Jesli nac—isnie są zamiast „paminsći" przycisk „poczatek“, kuchenka zacznie pracstawć i program również zostanie zapamiątany.
b) Jesli została uprzejnio zaprogramowana paminsć, nacisnawszy przycisk "paminsć", pojawi są "1", a kuchenka zacznie dzialać zgodnie z zapamiątanym programem po nacisniewciu przycisku „poczatek".
Program nie zostanie zachowanyjisldojdzie do przerwy w dopływie pradu.
7. Czyszczemenie:
Funkcja ta powoduje ochłodzenia wneki i pożwy Wienia, oraz wydalenie zapachówźypwnosci.
Nacisnac przycisk "CzySciC". Wentylator besteht pracowat przyez 1 minute (w tym momencie rury mikrofali i grilla nie besteht pracowac), jestli naciennie sie jesteczze raz, czas zwiększy są o kolejna minute. Maksymalny czas czyszczeniaDynosi 15 minut.
8.- ZAMKNIECIE ZABEZPIECZAJACE PRZED DZIEÇMI
W celu zamkniecia urzadzenia nalezy nacisnac trzy razy przyczisk "Pauza/Kasowanie".
W celu otwarcia urzadzenia i odzyskania funkci, nalezy ponownie nacisnac trzy razy "Pauza/Kasowanie".
9.- Pauza/ Kasowanie
a) Jesli w trakcie procesu naciść są przycisk “Pauza/ Kasowanie” kuchenka zatrzyma sie.
b) Jesli zostawustawiony jederzprogramow i nacinsiety przycisk "poczatek",wchwili naciniecia到场przycisku zostana skasowane wzystkie zaprogramowane funkcje.
PIELEGNACJA KUCHENKI MIKROFALOWEJ
1.- Włączyć kuchenkę i wyjać wtyczkę z gniaźdka w scianie.
2.- Dbać o czystość wewnatrix kuchenki. Ješli sciany kuchenki dostana opryskane jegzeniem lub wyleje sie jakis plyn, naležy wyczyscić wnekewilgotna szmatka. Nie zaleca są stosowania silnych lub sciernych srodkidow czyszczących.
3.- Powierzchnie zewnetrzną naleźczyscić wilgotna szmatka. Aby nie uszkodzić czȩci funkcyjnych wewnatrz kuchenki, naleź zapobiegać przygodostawaniu są wody przy bez otwory wentylacyjne.
4. Pilnowac, zeby nie zmoczyla sie tablica obslugowa. CzyScić ja delikatna i zwilzonaszmatka. Do czyszczenia tablicy nie stosowac detergentów, srodków sciernych, ani Rozpylaczy.
5.- Jesli wewnatrix lub na zewnatrix drzwiczek kuchenki zbierze sie para wodna, nalezy je przytrzejć delikatna szmatka. Moze do tego dojsć, jesti uruchamia sie kuchenkemikrofalowa w warunkach o wysokiej wilgotnosci, co nie oznacza wźadnym wypadku,źe kuchenka nie działa prawidłowo.
6.- Raz na jakić czas naleź wyjac obrotowej szklanę tacke wCEEU jej wyczyszczenia. Naleź ja myc ciepla wodz mydlem lub plynem do mycia naczyń.
7.- Aby zapobiec nadmiernemu hałasowy,NSEy regularnie czyscić obrotowa podstawkę oraz dno kuchenki. Nalezy zwyczajnie wyczyscić dolna czyszć kuchenki delikatnym plynem, woda lub plynem do mycia szyb, a nastepnie wytrzej do sucha. Obrotowa podstawkę można czyscić woda z mydlem lub plynem do mycia naczyn. Przy czestym gotowaniu zbieraja sie opary, ale wźaden sposob nie wptywaja one negatywnie na dolnagczec kuchenki lub na kolarska obrotowej podstawki.
Po wyȩciu obrotowej podstawki z wólrebenia w dnie wCEEbu loro czyszczenia, podczas ponownego wiktadania naleź upewnić sie,czy została ona dobrze zaintalowana.
8.- W celu usuniecia nieprzyjemnych zapachow z kuchenki, nalezy wymieszać w griebokim naczyniu szklanke wody z sokiem i skórką z cytryny, ustawić je w kuchence na 5 minut. Dokladnie wyczyść i wytrzej do sucha.
9.- Jesli konieczna besteht wymiana zarowki w kuchence, nalezy zworcić są do dystrybutora, zeby dokonal wymiany.
FAGOR

Vypukliny alebo diery na sklearn dvierok a na displeji.
ProstaInstrukcja