MWB23AEX - Mikrofale FAGOR - Bezpłatna instrukcja obsługi
Znajdź bezpłatnie instrukcję urządzenia MWB23AEX FAGOR w formacie PDF.
Questions des utilisateurs sur MWB23AEX FAGOR
0 question sur cet appareil. Repondez a celles que vous connaissez ou posez la votre.
Poser une nouvelle question sur cet appareil
Pobierz instrukcję dla swojego Mikrofale w formacie PDF za darmo! Znajdź swoją instrukcję MWB23AEX - FAGOR i weź swoje urządzenie elektroniczne z powrotem w ręce. Na tej stronie opublikowane są wszystkie dokumenty niezbędne do korzystania z urządzenia. MWB23AEX marki FAGOR.
INSTRUKCJA OBSŁUGI MWB23AEX FAGOR
Instrukcja obslugi 54
NEDERLANDS
Cyfrowa kuchenka mikrofalowa 17 / 23 litry
Instrukcja obslugi
MWB17AEX / MWB23AEX
Prosimy zapoznać sie szczegółowo z instrukcja obstrugi i zachować ja w celu poźniejszych konsultaci.

DANE TECHNICZNE 17L.
| Zužycie energii: | 220-240V~50Hz, 1.080 W |
| Wyjscie: | 700W |
| Częstotliwość: | 2,450MHz |
| Wymiary zewnietrzne: | 592mm(szer.) x 350 mm(głeb.) x 390 mm (wys.) |
| Pojemnosć kuchenki: | 320mm(szer.) x 288 mm(głeb.) x 183 mm (wys.) |
| Waga netto: | ok. 14,7 Kg |
DANE TECHNICZNE 23L.
| Zužycie energii: | 220-240V~50Hz, 1.280 W |
| Wyjscie: | 800W |
| Częstotliwość: | 2,450MHz |
| Wymiary zewétrzne: | 592mm(szer.) x 400 mm(głęb.) x 390 mm (wys.) |
| Pojemnosć kuchenki: | 330mm(szer.) x 330 mm(głȩb.) x 212 mm (wys.) |
| Waga netto: | ok. 17,5 Kg |
PRZED SKONTAKTOWANIEM SIE Z BIUREM OBSLUGI TECHNICZNEJ
1.- Jesli kuchenka nie działa, a na ekranie nic sie nie pojawia lub znika:
a) Upewnic sie,czy kuchenka jest prawidlowo podlaczona do zrodla pradu.W przypadku,gdyby nie bya,nalezy ja odlaczyc,odczeka 10 sekund i podlaczyc na nowo w sposob pewny.
b) Upewnic sie,czy nie spali si kórs z bezpieczników obwodu lub wyskoczyl jeder z przyȩćzników obwodu glówno. Jesli wzystko działa prawidłowo, naleź sprawdzić gniaźdko za pomocamyinnergo urzadzenia.
2.- Jesli w kuchence nie ma pradu:
a) Upewnic sie,czy programator zegarowy zostal zaprogramowy.
b) Upewnic sie,czy drzewiczki zostaly prawidlowo zamkniete i są w kontakcie z blokady zabezpieczajac. W przyciwnym razie, energia mikrofalowa nie bedzie przyptywać przyez kuchenke.
JEZELI ZADNE Z WYZEJ WYMIENIONYCH ROZWIAZAN NIE POPRAWI SYTUACJI, NALEZY SKONTAKTOWAÇ SIE Z PERSONELEM AUTORYZOWANEGO PUNKTU SERWISOWEGO
Uwaga: Urzadzenia przyznaczone jest do uzytku domowej,{jednie w pomieszczeniach zamkiptych,do podgrzewania zywnosci i napojow przy wykorzystaniu energii elektromagnetycznej.
ZAKŁOCENIA RADIOWE
Kuchenka mikrofalowa要去 spowodowa zaklocenia w odbiorze radia, telewizji, itp. W przypadku zaistnienia zaklocen, maar je usunac lub zmniejszyc postepujac zgodnia z ponieszymi wskazowychkami:
a.- Wyczyscic drzewiczki i powierzchnie uszczelki kuchenki.
b.- Ustawic odbiornik radiowy, telewizyjny, itp. jak najdalej od kuchenki mikrofalowej.
c.- Korzysta z prawidlowo zainstalowanej anteny radiowej, telewizynej, itp. w celuosiagniecia silniejszego odbioru sygnahu.
INSTALACJA
1.-UpewnicoSie,czyzostalyusunierte zwnetrza wszystkie elementy opakowania.
2.- Po Rozpakowaniu obejrzejć dokladnie kuchenkę wCEE u wykrycia moziwych wad takich, jak:
Drzewiczki przesuniete w osi.
Drzewiczki uszkodzone.
Wgniecenia lub Dziury w okienku drzwiczek lub na ekranie.
Wgniecenia we wnece.
Jesli zaobserwowana zostanie którakolwiek z powyzszych wad, NIE NALEZY UZYWAC kuchenki.
3.- Kuchenka wamy 17,5kg , nalezy ustawic ja na powierzchni poziomej wytrzymalej na tego rodzaju cięzar.
4.- Naleź ustawic kuchenkę z dala od zródel ciepla i pary wodnej.
5.- NIE ustawiac nzego na kuchence.
6- NIE naleź wy usualć osi napędowej talerza obrotowej.
7.- Tak samo, jak w przypadku jakiegokolwiek innego urzadzenia, daneci powinny je uzywać jestynie pod nadzoremość doroszych.
OSTRZEZENIE - URZADZENIE MUSI BYC UZIEMIONE
1.- Gniazdko powinno znajdować sie blisko przewodu sieciowego.
2.- Kuchenka potrzebuje do odbioru prad o 1.3 KVA. W chwili instalacji, zalea sie skonsultowanie z serwisem technicznym.
OSTRZEJENIE: Kuchenka jest zabezpieczona wewnetrznie za posreduitwem bezpiecznika o 10Amp, 250V.
WAZNE
Przewody glownego kabla, zgodnie z nastepujacym kodem, są coloru:
Zielono-źóty: uziemienie
Niebieski: zerowy
Brazowy: "faza"
W przypadku, gdyby kolory glówno kabla urzadzenia nie odpowiadały oznakowaniu kolorów, identyfikujacemu bieguny odbieraka prȩdu, sąȩzy postepowej zgodnia z następujacymi wskazówkami:
Przewód zielono-źoltyNSEy podlączyc do konćowski gniazdka oznaczonej litera E, lub za pomocasymbolu uziemienia w colorze zielonym lub zielono-źoltym.
Przewód niebieskiNSEy podlączyc do konćowsk oznaczonej litera N lub koloru czarnego.
Przewód brazowy{nalezy podlączyc do konćowski oznaczonej litera L lub koloru czerwonego.
ISTOTNE ZASADY BEZPIECZENSTWA
-
OSTRZEZENIE: Jesús drzewiczki lub uszczelki drzewiczek są uszkodzone, nie sązy uzywać kuchenki aż do chwili, kiedy zostanie ona naprawiona przy cz wykwalifikowy個人.
-
OSTRZEZENIE: Zadna osoba nie wykwalifikowana nie powinna wykonywać prac konserwacyjnych ani naprawczych, wymagajych wyjecia oslony zabezpieczajacej przyded ekspozycja na energia mikrofalowa.
-
OSTRZEZENIE: Nie{nalezy podgrzewa'cPokarmow i napojow w zastemplowanych naczyniach, gdyz groza one wybuchem.
-
OSTRZEZENIE: Dzieci nie powinny uzywać kuchenki bez nadzoruość doroszych chyba,ź zostały przyszkolone, jak z są zostroić w spośob bezpiecznych i są swiadome zagrożemDynikajacych zNieprawidowej obshugi.
-
Kuchenka wymaga odpowiednej wentylacji. Naleź y zachować odstep 10 cm z tyfu, 15 cm po bokach i 30 cm od góry. Nie usuwac noźek kuchenki i nie zatyckać wylotów powietrza kuchenki.
-
Korzystać jedynie z naczn zdatnych do kuchenek mikrofalowych.
-
Pogrzewajć zywność w naczyniach plastikowych lub papierowych, sąȩzy pilnowość, zęby nie doźło do ich zapalenia.
-
Jesli zaobserwuje sie dym, nalezy urzadzenie wyłaczyc lub odłaczyc od zródkla prȩdu, oraz pozostawic drzewiczki zamkniète w celu stłamszenia mözgliwych plomieni.
-
Podgrzewanie napojów za pomocamy mikrofali są doprowadzic do wrzenia po wyłaczeniu kuchenki, są zatem zachowac ostrożnosc podczas wyjmowania naczynia.
-
Aby zapobiec poparzeniom, plyny w dzbankach i butelkach ze smoczkiem nalezy zamieszać lub wstrzasné, oraz sprawdzić ich temperature przy spoźyciem.
- Nie gotować w kuchence mikrofalowej jajek z skorupce, gdyż mogą one wybuchnȩ nawet po zakończeniu procesu podgrzewania mikrofalowej.
- Do czyszczenia powierzchni i uszczelki drzewiczek, a weitere wneki kuchenki stosować jedynie delikatne plyny, nie zawierajace skladników sciernych, lub odpowiednie detergenty przy wykorzystaniu gabki lub delikatnej szmatki.
- Kuchenke nalezy regularnieczyscić i usuwać wszelkie resztki poźwyenia.
- Nieutrzymywanie kuchenki w warunkach higienicznych powoduje zuzycie jej powierzchni, a co za tym idzie, niedkorzystnie wptywa na jej zywotnosc. PonadtoMZe stanowic zagrozenie.
- Aby zapobiec zagrozeniu, jesti przywod elektryczny jest uszkodzony, powinien wymienc go producent, jeu przystawiciel lub osoba wykwalifikowana.
OGOLNE INSTRUKCJE DOTYCZACE BEZPIECZENSTWA
Poniej opisane zostaly niedtorezasady i sposoby postepowania, majace na celu zagwarantowanie maksymalnej wydajnosci kuchenki:
1.- Szklana tacka, obrotowa podstawka oraz bieznia musza byc w trakcie uzytkowania prwidłowo ustawione.
2.- Nie wykorzystywać kuchenki do innych celów, jak do przygotowywania pozywienia, takich jak np. suszenie ubran, papieru lub jakiegokolwiek przydmiotu nie sądacego pozywieniem, lub w celu sterylizacja.
3.- Nie uruchamiać pustej kuchenki,doğan w ten sposob uszkodzić.
4.- Nie wykorystwyac wneki kuchenki do przechowywania takich przydmiotów, jak papiery, ksiąźki kucharskie, itp.
5.- Nie gotować zadnychPokarmów Pokrytych lupina lub blona takich, jak jajka, ziemniaki, watróbki kurze, nie przykuwysz ich uprzejnio kilka razy widelcem.
6.- Nie włȩdadc zadnych przychodmiotów w otwory obudowy zewétrznej.
7.- Nie usuwac zadnych czosci skladowsych kuchenki takich, jak nozki, zlacza, srubki, itd.
8.- Nie gotowaćPokarmu bezposrednio na szklanej tacy. Wloźyc zzywnosć do odpowiedniago naczynia przy文化传播eniem do kuchenki.
9.- WAZNE - NACZYNIA, KTORYCH NIE NALEZY UZYWAC W KUCHENCE MIKROFALOWEJ
Nie uzywać metalowych garnków lub talerzy o metalowych uchwytach.
Nie uzywać nickego o metalowych krawędziach.
Nie uzywać plastikowcyh toreb o metalowych zamknięciachPokrytych papierem.
Nie uzywać talerzy z melaminy, gdyż zawieraja one tworzywo pochłaniajace energia mikrofalowa. Moź to spowodowej,ź talerze są pomarszcza lub zwęgla, co skróci prędkość gotowania.
Nie uzywać "Centura Tableware". Szkło nie jest odpowiednim tworzywem do stosowania w kuchence mikrofalowej. Nie uzywać filizanek "Corelle Livingware" o zamnietym uchu.
Nie gotować w naczyniach o ograniczonym otworze takich, jak plastikowe butelki lub butelki na olwie, gdyż groża one wybuchem podczas podgrzewania w kuchence mikrofalowej.
Nie uzywać termometrów tradicyjnych, ani zywnosciowych. Istnieja specjalne termometry przyznaczone do gotowania mikrofalowego, tkorych użcie jest dozwolone.
10.- Naleźystosować naczynia do kuchenek mikrofalowych zgodnia z instrukcjami ich producenta.
11.- W kuchence nie nalezy smaźcy zwywnosci w glębokim oleju.
12.- Naleź pAMIetac, ze kuchenka mikrofalowa nagrzewa bardziej plyn w naczyniu niz samo naczynie. A zatem, mimo iz Pokrywa naczynia nie bedzie po wyjeciu z kuchenki goraca w dotyku, naleź pAMIetac, zePokarm/plyn bedzie wydala taka sama ilosc pary i/lub pryskal, jak w przypadku gotowania tradcyjngo.
13.- Zawsze nalezy sprawdzić samemu temperaturegotowanę zwywnosci, zwlaszcza;) jesti podgrzewa siePokarm/napoj dla niemłowat. Zaleca sie nie spożywc niczoego od razu po wyjeciu z kuchenki, lecz odczekać kilka minut i zamieszać tokarm/napoj w celu rownomierndo Rozlozeniaciepla.
14.- Zywnosc zawierajaca mieszanine thusczcu i wody, np. rosol, nalezy pozostawić w kuchence przy ez ok. 30-60 sekund po jej wyłaczeniu. U主要用于 opadnięcie mieszanych i zapobiega wrzeniu w chwili włozenia lyźki lub dodania dostki rosołowojewj.
15. - Przygotowujac/gotujacPokarmy/napojeNSEny pamietac,ze不同程度 pozywienia np.budyn,marmolada,czy mieszanka z suchych owocow podgrzewaja sie bardzo szybko.NieNSEzy podgrzewac ani gotowac zywnosci o wysokiej zwartosci thouczu lub cukru w plastikowych naczyniach.
16.- Istnieje mözgliwość nagrzania są naczyń poprzej przenoszenia ciepla z podgrzewanine zwywnosci. Ma to.), Ma to.), Ma to.), Ma to.), Ma to.), Ma to.), Ma to.), Ma to.), Ma to.), Ma to.), Ma to.), Ma to.), Ma to.), Ma to.), Ma to.), Ma to.), Ma to.), Ma to.), Ma to.), Ma to.), Ma to.), Ma to.), Ma to.), Ma to.), Ma to.), Ma to.), Ma to.), Ma to.), Ma to.), Ma to.), Ma to.), Ma to.), Ma to.), Ma to.), M w t), M w t), M w t), M w t), M w t), M w t), M w t), M w t), M w t), M w t), M w t), M w t), M w t), M w t), M w t), M w t), M w t), M w t), M w t), M w t), M w t), M w t), M w t), M w t), M w t), M w t) M w t) M w t) M w t) M w t) M w t) M w t) M w t) M w t) M w t) M w t) M w t) M w t) M w t) M w t) M w t) M w t) M w t) M w t) M w t) M w t) M w t) M w t) M w t) M w t) M w t)
M w t)
M w t)
M w t)
M w t)
M w t)
M w t)
M w t)
M w t)
M w t)
M w t)
M w t)
M w t)
M w t)
M w t)
M w t)
M w t)
M w t)
M w t)
M w t)
M w t)
M w t)
M w t)
M w t)
M w t)
M w t)
(M W T)
M W T)
M W T)
M W T)
M W T)
M W T)
M W T)
M W T)
M W T)
M W T)
M W T)
M W T)
M W T)
M W T)
M W T)
M W T)
M W T)
M W T)
M W T)
M W T)
M W T)
M W T)
M W T)
M W T)
M W T)
M W T)
(M W T)
M W T)
M W T)
M W T)
M W T)
M W T)
M W T)
M W T)
M W T)
M W T)
M W T)
M W T)
M W T)
M W T)
M W T)
M W T)
M W T)
M W T)
M W T)
M W T)
M W T)
M W T)
M W T)
M W T)
M W 7
M W 7
M W 7
M W 7
M W 7
M W 7
M W 7
M W 7
M W 7
M W 7
M W 7
M W 7
M W 7
M W 7
M W 7
M W 7
M W 7
M W 7
M W 7
M W 7
M W 7
17.- Aby zmiejeśczyc ryzykogowstania ognia we węcć kuchenki naleźy:
a) Nie przygotować pozywienia. Zwracć szczególna uwage na kuchenkę mikrofalowa, jestli wędyło sie donej papier, plastik lub inné tworzywałatwopalne ułowajacegotowanie.
b) Usunate metalowe zamkniecia toreb przyd ich wlozeniem do kuchenki.
c) Jesli tworzywa zapala sie wewnatrz kuchenki, pozostawic drzewiczki zamkniete, odłaczyc kuchenke odźódla pradu poprzej wyjecie wtyczki z gniaźdka, lub wylączyć ja na tablicy, gdzie znajduje sie bezpiecznik lub wylącznik automatyczny.
SCHEMAT

(1) System bezpiecznego zamkniecia drzwiczek
(2) Okienko drzewiczek
(3) Wentylacja kuchenki
(4)Obrotowa podstawka
(5) Szklana tacka
(6) Tablica obshugowa
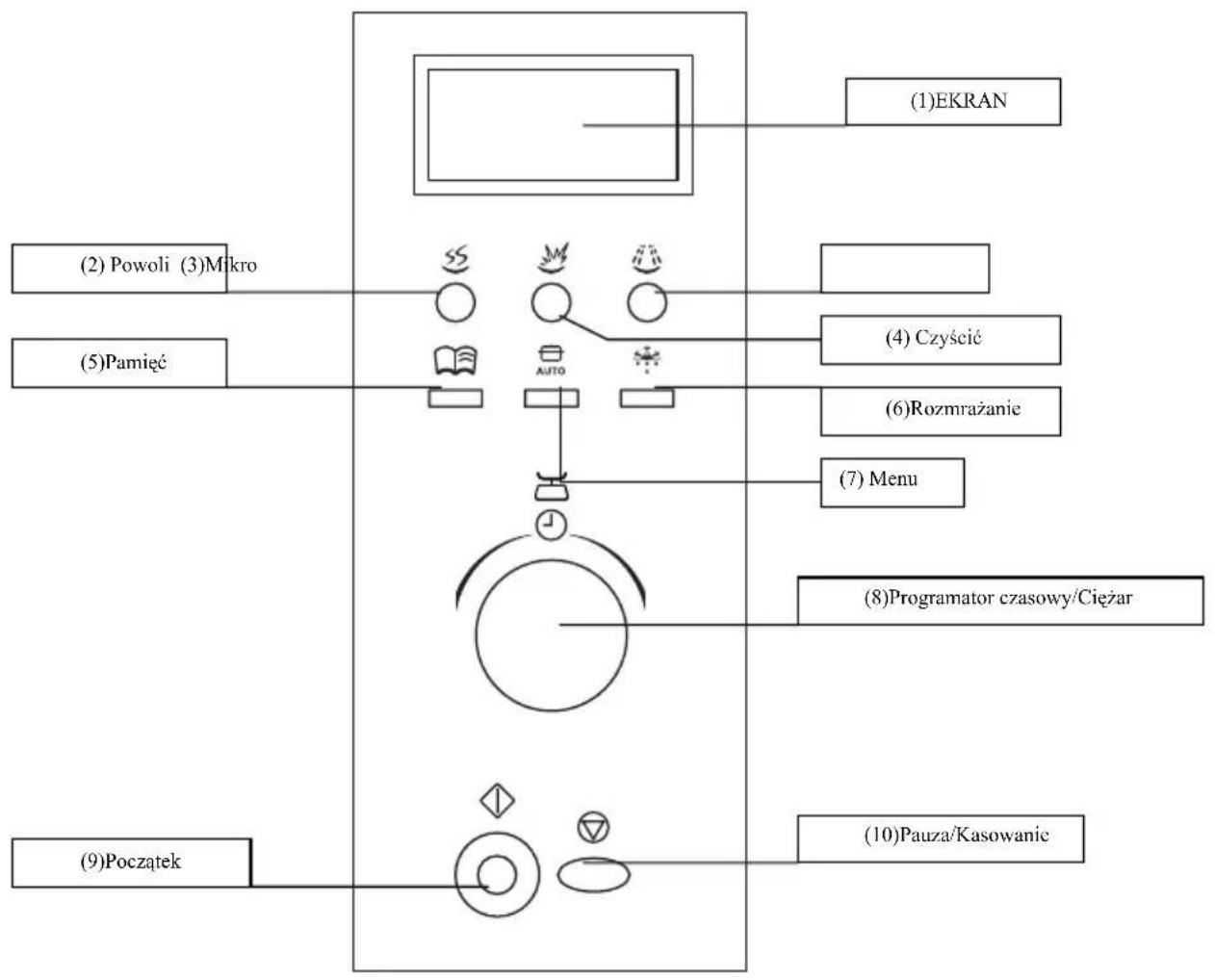
TABLICA OBSLUGOWA

INSTRUKCJA OBSLUGI
1.- Podstawowa Funkcja Mikrofali
Za pomocaj Jedynie jegneo przycisku można Rozpoczć gotowanie, jest to bardzo wygodny i szybki sposob podgrzania np. szklanki wody.
Przyklad: w celu podgrzania szklanki z woda.
a) Ustawic szklanke z woda na obrotowej tacy i zamknac drzwiczki.
b) Nacisnac przycisk "Poczatek", kuchenka mikrofalowa zacznie pracstaw z mocag 100% przyez 1 minute.
c) W chwili zakonczenia kuchenka wyda dzwiiek 5 gwizdkow.
2.-Funkcja Mikrofali
Funkcja ta ma dwie opcje
1) Funkcja szybkiego podgrzewania (100% mocy).
Przykstad: podgrzewaniePokarmu przy 100% mocy przyez 5 minut.
a) Przekość podkrety „Programator czasowy/ciezar" aż do pojawietenia są wartosci "5:00".
b) Nacisnac przycisk "Poczȩtek".
2) Funkcja ręcznych sterowania
Przykstad: podgrzewaniePokarmu przy 70% mocy przyc 10 minut.
a) Nacisnac przycisk "Micro", ustawic moc na 70% .
b) Przekrecić Pokretlo "Programator czasowy/ciezar" aż do pojawenia są wartość "10:00".
c) Nacisnać przyczisk "Poczstatek".
Istnieje 5 poziomów mocy, a najdłuszysz czas podgrzewaniaDynosi 60 minut.
| Liczba wciȩść | Moc mikrofali Symbol na ekranie | |
| 1 | 100% | P100 |
| 2 | 70% | |
| 3 | 50% | |
| 4 | 30% | |
| 5 | 10% | |
- Funkcja gotowania na malym ogniu:
Funkcja gotowania na malym ogniu posiada 2 poziomy:
S-1 polega na gotowaniu na małym ogniu przy wysokiej mocy (31.25% ciepla mikrofalowego); S-2 polega na gotowaniu na małym ogniu przy niskiej mocy (18.75% ciepla mikrofalowego).
Przyklad: gotowanie przyze 1 godzine na ma tym ogniu.
A) Nacisnac przycisk "Powoli" i wybrać przycisk "S-2";
B) Przekrecić przyȩćznik kodujczy wRAWO na wartosc "1H:00";
C) Nacisnac przycisk poczatku.
- Najdłuszcy czas gotomania na małym ogniuDynosi 3 godziny.
4.- Rozmrazanie
Wybrać rodzaj i cięzar zywnosci, automatyczne zaprogramuje są wartość mocowa i czas rozmrażania.
Przykstad: Rozmrozić 0,5 kg zamrożonego mięsa.
a) Nacisné przycisk “Rozmrażanie” (auto defrost) wybierȩjac “d-1”
b) Przekość podkrety „Programator czasowy/ciezar", welu zaprogramowaniaciezaruna 0,5kg .
c) Nacisnac przycisk "Poczatek".
MięsnoNie powinno wącyść—whichjnz2kg.
Ryby nie powinny wagyć wiecj niz 1 kg.
Uwaga: "d-1" oznacza rozmrażanie mięska, "d-2" oznacza rozmrażanie ryby
5.- Funkcja Menu
Naleź yIEDynie wybrać rodzajPokarmu i了我的ęcżar, automatycznia zaprogramuje są wartość mocowa i czas.
Przyklad: funkjcja menu dla 0,4kg ryby.
a) Nacisnac przycisk "Funkcja menu" ustawiajac na A-4.
b) Przekrecic Pokrto "Programator czasowy/cięzar", w celu zaprogramowania cięzar na 0.4kg .
c) Nacisné przycisk "Poczatek".
Ta funkacja要去 zapamiętać nowtie przydatne programy,ȩki czemu nie trzeba三点地做点的程序,现在要进行一些工作。
a) Jesli nie zostafa zaprogramowana paminsc, mozna nacinac przycisk „paminsc", pojawi sie "1", a nastepnie wprovadzic wartosc mocowa i czas gotowania, nacinac ponownie "paminsc", w ten sposob program zostanie zapamiety. Jesli nacinie sie zamiast "paminsci" przycisc "poczatek", kuchenka zacznie pracowac i program rowniez zostanie zapamiety.
b) Jesli została uprzejdnio zaprogramowana paminsć, nacisnawszy przycisk "paminsć", pojawi sie "1", a kuchenka zacznie dzialac zgodnie z zapamiétranym programem po naciśćciu przycisku „poczatek".
Program nie zostanie zachowanyjisldojdzie do przerwy w doplywie pradu.
7. Czyszczenie:
Funkcja ta powoduje ochłodzenia wneki i pożwy Wienia, oraz wydalenie zapachów zzywnosci.
Nacisnac przycisk "CzySciC". Wentylator bedzie pracowal przye 1 minute (w tym momencie rury mikrofali i grilla nie besteht pracowac), jesti naciennie sie jesteczne raz, czas zwiększy są o kolejna minute. Maksymalny czas czyszczeniaDynosi 15 minut.
8.- ZAMKNIECIE ZABEZPIECZAJACE PRZED DZIEcMI
W celu zamkniecia urzadzenia nalezy nacisnac trzy razy przyczisk "Pauza/Kasowanie".
W celu otwarcia urzadzenia i odzyskania funkcji,{nalezy ponownie nacisnac trzy razy "Pauza/Kasowanie".
9.-Pauza/Kasowanie
a) Jesli w trakcie procesu nacijsnie sie przycisk "Pauza/ Kasowanie" kuchenka zatrzyma sie.
b) Jesli zostal ustawiony jeder z programów i nacińskiowy przycisk "poczatek", w chwili naciśćcakiego przyciscu zostana skasowane wzystkie zaprogramowane funk)cje.
PIELEGNACJA KUCHENKI MIKROFALOWEJ
1.- Wyłaczyk kuchenkę i wyjac wtyczkę z gniaźdka w scianie.
2.- Dbać o czystość wewnatrz kuchenki. Jesli sciany kuchenki zostana opryskane jegzeniem lub wycleje sie jakis plyn, naleź wyczyScić wnekte wilgotna szmatka. Nieazoleca sie stosowania silnych lub sciernych srodkidow czyszczacych.
3.- Powierzchnie zewnetrzna danezy czyscić wilgotna szmatka. Aby nie uszkodzić częsci funkcyjnych wewnatrz kuchenki, danezy zapobiegać przygodostawaniu sie wody przy bez otwory wentylacyjne.
4. Pilnowac, zeyby niezmoczyla sie tablica obshugowa. CzyScić ja delikatna i zwilzona szmatka. Do czyszczenia tablicy nie stosowac detergentów, srodkow sciernych, ani Rozpylaczy.
5.- Jesli wewnatrix lub na zewnatrix drzwickek kuchenki zbierze sie para wodna, nalezy je przytrzech delikatna szmatka. Moze do tego dojsc, jesti uruchamia sie kuchenke mikrofalowa w warunkach o wysokiej wilgotnosci, co nie oznacza w zdnym wypadku, ze kuchenka nie działa prawidlowo.
6.- Raz na jakis czas nalezy wyjac obrotowa szklana tacke w celu jej wyczyszczenia. Nalezy ja mycciepla woda z mydlem lub plynem do mycia naczyn.
7.- Aby zapobiec nadmiernemu hałasowy, nalezy regularnie czyscić obrotowa podstawkę oraz dno kuchenki. Nalezy zwyczajnie wyczyscić dolna czȩc kuchenki delikatnym plynem, woda lub plynem do mycia szyb, a nastepnie wytrzech są do sucha. Obrotowa podstawkę przy czyscić woda z mydlem lub plynem do mycia naczyn. Przy czestym gotowaniu zbieraja są opary, ale wźaden spośbNie wplywaja one negatywnie na dolna czȩc kuchenki lub na kolarska obrotowej podstawki.
Po wyjeciu obrotowej podstawki z wglębienia w dnie w celu和他的 czyszczenia, podczas ponownego wkladania naleź upewnić sie,czy zostafa ona dobrze zainstalowana.
8.- W celu usuniecia nieprzyjemnych zapachow z kuchenki, nalezy wymieszac w glebokim naczyniu szklanke wody z sokiem i skórką z cytryny, ustawic je w kuchence na 5 minut. Dokladnie wyczyscić i wytrzech doSucha.
9.- Jesli konieczna besteht wymiana zarowki w kuchence, nalezy zworcić sie do dystrybutora, zeby dokonat wymiany.

Vypukliny alebo diery na sklearn dvierok a na displeji.
ProstaInstrukcja