MWB23AEX - Magnetrons FAGOR - Gratis gebruiksaanwijzing en handleiding
Vind de handleiding van het apparaat gratis MWB23AEX FAGOR in PDF-formaat.
Gebruikersvragen over MWB23AEX FAGOR
0 vraag over dit apparaat. Beantwoord die u kent of stel uw eigen vraag.
Stel een nieuwe vraag over dit apparaat
Download de handleiding voor uw Magnetrons in PDF-formaat gratis! Vind uw handleiding MWB23AEX - FAGOR en neem uw elektronisch apparaat weer in handen. Op deze pagina staan alle documenten die nodig zijn voor het gebruik van uw apparaat. MWB23AEX van het merk FAGOR.
GEBRUIKSAANWIJZING MWB23AEX FAGOR
Gebruiksaanwijzing 65
MAGYAR
Hasznalati utmutato 76
SLOVENSKY
Navod k pouzitie 87
CESKY
Návod k použiti 98
Rosso
PykoBoCTBO IIO 3KcIIyatauHH 109

Microondas digital 17 litres / 23 litres
Manual de instrucciones
MWB17AEX/MWB23AEX
Digitale magnetron 17 liter / 23 liter Instructieboekje
MWB17AEX/MWB23AEX
Lees aandachtig de instructies en bewaar ze om ze later te konnen raadplegen.

SPECIFICATIES 17 L.
Energieverbruik: 2 1.080W 20-240V\~50Hz,
Maximaal vermogen: 700W
Functionele frequentie: 2.450MHz
EXTERNE AFMETINGEN: 592mm (Breed) × 350mm (Diep) × 390mm (Hoog)
Afmetingen inhoud oven.: 320mm (Breed) x 288mm(Diep) x 183mm (Hoog)
Netto gewicht: Ongeveer 14,7kg
SPECIFICATIES 23 L.
Energieverbruik: 2 1.280W 20-240V\~50Hz,
Maximaal vermogen: 800W
Functionele frequentie: 2.450MHz
EXTERNE AFMETINGEN: 592mm (Breed) × 400mm (Diep) × 390mm (Hoog)
Afmetingen inhoud oven.: 330mm (Breed) x 330mm (Diep) x 212mm (Hoog)
Netto gewicht: Ongeveer 17,5kg
1.- Wanner de oven het Niet doct, gaat de display Niet aan of gaat UIT:
a) Vergewis u ervan dat de magnetron op juiste wijze is aangesloten. Wanner dat nicht zo is, sluit hem dan af, wacht 10 seconden en sluit hem opniewu op veilige wijze aan.
b) Vergewis u ervan dat geen van de zekeringen van het elektrische circuit gesmolten is of dat geen van de schakelaars van het hoofdcircuit eruit gesprongen is. Wanner dat allemaal in orde lijkt te zich, test dan het stopcontact met een ander apparaat.
2.- Wanner de stroom van de magnetron Niet functioneert:
a) Vergewis u ervan dat de timer geprogrammeerd is.
b) Vergewis u ervan dat de deur correct gesloten is, zodate de veiligheidsvergrendelingen van de deur contact maken. Wanneer dat Niet het geval is zal er geen stroom door de magnetron vloeien.
WANNEER GEEN VAN DE GENOEMDE HANDELINGEN DE SITUATIE CORRIGEERT, NEEM DAN CONTACT OP MET EEN ERKENDE SERVICE-AGENT
Attentie:
Het apparaat is voor huishoudelijk gebruik om met elektromagnetische golven levensmiddelen en dranken te verhitten en dient alleen binnenshuis gebruikt te worden.
ELEKTROMAGNETISCHE STORINGEN
De magnetron kan uw radio, teilevisie of gelijksoortig apparaat storen. Wanner deze storingen zich voordoen,{kunnen die opgeheven of verminderd worden door de volgende aanwijzingen te volgen:
a.- Maak de deur en het sluitvlak van de oven schoon.
b.- Plaats radio, teileisie, et cetera, zover möglichk van de magnetron vandaan.
c.- Gebruik een correct geinstalleerde antenne voor de radio, televisione, et cetera, om een zo krachtig möglich ontvangstsignaal te krijgen.
INSTALLATIE
1.-Vergewis u ervan dat al het verpakkingsmaterial aui de binnenzijde verwijderd is.
2.- Inspector de magnetron na het uitpakken om defecten op te sporen zoals:
Deur uit het lood.
Beschadigde deur.
Deuken of gaten in het venster van de deur of van de display.
Deuken aan de binnenzijde van de magnetron.
Wanner u een van bovengenoemde zaken constateert, GEBRUIK dan de magnetron NIET.
3.- Deze magnetron weegt 17,5kg en dient geplaatst te worden op een horizontal oppervlak dat sterk genoeg is om het gewicht te dragen.
4.- De magnetron dient ver van bronnen geplaatst te worden die een hoge temperatuur of stoom produceren.
5.- Plaats NIETS op de bovenzijde van de magnetron.
6.- Verwijder de aandrijfas van de draaischijf NIET.
7.- Zoals ieder ander apparaat mogen kinderen het slechts onder supervisie van volwassenen gebruiken.
1.- Het stopcontact dient zich in de buurt van de stroomkabel te bevinden.
2.- Deze magnetron heeft een stroomaansluiting van 1.3 KW nodig. Aangeraden worden bij installmentie van de magnetron contact op te nemen met de technische Dienst
WAARSCHUWING: deze magnetron is intern gezekerd met een zekering van 10Amp, 250 Volt.
BELANGRIJK
De draden van de hoofdgeleider hebben kleuren die het volgende aanduiden.
Groen en geel: aarde
Blauw: neutral
Bruin: "fase"
In het geval dat de kleuren van de hoofdgeleider van het apparaat Niet overeenkommen met de kleurmerkjes die de polen aangeven in het stopcontact, volg dan de volgende aanwijzingen:
De groengele draad dient te worden aangesloten op de pool van de stekker die gemarkeerd is met de letter E of met het groengele aarde-symbolool.
De draad die blauw is, dient te worden aangesloten op de pool die gemarkeerd worden door de letter N of die zwart van kleur is.
De draad die bruin is, dient te worden aangesloten op de pool die gemarkeerd worden door de letter L of die rood van kleur is.
BELANGRIJKE VEILIGHEIDSVOORSCHRIFTEN
-
WAARSCHUWING: Wanner de deur of de sluitingen beschadigd zijn, dient men de magnetron Niet te gebruiken zolang hij Niet gerepareerd is door een gekwalificierde persoon.
-
WAARSCHUWING: Het is gevaarlijk voor ieder Niet gekwalificeerd persoon reparaties of onderhoudswerkzaamheden uit te voeren waar bij de klep verwijderd worden die bescherming kBiedt gegen bloatstelling aan de energia van de microgolven.
-
WAARSCHUWING: Er dieren geen levensmiddelen of vloeistoffen verwarmd te worden in gesloten beholdersaar die kunnen exploderen.
-
WAARSCHUWING: Het is kinderen nicht toegestaan de magnetron te gebruiken zich gegeven voor een veilig gebruik van de magnetron, waar bij ook de risico's dienen te worden genoemd die incorrect gebruik met zich meebrengt.
-
De magnetron dient voldoende ventilatie te hebben. Aan de achechterzijde dient u 10 centimeter vrij te houden; aan de zijkanten 15 centimeter en aan de bovenzijde 30~cm . U dient nicht de voetsteunen van de magnetron te verwijderen, noch de luchtuitlaten te blokkeren.
-
U dient alleen keukengerei te gebruiken dat geschikt is voor magnetrons.
-
Wanner u voedingsmiddelen verhit in beholders van plastic of papier, houd dan de magnetron in de gaten vanwege het brandgevaar.
-
Wanner u rook detecteert, breng het apparaat dan tot stilstand of haal dan de stekkeruit het stopcontact en houd de deur gesloten om elke möglichke vlam te doven.
-
Wonneer men dranken verhit d.m.v. microgolven, kan hetijken dat deze gaan koken nadat men de magnetron heeft uitgezet; waarom要去en voorzichtig omgaan met de behouder.
- De inhoud van potjes of zuigflessen dient te worden omgeroerd of te worden geschud en men dient de temperatuur voor gebruik te controleren om verbrandingen te voorkomen.
- Bereid geen gekookte cieren in de schaal in de magnetron toe, waar deze{kennen explodingen, zichs nadat de opwarming d.m.v. microgolven ten einde is.
- Gebruik bij het schoonmaken van de deur, het sluitvlak van de deur of de binnenkant van de magnetron enkel zachte zoepsoorten en een spons of een zacht doekje; gebruik geen schuur- of reinigingsmiddelen.
- De magnetron moet regelmatig worden schoongemaakt en alle etensresten dienen te worden verwijderd.
- Wanner men de magnetron Niet goed schoon houdt, kan die aangetast worden, hetgeen een negatif efect hebben kan op de levensduur van het apparatusat en een gevaarlijke situatie kan opleveren.
- Wanner de stroomkabel beschadigd is,要去 die, om risico's te vermijden, verrangen worden door de fabrikant, een vertegenwoordiger waarvan of door andere, net zo gekwalificierde, Personen.
VEILIGHEIDSINSTRUCTIES VOOR ALGEMEEN GEBRUIK
Hierna volgen enkele normen en maatregelen die dienen te worden gevolgd/genomen om het maximale rendement uit deze oven te halen:
1.- De glasplaat, de draaiende basis en het loopvlak dienen correct geplaatst te zich wanner de magnetron in werkung is.
2.- Gebruik de magnetron alleen voor de bereiding van levensmiddelen; gebruik hem dus Niet om kleding, papier of enig ander artikel te drogen of om te steriliseren.
3.- Zet de magnetron Niet aan wanner die leeg is. Dat zou schadelijk kannen zijn voor de magnetron.
4.- Gebruik de magnetron nicht om spullen in te bewaren, zoals papieren, kookboeken, etc.
5.- Bereid geen enkel voedingsmiddel toe dat afgesloten worden door een vlies of schil, zoals eierdooiers, aardappels,kippenlevers, et cetera, zonder die eerst een aantal malen te hebben doorgeprikt met een vork.
6.- Stop geen enkel voorwerp in de openingsen aan de buitenzijde van de magnetron.
7.- Verwijder geen enkel onderdeel van de magnetron, zoals de voetjes, aansluitingen, schroeven, etc.
8.- Bereid het eten Niet direct toe op de glazen plaat. Doe het eerst in een geschikte schaal alvorens het in de magnetron teplaatsen.
9.- BELANGRIJK - SCHALEN DIE NIET GEBRUIKT DIENEN TE WORDEN IN DE MAGNETRON
Gebruik geen metalen schalen of borden met metalen handgrepen.
Gebruik niets met metalen randjes.
Gebruik geen plastic zakken met door papier beklede metalen sluitingen.
Gebruik geen borden van melamineaar die een materiaal bevatten dat de energie van de microgolven absorbeert. Dat kan er toe leiden dat er scheuren komen in de borden of dat ze verbranden en het za de snugheid van bereiding vertragen
Gebruik geen "Centura Tableware". Het glas is nicht geschikt voor gebruik in magnetrons. De koppen "Corelle Livingware" met geslotenoren dieren nicht gebruikt te worden.
Bereid niets toe in een behouder met nauwe opening zoals plastic flessen of slaolieff lessen,ondat die kunnen exploderen wanneer ze opgewarmd worden in een magnetron.
Gebruik geen conventionele vleestermometers of thermometers voor bakwaren. Er bestaan thermometers die specifiek bestemd zijn voor het koken met de magnetron. Die mogen wel gebruikt worden.
10.- Er mogen alleen magnetronschalen gebrukt worden die in overeenstemming zich met de voorschriften van de fabrikant.
11.- Probeer geen voedingsmiddelen te frituren in overdadige olie in deze magnetron.
12.- Denk eraan dat een magnetron de inhoud van een schaalmeer verwarmt dan de schaal zelf. Denk erkaarom bij het verwijderen van een schaaluit de magnetron aan dat, ondanks het feit dat de deksel misschien Niet warm aanvoelt, het eten/de vloeistof dat/die er inzit bezelfde hoeveelheid stoom za afgeven en/of opdezelfde wijze kan spetteren als het geval is bij conventioneel koken.
13.- Controleert u alkijd zich de temperatuur van de vereide maaltijd, vooral wanner u eten/vloeistoffen verwarmt of vereidt voor baby's. Het is raadzaam het eten/de vloeistof Niet direct uit de magnetron te consumeren, maar dat/die eerst enkele minuten te latent rusten en het eten/de vloeistof om te roeren om de warmte gelijkmatig te verdelen.
14.- Levensmiddelen die een meldsel van vet en water bevatten, bijvoorbeeld bouillon, dient men na uitschakelen van de magnetron 30 tot 60 seconden te latent staan. Dit doet m en zodate het meldsel kan bezinken en om te voorkomen dat het gaat koken wanneer men een lepel in het eten/de vloeistof steekt of wonneer men er een bouillonblokje in doet.
15. - Denk er bij bereiding/koken van etenswaren/vloeistoffen, aan dat sommige etenswaren, bijvoorbeeld puddingen, jams en Klein gehakte noten heel snel warm
worden. Bij het opwarmen of de bereiding van levensmiddelen met een hoog gehalte aan vet of suiker dient u geen plastic beholders te gebruiken.
16.- Het is möglichk dat de schalen warm worden door de warmteoverdracht van het opgewarmde gerecht. Dat is vooral het geval wanneer de plastic verpakking de bovenzijde en de handgrepen van de schaal heeft bedekt. U heeft dan een paar keukenhandschoenen nodig om de schaal te hanteren.
17.- Om brandgevaar binnen in de magnetron te beperken:
a) Bereid het eten nicht overmatig lang toe. Houd de magnetron vooral in de gaten wanner u er papier, plastic of andere brandbare materialen in geplaatst heeft om de bereiding te vergemakkelijken.
b) Verwijder de metalen sluitingen van de zakjes voordat u die in de magnetronplaatst.
c) Wanner de materialen in de oven vlam vatten, houd dan de deur van de oven gesloten, haal de stekker uit het stopcontact of onderbreek de elektrische stroom in het paneel waar zich de zekering of de automatische schakelaar bevindt.
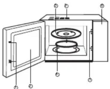
SCHEMA

1 veiligheidssluiting deur
2 kijkglas oven
3 ventilatie oven
4 draairing
5 glazen plateau
6 bedieningspaneel
BEDIENINGSPANEEL

INSTRUCTIES VOOR HET FUNCTIONEREN
1.- Basisfunctions magnetron
Met een simpele druk op de knop,kest u beginnen met koken; erg gemakkelijk en nsl om bijvoorbeeld een glas water, et cetera te verwarmen.
Voorbeeld: om een glas water te verwarmen
a) Plaats het glas water op de draaischijf en sluit de deur.
b) Druk op de knop (Start) De magnetron begint te functioneren op 100% van het vermogen gedurende 1 minuut.
c) Aan het einde werkblinken 5 pieptonen.
2.-Magnetronfunctie
Deze functie heeft twee selectiemogelijkheden
1) Snelle opwarmfunctie ( 100% van het vermogen).
Voorbeeld: opwarmen van voedingswaren op 100% van het vermogen gedurende 5 minutes.
a) Draai de knop"Tijdklok/gewicht" totdat "5:00" verschijnt.
b) Druk(Start).
2) Functie met handmatige bediening
Voorbeeld: opwarmen van voedingswaren op 70% van het vermogen gedurende 10 minutes.
a) Druk op de knop "Micro", selecteer 70% van het vermogen.
b) Draai de knop"Tijdklok/gewicht" totdat "10:00"verschijnt.
c) Druk(Start).
Er zijn 5 niveaus van vermogen en de langste opwarmtijd bedraagt 60 minutes.
| Aant. kerendrukken | Vermogen magnetron Display | |
| 1 | 100% | P100 |
| 2 | 70% | |
| 3 | 50% | |
| 4 | 30% | |
| 5 | 10% | |
- Functioneren op de lage stand:
Het functioneren op de lage stand heeft 2 niveaux:
S-1 is het krachtige niveau van de lage stand (31.25% van de warmte van de magnetron);
S-2 is het lage niveau van de lage stand (18.75% van de warmte van de magnetron).
Voorbeeld: 1 eer koken op de lage stand.
A) Druk op de toets "Laag", kies knop "S-2";
B) Draai de coderingsknop maar rechts op "1H:00";
C) Druk op de startknop.
- De langstearend voor koken op de lage stand is 3研究成果
4.- Ontdooien
Selecteer het type voedingsmiddel en gewicht en u worden automatisch geholpen het niveau van vermogen enijd in te stellen.
Voorbeeld: 0,5kg bevroren vlees ontdooien
a) Druk op dc knop"Ontdooien" om "d-1" te selecteren
b) Draai de knop"Tijdklok/Gewicht" om het gewicht van 0,5kg te programmeren.
c) Druk (Start).
Het gewicht van vlees dient hinter teijken dan 2kg
Het gewicht van vis dient hinter teijken dan 1kg
Attentie: "d-1" betekent ontdooien vlees, "d-2" betekent ontdooien vis
5.- Menu-functie
U hoefft enkel het type voedingsmiddel en gewicht te selecteren en u worden automatisch geholpen het niveau van vermogen enijd in te stellen
Voorbeeld: menu-functie voor 0,4kg vis
a) Druk op de knop "Menu-functie" om A-4 te selecteren.
b) Draai de knop"Tijdklok/Gewicht" on het gewicht van 0,4kg te programmeren.
c) Druk (Start).
Deze functie dient om enkele nuttige programma's in het geheugen op te slaan, zodat opnieuw programmeren vanijd en vermogen nicht nodig is.
a) Wanner u een programme Niet heeft opgeslagen, druk dan op "geheugen" en er zal een "1" verschijnen, voor het vermogen in en de toebereidingstijd, druk "geheugen" opnieuw in, het programme is opgeslagen. Wanner u op de startknop inplaats van de geheugenknop drukt, begint de oven te functioneren en worden het programme ook opgeslagen.
b) Wanner het geheugen al geprogrammeerd is, verschijnt na het drukken op de knop "geheugen" op de display een "1" en za de oven functioneren overeenkomstig het opgeslagen programma na indrukken van de knop "start".
Hetprogrammazaluit het geheugen verdwijnen, wanner de elektrische stroomvoorzieening onderbroken worden.
7. Schoonmaken:
Door deze functie koelen de binnenzijde van en het gerecht in de magnetron af en verdrijven de kooklucht.
Druk op de toets "Schoonmaken", de ventilator zal 1 minuut functioneren (op dat moment zal de straalbuis van de magnetron en de buis van de grill Niet werken, druk een keer, deijd van functioneren zal met 1 minuut omhoog gaan. De langste schoonmaaktijd bedraagt 15 minutes.
8.- KINDERSLOT
Druk driemaal op de knop"Pauze/Annuleren" om de functies van het apparaat te blokkeren.
Druk nogmaals driemaal op de knop "Pauze/Annuleren" om de functies van het apparaat waar vrij te gehen.
9.-Pauze/Annuleren
a) Tijdens het functioneren van het apparatus, za door een druk op de knop "Pauze/Annuleren" de oven stoppen.
b) Wanner er een programme bezig is en men drukt op start, dan zullen alle geprogrammeerde functies geannuleerd worden.
ONDERHOUD VAN DE MAGNETRON
1.- Schakel de magnetron uit en haal de stekker uit het stopcontact
2.- Houd de binnenzijde van de magnetron schoon. Wanner er zich speeters van een gerecht of gemorste vloeistoffen vastzetten aan de wanden van de magnetron, maak die dan schoon met een vochtige doek. Het gebruik van sterke reinigingsmiddelen of schuurmiddelen worden afgeraden.
3.- De buitenzijde dient te worden gereinigd met een vochtige doek. Om schade aan functionele onderdelen aan de binnenkant van de magnetron te voorkomen, dient ervoor te worden opgepast dat er geen water in de ventilaticopeningen terecht kommt.
4. Zorg ervoor dat het bedieningspaneel Niet nat worden. Maak het schoon met een zachte vochtige dock. Gebruik geen reinigingsmiddelen, reinigende schuurmiddelen of verstuivers bij het bedieningspaneel
5.- Wanner zich wasem vastzet aan de binnen- of buitenzijde van de magnetrondeur, kaak die dan schoon met een zachte doek. Dat kan gebeuren wanner u de magnetron gebruikt in situatuies met abnormaal hoge vochtigheid, maar betekent geenszins dat het apparaat Niet correct functioneert.
6.- Zo nu en dan dient het glazen draaiplateau verwijderd te worden om het te reinigen. Maak het draaiplateau schoon met warm water en zeep of stop het in de afwasmachine.
7.- De draairing en de bodemplaat van de magnetron要去 regelmatig schoongemaakt worden om overmatig lawaai te voorkomen. Maak de onderzijde van de magnetron eenvoudigweg schoon met een mild schoonmaakmiddel, water of een ruitenreiniger. De draairing kan worden schoongemaakt met water en zeep of in de afwasmachine. Door herhaaldelijk gebruik zullen kookdampen zich ophopen, maar die hebben op geen enkele wijze nadelige invloed op de onderzijde of de wieltjes van de draairing.
Wanner u de draairig uit+zijn positie verwijdert om hem schoon te make, zorg er dan voor die weer in de correcte positie terug te plaatsen.
8.- Verdrijf luchtjesuit de magnetron met een mengsel van een kopje water en het sap en de schil van een citroen in een diepe magnetronschaal; zet die gedurende vrij minuten in de magnetron. Reinig die daarna grondig en maak hem droog met een zachte doek.
9.- Wanner het nodig is het Licht in de magnetron te verrangen, neem dan contact op met uw verkooppunt.

SimpelGids