MWB23AEX - Microwaves FAGOR - Free user manual and instructions
Find the device manual for free MWB23AEX FAGOR in PDF.
Questions des utilisateurs sur MWB23AEX FAGOR
0 question sur cet appareil. Repondez a celles que vous connaissez ou posez la votre.
Poser une nouvelle question sur cet appareil
Download the instructions for your Microwaves in PDF format for free! Find your manual MWB23AEX - FAGOR and take your electronic device back in hand. On this page are published all the documents necessary for the use of your device. MWB23AEX by FAGOR.
USER MANUAL MWB23AEX FAGOR
Operating instructions 23
FRANCAIS
Read the Instructions carefully and Keep for Future Reference

SPECIFICATIONS 17L
Power consumption:
080W220-240V~50Hz,1
Output:
700W
Operating Frequency:
2,450MHz
Outside Dimensions:
592mm(W) X 350mm(D) X 390mm(H)
Oven Cavity Dimensions:
320mm(W) X 288mm(D) X 183mm(H)
Uncrated Weight:
Approx. 14.7kg
SPECIFICATIONS 23L
Power consumption:
220-240V~50Hz,1280W
Output:
800W
Operating Frequency:
2,450MHz
Outside Dimensions:
592mm(W) X 90mm(H)400mm(D) X 3
Oven Cavity Dimensions:
330mm(W) X 330mm(D) X 212mm(H)
Uncrated Weight:
Approx. 17.5kg
BEFORE YOU CALL FOR SERVICE
- If the oven will not perform at all, the display does not appear or the display disappears:
a) Check to ensure that the oven is plugged in securely. If it is not, remove the plug from the outlet, wait 10 seconds and plug it in again securely.
b) Check the premises for a blown circuit fuse or a tripped main circuit breaker. If these seem to be operating properly,
test the outlet with another appliance.
2. If the microwave power does not function:
a) Check to see whether the timer is set.
b) Check to make sure that the door is securely closed to engage the safety interlocks. Otherwise, the microwave energy will not flow into the oven.
IF NONE OF THE ABOVE RECTIFIES THE SITUATION, THEN CONTACT THE AUTHORIZED SERVICE AGENT.
Note:
The appliance is for household use for heating food and beverages using electromagnetic energy and for indoor use only.
RADIO INTERFERENCE
Microwave oven may cause interference to your radio, TV, or similar equipment. When interference occurs, it may be eliminated or reduced by the following procedures.
a. Clean the door and sealing surface of the oven.
b. Place the radio, TV, etc. as far away from your microwave oven as possible.
c. Use a properly installed antenna for your radio, TV, etc. to get a strong signal reception.
INSTALLATION
- Make sure all the packing materials are removed from the inside of the door.
- Inspect the oven after unpacking for any visual damage such as:
Misaligned Door
Damaged Door
Dents or Holes in Door Window and Screen
Dents in Cavity
If any of the above are visible, DO NOT use the oven.
- This Microwave Oven weighs 17.5kg and must be placed on a horizontal surface strong enough to support this weight.
- The oven must be placed away from high temperature and steam.
- DO NOT place anything on top of the oven.
- DO NOT remove the turn -table drive shaft.
- As with any appliance, close supervision is necessary when used by children.
WARNING-THIS APPLIANCE MUST BE EARTHED.
- The plug socket should be within easy reach of the power cord
- This oven requires 1.3 KVA for its input. consultation with service engineer is suggested when installing the oven.
CAUTION:This oven is protected internally by a 250V, 10 Amp Fuse.
IMPORTANT
The wires in this mains lead are coloured in accordance with the following code:
Green-and-yellow : Earth
Blue : Neutral
Brown :Live
As the colours of the wires in the mains leads of the appliance may not correspond with the coloured markings indentifying the terminals in your plug, proceed as follows:
The wire which is coloured green-and-yellow must be connected to the terminal in the plug which is marked with the letter E or by the earth symbol coloured green of green-and-yellow.
The wire which is coloured blue must be connected to the terminal which is marked with the letter N or coloured black.
The wire which is coloured brown must be connected to the terminal which is marked with the letter L or coloured red.
IMPORTANT SAFETY INSTRUCTIONS
-WARNING: When the appliance is operated in the combination mode, children should only use the oven under adult supervision due to the temperatures generated; (Only for the model with grill function)
-WARNING: If the door or door seals are damaged, the oven must not be operated until it has been repaired by a competent person;
-WARNING: It is hazardous for anyone other than a competent person to carry out any service or repair operation that involves the removal of a cover which gives protection against exposure to microwave energy;
-WARNING: liquids and other foods must not be heated in sealed containers since they are liable to explode.
-WARNING: Only allow children to use the oven without supervision when adequate instructions have been given so that the child is able to use the oven in a safe way and understands the hazards of improper use;
- The oven must have sufficient air flow. Keep 10cm space at back; 15cm at both sides and 30cms from top of the oven. Don't remove oven's feet, do not block air events of the oven.
- Only use utensils that are suitable for use in microwave ovens.
- When heating food in plastic or paper containers, keep an eye on the oven due to the possibility of ignition;
- If smoke is observed, switch off or unplug the appliance and keep the door closed in order to stifle any flames;
- Microwave heating of beverages can result in delayed eruptive boiling, therefore care must be taken when handling the container;
- The contents of feeding bottles and baby food jars shall be stirred or shaken and the temperature checked before consumption, in order to avoid burns;
- Eggs in their shell and whole hard-boiled eggs should not be heated in microwave ovens since they may explode, even after microwave heating has ended;
- When cleaning surfaces of door, door seal, cavity of the oven, use only mild, nonabrasive soaps, or detergents applied with a sponge or soft cloth.
- The oven should be cleaned regularly and any food deposits removed;
- Failure to maintain the oven in a clean condition could lead to deterioration of the surface that could adversely affect the life of the appliance and possibly result in a hazardous situation;
- If the supply cord is damaged, it must be replaced by the manufacturer, its service agent or similarly qualified persons in order to avoid a hazard.
SAFETY INSTRUCTIONS FOR GENERAL USE
Listed below are, as with all appliances, certain rules to follow and safeguards to assure top performance from this oven:
- Always have the glass tray, roller arms, coupling and roller track in place when operating the oven.
- Do not use the oven for any reason other than food preparation, such as for drying clothes, paper, or any other nonfood items, or for sterilizing purposes.
- Do not operate the oven when empty. This could damage the oven.
-
Do not use the oven cavity for any type of storage, such a papers, cookbooks, etc.
5.Do not cook any food surrounded by a membrane, such as egg yolks, potatoes, chicken livers, etc without first being pierced several times with a fork. -
Do not insert any object into the openings on the outer case.
- Do not at any time remove parts from the oven such as the feet, coupling, screws, etc.
- Do not cook food directly on the glass tray. Place food in/on proper cooking utensil before placing in the oven.
- IMPORTANT-COOKWARE NOT TO USE IN YOUR MICROWAVE OVEN
Do not use metal pans or dishes with metal handles.
Do not use anything with metal trim.
Do not use paper covered wire twist-ties on plastic bags. Do not use melamine dishes as they contain a material which will absorb microwave energy. This may cause the dishes to crack or char and will slow down the cooking speed.
Do not use Centura Tableware. The glaze is not suitable for microwave use. Corelle Livingware closed handle cups should not be used.
Do not cook in a container with a restricted opening, such as a pop bottle or salad oil bottle, as they may explode if heated in a microwave oven.
Do not use conventional meat or candy thermometers. There are the thermometers available specifically for microwave cooking. These may be used.
- Microwave utensils should be used only in accordance with manufacturer's instructions.
- Do not attempt to deep-fry foods in this oven.
- Please remember that a microwave oven only heats the liquid in a container rather than the container itself.Therefore, even though the lid of a container is not hot to the touch when

FEATURE DIAGRAM
removed from the oven, please remember that the food/liquid inside will be releasing the same amount of steam and/or spitting when the lid is removed as in conventional cooking.
13. Always test the temperature of cooked food yourself especially if you are heating or cooking food/liquid for babies. It is advisable never to consume food/liquid straight from the oven but allow it to stand for a few minutes and stir food/ liquid to distribute heat evenly.
14. Food containing a mixture of fat and water, e.g.stock,should stand for 30-60 seconds in the oven after it has been turned off. This is to allow the mixture to settle and to prevent bubbling when a spoon is placed in the food/liquid or a stock cube is added.
15. When preparing/cooking food/liquid and remember that there are certain foods, e.g. Christmas puddings, jam and mincemeat, which heat up very quickly. When heating or cooking foods with a high fat or sugar content do not use plastic containers.
16. Cooking utensil may become hot because of heat transferred from the heated food. This is especially true if plastic wrap has been covering the top and handles of the utensil. Potholders may be needed to handle the utensil.
17.To reduce the risk of fire in the oven cavity:
(a)Do not overcook food. Carefully attend microwave oven if paper, plastic, or other combustible materials are placed inside the oven to facilitate cooking.
(b) Remove wire twist-ties from bags before placing bag in oven.
(c) If materials inside the oven should ignite, keep oven door closed, turn the oven off at the wall switch, or shut off power at the fuse or circuit breaker panel.
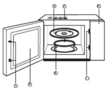
(1) Door Safety Lock System
(2) Oven Window
(3) Oven Air Vent
(4) Roller Ring
(5) Glass Tray
(6) Control Panel
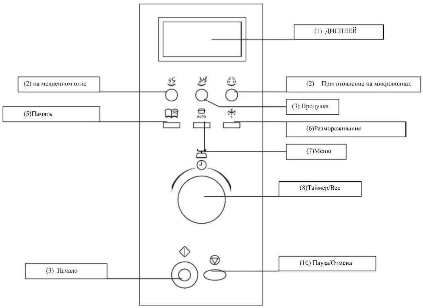
COMPUTER CONTROL PANEL

Operation Instruction
1.Single Button Heating
Only with a single press of a button, you can start simple cooking, it is very convenient and quick to heat a glass of water etc.
Example: To heat a glass of water
a) Put a glass of water onto the glass turntable, and close the door.
b) Press the button "Start", the microwave oven will work on 100% power for 1 minutes.
c) You will hear 5 beeps when cooking is complete.
2.Microwave Heating
This function has two options.
1) Quick microwave heating (100% power)
Example: to heat food on 100% power for 5 minutes
a) Rotate the knob "Time setting. Weight" to until "5:00" displayed.
b) Press "Start".
2) Manual-operation microwave heating
Example:To heat food on 70% power for 10 minutes
a) Press "Micro" button, select "70%" power;
b) Rotate the knob "Time setting. Weight" to until "10:00" displayed.
c) Press "Start".
There are 5 power levels and the longest microwave heating time is 60 minutes.
| Touching times | Microwave power | Display |
| 1 | 100% | P100 |
| 2 | 70% | P70 |
| 3 | 50% | P50 |
| 4 | 30% | P30 |
| 5 | 10% | P10 |
- Slow fire cooking:
The slow fire cooking include 2 grades:
S-1 is powerful grade slow fire (31.25% microwave fire); S-2 is weak grade slow fire(18.75% microwave fire).
Example: To cook food on weak slow fire for 1 hour.
A) Touch "Slow" button, select "S-2" button;
B) Turn encoder switch right to "1H:00";
C) Push the start button.
- The longest slow fire cooking time is 3 hours.
4.Auto weight defrost
Select the food type and weight, it will automatically help you to adjust the power level and time. Example: defrost 0.5kg frozen meat.
a) Press the button "Auto defrost" to choose "d-1".
b) Rotate the knob "Time setting.Weight" to set the weight 0.5kg.
c) Press "Start"
The weight of meat must be less than 2kg
The weight of seafood must be less than 1kg
Note: "d-1" means defrosting meat, "d-2" means defrosting seafood.
5.Auto-menue
You only need to select the food type and weight, it will help you to automatically adjust the power and time.
Example: Auto cooking 0.4kg fish
a) Press "Auto menu" button to choose A-4.
b) Rotate the knob "Time setting. Weight" to set weight 0.4kg.
c) Press "Start".
kg
| Weight Menu Touching Times | A-1 | A-2 | A-3 | A-4 | A-5 | A-6 |
| Auto Reheat | Vegetable | Noodles | Fish | Meat | Bread | |
| 1 | 0.1 | 0.1 | 1PC | 0.2 | 0.2 | 0.1 |
| 2 | 0.2 | 0.2 | 2PC | 0.3 | 0.4 | 0.2 |
| 3 | 0.3 | 0.3 | 0.4 | 0.6 | 0.3 | |
| 4 | 0.4 | 0.4 | 0.5 | 0.8 | 0.4 | |
| 5 | 0.5 | 0.5 | 0.6 | 1.0 | 0.5 | |
| 6 | 0.6 | 0.6 | 0.8 | 1.2 | ||
| 7 | 1.0 | 1.5 | ||||
| 8 |
6. Memory cooking function:
This function can memorize some useful cooking programs to avoid resetting time and power operation.
a) If no memory has been set press "memory" "1" will be displayed, input cooking power and time, press "memory" again, the set program will be menorized. If you press "Start" instead of "menory" button, the oven will start work, and the program also will be menorized.
b) It there is any memory has been set already, when you press "menory" button, "1" will be displayed, the oven will operate according to the memorized program after you press "Start" button.
The progrume will not be kept when the electricity is off.
7. Clear:
This function can make the cavity and food cool, and get rid of the smell of cooking.
Touch"Cooling / Fresh air" button, the fan will run 1 minute (at this time, microwave tube and grill tube won't work), push once, the time of fan running will increase 1 minute. The longest clear time is 15 minutes.
- Child-safety-lock
Press "Pause/Cancel" three times to lock the machine.
Press "Pause/Cancel" three times again to unlock the machine and to recover operation functions.
- Pause/cancel
a) In the course of operation, pressing "Pause/Cancel" button will stop operation.
b) If any program was set before, pressing start, pressing this button will cancel all the set program.
- Turn the oven off and remove the power plug from the wall socket before cleaning.
- Keep the inside of the oven clean. When food splatters or spilled liquids adhere to oven walls, wipe with a damp cloth. The use of harsh detergent or abrasives is not recommended.
- The outside oven surface should be cleaned with a damp cloth. To prevent damage to the operating parts inside the oven, water should not be allowed to seep into the ventilation openings.
- Do not allow the Control Panel to become wet. Clean with a soft, damp cloth, Do not use detergents, abrasives or spray-on cleaners on the control Panel.
5.If steam accumulates inside or around the outside of the oven door, wipe with a soft cloth. This may occur when the microwave oven is operated under high humidity conditions and in no way indicates malfunction of the unit. - It is occasionally necessary to remove the glass tray for cleaning. Wash the tray in warm sudsy water or in a dishwasher.
- The roller ring and oven cavity floor should be cleaned regularly to avoid excessive noise. Simply wipe the bottom surface of the oven with mild detergent, water or window cleaner and dry. The roller ring may be washed in mild sudsy water or sish washer. Cooking vapours collect during repeated use but in no way affect the bottom surface or roller ring wheels.
When removing the roller ring from cavity floor for cleaning, be sure to replace it in the proper position.
- Remove odors from your oven by combining a cup of water with the juice and skin of one lemon in a deep microwaveable bowl. Microwave for 5 minutes, wipe thoroughly and dry with a soft cloth.
- When it becomes necessary to replace the oven light, please consult a dealer to have it replaced.

WAARSCHUWING-DIT APPARAAT DIENT GEAARD TE WORDEN
TEXHINUeCKHEXAPAKTEPNUCTIKN17JNTpa
IopTe6JIeHHe 3Heprn: 220-240B\~50Tt,1080BT
BbIXoJHaMoUHocTb: 700BT
Paboya yacota: 2,450 MfU
BHeIIHHe pa3MepbI: 592 MM (IIIInpHa) x 350 MM (TJy6Ha) x 390 MM (BbICota)
Pa3MepbI POJIe3HOrO IpocTpaHcTBA 320 MM (IIIInpHa) x 288 MM (TJy6Ha) x 183 MM
(Bbicota)
Bec HeTTO: Ipn6JIH3HTeJIbHo 14,7 K
TEXHINUeCKNE XAPAKTEPNCIKN 23 JInTp a
IopTe6JIeHHe 3HeprHH: 220-240B 50 T1,1280 Br
BbIXOJIHa MOnIHHocTb: 800BT
PabochayacToTa: 2,450 MΓu
BHeIIHHpe pa3MepbI: 592 MM (IIHoo) x MM (TJy6Ha) x 3 MM
(Bbicota)
Pa3MepbI POJIe3HOrO IpoocTpapHCTBa
IIeHu: 330 MM (IIIInpHa) x 330 MM (TJy6Ha) x 212 MM
(Bbicota)
Bec HeTTo: Ipn6JIN3HTeJIbHo 17,5 K
IIEPEI TEM KAK IIO3BOHHTB CEPBNCbI LCEHTP
1.-EcIINIIeYbHe pa6oTaET,INcIIeN3aropaetcaHIn He 3aropaetca:
a) Y6eHNTecb, YTO Neyb IpaBnJIbHO IOKJIOueHa. EcJIN Neyb IOKJIIOyeHa HeIIpaBnJIbHO, OTKJIOHTe ee, IOIOJKIHTe 10 MHHyt n CHOba IOKJIOHTe ee, cJeJa 3a IIpaBnJIbHOCTbIO.
b) Y6eIHTecb, YTO HNKaKoI IpeIOxpaHHTeJIb B IeHN He IpeeropeJI, HJN YTO He BBIIeJI H3 cTPO KaKoI-HNoBdIb IpeKJIIOuAteJIb B rJaBHOI IeHN. EcJIN BCE B HopMe, IPOBepbTe HCTOuHHK IHTaHnI, IODKJIIOUHb K Hemy dpyrO IIpH6Op.
2.-EeJIH He HJET Tok CBU:
a) Y6eIHTecb, YTO TaIMeP 3aIpOpaMMHPOBaH.
b) Y6eIHTecb, YTO IBePua IIeH NpapBnIbHO 3aKpbIta, TaK YTO6bI HMeJIO MecTo coeINHeHne 6IOKpOBOuHbIX KOHTaKTOB. B IpoTHBHom cJIyuee 3HeprH MaNKpOBoJH He 6yET pacIipocTpaHrTbcR B IIeH.
ECJIN HN OJHA H3 YKA3AHHbIX MEP HE IIPBODHT K ICHPABJEHHIO CHTYAUHN,OBPATNTECb K IPECTABNTEJIIO CEPTNUHUNPOBAHHO CEPBNCHOUEHTPA
IIpHmecaHHe:
Hactoian np6op npHa3hae HnHcnoIb30BaHHB DOMaHHx ycIOBHX nClykHT dHarpBeAHn npOyKTOB HHTAHN H HAnHTKOB C HOMOIIbO 3JKeKtpomarHHTHO HeepHH. Hactoian np6op doJIkeH HcnoIb30BaTbC8 ToJbKO BHyTpH NOMcHHeH.
PAДИОПOMEXN
MnKpOBoJHOBaa NcYb MoXcT BbI3bIbTaB NOMexN B pa6oTe paJIHO, TcJIeCBH3Opa HJIH IO6HOro O6OpyIOBaHHa. Bo3HnKaIOIIne NOMexN MOxHO yCTpaHHTb HJIH yMeHBIIHTb, CJeJyra HIXkeyka3aHHbIM HHCTpyKIIHM:
a.-IpoTpHTe IBePHTy HIOBepXHocTB PeTeJIb IBePcIb Neu.
b.- YcTaHOBHTe paJINO, TeJIeBn3Op H T.II. KaK MoKHO JaJIbIIe OT MHKPOBOJIHOBOI NeuN.
c.- IcnoJIb3yIte npaBnIbHO yCTaHOBJeHHyO aHTeHHy IJIa BaIIeRo paIHO, TeJIeBN3opa H T.II. IJIa IIpHema 6OJIee yCToHNBORO cHrHaJa.
YCTAHOBKA
1.-Y6eHTecb,TO BCE 3JIeMeHtbl yIaKOBKn H3 IIeHN yJaJIeHbI.
2.-IocJIe pacIIaKOBKn OcMOTpHTe IIeYb c IIeJIbIO ObHApJxKeHHN BO3MOXHbIX IeΦeKTOB, TaKnx KaK:
HepOBHaJ IBePua.
IobpeKdHnHa IBePua.
BMRHbI HJIN OTBepCTH B OKHe DBepuHJIN DHCJIJe.
BMRHbI B IOIOCT Nneu.
B cIyue BbIBJIeHn IIO6Oro H3 IpeuHcJIeHHbIX DeΦeKToB HE IHCIOJIb3YIHTE IIeYb.
3.-Данная МИКрОВЛНовая ПЕч ВecHT 17,5 К И ДОЛЖа уСТаHаВЛиВаТьсЯ Ha
ГорИЗоHTaJIbHой ПОБерхноCTN,ДОСТаTOUHO ПОЧИО,ЧТОБы BыДeржаТь ВEC ПЕИ.
4.-IeYb cJIeJyET yCTaHaBJIHBaTb BdaJIN OT HCTOuHHKOB BBICOKHX TeMIIepaTyp n npapa.
5.-HEpacnoJaaraIte HnyeoHaBepxHeuacThneu.
6.- HE cHmMaTe BaJI DnRatJIbPaIaIOIeOcI NOHOca.
7.- KaK H B cJIyuae IpyTHX IIpH6OpOB, HcIIIOJIb3OBAHHe IIeHN IeTbMn IOJIJxHO IIPOHCxoIHTb IIOI IIpHcMOrPOM B3pOcJIbIX.
BHIMAHNE: HACTOIII INIINBOP IOJIIXEH bITb IIOIKJIIOUeyH K 3A3EMJIEHHIO
1.-IcToHHK TOKa IIOJIkeH HAXOINTBcpaIOM CO IIHHyPOM IIHTaHnI NeuN.
2.-IJIa HAcToaIeI NeuH Tpe6yEtc HCTOuyHK IITaHnHa, paccHTraHHbI Ha MOIIHOCTb
1,3 KB*A. Ipn yctaHOBKe neu peKOMeHdyetc o6paHTbcB B cepBnCHbI ueHTp.
3AMEUAHHE: NaCTOaJa Pecb BHyTpeHHe 3aIiIeHa c IOMoIbIO IppeIOxpaHITeJI Ha 10 A, 250 B.
BHIMAHHE
IpoBOna rJiaBHoro Ka6eJn HMeOT IBeTa corJIaCHO HnKeyKa3aHHOMy KOJy.
3eJIeHbI H JKeJITbIb: 3eMJIa
CHHH:HeITpaJIbHbI
KopHHeBbI: 法a3a
B cIyuae ecJH IIBeTa IIPOBOIOB IJIaBHOrO Ka6eJIg IIpH6opa He COOTBeTCTBYOT IIBeTOBbIM MTeKam, OIIpeJIeJIHOIIHM IOJIHoca B BaIIeM HCTOCHKe IHTaHH, CJeIyIte HINKeyKa3aHHbIM HNCTpyKcHm:
IIpoBOJ XeJIToI O H 3eJIeHOrO IBeTa IoJIKeH 6bITb IIOJIIOUcEH K BBIOy pO3eTKN, OTMcueHHOMy 6yKBoI E HIN IocpeCTBOM cHMBOJa 3a3eMJIcHnra 3cJIeHOrO H XeJIToI UBeTa.
IpoBoI cHcero IBCTa IOJIKeH 6bITb IOIKJIIOUeH K BBIOy, OTMcueHHOMy 6yKBOI N HJIu YepHbIM UBeTOM.
IIpoBOJ KOpHHeBOTo IBeTa IOJIKeH 6bITb IIOIKJIIOUeH K BBIBOJy, OTMeueHHOMy 6yKBOJ L HJN KpaChbIM IBeTOM.
BAKHBIEMEPBIBE3OIIACHOCTI
-BHIMAHHE: EcJn IBepua HJN IeTJN IBepuBip IOBpeKJeHbI, NeYb He JIOJXHa HCIOJIb3OBaTbcra IO Tex IOp, IOKa He 6yEt IIPOH3BeJeH peMOHT KBAJIHΦIIHpOBaHHbIM CneUHaJIHCTOM.
-BHIMAHHE:JIJIIO6OHO HeIOIROTOBJIeHHoro YeIOBeKa OIIaCHO IIPOHN3BOJNTb OIEpaunn IIO OBCJyKHBaHHIO HJIN pEMOHTy, CB83aHHbIe CO CHrTHem KOxyxa, 3aIIuHaIOUeO OT BO3JeCTBna 3HeprHm MHKpOBJH.
-BHIMAHHE: IpoIyKbI IN JHKocTH He cJIeJyET pa3OrpeBaTb B 3aIeYaTaHHbIX cocyJax, TAK KAK OHN MOrTy B3OpBaTbcra.
-BHIMAHHE: 3aippeaaetc HcnoJb3OBAHHe Neu NTeBm6e3 npncMOtpa B3pocJIbIX, 3a HckJIIOueHHem cIyuaEB, KOrJa DeTAM NepeJahbI COOTBeTCTByIOUHe HHCTpyKUNN IO 6e30nacHomy HCNOJB3OBAHNo Neu, BKIOUay pa3bAcHeHne pNCKOB, BO3HNKaIOHX IIprn HeIIpaBHJbHOM HCIOJB3OBAHNN IIpH6opa.
-ПeчьdoJIXHa doCTaTOUHbIM o6pa3OM BeHTHInpOBAtbc.О6ecIeYbTe HaJIINHcB6oJHOro IIpoctpaHCTBa -10 cm OT 3aJHeN cTeHKn,15 cm OT 6OKOBbIX cTeHOK H 30cm OT BcpxHcN CTeKn. He n3BlcKaIte OIIOpbI N3 IeHN, He 3aKpbIbAITc BBIXOJIbBO3dYxa H3 IeHN.
- IcnoIb3yIte TOJIbKO IocUy, npncIOco6JIeHHyU dIJIa MHKPOBOJHOBbIX Neuei.
-BoBpeMa pa30rpeBaHHnI pOdyKTOB B IJIaCTHKOBbIX HIN 6yMaJXbIX cocCyJax, BHMaTeJIbHO cJIeIHTe 3a IIeYbIO BBHy HaJIInHn PAHcKa BO3rOpAHnI.
-Прн ПОЯВЛЕСИДыма ВБКЛЮЧNTe Ппбор ИИН OTCOСДИНHTe CRO OT cETH N yДерЖИВайтдверцу 3aKpbITOnс TEm,чTO6blI NGaCHTb BO3MOJXHoe Пламя.
-ЖнДКОCTH, pa3OrpeBaembie c ПOMOIIbIO MHKpoBOJIH, MOrY T 3aKNIIaTb IocJIe BbIKIIOUeHn IeHn, IIo3TOMy CJIcIyET IpOraBJIaTb OCTOpOxHOCtB IIpr N O6paIeHHN C COcyIaMn C JHДKOSTAMN.
-Bo n36cKaHHe oKOrOB, coIepKHMoe KpyKeK H 6yTbIIOueK COCKoI IepeYIIOTepe6JIeHHem CJIeDyET IepeMeHaTb HJIN B36OJIaTb IIJI OIIpeDeJIeHHa TeMIIpeaTypbl.
- He πρησταβλινBaHTe λημα B cκορλιγίε έν Ε He BapHTe λημα B MHKpOBOJIHOBbIX ένχα, TAK KαK OΗ N ΜΟγT B3OPBaTbÇ - Ααχke ΠΟςλΕ ΚΟΥΑΗΝΑ ḤαρρεΒaΗΝΑ MHKpOBOJIHOBθ ένχι.
-ПичNTke IOBepxHOCTH IBCPbI,пeТь IBCPbI, ПОLOCTпЕн HcIOJIb3yHTe TOJIbKO MЯгКHe Hea6pa3HBHbIe MOIOUHe cpeICTBa HJN ChCTaIIne cpeICTBa, KOTOpbIe HYKHO HaHOCHTb C IIOMOIIbIg rY6KN HJN MЯrkOToHKoI ToHKoI IIIepCTaHOr TkaHn.
- IIeYb cJIeIyEt peryIyIaIpHOMbITb, BCE ocTAtKN IpoIyKTOB cJIeIyEt ydaJIaIb.
- He IIeepKaHHe Neu B HaJIeKaIIHX TnHHeHHueckNX ycIOBHX BJIeHT IOpCy ee IOBepXHOCTH, YTO MOKeT HeaTHBHO IOBJIaHTb Ha cPOK 3KcIIJyataHH INpH6Opa, a TAKKe IIOBJIeYb IIoABJIeHne pNCKOB.
- EcJH IIHHp IHTaHnI IOBpeKJeH, OH JOJIKeH 6bITb 3aMeHeH H3ROTOBHTeJIem, eRO IIpeIcTaBHTeJIem JIN60 cIIeIIHaJIHCTaMn C HAJIeKaIeH IIOIROTOBKOI BO H36eKaHHe pNCKOB.
OBIIIE HNCTPYKUNIIO BE3OJIACHOCTN
Hnke npHBeIeHbI HeKOTOpBie HOpMbI N Mepbl, KOToPbIM HyXHO cJIeIOBaTb IJIa oBeCneueHnMaKcHMajlbHo 0f0fKeKTHBHO pa6oTbI DaHHO Neu:
1.- Bo BpempaobtI NeuC TeKJIaHHbI NOHoc, BpaIIaHOIIeecr OCHOBaHHe H POJHKOBa IIOCTaBka IOJIKHbI 6bITb IIpaBNIbHO yCTaHOBJieHbI.
2.- He nHIOJIb3yIte NeYB IeJAX, OTJINuHbIX OT IIpHrTOBJIeHHa IIuH, TaKHX KaK cyIIka OdeKdIbI, ByMaHn HIn dpyTHX IIpeIMeTOB, He YBJIaHOIIHXcI pOdyKTAMH IIHTAHN, a TAKKe IJIa CTePHJIN3aIIHN.
3.- He IOnyckaIte pa6Ory neu, KOrda OHa IpyTa. 3To MoKeT IOBpeIHTb IIeYb.
4.- He HcIIb3yIe IIIOocTb IIeHN IJIa XpaHeHn BeIeN, TaKHX KaK 6ymarH, IOBapeHHbIe KHNr N T.I.
5.- IpoJyKtI, NOKpbITbIe OboIOUcKO, TaKHe KaK YnHbI JKeJIToK, KApToΦeJIb, KypHHyIO NeueHb H T.D. CJIeDyET PnHrOtaBJIHBaTb, TOJIbKO IIpeIbApaHTeJIbHO IIpOTKHyB INX HeCKoJIbKO pa3 BnIKoN.
6.- He BCTaBJIaIe HNKaKHX IIpeIMeTOB B OTBepCTH BHeIIHeRo Kapkaca.
7.- He n3BJIeKaITe n3 NeuH HnKaKHX JeTaJIeH, TaKHX KaK OIIOpbI, coeINHHTeJIbHbIE MyΦTbI, BnHTbI n T.I.
8.- He IIprHrOToBJIHBAIte IINIIy HEnIOcpeIcTBeHHo Ha CTeKJIaHHOM IOdHOce. IOMeIaIte IPOJyKbI B CIIeIHaJIbHO IpcIHa3HaueCHHyIO NocUy, IpeI TcM KaK pa3MeCTHTb Hx B IIeYH.
9.- BHIMAHNE: IOCSYDA, KOTOPA HE IOJIXHA ICHIOJIb3OBATbCRA B MKNPOBOJIHOBOI PEH
He HcIOJIb3yIte MeTaJIINueCKne KacTpIOJIH IJIN TapeJIKN c MeTaJIINueCKHMn pyKamN. He HcIOJIb3yIte NocUy c MeTaJIINueCKHMn 06OJkAMN.
He HcIOJIb3yIte IIaCTHKOBbIe IaKeTbI c MTeJIHueCKHM 3aCTeKkAmH, IOKpbITbIMN 6yMaRoI.
He HcnoJb3yIe TapeJIKN H3 MeJAmHHa, TaK KaK OHN coJePkaT MaTePnaJI, IIOJIooIoun 3HeprHIO MHKPOBOJH. 3TO MoKe TpHBecTH K O6pa3OBAHHIO TpeuHH N O6yIINBaHHIO TapeJOK, a TaKKe K 3aMeJIIeHHIO cKOpocTH IIpHrOTOBJIeHH.
He nCIOJIb3yIte IocuIy MapKn "Centura Tableware". CTeKJIo He nOJXoIHT JIIa HcIOJIb3OBaHH B MHKPOBOJIHOBbIX Neayx. He cJIeIyET HcIOJIb3OBaTb YaIiKN MapKn "Corelle Livingware" c 3aMKHyToI pyUKOI.
He IINrOraBJIHbAaTe IIIHy B cocyJax C MaJIbIM BXoIHbIM OTBepCTHeM, TaKHX KaK IIJaCTHKOBbIe 6ytblIKn HJIn 6ytblIKn JJIaTHORO paCTHTeJIbHOro MacJia, TaK KaK OHN MOrYt B3pbIbTaBCa IIpH HaPeBaHH B MHKPOBOJIHOBOI IIeH.
He nCIOJIb3yIte o6bIuHbIe TepMometpI IJIa H3MepeHnA TeMIIEpaTypbI TeJa, HN DeKopaTHBbIe TepMometpI. CyIeCTByOT TepMometpI, cIeUHaJIbHO IpeJHa3HaueHHbIe IJIa MHKPOBOJIHObIX Neuei, KOToPbIe MOxHO HCIOJIb3OBAtB IIpr HIIrTOBJIeHH.
10.- CJIeIyET HcnoJb3OBA Tb TOJbKO cocyIbI, IpeHa3HaueHHbIe IJIa MHKpOBOJIHOBbIX NeeuH, corJaCHO HHCTpyKUHM H3ROTOBHTJI.
11.- He nbitaTecb Japntb npdykTBi Ha n36bItoHOM KOJIInueCTBe MacJla B daHHoH neu.
12.-IOMHHTe,TO MHKPOBOJHOBAI NeYb HArpeBaET KNDKOCTB B COCyTe 60JIbIIe, Yem cam cocuyI. IIO3TOMy, DaKe ecJN KpbIIka cocUa He TOpayar IIpN IIpHKOCHOBENK HcN B MOMeHT N3BJIeueHHN H3 IIeYn, IOMHHTe, YTO IIpoJyKT/KNDKOCTB IIpN CHrTHN KpbIIKN 6yJeT NCIpyCKaTb TO Ke KOJIInueCTBO Iapa H/IN pa3OpbI3RNaTbCraTak Ke, KaK N B CJIyae TpaINuOHHO TpHrTOBJIeHHN.
13.- BcerIa npOBepaTe camn Tempeatpy npHrTOabJIHbAcMOI INHI, Oco6eHHO ecJIN Bby pa3orpeBaete HIN npHrTOabJIHbAte IpoJyKtBJ/KNIOKCTN IIJRA MaJIeHbKHX DeTei. PekomeHJyETcH NIKoTJa He Ipo6oBaTb IpoJyKtBJ/KNIOKCTH HeIIocpeCTBeHHO H3
IeH, a OCTaBHTb Hx Ha HeCKOJIbKO MmHyT I IepMeIIaTb IPOJyKTbI/JKIOKcTH NJIpaBHomePHO paCppeJeHnra TeJIa.
14.- PpOdyKTbI, coJIepKaIIHc CMEcb Jn H BOJIbI (HaIIpHMeP, 6yJbOH), cJIeIyET OCTaJIbIaTb B IeHN Ha 30-60 ceKynI IocJIe ee BbIKJIIOUeHn. 3To IIO3BOJInr CMEcH OceCTb, a TaKKe H36eXaTb KIIeHnI Ipr NOMeIeHnB IIpoDyKT/IXNkOcTB JIOxKN HJIN IprN IO6aBJIeHHN 6yJIbOHHO KyOHa Ka
15. -ПрипригOTOBJIeHHBapKe ПОДУКТa/ЖИДКОCTH ПOMHHTe,ЧTO ecTb HeKOTOpbIE BnIbI 6JIIOI,HaIIpHmep pOJDECtBcHcKHIpyIHr,MapMcJIaI, H3McJIbUcHHeC cyXoФpyKbI, KOTOpbIe 6blcTpo HaRpeBaOTcI.ПriN pa3OrpeBaHHH JIN ПRIgOTOBJIeHHN IIPOДYKTOB C BBICOKHM COJIepKaAHHeM JHPa HJIncaxapa He HcIIIOJIb3yHTe IIJaCTMaCCOBYIO NocuIy.
16.- CocyIbI MOrYT HArpeBaTbcr BcJIeIcTBHe IpeJaHr TeIIJa oT pa3OrpeBaemorIO npOyKra. B Oco6eHHocTH 3TO IIpoHcXoJNT, KOrla IIaCTHKOBa OBepTKa IOKpbIBaET BcpxHIOU qAcTb HpyKn cocCyHa. B 3TOM cJIyuae IJIa IpeMeIeHNr COcyJa HEO6xOIMHO HCIOJIb3OBaTb KxyOHHbIe pyKaBnIbI.
17.-IJIa cHJKeHHa pNcKa BO3rOpAHn B IIOIOCTH IIeHN:
a) He IIepeKapHbAitte IIpoIyKTbI. BHHMaTeJIbHO cJIeIHTe 3a IIeYbIO, ecJIN BHyTpB ee 6blIIN IOMeIIeHbI 6yMaIa, IIaCTMacca HJIN IpyTHe BOCIIaMeHraIOIIHeCRA MaTePHaJIbIC 1eJIbIO yCKOpEHnI prNFOTOBJIeHNIA.
b) YdaJIHTe MeTaJIINueckHe 3aTeKKn C IIaKeTOB IepeTc KAK IOMecHTb IIaKeT B IIeYb.
c) EcJH IIPOH3OIIIO BO3ROPaHHe MaTePHaIIOB BHyTpN IeH, yIepKHBaIte IBepeu IeH 3aKpbIToI, OTKJIIOHTe IeYb OT ceTH HJIN OTKJIIOHTe TOK Ha IaHEJIN, rIe paCIOJOKeH IpeDOxpaHHTeJIb HJIN aBTOMaTHueckn BBIKJIHOaTeJIb.
CXEMA

(1) CnCTema IIpeIOxpaHHTeJIbHoTo 3aKpbITHaDbepu
(2) OkHO nenu
(3)BeHTnJIaHIOHHbIe OTBepCTHn IeHN
(4)BpaIIaIOIIeecsOCHOBaHHe
(5)CTeKJIaHHbI IIOJHOC
(6)IIyIpaBJIeHHa
IIAHEJIb YIIPABJIEHHIA

HHCTPYKUINIIO NCIIOJB3OBAHNIO
1.- Ba3OBaA ΦyHKUHg IPhrTOBJIeHHHa MhKpOBOJIHax
OHHM HaKaTHem KHOIIKN BbI MoKTe HaaTb rTOBHTb. 3Ta yHKUNr OueHb yIO6Ha IJI bIcTpOr pa3oRpeBa cTaKaHa BOJI H T.I.
PnHMepe:TO6bpa3oRpTe bCTaKaH BOJIb
a) YcTaHOBHTe CtaKaH C BoIOH Na BpaIaIOIIHc IIOJHoc H 3aKpOHTe IBePuy.
b) HaKMnTe KHOIIky («Haayao»), MKNPOBOJIHOBAЯ Neub NaHHeT pa6oTaTB ha 100% MOIINOCTH B TeueHne 1 MNHyTBI.
c) _0 3aBepHnH npo3Byuat 5 TOHKHX cHrHaIOB.
2.-Функципг�OTOBJIeHHЯHaMHKpoBOJIHAX
JaHHa yHKnHa HMeet IBa peKHa
1)ФункцябьICTpoTo pa3OgpeBa( 100% MOUHOCTH).
IpiHMeP: pa3oRpeTb npOyKTBi pRn 100% MOIIHOCTB TeueHHe 5 MHHyT.
a) ПоворачиBaйт e руку («Taufep/Bec») до tex по, пoka на диспjee He повпся "5:00".
b) HaKMnTe KHOIIKy («HaayaoI»).
2)Функияс руньим упраВленем
IpHMeP: pa30rpeTb npOyKtB IIpn 70% MOIIIOHOCTH B TeueHHe 10 MHHyT.
a) Haxmnte KhoNky "Micro" («IpuZomO6JIeHue Ha MukpoBoHax»), BbI6epnte 70% MOUHOCTH.
b)ПоворачнБаitepyку(«Taufep/Bec»)ДоTeXпор,пOKаНдИСПЛeeHc ПОЯВИТСА“10:00”
c) HaKMnTe KHOIIKy («Haayao»).
ImeHOTc 5 ypoBHe MOnHocTH, MaKcHMaJIbHa IpoRpaMMHpCyMa IpoIOJIKeJIbHOcTb pa3oIpeBa coCTaBJIeT 60 MNHyT.
CyueCTByeT Iba peKnMa rOToBKn "Ha MeDiJeHHOM OrHe":
B pejKHe S-1 npOyKTbI rOtOBaTc npn IOBbIeHHoM oUHocTH (31.25% o6iEe MoHocTH MKNPOBOJIHOBOrO H3JIyueHH); B pejKHe S-2 npOyKTbI rOtOBaTc npn IOHHKeHHo MOuHocTH (18.75% o6iEe MoUHocTH MKNPOBOJIHOBOrO H3JIyueHH).
ПлМер:ДЯ ПИГOTOBJIeHЯ 6JIHOda "Ha MeДJIeHHOM ORHe"прн ПОНЖЕHHOH MOшноTNВ TeчEHne 1 уас:
A) HaKMHTe KHOIIKY "Ha MeJIIEHHOM ORHe ", 3aTeM KHOIIKy "S-2";
B)Pyukon TaHmepa ycTaHOBnTe "1H:00";
C)HaKMnTe KHOIIKy(«Haayio»)
* MaKCHMaJIbHO BO3MOxHoe BpEmr rOTOBKn "Ha MeJIEHHOM ORHe" COCTaBJIeT 3 qaca.
4.-Pa3MopajKBaHne
Bb6epnte TnI IpoJyKta H Bec. IeYb aBTOMaTHueckn IOMOKeT BaM 3aIIpOgpaMMHPOBaTb yPoBeHb MOIHOCTH N IIpoJOJIJKHTeJIbHOCTb pa30rpeBa.
PpHmep:pa3MOPo3HTb0,5Kr3aMOpOKeHHOro Mca.
a)HaKMHTe KHOIIky («Pa3Mopacuahue»)IIA Bb6opa peKMa“d-1"
b)Повернше ручу («Таимер/Bec>),чTo6ы 3aInporpaMMHpoBaTb Bec 0,5 Kt.
c) HaKMnTe KhoNkY («Haayio»).
Bec Mca IOJIKeH 6bITb MeHbIe 2 Kt.
Bec pbl6bI JOJKeH 6bITb MeHbIIe 1 Kt.
IpiHMeUaHHe: “d-1” 06O3HauaeT pa3MopaxKbAHne Mca, “d-2” 06O3HaHaet pa3MopaxKbAHne pb6bl
5.-ФункиMeHIO
BaM HxKHO TOJIbKO BbIpaTb TII IN Bec IIpoJyKTa, IIeYb aBTOMaTHueCKN IIMOKeT BaM 3aIIporpAMMHPOBaTb MOIIOCTb II BpeM IIpiHrTOBJIeHH.
PpHmep: yHKnHa MeHIO IJIa IIpHrTOBJIeHHN 0,4 KpIb6bl.
a)HaKMHTe KHOIIKy («ФунКИЯ MeHIO»)ДЯ BBбopa peKIMa A-4.
b) NObepHnTe pyKy (TaNep/Bec)), TTo6bl 3aInpaMMnpoBaTB Bec 0,4 Kt.
c) HaKMnTe KhoNkY («Haayao»).
EasyManual