MWB23AEX - Mikrowellen FAGOR - Kostenlose Bedienungsanleitung
Finden Sie kostenlos die Bedienungsanleitung des Geräts MWB23AEX FAGOR als PDF.
Questions des utilisateurs sur MWB23AEX FAGOR
0 question sur cet appareil. Repondez a celles que vous connaissez ou posez la votre.
Poser une nouvelle question sur cet appareil
Laden Sie die Anleitung für Ihr Mikrowellen kostenlos im PDF-Format! Finden Sie Ihr Handbuch MWB23AEX - FAGOR und nehmen Sie Ihr elektronisches Gerät wieder in die Hand. Auf dieser Seite sind alle Dokumente veröffentlicht, die für die Verwendung Ihres Geräts notwendig sind. MWB23AEX von der Marke FAGOR.
BEDIENUNGSANLEITUNG MWB23AEX FAGOR
Bedienungs-Betriebs 43
POLSKI
Mikrowellenherd 17 Liter / 23 Liter Bedienungsanleitung
MWB17AEX/MWB23AEX
Lesen Sie diese Anleitung aufmerksam durch, und bewahren sie für spätere Fragen auf.

TECHNISCHE DATEN 17 LITER
| Energieverbrauch: | 2 | 1.080 | W 20-240V~50Hz |
| Leistung: | 700W | ||
| Betriebsfrequenz: | 2,450MHz | ||
| Äußere Abmessungen: | 592mm (Breite) x 350 mm (Tiefe) x 390 mm (Höhe) | ||
| Innere Abmessungen des Herds | 320mm (Breite) x 288 mm (Tiefe) x 183 mm (Höhe) | ||
| Nettogewicht: | Etwa | 14,7 | Kg |
TECHNISCHE DATEN 23 LITER
| Energieverbrauch: | 2 | 1.280 | W | 20-240V~50Hz |
| Leistung: | 800W | |||
| Betriebsfrequenz: | 2,450MHz | |||
| Äußere Abmessungen: | 592mm (Brecite) x 400 mm (Tieffe) x 390 mm (Höhe) | |||
| Innere Abmessungen des Herds | 330mm (Brecite) x 330 mm (Tieffe) x 212 mm (Höhe) | |||
| Nettogewicht: | Etwa | 17,5 | Kg |
BEVOR SIE SICH MIT DEM KUNDENDIENST IN VERBINDUNG SETZEN
-
Wenn der Herd nicht Funktioniert, auf der Anzeige nichts erscheint oder die Anzeige verschwindet:
a) Versichert Sie sich, dass der Herd richtig ans Stromnetz angeschlossen ist. Wenn das nicht der Fall ist,ziehen Sie den Netzstecker, warten Sie 10 Sekunden und stecken Sieihn richtig ein.
b) Versichert Sie sich, dass kein Kabel durchgebrannt ist oder die Sicherung hersausgesprungen ist. Wenn alles korrekt ist, überprüfen Sie den Stromanschluss noch einmal mit einem anderen Apparat. -
Wenn die Stromzufuhr des Mikrowellenherds nicht Funktioniert.
a) Versichert Sie sich, dass auf der Zeitschaltuhr eine Kochzeit gewählt ist.
b) Versichern Sie sich, dass die Tur des Geräts richtig geschlossen ist, damit die elektrischen Anschlüsse einen Kontakt herstellen. Sollte dies nicht der Fall sein, fließt kein Strom durch den Mikrowellenherd.
WENN MIT KEINEM DER ANGEFUHRTEM MASSNAHMSN DIE SITUATION KORRIGIER WERDEN KANN, WENDEN SIE SICH AN EINEN AUTORISIEREN KUNDENDIENST
Hinweis:
Das Gerät ist für den tatsächlichen Gebrauch zur Erwärung von Nahrungsmitteln und Geträken über elektromagnetische Energie bestimmt und darauf nur in geschlossenen Räumen verwendet werden.
RUNDFUNKSTÖRUNGEN
Der Mikrowellenherd kann Störungen in ihrem Radio, Fernseher oder ähnlichen Geräten hervorrufen. Sollte dies der Fall sein, halten sich die Interferenzen beseitigen oder vermindern, wenn Sie die folgenden Anweisungen befolgen:
a. Reinigen Sie die Tur und die Oberfläche des Gehäuses des Mikrowellenherds.
b. Stellen Sie Radio- und Fernsehgeräte etc, so welt entfernt wie möglich vom Mikrowellenherd auf.
c. Benutzen Sie die Antenne richtig, die an ihrem Radio, Fernseher etc, angebracht ist, um ein stärkeres Signal zu empfangen.
ANSCHLUSS
- Versichert Sie sich, dass Sie alles Verpackungsmaterial aus dem Inneren des Herds herausgenommen haben.
- Nachdem Sie den Herd ausgepackt haben, überprüfen Sieihn auf mögliche Schäden wie:
Schiefe Tur.
Beschädigte Tur.
Dellen oder Llicher in der Scheibe oder der Turselbst.
Beulen im Innenraum.
Wenn Sie einen der hier aufgeführten Mängel feststellen, BENUTZEN SIE DEN HERD NICT.
- Dieser Mikrowellenherd wiegt 17,5Kg und sollte auf eine ebene Oberfläche gestellt werden, die diesen Gewicht auch tragen kann.
- Sie sollen den Herd nicht in der Nähe von Quellen großer Hitze aufstellen oder hijn hoher Feuchtigkeit aussetzen.
- Stellen Sie NICHTS auf den Herd.
- Entfernen Sie die Achse der sich drehenden Glasplatte NICHT.
- Wenn das Gerät von Kindern bedient wird, sollte dies, wie bei allen anderen Geräten auch, nur unter Aufsicht von Erwachsenen geschehen.
HINWEIS - DIESES GERÄT MULLS KORREKT GEERDET WERDEN
- Der Anschluss sollte nahe am Hauptkabel erfolgen.
- Diesel Herd bestehtigt 1.3 KW Leistung. Es wird empfohlen, einen Fachmann zur Installation zu befragen.
WARNING: Dieser Herd ist intern durch eine Sicherung mit 10 A bei 250V abgesichert.
WICHTIG
Die Farben der Kabel zum Anschluss an das Stromnetz sind in Übereinstimmung mit dem folgenden Schema belegt.
Grun und gelb: Erde
Blau: Neutral
Braun: Phase
Wenn die Farben der Kabel nicht mit denen des Stromnetzes übereinstimmen, gehen Sie nach den folgenden Anweisungen vor:
Das Kabel mit den Farben grün und gelb muss an dem Pol angeschlossen werden, der mit dem Buchstaben E, dem Erdungssymbol einer grünen oder der grün-gelben Farbe bezeichnet ist.
Das blaue Kabel muss an den Pol angeschlossen werden, der mit dem Buchstaben N oder der schwarzen Farbe gekennzeichnet ist.
Das braune Kabel muss an den Pol angeschlossen werden, der mit dem Buchstaben L oder der roten Farbe gekennzeichnet ist.
WICHTIGESICHERHEITSNORMEN
-
WARNING: Wenn die Tur oder der hermetische Verschluss beschädigt ist, damit der Herd erst wieder benutzt werden, wenn er von einer qualifizierten Fachkraft repariert wurde.
-
WARNING: Es ist für jeder unqualifizierte Person gefährlich, eine Reparatur oder Wartungsarbeiten vorzunehmen, bei der der Schutz demontiert wird. Der schützt davon, der Mikrowellenstrahlung des Herds ausgesetzt zu sein.
-
WARNING: Sie)dürfen keine Nahrungsmittel oder Flüssigkeiten in versiegelten Gefäßen erwärmen, Denn sie konnten explodieren.
-
WARNUNG: Kinder)dürfen den Herd nicht ohne Aufsicht von Erwachsenen bedienen, außer sie haben die entsprechende Unterweisung erhalten, um den Herd sicher bedienen zu konnen, und sind sich über die Risiken einer falschen Bedienung bewusst.
-
Der Herd muss ausreichend mit Luft versorgt werden. Halten sie einen Abstand von 10cm hinter dem Herd, 15cm auf jeder Seite und 30cm über dem Herd ein. Nehmen Sie die Fübe des Herds nicht ab und blockieren Sie die Austrittsöffnungen zu seiner Belüfung nicht.
-
Benutzen Sie nur geeignete Gefäße für Mikrowellenherde.
-
Wenn sie Nahrungsmittel in Plastikbehältern oder Papier erwärmen, beachten Sie die bestehende Entzündungsgehr.
- Wenn Sie Rauch feststellen, ziehen Sie sofort den Netzstecker hereaus oder schalten das Gerät ab, halten Sie die Tur aber geschlossen, um eine mögliche Flamine zu ersticken.
- Wenn sie Flüssigkeiten mit dem Mikrowellenherd erwärmen, kann das dazu führen, dass sie erst nach dem Abschalten zum Kochen kommt. Achten Sie darauf, wenn Sie den Behälter berühren.
- Der Inhalt von Kannen oder Saugflaschen sollte umgerührt oder geschüttelt werden. Überprüfen Sie die Temperatur vor dem Verzehr, damit mögliche Verbrennungen vermieden werden.
- Geben Sie keine rohen oder gekochtete Eier mit Schalen in den Mikrowellenherd. Sie konnten explodieren, auch dann noch, wenn der Erwärungsvorgang schon abgeschlossen ist.
- Wenn Sie die Oberfläche der Tur, den hermetischen Verschluss der Tur oder das Innere des Herds reinigen, sollenn sie nur weiche Reinigungsmittel verwenden, das auf einen Schwamm oder ein weiches Tuch aufgetragen wird. Benutzen Sie keine scharfen Reiniger oder Lösungsmittel.
- Der Herd sollte regelmäßig gereinigt werden, indem Sie alle Nahrungsmittelrechte beseitigen.
- Wenn Sie den Herd nicht in einem hygienisch einwandfrei den Zustand erhalten, wird die Oberfläche beschädigt, was kann wiederum die Lebensdauer des Geräts beeinträchtigen und Risikosituationen provozieren.
- Wenn das Stromkabel des Geräts beschädigt ist, sollte es vom Hersteller, einem Kundendienst oder einer anderweitig qualifizierten Personen ausgetauscht werden, um gesundheitlichen Schäden vorzubeugen.
SICHERHEITSANWEISUNGEN FÜR DEN ALLGEMEINEN GEBRAUCH
In der Folge werden eine Normen angesprochen, die Sie beachten sollenen, um die maximale Leistung des Herds zu gewährleisten:
- Die Drehscheibe aus Glas, die Rollen und der Drehkranz müssen richtig angebracht sein, wenn sie den Herd benutzen.
- Benutzen Sie den Herd nicht für andere Zwecke als zur Zubereitung von Nahrungsmitteln oder um etwas zu sterilisieren, wie zum Beispiel um Wäsche, Papier oder einen anderen Stoff zu trocknen.
-
Schalten Sie den Herd nicht ein, wenn er leer ist. Es könnte ihm beschädigen.
-
Benutzen Sie das Innere des Herds nicht zu Aufbewährung von Gegenständen, wie Papiere, Kochbücher, etc.
- Kochen Sie keine Nahrungsmittel in dem Herd, die von einer Membran umschlossen sind, wie Eidotter, Kartoffeln, Hühnerleber, etc., ohne sie zuvor mit einer Gabel mehrfach durchstochen zu haben.
- Stecken Sie keine Gegenstände in die äußeren Öffnungen des Geräts.
- Schrauben Sie keine Teile von dem Gerät ab, wie Fuß, Halter, Schrauben, etc.
- Kochen Sie keine Nahrungsmittel direkt auf der Glasplatte. Geben Sie sie stets in ein geeignetes Gefäß, bevor Sie sie im Herd erhitzen.
- WICHTIG - GEFASSE DIE NICT IN EINEM MIKROWELLENHERD BENUTZT WERDEN DURFEN:
Benutzen Sie keine Gefäße aus Metall oder Teller mit Metallgriffen.
Benutzen Sie keine Teller mit metallischen Verzierungen.
Benutzen Sie keine Plastikbeutel mit Metallverschlüssen, die mit Papier überbedeckt sind.
Benutzen Sie keine Teller die Melamin enthalten, Denn sie absorbieren die Energie des Mikrowellenherds. Das kann dazu führen, dass Risse in den Tellern auftreten, sie verkohlen, und die Geschwindigkeit des Kochvorgangs verringt wird.
Benutzen Sie keine „Centura Tableware“". Das Glas ist nicht geeignet für den Gebrauch in der Mikrowelle. Die Tassen „Corelle Livingware" mit einem geschlossenen Griff)dürfen nicht benutzt werden.
Erhitzen Sie keine Flüssigkeiten in Gefäßen mit einer kleinen Öffnung, wie Plastikflaschen oder Flaschen mit Salatöl. Sie konnten explodieren, wenn sie im Mikrowellenherd erhitzt werden.
Benutzen Sie keine konventionellen Thermometer für Fleisch, für Süßspeisen oder Glasthermometer. Es gibt spezielle Thermometer für Mikrowellenherde, die Sie benutzen können.
- Sie sollen die Gefäße im Mikrowellenherd nur nach den Anweisungen des jeweiligen Herstellers benutzen.
- Versuchen Sie nicht, Nahrungsmittel in dem Herd in reichlich Öl zu frittieren.
- Beachten Sie, dass der Mikrowellenherd die Flüssigkeit mehr erhitzt als das eigentliche Gefäß. Auch wenn der Deckel des Gefäbes nicht warm ist, wenn Sie es aus dem Herd erhmen, gibt das erhitzte Nahrungsmittel oder das Getränk darinTOTZ allem genauso viel bereits Dampf ab oder spritzt genauso, wie bei der Erwärung mit einem konventionellen Herd.
-
Überprüfen Sie stets selbst die Temperatur des erhitzten Nahrungsmittels, besonderss dann, wenn sie etwas für Babys kochen oder erhitzen. Es ist ratsam, das erhitzte Nahrungsmittel oder Getränk in keinem Fallsofar zu verstehen, nachdem Sie es aus dem Herd genommen haben. Lassen Sie es einzelte Minuten stehen und rühren Sie es um, damit sich die Hitze gleichmäßig verteil.
-
Nahrungsmittel die aus einer Mischung von Wasser und Fett zusammengesetzt sind, wie zum Beispiel Brühe, sollenen etwa 30 bis 60 Sekunden im Herd verbleiben, nach dem er sich abgeschelt hat. Damit gewährleisten Sie, dass sich die Mischung setzt und so wird ein aufwalen vermieden, wenn Sie einen Löffel oder einen Fleischwürfel in das Nahrungsmittel oder die Flüssigkeit geben.
-
Bei der Zubereitung oder beim Kochen von Nahrungsmitteln oder Flüssigkeiten sollen den Sie bedenken, dass sich eine Nahrungsmittel wie zum Beispiel Pudding zu Weihnachten, Marmeladen und gehackte Trockenfrüchte sich sehr schnell erhitzen. Wenn Sie also Nahrungsmittel mit einem hohen Fettanteil oder Zucker zubereiten,)durren Sie keine Gefäbe aus Plastik benutzen.
-
Es ist möglich, dass sich die Kochgefaße durch die Übertragung der Wärme vom Nahrungsmittel erhitzen. Das istalanders der Fall, wenn eine Kunststoffverpackung den oberen Teil des Gefäbes und die Henkel bedeckt hat. Dann benötigen Sie Kuchenhandschuhe, um das Gefäß zu berühren.
-
Um Feuer im Inneren des Herds zu vermeiden:
a) Überhitzen Sie die Nahrungsmittel nicht. Achten Sie besonderss darauf, wenn Sie Papier, Kunststoffe oder andere brennbare Materialien mit in den Herd geben.
b) Entfernen Sie metallische Schließer von Tuten, bevor Sie sie in den Herd stecken.
c) Wenn etwas im Herd zu brennen beginnnt, halten Sie die Tur geschlossen,ziehen Sie den Stecker aus der Steckdose oder schalten Sieihn am Sicherungskasten ab,wo sich die Sicherungen und der automatische Schalter befinden.
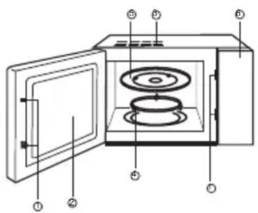
SCHAUBILD

(1) Sicherheitsschliebsystem der Tur
(2) Scheibe des Herds
(3) Belüftung des Herds
(4) Drehkranz
(5) Drehscheibe aus Glas
(6) Kontrolleinheit
KONTROLLEINHEIT

HINWEISE ZUR BEDIENUNG
- Basisfunktionen des Mikrowellenherds
Allein durch das Drücken eines Knopfes konnen Sie mit dem Kochen beginnen. Das ist sehr komfortabel und Schnell, um ein Glas Wasser, etc zu erhitzen.
Beispiel: Ein Glas Wasser erhitzen.
a) Stellen Sie das Glas mit Wasser auf die Drehplatte und schlieben Sie die Tur.
b) Drücken Sie auf den Knopf „Start“ und der Herd beginnnt mit voller Leistung während einer Minute zu arbeiten.
c) Fünf Piepstonen weisen auf das Ende des Vorgangs hin.
- Funktionen des Mikrowellenherds
Es gibt zwei verschiedene Optionen
1) Funktion Schnelles Kochen (100 % der Leistung).
a) Zum Beispiel: Nahrungsmittel mit der Leistung von 100% während 5 Minuten zu kochen. Drehen Sie den Regler "Zeitschalter / Gewicht" bis „5:00" angezeigt wird.
b) Drücken Sie auf „Start".
2) Funktion zur manuellen Kontrolle
Zum Beispiel: Nahrungsmittel mit der Leistung von 70% während 10 Minuten zu kochen.
a) Drücken Sie auf den Knopf „Micro“, wahlen sie 70% der Leistung aus.
b) Drehen Sie den Regler „Zeitschalter / Gewicht“ bis „5:00" angezeigt wird.
c) Drücken Sie auf „Start".
Es gibt 5 Stufen für die Leistung, und die maximale Kochzeit beträgt 60 Minuten.
| Anzahl zum Drücken | Leistung der Mikrowelle | Anzeige |
| 1 | 100% | P100 |
| 2 | 70% | |
| 3 | 50% | |
| 4 | 30% | |
| 5 | 10% |
- Funktion für langsames Kochen:
Die Funktion für langsames Kochen hat zwei Stufen:
S-1 ist ein langsames Kochen mit auf einem starken Niveau (31.25% der Hitze der Mikrowelle); S-2 ist ein langsames Kochen mit auf einem schwachen Niveau (18.75% der Hitze der Mikrowelle).
Beispiel: Langsames Kochen während einer Stunde.
A) Drücken Sie auf den Knopf „,Langsam“, wahren Sie den Knopf „,S-2".
B) Drehen Sie den Zeitschaltuhr / Gewicht auf „1H:00"
C) Drücken Sie auf den Knopf Start.
-
Die langste Kochzeit für langsames Kochen liegt bei drei Stunden
-
Auftauen
Wahlen Sie den Nahrungstyp und das Gewicht und automatisch wird Ihnen bei der Programmierung der Leistung und der Zeit gehften.
Zum Beispiel: 0,5Kg Fleisch auftauen
a) Drücken Sie auf den Knopf „Auftauen" (auto defrost) um „d-1" zu wahlen.
b) Drehen Sie den Regler "Zeitschalter / Gewicht" um 0,5Kg auszuwahlen.
c) Drücken Sie auf „Start".
Das Gewicht von Fleisch sollte kleiner als 2Kg sein.
Das Gewicht von Fisch sollte kleiner als 1Kg sein.
Hinweis: „d-1" bedeutet Fleisch auftauen, „d-2" bedeutet Fisch auftauen.
- Funktion Menu
Wahlen Sie den Nahrungstyp und das Gewicht und automatisch wird Ohnen bei der Programmierung der Leistung und der Zeit geholfen.
Zum Beispiel: Funktion Menu für 0,4Kg Fisch.
a) Drucken Sie den Knopf „Menu” um „A-4“ zu wahlen.
b) Drehen Sie den Regler "Zeitschalter / Gewicht" um 0,4Kg auszuwahlen.
c) Drücken Sie auf „Start".
6.- Speicher Funktion
Mit dieser Funktion konnen Sie Programme speichern, um sich die Neueinstellung von Zeit und Leistung zu ersparen.
a) Wenn Sie den Speicher noch nicht programmiert haben, drücken Sie auf den Knopf „Speicher“ und das Gerät zeigt „1" an. Stellen Sie die Leistung und die Kochzeit ein, und drücken Sie erneut auf „Speicher“, damit das Programm gespeichert wird. Wenn Sie nun auf „Start“ drücken, beginnt der Herd zu arbeiten, und das Programm bleibt gespeichert.
b) Wenn Sie den Speicher schon programmiert haben, drücken Sie den Knopf „Speicher“, das Gerät zeigt „1" an und der Herd arbeitet in Übereinstimmung mit dem gespeicherten Programm, wenn Sie „Start" drücken.
Das Programm bleibt nicht gespeichert, wenn der Strom ausfällt.
7. Reinigung:
Die Funktion kann benutz werden, um den Hohliaum und das Nahrungsmittel abzukühlen und den Herd von Gerüchen nach Essen zu befrei.
Drücken Sie den Knopf „Reinigen“ der Ventilator arbeitet für eine Minute (in diesen Moment arbeitet die Mikrowellenröhre und die Grillröhre nicht). Drücken Sie noch einmal, erhöht sich die Zeit um jeweils eine Minute. Die langste Zeit für die Reinigung ist 15 Minuten.
8.- SICHERHEITSVERSCHLUSS FÜR KINDER
Drucken Sie „Pause / Abbrechen“ dreimal, um das Gerät zu verschreiben.
Drücken Sie „Pause / Abbrechen“ erneut dreimal, um das Gerät zu öffnen und die anderen Funktionen wieder benutzen zu konnen.
9.- Pause / Abbrechen
a) Wenn Sie während des Betriebs „Pause / Abbrechen“ drücken, wird der Herd angehalten.
b) Wenn Sie ein Programm mit „Start“ gestartet hatten und Sie drücken den Knopf Pause, werden alle programmierten Funktionen abgebrochen.
WARTUNG DES MIKROWELLENHERDS
1.- Schalten Sie den Herd ab, undziehen Sie den Netzstecker aus der Steckdose.
2.- Halten Sie das Innere des Herds sauber. Wenn Essen verspritzt oder Flüssigkeit verschüttet wurde, saubern Sie das Innere des Herds mit einem feuchten Tuch. Scharfe oder kratzende Reinigungsmittel werden nicht empfohlen.
3.- Die äußere Oberfläche reinigen Sie ebenfalls mit einem feuchten Tuch. Um Schäden an dem Herd zu vermeiden, sollte kein Wasser ins Innere des Herds oder in die Belüftungsöffnungen eintreten.
4. Die Kontrolleinheitarf nicht nass werden. Reinigen Sie sie mit einem weichen, feuchten Lappen. Benutzen Sie keine Lösungsmittel, kratzende Reiniger oder Zerstüber an der Kontrolleinheit.
5.- Wenn sich Dampf im Inneren oder außen an der Tur des Herds ansammelt,nehmen Sieihn mit einem weichen Tuch auf. Dieser Effekt kann auftreten, wenn Sie den Herd zu einem Zeitpunkt mit einer besonderen hohen Luftfeuchtigkeit betreiben. Es bedeutet nicht,dass das Gerät einen Fehler aufweist.
6.- Von Zeit zu Zeit sollenn sie die Drehscheibe aus Glas zur Reinigung hersausnahmen. Reinigen Sie die Scheibe mit freiem Wasser und Spulmittel oder in der Spulmaschine.
7.- Der Drehkranz und der Boden des Herds sollen den regelmäßig gereinigt werden, um übermäßige Geräusche des Geräts zu vermeiden. Reinigen Sie den Boden schlicht mit einem weichen Reiniger. Den Drehkranz können Sie in Höheem Wasser mit Spülmittel oder in der Spülmaschine reinigen. Dampf sammelt sich mit einem dauernden Gebrauch des Geräts an, er beeinträchtigt aber nicht die Oberfläche im Inneren des Geräts, den Drehkranz oder die Rollen. Wenn Sie den Drehkranz zur Reinigung Herausnahmen, versichern Sie sich, dass er nachher wieder korrekt eingebaut wird.
8.- Um Gerüche zu beseitigen gehen sie folgendermaßen vor: Mischen Sie eine Tasse Wasser mit dem Saft einer Zitrone und ihrer Schale in einem hohen Gefäß. Stellen Sie es in den Mikrowellenherd, und setzen Sie ihn 5 Minuten laufen. Trocknen Sie ihn danach gut mit einem weichen Tuch.
9.- Wenn es notwendig ist die Birne im Herd auszuwechseln, wenden Sie sichitte an ihren Handler, damit er sie austauscht.

EinfachAnleitung