STHL 2000 A1 - Radiador electrico SILVERCREST - Manual de uso y guía de instrucciones gratis
Encuentra gratis el manual del aparato STHL 2000 A1 SILVERCREST en formato PDF.
Preguntas de los usuarios sobre STHL 2000 A1 SILVERCREST
0 pregunta sobre este aparato. Responde a las que conoces o haz la tuya.
Hacer una nueva pregunta sobre este aparato
Descarga las instrucciones para tu Radiador electrico en formato PDF gratis! Encuentra tus instrucciones STHL 2000 A1 - SILVERCREST y toma tu dispositivo electrónico nuevamente en la mano. En esta página están publicados todos los documentos necesarios para el uso de su dispositivo. STHL 2000 A1 de la marca SILVERCREST.
MANUAL DE USUARIO STHL 2000 A1 SILVERCREST
Instrucciones deutilizacion y de seguidad
Este producto está indicado unicamente en lugares abrigados o para una realizacion punctual.

GB IE NI CY MT
Antes de empezar a leer abra la page que contiene las imagenes y, en seguda, familiarice se con todas las functions del dispositivo.
DK
2. Instrucciones de seguridad Pagina 121
2.1 Instruetiones generales de seguidad Seguidad de los aparatos electricos de uso domestico Pagina 121
2.2 Instruetiones specificas de seguidad Requisitospecificos dels radiadores para habitaciones Pagina 122
2.3 Instrucciones complementarias de seguidad Pagina 123
2.4 Instrucciones para las pilas Pagina 124
3. Antes de la puesta en marcha (Calefactor de torque sin mando a distancia) Pagina 126
3.1 Montaje del aparato Pagina 126
4. Puesta en marcha (Calefactor de torque sin mando a distancia) Pagina 126
4.1 Modo de espera Pagina 126
4.2 Modo de ventilador . Pagina 126
4.3 Ajuste de los niveles de calentimiento (modo de calentimiento) Pagina 126
4.4 Desconexión del aparato Págrina 126
4.5Funcion de oscilacion Pagina 127
4.6 Ajuste de la temperatura 127
4.7 Ajuste del temporizador Pagina 127
5. Antes de la puesta en marcha del calefactor de torque con mando a distancia Pagina 127
5.1 Mando a distancia: Inserte/sustituya la pila Pagina 127
6. Puesta en marcha (Calefactor de torque con mando a distancia) Pagina 128
6.1 Modo de espera Pagina 128
6.2 Mode de ventilador Pagina 128
6.3 Ajuste de los niveles de calentimiento (modo de calentimiento) Pagina 128
6.4 Desconexión del aparato Página 128
6.5Funcion de oscilacion Pagina 128
6.6 Ajuste de la temperatura 129
6.7 Ajuste del temporizador Pagina 129
7.Dispositivos de proteccion del aparato Pagina 129
7.1 Proteccion contra el sobrecalentamento Pagina 129
7.2 Proteccion antiinclinacion Pagina 130
8. Mantenimiento, limpieza y almacenimiento Pagina 130
9. Eliminación Página 130
- Declaración de conformidad de la UE Página 130
- Garantia de ROWI Germany GmbH Pagina 130
- Servicio Pagina 132
CALEFACTOR DE TORRE STHL 2000 A1
1. Introduccion
Enhorabuena por la compra de su nuevo aparato. Ha elegido un producto de alta calidad. El manual de instrucciones forma parte de este producto. Contiene importantes instrucciones de seguridad, uso y eliminacion. Familiaricese con todas las instrucciones de funciona y seguidas antes de utilizes el producto. Utilice el producto solo como se describe y para las aplicaciones especificadas. Entregue todos los documents cuando ceda el producto a terceros.
1.1 Uso previsto
Este producto solo esADECUADOPara habitaciones bienaisladas o para un uso occasional.El aparato no estáprevisto para el uso en habitaciones con conditionespeciales, como atmósferas corrosivas o potencialmenteexplosivas (polvo ogas).No utilise el aparato en exteriores.Cualquier othero uso o modificacion del aparato se considera no previsto e implicacunconsiderable riesgo de accidente.No aceptamossingularresponsabilitad por los daños derivadosde la contravencion del uso previsto. Este termoventilador solodebeutilizarse comocalefacion auxiliar y estadisnadoexclusivamentealuso privado.
1.2 Volumen de suministro
1 Calefactor de torque STHL 2000 A1
1 Mando a distancia (incl. pilas redondas)
1 Manual de instrucciones
1.3 Equipamento
Calefactor de torque
Pantalla
2 Tecla de temperatura
3 Tecla del temporizador
4 Tecla de oscilacion
5 Tecla de encendido/apagado
6 Interruptor de encendido/apagado
Mando a distancia
7 Tecla de encendido/apagado
8 Tecla de temperatura
9 Tecla Más
10 Tecla Menos
11 Tecla del temporizador
12 Tecla de oscilación
13 Tecla de niveles de calefacción
14 Compartimento para pilas
15 Tapa
16 Pila redonda (pila)
1.4 Datos技术和
Calefactor de torque STHL 2000 A1
Tensión de entrada: 220 a 240 V (corriente alterna)
Frecuencia de red: 50 a 60 Hz
Potencia nominal de entrada: 2000 W
Nivel de calefacción 1: 1200 W
Nivel de calefacción 2: 2000 W
Clase de proteccion: II
Rango de selección de
temperatura: 15^ C 40^ C
Temporizador: 24 horas
Longitud del cable de
alimentacion: 1,8m
Mando a distancia (solo para uso con el calefactor de torre STHL 2000 A1)
Alimentación de la pila: 3 V (corriente continua) CR2025
Lithium : Pila de litio
Requisitos de información que deben cumplir los aparatos de calefacción local electricos
Identificador(es) del modelo: STHL 2000 A1
Partida Simbolo Valor Unidad
Potencia calorifica
| Potencia calorifica nominal | Pnom | 2,0 kW |
| Potencia calorifica minima (indicativa) | Pmin | 1,2 kW |
| Potencia calorifica maxiima continua | Pmax,c | 2,0 kW |
Consumo auxiliar de electricidad
| A potencia calorífica nominal | el_max | 0,000 kW |
| A potencia calorífica minima | el_min | 0,000 kW |
| En modo de esperar el | SB | 0,000 kW |
Partida Unidad
Tipo de aportación de calor, únicamente para los aparatos de calefacción local electricos de acumulación (selección uno)
control manual de la energia de calor, con termostato integrado [no]
control manual de la energia de calor con respuesta a la temperatura inferior o exterior [no]
control electrónico de la energia de calor con respuesta a la temperature inferior o exterior [no]
potencia calorifica asistida por ventiladores [no]
Tipo de control de potencia calorifica/de temperatura interior (selección uno)
potencia calorifica de un solo nivel, sin control de temperatura interior [no]
Dos o mas niveles manuales, sin control de temperatura interior [no]
con control de temperatura interior
mediante termostato mecánico [no]
con control electrónico de temperatura interior [si]
control electrónico de temperatura
interior y temporizador diario [no]
control electrónico de temperatura inferior y temporizador semanal [no]
Otras options de control (puede seleccionarse varias)
control de temperatura inferior con
deteccion de presencia [no]
control de temperatura interior con
deteccion de ventanas abiertas [no]
con opcion de control a distancia [no]
con control de puesta en marcha adaptable [no]
con limitación de tiempo de configuración [si]
con sensor de lampara negra [no]
ROWI Germany GmbH Werner-von-Siemens-Str. 27
76694 Forst ALEMANIA
2. Instrucciones de seguridad

Lea todas las instrucciones de seguridad eindicaciones de uso.

No cumplir lasindicaciones de seguidadee instruccionescouldecausarlesionesgravesy/odanosmaterialiaes.
Conserve todas las instruciones de seguridad eindicaciones de uso para el futuro.
2.1 Instrucciones generales de seguridad
Seguidad de los aparatos electricos de uso domestico
- Este aparato lo pueda usar los niños a partir de 8 años y las personas con capacities físicas, sensoriales o mentales reduidas o con falta de experiencia y conocimientos, siempre y cuando se les supervise o se lesinstruya sobre el uso del aparato de forma segura yentaendan lospeligros que conlleva. Los niños no deben hacerlos aparato.La limpieza yelmantimiento por parte del usuario no lo deben realizar niños sin supervisión.
- No se requires unaersion del usuario para ajustar el produit a 50 o 60 Hz o a 220 o 240 V. El produit se ajusta automatistically a la Frequencia o a la tensión correcta.
- Si el cable de alimentación electrica de este aparato presente daños, deben ser sustituido por el fabricante, su servicios de atencion al cliente o por una persona con una calidad similar a fin de evaporar peligros.
2.2 Instrucciones specificas de seguridad Requisitospecificosde los radiadores para habitaciones

ADVERTENCIA No cubra.
No cubra el radiador para evitarque se sobrecaliente.
- El radiador no debe colocarse directamente bajo de una toma de corriente mural.
- No utilise nunca este radiador en las proximidades de una banera, una ducha o una piscina.
No ponga en functionamento un aparato que se haya caido.
No/utilizar si hay signos visibles de daños en el radiador.
El radiador debe colocarse sobre un sueo firme, plano y nivelado. - iADVERTENCIA! El radiador no debe utilizes en habitaciones微量元素occupationes por personas que no pueda abandonarlas de forma independiente, a menos que se garantice una superviación constante.
- iADVERTENCIA! Peligro de incendio! Para reducir el peligro de incendio, mantenga la ropa, las cortinas y otros materiales combustibles a una distancia minima de 1 m de la salute de aire.
- Los niños menos de 3 años debenmantenerse alejados a menos que estén supervisados en todo momento.
- Los niños de 3 años o de menos de 8 años peuvent encender y apagar el aparato solo si está supervisados o han sido instructados en el uso seguro del aparato yentaenden lospeligros que conlleva, siempre y cuando, el aparato está colocado o instalado en su posicion normal de uso. No permita que los niños de 3 años y menos de 8 años connecten el aparato a la toma de corriente, lo regulen, lo limpien y/o realicen el mantenimiento del usuario.

Advertencia de superficies calientes.
PRECAUCION: Algunas partes del producto peuvent calentarse mucho y causar quemaduras. Hay que tener especial cuidado cuando haya niños y personas vulnerables.
2.3 Instrucciones complementarias de seguridad

El aparato solo es apto para su uso en interiores.

Peligro de muerte por corriente electrica.
Al entrada en contacto con cables o componentes con tension electrica existe peligro de muerte.
- Antes de conectar el aparato, compare los datos de connexion de la planta de caracteristicas (tension y Frequencia) con los datos de su red electrica. Asegúrese de que los datos coincidan para que no se produzan daños en el aparato.
- No abra nunca la carcasa del aparato. Existe riesgo de descarga electrica si se tocan las conexiones con corriente y/o se modifican la estructura electrica y mecánica.
- Asegúrese de que el cable de alimentación electrica no está dañado y no está colocado sobre superficies calientes y/o bordes afilados.
- Asegúrese de que el cable de alimentación no está doblado ni inmovilizzato.
- Permita que solo las entreprises especializadas autorizadas o el service de atencion al cliente realicen las reparaciones del aparato. Las reparaciones incorrectly peuvent suponer un peligro considerable para el usuario. Este también invalida la garantia.
Proteja el aparato de la humedad y de la entrada de liquidos. El aparato noDebe rociarse. - Desconecte el cable de alimentacion electrica de la toma de corriente utilizing unicolemente la clavija de alimentacion.
No coloque el aparato cerca de llamas abiertas.
- Utilice el aparato solo con el cable de alimentacion totalmente desenrollado.
- Nunca enrolle el cable de alimentacion alrededor del aparato. Asegubrese de que el cable de alimentacion no entre en contacto con superficies calientes.
- Coloque el cable de alimentacion deforma que no pueda haber tropiezos.
2.4 Instrucciones para las pilas


Manténgalo fuera del alcance de los niños.
La ingestión puede provocar lesiones, perforación de tejidos blandos y la muerte. Puede producirse quemaduras graves en las 2 horas posteriores a la ingestión. Acuda inmediata-mente al medico.
- La Manipulación Incorrecta de las pilas puede provocar incendios, explosiones, fugas de sustancias peligrosas u另一边 situaciones de peligro.
- No tire las pilas al fuego ni las exponga a altas temperatas.
- No abra, deforme ni ponga en cortocircuito las pilas, ya que este pueda provocar una fuga de los productos químicos que contienen.
- No intente recargar las pilas. Solo se pueda recargar las pilas marcadas como "recargables". Existe peligro de explosión.
Retire sempre las pilas recargables del disposativo para cargarlas. - Compruebe las pilas regularmente. Las fugas de produits químicosSEOSEOSEOSEOSEOSEOSEOSEOSEOSEOSEOSEOSEOSEOSEOSEOSEOSEOSEOSEOSEOSEOSEOSEOSEOSEOSEOSEOSEOSEOSEOSEOSEOSEOSEOSEOSEOSEOSEOSEOSEOSEOSEOSEOSEOSEOSEOSEOSEOSEOSEOSEOSEOSEOSEOSEOSEOSEOSEOSEOSEOSEOSEOSEOSEOSEOSEOSEOSEOSEOSEOSEOSEOSEOSEOSEOSEOSEOSEOSEOSEOSEOSEOSEOSEOSEOSEOSEOSEOSEOSEOSEOSEOSEOSEOSEOSEOSEOSEOSEO SEOEEOSEAOEEOSEAOEEOSEAOEEOSEAOEEOSEAOEEOSEAOEEOSEAOEEOSEAOEEOSEAOEEOSEAOEEOSEAOEEOSEAOEEOSEAOEEOSEAOEEOSEAOEEOSEAOEEOSEAOEEOSEAOEEOSEAOEEOSEAOEEOSEAOEEOSEAOEEOSEAOEEOSEAOEEOSEAOEEOSE AO EEOSEAOEEOSEAOEEOSEAOEEOSEAOEEOSEAOEEOSEAOEEOSEAOEEOSEAOEEOSEAOEEOSEAOEEOSEAOEEOSEAOEEOSEAOEEOSEAOEEOSEAOEEOSEAOEEOSEAOEEOSEAOEEOSEAOEEOSEAOEEOSEAOEEOSEAOEEOSEAOEEOSEAOEEOSEAO
-
Peligro de causticación. Utilice guantes de protección.
Las sustancias químicas que se escapan de una pila pueda causar irritaciones de laIEL. -
En caso de contacto con la piel, aclare con abundante agua. Si los productos químicos entran en contacto con los ojos, aclare siempre con agua, no se frote, y acuda inmediamente al medico.
- No se deben utilizar de manière conjunta发展模式 de pilas o accumulatoradores, ni tampoco como pilasURTAS y viejas.
- Inserte siempre las pilas con la polaridad correcta, de lo contrario existe el riesgo de que exploten.
Retire las pilas del aparato si no va a utiliser durante mucho tiempo o si deseña almacenarlo. - Inserte las pilas según la polaridad.
- No permitted that los niños cambien las pilas sin la supervisión de unadulto.
- Selección siempre elullan y el tipo de pila adecuados para el uso previsto. La información proportionada con el aparato para poder a la selección adecuada de la pila debe conservarse como referencia.
- Limpie los contactos de la pila y también los del aparato antes de instalarla.
Retire las pilas usadas inmediamente y desechelas teniendo enckeuta las medidas medioambienteles.
No desmonte las pilas. - Si la tapa del compartmento de las pilas no se cierra de forma segura,cede de utiliser el mando a distancia y mantengalo alejado de los niños.
Evite conditiones y temperatas extremas que poderan afectar alas pilas/acumuladores, p. ej., sobre radiadores/luz solar directa.
3. Antes de la puesta en marcha (Calefactor de torque sin mando a distancia)
Retire todo el material de embalaje y los dispositivos de bloqueo de transporte del aparato. Compruebe si el contenido del paquete está completey y sin daños.
3.1 Montaje del aparato
Para un funciona bajo y sin fallos del aparato, el lugar de instalacion debe cumplir los siguientes requisitos:
El suejo debe ser firme, plano y estar nivelado.
Deben mantenerse distancias minimas 90 cm lateralmnte, 90 cm a la parte superior, 90 cm a la parte trasera y 1 m a la parte delantera de la carcasa.
No coloque el aparato en un entorno caliente, mojado o muy humedo ni cerca de material combustible.
La toma de corriente debe estar fácilmente accesible para poder desconectar sin dificultades el cable de alimentacion electrica en caso necessario.
Rango de temperatura: de 0 a +40 °C
Humedad (sin condensacion): de 5 % a 75 %
4. Puesta en marcha (Calefactor de torque sin mando a distancia)
- Nota: Cuando se utilizes por primera vez o al no haberlo utilisé antes de是多么 tiempo, pueda producirse un ligero olor durante un breve periodo de tiempo.
4.1 Modo de espera
Conecte el termoventilador de torre a una toma de corriente protegida con una conexión a tierra. Ponga el interruptor de encendido/ apagado en la posición "I" para suministrar energia al aparato. El aparato está ahora en modo de esper y la pantalla muestra la temperatura ambiente.
4.2 Modo de ventilador
En el modo de esper, pulse la tecla de encendido/apagado una vez [5]. Launidad está ahora en el modo de ventilador.
4.3 Ajuste de los niveles de calentimiento (modo de calentimiento)
En modo de ventilador, pulse la tecla de encendido/apagado una vez 5. El aparato está ahora en el nivel de calefaction 1. El termoventilador de torque proporciona una potencia calorifica de 1200 W. La tecla 5 se ilumina en azul.
de Al pulsar la tecla de nivel de calefacion 5 el aparato pasa al nivel de calefacion 2. El termoventilador de torre proportiona una potencia calorifica de 2000 W. El interruptor de encendido/apagado 5 se illumina en rojo.
4.4 Desconexión del aparato

- Cuando el aparato está en el nivel de ca- lefacción 2, pulse la tecla de encendido/ apagado 5. El ventiladorcedefuncionando duranteunos60segundosantesde apagarse (se muestra una cuenta atras en lapellalla).El aparato vuelte almode de espera.Lapellalla muestra la temperatura ambiente.

Pulsar 1 vez: Modelo de ventilador

Pulsar 2 vezes: Nivel de calefaction 1 (1200 W)

Pulsar 3 vezes: Nivel de calefaction 2 (2000 W)
Pulsar 4 vezes: Apagado (modo de espera)
Ponga el interruptor de encendido/apagado en la posicion "O" para desconectar el termoventilador de torre de la corriente electrica.
4.5 Función de oscilación

Para activar o desactivar la oscilacion del aparato, pulse la tecla de oscilacion 4.
- Cuando la activación Tiene exito, se ilumina el symbolo de la tecla de oscilación 4.
La funciona de oscilacion hace que el aire soplado se distribuya de izquierda a derecha.
4.6 Ajuste de la temperatura

En el modo de esper, pulse la tecla de encendido/apagado 5 dos o tres vezes.
Pulse la tecla de temperatura 2 para entrada en el modo de ajuste de la temperatura.
Pulse repetidamente la tecla de temperatura 2 para alcanzar la temperatura que desee (entre 15^ y 40^ ).
- Después deaabstar la temperatura deseada, espere 3 segundos. La informacion se transfiere automatistically.
Cuando el ajuste de la temperatura Tiene exito, se illumina el symbolo de la tecla de temperatura 2.
El termostato integrado enciende y apagaoniace la functiOn de calefacion automatically.
iATENCLON! Al ajustar la temperatura, tengac en cuesta que el aparato no calentará si la temperatura deseada es inferior o igual a la temperatura ambiente. Para calor, la temperatura programada debe ser al menos 1^ superior a la temperatura ambiente. Se muestra automatistically al encender el aparato.
4.7 Ajuste del temporizador

El temporizador se utilizes para apagar automatamente el termoventilador de torre. Con el temporizador, se pueda seleccionar un tiempo de desconexión en pasos de una hora. El termoventilador de torre se apaga automatamente.
En modo de ventilador o calefaction, pulse la tecla del temporizador 3 repetidamente hasta alcanzar el numero de horas deseado.
Al pulsar repetidamente la tecla del temporizador 3este ultimo se ajusta en incrementos de 1 hora: 00-01-02-03-04-05-06-07-08 -09-10-11-12-13-14-15-16-17- 18-19-20-21-22-23-24
- Cuando el ajuste de la temperatura Tiene exito, se ilumina el symbolo de la tecla del temporatorio 3.
Ejemplo: Pulse la tecla del temporizador 3 hasta que "04" aparezca en la pantalla, si el aparato de apagarse automatistically afterwards de 4 horas. Espere 3segundos.La informacion se transfiere automatistically.En 4 horas el aparato se apaga automatistically.
Si quiere asegurar de que el ajuste del temporizador haya sido aceptado, pulse una vez la tecla del temporizador 3. "Oo sus datos se muestran en la pantalla.
NOTA: Si el interruptor de encendido/apagado 6 se colocata en la posicion "O" o el termoventilador de torque se desconecta de la corrente electrica, se apagan el temporizador y la temperatura que ha programado.
5. Antes de la puesta en marcha del calefactor de torque con mando a distancia
5.1 Mando a distancia: Inserte/sustituya la pila
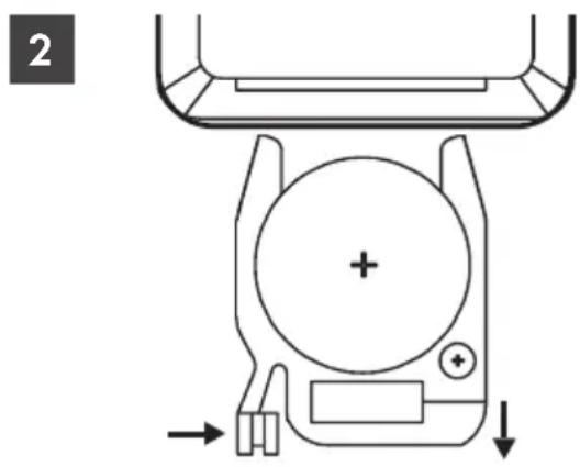
- Durante la entrega, se suministra a una pila de litio al mando a distancia. Para manejar el mando a distancia, retire la banda de plástico que sobresale del compartmento de las pilas (vase la figura 1).

Si es necessario sustituir la pila del mando a distancia, inserte una nuevo pila de botón de litio de 3 voltios. Preste atencion al tipo de pila de
botón de litio (CR2025).
Presione la tapa [15] en el compartmento de pilas [14] del mando a distancia hasta el centro. Saque el compartmento de las pilas [14] (vease figura 2).

Retire la pila usada 16.
- Inserte una nuevo pila de botón de litio de 3 voltios del tipo CR2025 según la polaridad.
- Empuje hacía atrás el compartmento de las pilas [14] en el mando a distancia hasta que la tapa [15] encaje.
6. Puesta en marcha (Calefactor de torque con mando a distancia)
6.1 Modo de espera

- Conecte el termoventilador de torre a una toma de corriente protegida con una conexión a tierra. Ponga el interruptor de encendido/apagado 6 en la posición "I" para suministrar corriente electrica al aparato. El aparato está ahora en modo de esper y la pantalla 1 muestra la temperatura ambiente.
6.2 Modo de ventilador
En el modo de esper, pulse la tecla de encendido/apagado 7 una vez. Launidad está ahora en el modo de ventilador.
6.3 Ajuste de los niveles de calentimiento (modo de calentimiento)

En modo de ventilador, pulse la tecla de nivel de calefacion 13 una vez. El aparato está ahora en el nivel de calefacion 1. El termoventilador de torque proportiona una potencia calorifica de 1200 W. El interruptor de encendido/apagado 5 se ilumina en azul.
Al pulsar la tecla de nivel de calefacion 13, el aparato pasa al nivel de calefacion 2. El termoventilador de torre proportiona una potencia calorifica de 2000 W. El interruptor de encendido/apagado 5 se illumina en rojo.
6.4 Desconexión del aparato
Para apagar el aparato, mantenga pulsado la tecla de encendido/apagado 7. El ventilador suege的功能:apagarse (se muestra una cuenta atras en la pantalla). El aparato vuelve al modo de esper. La pantalla muestra la temperature ambiente.
Ponga el interruptor de encendido/apagado en la posicion "O" para desconectar el termoventilador de torre de la corriente electrica.
6.5 Función de oscilación

Para activar o desactivar la oscilacion del aparato, pulse la tecla de oscilacion 12.
Cuando la activacioniene exito,se ilumina el symbolo de la tecla de oscilacion 4.
La funciona de oscilacion hace que el aire soplado se distribuya de izquierda a derecha.
6.6 Ajuste de la temperatura


Pulse la tecla de temperatura 8 paraunar en el modo de ajuste de la temperatura.
Pulse repetidamente la tecla M69 para augmentar a la temperatura que desee. Pulse repetidamente la tecla Menos 10 para disminuir a la temperatura que desee. Puede selectionar una temperatura entre 15^ y 40^
- Después deaabstar la temperatura desea espere 3 segundos. La informacion se transfiere automatistically.
Cuando el ajuste de la temperatura Tiene ex se ilumina el significo de la tecla de temperatura 2.
El termostato integrado enciende apaga對於a referencia automatically.
iATENCLON! Al ajustar la temperatura, teng a en cuesta que el aparato no calentará si la temperatura deseada es inferior o igual a la temperatura ambiente. Para calendar, la temperatura programada debe ser al menos 1^ superior a la temperatura ambiente. Se muestra automatistically al encender el aparato.
6.7 Ajuste del temporizador

El temporizador se usa para apagar automatistically el termoventilador de torre. Con el temporizador, se pueda selectionar un tiempo de desconexión en incrementos de horas. El termoventilador de torre se apaga automatistically.

En modo de ventilador o calefaction, pulse la tecla del temporizador [1] repetidamente para ajustar el temporizador.

Pulse repetidamente la tecla Mo9 o la La Menos 10 para ajustar el tiempo de sconexión que dese.
- Después deaabstarel tiempoode desconexideseada,espere3segundos.La informacionsetransfiereautomática.
El temporizador se pueda ajustar en incrementos de 1 hora:
00 - 01 - 02 - 03 - 04 - 05 - 06 - 07 - 08
- 09 - 10 - 11 - 12 - 13 - 14 - 15 - 16 - 17 - 18 - 19 - 20 - 21 - 22 - 23 - 24
Cuando el ajuste de la temperatura tiene exito, se ilumina el symbolo de la tecla del temporizador 3.
Si quiere asegurar de que el ajuste del, temporizador haya sido aceptado, pulse una vez la tecla del temporizador. Su entrada se muestra en la pantalla.
NOTA: Si el interruptor de encendido/apagado 6 se colocan en la posicion "O" o el termoventilador yde torque se desconecta de la corriente electrica, se apagan el temporizador y la temperatura que ha programado.
7. Dispositivos de proteccion del aparato
7.1 Proteccion contra el sobrecalentamento
Cada aparato se encuesta equipado con una proteccion contra el sobrecalentamento. Si el aparato se calienta demasiado, el elemento calefactor se desconecta automatically. Apague el aparato poniendo el interruptor de encendido/apagado en «O» y desconecte la clavija de alimentacion de la toma de corriente. Deje que el aparato se enfrie al menos 10 horas.
jATENCIOn! Por regla general, el sobrecalentimiento suele tener un motivo. Este pueda significar un peligro de incendio. Compruebesi el aparato能把disiparsuficiente el calor: ?Estacubierto el aparato odemasiado cerca de unobstaculo?Si es possible, subsane el problema. Aunque nocouldeantrar lacause,perosil a proteccioncontrael sobrecalentamento seactivapor
segunda vez, deben disconectar el aparato y ponser en contacto con la linea de asistencia技术水平 (vase el capitulo «Servicio»).
7.2 Protección antiinclinación
Cada aparato se encuesta equipado con una proteccion antiinclinacion Si el aparato segolpea accidentalmente o está sometido a una fuerte inclinacion durante su functiOnamento, se desconecta automatically. El aparato solo funciona en posicjion vertical.
8. Mantenimiento, limpieza y almacenamento
Desenchufe siempre la clavija de alimentacion cuando el aparato no está en uso y antes de cualquier limpieza o en caso de fallo de funcionaimiento.
Limpie el aparato solo cuando está apagado y frío.
Asegürese de que no entre humedad en el aparato durante la limpieza para evaporar que se dañe irreparamente.
Limpie la carcasa solamente con un pañoligeramente humedecido y un abrillantador suave. No utilise nunca productos de limpieza abrasivos y/o que rayen.
- Elimine los depósitos de polvo de las rejillas de ventilación con una aspiradora.
9. Eliminación

El embalaje está hecho de materiales respetuos con el medio ambiente que pueda(deschar en los+puntos de reciclaje locales.


El producto y el material de embalaje son reciclables. Separe los materiales para un mejor tratamiento de los residuos. El logo-tipo Triman se aplica solo para Francia.

Este producto está sujeto a la Directiva de la Unión Europea 2012/19/UE. No elimine el producto en la basura domestica, sino en los+puntos de re
cogida municipales para el reciclaje de materiales. Puede informarse de como elimina el aparato inservible poniendose en contacto con el ayuntamento o la administracion municipal.
Las pilas deben reciclarse de acuerdo con la Directiva 2006/66/CE y no deben eliminarse con la basura domestica. Todo consumidor tiene la obligacion legal de devolver todas las pilas/baterias recargables a un punto de recogida de su ayuntamento/distribto o a unUGCIO. Las pilas deben retirarse del aparato antes de su eliminacion. Solo devuela las pilas/baterias recargables cuando esten descargadas. Las pilas deben retirarse del aparato antes de su eliminacion.
Observe la identificacion de los materiales de embalaje al分开ar los residuos;这些stanMarcadosconabreviaturas(a)ynu-meros(b) con elsiguiente significado:1-7:Plasticos/20-22:Papelycarton/80-98:Materiales compuestos.

10. Declaración de conformidad de la UE

Este termoventilador de torque cumple con los requisitos de las directivas europeas y naciales aplicables.
11. Garantía de ROWI Germany GmbH
Estimado cliente:
Usted recibe este aparato con una garantía de 3 años a partir de la Fecha de compra. En caso de defectos en este producto, usted tiene derechos legales contra el vendedor del producto. Estos derechos legales no están restringidos por la garantía que se presenta a continuación.
Condiciones de garantía
El plazo de garantía comienza con la Fecha de com
pra. Conserve el recibo original en un lugar seguro. Se requires como comprobante de compra.
Si se produce un defecto de material o de fabricación en un plazo de tres años a partir de la Fecha de compra de este producto, reparamos o sustituiremos, a nuestra disreción, el producto de forma gratuite o le devolveremos el precio de compra. Este servicios de garantía require que, dentro del periodo de tres años, se presente el aparato defectuoso y el comprobante de compra (recibo) y se describa brevamente y por escrito en qué Conste el defecto y cuando se Produce.
Si el defecto está cubierto por这是我们 garantía, recibirá el producto reparado o uno nuevo. Con la reparación o el reemplazo del producto no comienza un nuevo periodo de garantía.
Periodo de garantía y reclamaciones legales por defectos
La prestación de garantía no amplía el periodo de garantía. Esto también se aplica a las piezas reemplazadas y reparadas. Cualquier dano o defecto ya presente en el momento de la compraDebe comunicarse de inmediato tras el desembalaje. Una vez transcurrido el periodo de garantía, las reparaciones incidentales están susujetas a costes.
Alcance de la garantía
El aparato se hafabricado cuidadosamente siguiendo strictas directivas de calidad y se ha evaluado cuidadosamente antes de la entrega.
La prestación de garantía cubre únicamente defectos materiales o de fabricación.Esta garantía no cubre las piezas del producto sometidas a un desgaste normal y que, por lo tanto, pueda considerarse piezas de desgaste, ni tampoco los días en piezas fragiles, p. ej., interruptores, baterías o piezas de vidrio.
Esta garantía queda anulada si el producto se daña, se utilizes Incorrectamente o recibe mantenimiento de forma inadequada. Para un uso adeuado del producto deben seguirse estRICTamente todas lasindicaciones de uso mentionadas en el manual de instrucciones. Deben evitarse a toda costa los usos y acontez desaconsejados o advertidos en el manual de instrucciones.
El producto no está Diseñado para el uso privado y no para el uso comercial. La garantía queda anulada en caso de uso indebido o de manipulación incorrecta, de uso de la fuerza y de intervenciones que no hayan sido realizadas por nuestro service Tecnico autorizado.
Tramitación de la garantía
Para que su solicitudes setramite rápidamente, tome en cuenta las siguientesindicaciones de uso:
Para todas las consultas,onga a mano el número de articulo (IAN 367685_2101) y el recibo como comprobante de compra.
- Consulte la placac de caractertisticas del producto, la portada de su manual (abajo a la izquierda) o la etiqueta de la parte trasera o inferior del producto para consultar el numero de articulo.
Si se producen erros de funciona u.culos defectos,pongase primero en contacto con el service de asistencia的技术ica que se indica a continuacion por Telefono o por correto electronomico.
Si un produit的结果a defectuoso, pueda enviarlo exento de franqueo a la direccion de servicios que se le ha facilitado, adjuntando el comprobante de compra (recibo) eindicando cuales es el defecto y cuando se ha producido.

En www.lidl-service.com puede descargar这些东西 y muchos más manosales, videos de produits y software de instalación. Este número QR le��vará directamente a la頁a de servicios de Lidl (www.lidl-service.com) y pueda abrir su manual de instruciones introduciendo el número de articulo (IAN 367685_2101).
12. Servicio
Si se producen problemas durante el funcionaamente de su producto de ROWI Germany, proceda de la?siguementeforma:
Contacto
Puede contactar con el equipo de servicios de ROWI Germany en:
ROWI Germany GmbH
La mayoría de los problemasULDuen resolverse ya en el marco del asesoramento的技术ico y competente de nuestro equipo de servicios.
ManualFácil