KE7951T - Hervidor eléctrico Superior - Manual de uso y guía de instrucciones gratis
Encuentra gratis el manual del aparato KE7951T Superior en formato PDF.
Preguntas frecuentes - KE7951T Superior
Preguntas de los usuarios sobre KE7951T Superior
0 pregunta sobre este aparato. Responde a las que conoces o haz la tuya.
Hacer una nueva pregunta sobre este aparato
Descarga las instrucciones para tu Hervidor eléctrico en formato PDF gratis! Encuentra tus instrucciones KE7951T - Superior y toma tu dispositivo electrónico nuevamente en la mano. En esta página están publicados todos los documentos necesarios para el uso de su dispositivo. KE7951T de la marca Superior.
MANUAL DE USUARIO KE7951T Superior
Manual de instructaciones

Modelo: KE-7951T
| INDICACIONES DE SEGURIDAD IMPORTANTES 65 | |
| VISTA GENERAL DEL APARATO 66 | |
| Manejo de los aparatos 67 | |
| Limpieza y cuidado 69 | |
| Descalcular 69 | |
| DATOS TÉCNICOS 70 | |
| INDICACIONES PARA LA ELIMINACION 70 | |
| ATENÇÃO AL CLIENTE / GARANTIA 70 |
En la realizacion de aparatos electricos seiene que prestar atencion aindicaciones de seguridadfundamentales. Para evitar el peligro de quemaduras,descargas electricas,uegos y/o daños en personas,lea antes de la puesta en service de este aparato con atencion el manual de instrucciones y tengaa encuenta, durante la realizacion todas las indicaciones.
Guarde este manual de instrucciones para una posterior consulta.
INDICACIONES DE SEGURIDAD IMPORTANTES
- Enchufe la estación base solamente a una toma de corriente correctamente instalada. No utilise una regleta de enchufes o un cable de prolongación.
- La tension indicaea en la plac indicadora de tipo de la estacion baseiene que coincidir con la tension de la red eletrica.
- Utilice la estacion base solamente con el cable de red suministrado!
- Al utilizar los aparatos preste atencion, a que el cable de red no se pueda convertir en una causa de tropiezos.
- Mantenga el cable de red alejado de superficies calientes, fuego abierto, como bodes afilados.
- No toque los aparatos, la estación base, el cable de red y el enchufe nunca con las manos humedes o mojadas.
- Nuncasumerjalo aparatos,la estacion base, el cable de red y el enchufe en agua uothers liquidos. Existepeligro de muerte por descarga electrica!
- Al sacar el enchufe de la toma de corriente tire siempre por el enchufe y nunca por el cable.
- No utilise los aparatos al aire libre.
- Utilice los aparatos solo en la estación base suministrada.
- Preste atencion a las MARCAS dellenado (min. / max.) de los aparatos. En caso de escazacantidad de agua el calentador de agua possible sobrecalentarse. En caso de una cantidad muy elevada de agua, el agua caliente sobrante pueda detramarse.
- No utilise el calentador de agua y la jarra de cristal sin contenido. Preste atencion, a que los aparatos no se sobrecalienten.
- Para evaporar quemaduras teng a mucho cuidado al abrir la tapa del calentador de agua cuando esté todas caliente.
-
Por favor teng a en cuent, que la jarra del te está hecha de un material resistente al calor, pero que aun asie possible romperse. Nunca vierta agua caliente en la jarra, si ya se encuntra encima del aparato eletrico. En caso de una raja, el liquido podria detramarse por encima del aparato. iPeligro de una descarga electrica!
-
Preste atencion a un manejo cuidadoso de la jarra de te, para que esta no pueda romperse y/o causar lesiones. Controle la jarra regularmente conctico a posibles daños o rajas.
- La placac de calentamento para la jarra de te sirve exclusivamente para mantener caliente y no para calentar / cocer agua/té. Nunca intente calentar agua/té en la placac de calentamento, dato que la jarra podria revertar. Peligro de lesiones! Peligro de descarga electrica!
- Nocede los aparatos durante el servicios sin vigilancia.
- Durante el serviceo los aparatos y la tapa se calientan mucho. Tóquelos solamente en los mangos. Peligro de quemaduras!
- Preste atencion, a que las tapas esten siempre bien cerradas durante la cocción y cuando vierta el contenido. iPeligro de quemaduras!
- Preste atencion, a que los orificios de los aparatos no esten dirigidos a personas o a objetos, dato que durante la cocation por los orificios sale vapor caliente.
- Antes de limpiar los aparatos desenchufelos y déjelos enfiar Completely.
- Los niños no reconocen los peligros que pueda producirse al manejar aparatos electricos.
jPreste especial atencion durante el manejo del aparato, si se encuentran niños cerca! - Mantenga los materiales de embalaje como bolas de plástico o piezas de corcho blanco fuera del alcance de niños. Peligro de asfixia!
- No utilise los aparatos, si presentan danos, si se han caido o si no funciona correctamente.
- Revise los aparatos, el cable de red, como el enchufe regularmente para detectar posibles daños. Nunca utilise los aparatos, si ha detectado algo dono. No intenteregarlar los aparatos por su cuenta.
Las reparaciones solo peuvent ser llvadas a cabo por personalrialificado. - Utilice solo los accesos originales suministrados. Otras piezas no recomendadas por el fabricante podrián dañar el aparato o causar lesiones.
INDICACIONES DE SEGURIDAD IMPORTANTES / VISTA GENERAL DEL APARATO / DISPLAY ESTACION BASE / CALENTADOR DE AGUA DE ACERO INOXIDABLE/ CALENTADOR DE AGUA DE ACERO INOXIDABLE
E
- Utilice los aparatos solo en superficies resistentes al calor. No colque el aparto cercada de fuentes de calor o fuego abierto.
- Utilice los aparatos exclusivamente para calendar agua. No utilizes los aparatos para calendarotirosliquidos (porejemplo leche) o para cocer/calentar alimentos al bano Maria.
- Los aparatos solo son aptos para su uso privado y no para el uso.
VISTA GENERAL DEL APARATO
| DISPLAY ESTACION BASE | |
| 1 | Indicación de funciona |
| 2 | Indicación digital |
| 3 | Lampara paraindicaciónde la temperaturaactual (amarillo) |
| 4 | Lampara para temperaturaseLECTIONada(verde) |
| 5 | Interruptor deencendido/apagado |
| 6 | Tecla para bajarla selección(-) |
| 7 | Tecla para subirla selección(+ ) |
| CALENTADOR DE AGUA DE ACERO INOXIDABLE | |
| 1 Filtro del calentador de agua | |
| 2 Tapa | |
| 3 Botón de aperture | |
| 4 Mango | |
| 5 Indicador de nivel de agua | |
| 6 Interruption de encendido/apagado (función de desconexión automatística) | |
| 7 Carcasa del calentador de agua | |
| 8 Base | |
| 9 Cavija | |
| 10 Conexión tripolar |


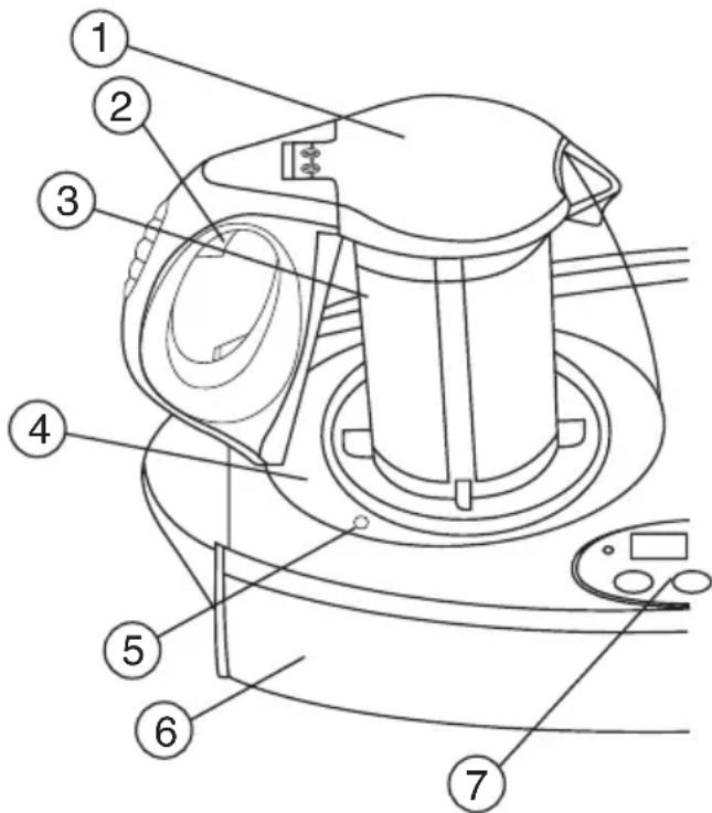
JARRA DE TÉ Y PLACA DE CALENTAMIENTO / MANEJO DE LOS APARATOS / ESTACION BASE / CALENTADOR DE AGUA
E
| JARRA DE TÉ Y PLACA DE CALENTAMIENTO | |
| 1 | Tapa de la jarra de tí |
| 2 | Botón de aperture de la tapa |
| 3 | Filtro |
| 4 | Placa de calentimiento |
| 5 | Sensor de temperatura |
| 6 | Carcasa de la base |
| 7 | Indicación digital y regulator |
MANEJO DE LOS APARATOS
Indicación importante:
Recomendamos limpiar el calentador de agua y la jarra de te, antes del primer uso, según los pasos descriitos a continuación,ociendo una vez agua y tirandola afterwards. De esta manière se eliminan posibles polvos o residuos del proceso de fabricación.
ESTACION BASE
- Coloque la estación base en una superficie dura, plana y resistente al calor. Preste atencion, a que el aparato no pueda deslizar o volcar.
- Inserte la connexion tripolar del cable de red en el zócalo de connexion de la的最佳 base. La connexion tiene que ser fuerte y no pueda bailar.
CALENTADOR DE AGUA
- Pulsando el botón rectangular en el mango del calentador de agua se sueña y abre la tapa del calentador de agua.
- Llene el deposito con agua clara. LaULD Tiene que estar entre las MARas de llnado (min./max.) del aparato. Si la cantiDad de agua no es suficiente el aparato podria sobrecalentarse. Si la cantiDad de agua es demasiada el agua podria detramarse.
- Llene el deposito para cada cocción con agua nuevo. Tire el agua que se haya quedado y enfriado en el deposito.

- A continuación ciderre la tapa, ya que el aparato sólo se apaga automatistically cuando el agua está cocciendo, si la tapa está cerrada. Pulse la tapa con la mano hacía abajo y preste atencion a que quede bien enclavada.
- Coloque el aparato encima del zócalo de la estación base para el calentador de agua y enchufe el aparato. En calentador tiene que tener una posición segura encima del zócalo de la estación base.
- Preste atencion a que el orificio del aparato no está dirigido a personas o a objetos, dato que durante la cocción por los orificios sale vapor caliente.
CALENTADOR DE AGUA / JARRA DE CRISTAL PARA TÉ / FUNCION DE CALENTAMIENTO PARA LA JARRA DE TÉ
E
- Coloque el interruptor del aparato en "1", la lámpara de control indica, Que el aparato está encendido. A continuación se calienta el agua.
- Preste atencion a que la tapa esté bien cerrada durante el proceso de cocción. Peligro de quemaduras!
- Después de cocer el agua, el aparato se apaga automatistically. El interruptor salta a la posición "0" y la lámpara de funciona el apaga.
- Después de calendar el agua espere todas un momento, hasta que el agua ya no hierva. Durante la cocción y cuando vierta el agua no abra la tapa.
- Si levanta el aparato de la estación base el proceso de coccción se interruppe/termina inmediamente. El aparato se apaga.
- El calentador de agua está provisto de una proteccion contra sobrecalentamento, que interrupper el serviceo, si se enciende al aparato sin querer sin agua. En este caso el aparatoiene que enfriarse por lo menos durante 15 Minutes antes de llenar y encender另一边 vez el aparato.
- Si no utilizes el aparato saque la clavija de la toma de corriente.
JARRA DE CRISTAL PARA TÉ
- Pulsando el botón en la parte interior del mango se abre la tapa de la jarra de cristal.
- Saque el filtro mediante el asa de la jarra de te. Ahora能把 llenar el filtro con hojas de te.
- Coloque el filtro另一边 vez en la jarra de te.
El filtro tiene que ser susjetado en la conexión prevista paraarlo. - A continuación vierta con cuidado el agua calentada, pero que ya no está hiriendo del calentador de agua en la jarra de te.
- Cierre la tapa de la jarra de cristal. Deje reposar el te.
- Si se ha terminado el, abra la tapa pulsando el botón en el interior del mango.
- Saque el filtro de la jarra de cristal. Paraarlo utilise el mango de plástico del filtro. iPeligro de quemaduras!
- Coloque el filtro en una superficie resistente al calor y al agua.
Cierre la tapa de la jarra de cristal. - Levante la jarra de cristal solo por el mango de plastico. iPeligro de quemaduras!
ATENCION:
Por favoronga en cuenta, de que la jarra del té está hecha de un material resistente al calor, pero que aún así pueda romperse. Nunca vierta agua caliente en la jarra, si ya se ENCuentra encima del aparato electrico. En caso de una raja, el liquido podía detramarse por encima del aparato.
jPeligro de una descarga electrica!
Evite someter a la jarra a cambio de temperatura bruscos. Nunca vierta agua fria en la jarra todas caliente.
Controle regularmente la jarra de te para evitar posibles rajas o danos.
- Primero prepare el tí como se describe en el punto "jarra de cristal para tí" Tenga enckeuta, que la placac de calentamento solo se pueda utiliser para mantener caliente el agua/te y no para calentarlo / cocerlo.
- Coloque la jarra de tllena encima de la placar de calentamento de la estacion base.
- Pulse la tecla ON/OFF para encender la placado calentamento.
- La lámpara roja "Current Temp" se enciende, el display se enciende y se ve la indicación azul "Power".
- En cuando se enciende la plac de calentimiento, el sensor de temperatura empieza a medir la temperatura del te en la jarra de cristal. Este procedimiento pueda durar algunos Minutes. Durante este procedimiento el display parpadea.
- Si lacantidad de liquido en la jarra de te está por debajo del minimo o la jarra de te no está colocada correctamente encima de la placar de calentimiento, la funciona de calentimiento no funciona.
- Si la temperatura en la jarra de cristal esblemado alta, la placac de calentamente no funciona, hasta que el te se haya enfiado un poco. En este caso la indicacion azul "Power" no se enciende hasta que el te se haya enfiado un poco.
- Si el sensor de temperatura ha medido la temperatura actual del té, se indica en el display. La indicación roja "Current Temp" se enciende.
FUNCION DE CALENTAMENTO PARA LA JARRA DE TÉ /LMPIEZA Y CUIDADO / DESCALCIFICAR
E
- Ahora se puedaaabstar la temperatura deseada. Laindicacion"SettingTemp"se enciende.
- La temperatura ajustable es de 50^ a 85^ .
- La temperatura estandar es de 70^ .
- Paraaabstar la temperatura deseada, pulse las teclas ^ + ^ (aumentar la temperatura) o"-(bajar la temperatura).
- Pulsando brevemente las teclas ^ + ^ o - aumenta o bajo la temperatura en un 1^ .
- Manteniendo pulsadas las teclas "+" o "-" la temperaturaurrenta o baja en 5^
- Alaabstar la temperatura el display indica la temperatura correspondiente y la indicacion "Setting Temp" se enciende.
- El ajuste puede ser modificado en cualquier momento.
- Para finalizar la funciona de calentimiento pulse la tecla "ON/OFF". El aparato se apaga.
- El Sistema de calentimiento para automatistically après de un tiempo de servicios de 90 horas para registrar un sobrecalentimiento del aparato. Paraunar la función de calentimiento pulse otra vez la tecla ON/OFF y procebe como se describe anteriorsmente.
LMPIEZA Y CUIDADO
Atencion:
Antes de la limpieza desenchufe el aparato y déjelo enfiar completeness.
- Nosumerja los aparatos, la estacion base, el cable de red y la clavija para su limpieza en agua uothers liquidos.
- Limpie la estación base, el cable de red y la clavija con un pano seco.
- Si la parte exterior del calentador de agua está muy sucia puede limparla con un paño humedo yURTARla secar a continuación completeness.
- Después de utiliser la jarra de te, enjuáguela y séquela bien para eliminar el olor a te no deseado.
- El bajo de la jarra del tío lo可以选择 lavar con agua y un detergente suave.
- No utilise liquidos abrasivos, esponjas fuertes o detergentes agresivos, que poder dan darar la superficie.
DESCALCIFICAR
El calentador de agua tiene que ser descalcificado regularamente. Los intervalos dependen del grado de dureza del agua y de la Frequencia de uso. Para garantizar la seguridad durante el service del aparato, seiene que descalcifar el aparato sobre todo si se notan signos de calculacion evidentes. Para la descalcificacion utilize una mezcla de vinagre (no可以选择 ser una esencial) y agua con una proportion de mezcla de 1:3.
- Llene el depuesto de agua del aparato hasta alcanzar la.altura dellenado maxima con la。
solución de vinagre y déjela durante aprox. 1 hora en el depuesto. - A continuación caliente la solución de vinagre en el aparato y después tira el liquido.
- A continuación llene el calentador de agua hasta la alta dellenado maxima con agua clara, la calienta y después tira el agua.
DATOS TÉCNICOS / INDICACIONES PARA LA ELIMINACION / ATENCIONAL CLIENTE / GARANTÍA
E
DATOS TECNICOS
| MODELO: KE-7951T | |
| CALENTADOR DE AGUA | |
| Tensión de red: 220 - 240V ~ 50 Hz | |
| Tensión nominal: 1850 - 2200 varios | |
| Capacidad: 1,7 litres | |
| Indicación de nivel de agua: min. / max. | |
| Tapa de seguridad Si | |
| Desconexión automatica Si | |
| Protección contra sobrecalentimiento si | |
| PLACA DE CALENTAMIENO | |
| Tensión de red 220 - 240V ~ 50 Hz | |
| Tensión nominal 55 varios | |
| Función de mantenimiento de calor Si | |
| JARRA DE CRISTAL PARA TÉ | |
| Capacidad 1,2 litres |
INDICACIONES PARA LA ELIMINACION

- Aparatos electricos no pueda ser tirados a la basura domestica. La legislación prescribe, que aparatos viejos tienen que ser eliminados en los+puntos limpios publicos de los@municipios.
- Sólo asi se pueda asegurar la eliminación correcta de aparatos viejos.
ATENCIón AL CLIENTE / GARANTÍA
El tiempo de garantía es de 3 años y comienza con el día de la compra. Para poder comprobar el día de la compra es必須o guardar el recibo.
La garantía es valida para aparatos que hayan sido comprados en Alemania. Cubre defectos ymericanas erroneas, que aparezcan durante el tiempo de garantía con un uso normal del aparato y se deban a fallos de material y de fabricación.
En caso de garantía noiene que correr con los costes de la reparación.
La garantía termina en caso de desperfcto,
modificacion outilizacion Incorrecta del
aparato, si se encuentran fuera del campo de
responsabilidad del fabricante. Este es valido en
especial para los siguientes casos:
- Manejo del aparato por personas no autorizadas.
ATENCIón AL CLIENTE / GARANTÍA
E
Modificaciones del o dentro del aparato, eliminacion o destrozo del numero de series, eliminacion o destrozo de la plac identificadora del aparato.
- En caso de danos, que se deban a golpes, caidas o Manipulacion.
- En caso de danos, que se deban a un manejo o un uso Incorrecto.
- En danos por causas externas, como por ejemplo sobrecarga, rayos.
- Uso commercial del aparato.
Sus derechos legales en caso de un defecto del aparato (segunda entrega, derogación, rebaja, indemnización conforme a § 437 BGB) no son limitados por esta garantía.
Guarde el embalaje original para una possible devolución a causa de un desperfekto.
Partes reparadas oambiadas tienen por termino general el tiempo de garantía restante del aparato.
Si tiene preguntas acerca del aparato o con家住 a este manual o ha detectado posiblesfallos en el aparato, dirijase directamente anuestro Telefono de atencion al cliente paraaclarar los siguientes pasos.
HOTLINE/EU: (0049) - (0)1805 64 66 66*
(*0,14 €/MINUTO PARA LLAMADAS DESDE FIJO DE LA DEUTSCHTELEKOM)
INDICACION IMPORTANTE:
Por favor no envie su aparato a nuestra direccion sin previo avis. Contacte antes con nuestro Telefono de atencion al cliente. Los costes y el peligro de perdida por un envio sin previo avis van a cargo del expedidor. Nos reservamos el decrecho de negar la recepcion de mercancia enviada sin previo avis o enviar esta mercancia de vuelta con cargo para el expedidor.
CIKKSZ.: 10000123
Gyártó:
ManualFácil