40CBS - Calefacción DOVRE - Manual de uso y guía de instrucciones gratis
Encuentra gratis el manual del aparato 40CBS DOVRE en formato PDF.
Preguntas frecuentes - 40CBS DOVRE
Preguntas de los usuarios sobre 40CBS DOVRE
0 pregunta sobre este aparato. Responde a las que conoces o haz la tuya.
Hacer una nueva pregunta sobre este aparato
Descarga las instrucciones para tu Calefacción en formato PDF gratis! Encuentra tus instrucciones 40CBS - DOVRE y toma tu dispositivo electrónico nuevamente en la mano. En esta página están publicados todos los documentos necesarios para el uso de su dispositivo. 40CBS de la marca DOVRE.
MANUAL DE USUARIO 40CBS DOVRE
Declaración de prestaciones 4
Seguridad 6
Condiciones de instalación...6.....
Condiciones generales 6
Chimenea 6
Ventilación de la habitación 7
Suelo y paredes 8
Descripción del producto 8.
Instalación 9
Preparación 9
Montar las patas 9
Montar la palanca del pestillo.... 9
Preparación de la conexión a la chimenea 9
Colocación e instalación 11
Uso 11
Primer uso 11
Combustible 11
Encendido 12
Alimentar con leña 13
Extinción del fuego 14
Eliminar la ceniza 14
Nieblas y brumas 14
Posibles problemas 14
Mantenimiento 14
Chimenea 15
Limpieza y mantenimiento periódico.... 15
Anexo 1: Especificaciones técnicas..... 17
Anexo 2: Medidas 18
Anexo 3: Distancia a materiales inflamables 20
Anexo 4: Diagnóstico de problemas... 22
Índice 23
Introducción
Estimado cliente,
con la compra de este aparato de calefacción DOVRE, ud. ha adquirido un producto de calidad.
Este producto forma parte de una nueva generación de aparatos de calefacción respetuosos con el medio ambiente y con un consumo de energía más eficiente.
Estos aparatos hacen un uso óptimo tanto del calor por convección como del calor por irradiación
Su aparato DOVRE ha sido fabricado con los más modernos procesos de fabricación. En caso de avería en su aparato, puede enviar su reclamación al servicio técnico de DOVRE.
El aparato no puede modificarse; utilice siempre componentes originales.
El aparato está creado para el uso en viviendas. Debe conectarse de manera hermética a una chimenea que funcione correctamente.
Le aconsejamos que la instalación de su aparato la realice un instalador certificado.
DOVRE no se hace responsable de los problemas o daños originados por la instalación inadecuada de sus productos.
Durante la instalación, tenga en cuenta los consejos de seguridad que se describen a continuación.
En este manual podrá leer cómo instalar, utilizar y mantener su aparato de calefacción DOVRE de manera segura. Si desea obtener más información o datos técnicos adicionales, o si tiene problemas con la instalación, póngase en contacto con su distribuidor.
© 2014 DOVRE NV
Declaración de prestaciones
De conformidad con el reglamento de productos de construcción 305/2011
N.° 008-CCPR-2013
- Código de identificación único del tipo de producto:
40CBS
- Número de tipo, partida o serie, así como otro medio de identificación para el producto de construcción, tal y como se describe en el artículo 11, apartado 4:
Número de serie único.
- Usos previstos del producto de construcción, de conformidad con la especificación técnica armonizada aplicable, tal y como haya determinado el fabricante:
Estufa para combustible fijo sin producción de agua caliente según EN 13240.
- Nombre, nombre comercial registrado o marca comercial registrada y dirección de contacto de fabricante, tal y como se describe en el artículo 11, apartado 5:
-
Siempre que sea aplicable, nombre y dirección de contacto del poderhabiente que desempeña tareas indicadas en el artículo 12, apartado 2:
-
El sistema o los sistemas para la evaluación y verificación de la constancia de las prestación producto de construcción, mencionadas en el anexo V:
Sistema 3
- En el caso de que la declaración de prestaciones esté relacionada con un producto de cor sujeto a una norma armonizada:
El organismo KVBG designado, registrado con el número 2013, ha realizado conforme al sistema 3 un examen de tipo y ha proporcionado el informe de prueba n° H0046.
-
En el caso de que la declaración de prestaciones esté relacionada con un producto de cor para el que se ha emitido una evaluación técnica europea:
-
Prestación declarada:
| La norma armonizada EN 13240:2001/A2 ;2004/AC :2007 | |
| Características esenciales PrestacionesLeña | |
| Seguridad contra incendios | |
| Resistencia al fuego A1 | |
| Distancia a materiales inflamables | Distancia mínima en mmParte posterior: 400Lateral: 400 |
| Riesgo de caída de brasas incandescentes Conforme | |
| Emisión de productos de combustión CO: 0,12% (13%O 2) | |
| Temperatura de la superficie Conforme | |
| Seguridad eléctrica - | |
| Limpieza sencilla | Conforme |
| Presión máxima de funcionamiento | - |
| Temperatura del gas residual a potencia nominal | 241 °C |
| Resistencia mecánica (carga máxima de la chimenea) | No determinada |
| Potencia nominal | 6 kW |
| Rendimiento | 82,4 % |
- Las prestaciones del producto descrito en los puntos 1 y 2 son conformes con las prestac declaradas en el punto 9.
Esta declaración de prestaciones se emite bajo la exclusiva responsabilidad del fabricante mencion en el punto 4.

text_image
T. Gehem24/06/2013 Weelde
Tom Gehem Director ejecutivo
En el marco de la mejora continua de nuestros productos, las especificaciones del aparato suministrado pu variar de aquellas descritas en este manual, sin necesidad de previo aviso.
DOVRE N.V.
Bélgica Correo electrónico : info@dovre.be
Seguridad
¡Atención! Siga las instrucciones de seguridad del fabricante al pie de la letra.
⚠ Lea atentamente las instrucciones para la instalación, uso y mantenimiento del aparato antes de ponerlo en funcionamiento.
La instalación del aparato debe cumplir con todas las normativas y regulaciones vigentes en su país de residencia.
El aparato debe cumplir con todas las disposiciones locales y las disposiciones que tengan relación con normativas nacionales o europeas.
Haga instalar preferiblemente su aparato por un instalador certificado. Este podrá informarle de todas las disposiciones y normativas vigentes.
Este aparato se ha diseñado para fines de calefacción. ¡Todas las superficies del mismo, incluyendo el cristal y el tubo de conexión, pueden alcanzar temperaturas muy elevadas (más de 100 °C)! Para manipular el aparato cuando esté en funcionamiento, utilice una "mano fría" o guantes protectores contra el calor.
Asegúrese de que existe suficiente protección cuando haya niños, minusválidos y ancianos ¿perca del aparato.
Se deben respetar estrictamente las distancias de seguridad hasta el material inflamable.
Evite colocar cortinas, prendas, ropa lavada u otros materiales inflamables sobre el aparato en las cercanías del mismo.
Cuando el aparato esté en funcionamiento, utilice sustancias inflamables o explosivas cerca del mismo.
Evite incendios en la chimenea haciéndola limpiar periódicamente. No deje la puerta abierta mientras el fuego esté encendido
En caso de incendio en la chimenea: cierre las entradas de aire del aparato y llame a los bomberos.
En caso de que el cristal del aparato se haya roto o agrietado, deberá reemplazar el cristal antes de volver a utilizar el aparato.
Mantenga la habitación donde se coloque el aparato bien ventilada. Una ventilación insuficiente de la habitación puede producir una combustión insuficiente y la liberación de gases tóxicos. Consulte la sección "Condiciones de instalación" para saber más sobre la necesidad de ventilación.
Condiciones de instalación
Condiciones generales
El aparato debe conectarse a una chimenea en buen estado
Para realizar la conexión: lea el anexo "Especificaciones técnicas"
Infórmese en su departamento local de bomberos y / o en su compañía aseguradora sobre posibles requisitos y normativas.
Chimenea
La chimenea es necesaria para:
La evacuación de los gases inflamables, mediante el tiro natural.
s i El aire caliente que se encuentra en el interior de la chimenea es más ligero que el aire exterior. Esto provoca que el aire se eleve.
La succión del aire, necesaria para la combustión del combustible dentro del aparato.
n°Una chimenea en mal estado puede ocasionar el retorno de los gases al abrir la puerta del aparato. Los daños producidos por el retorno de gases están excluidos de la garantía.
No conecte varios aparatos a la misma chimenea (por ejemplo, conectar además del aparato, una caldera de calefacción central), a menos que las normativas locales o nacionales así lo permitan. En el caso de dos

conexiones, asegúrese de que la diferencia de La chimenea debe desembocar en una zona del altura entre las conexiones es de al menos 200tejado que no esté obstaculizada por edificios mm. adyacentes, árboles cercanos u otros obstáculos.
Su instalador podrá asesorarle sobre las normativas de seguridad de la chimenea. Consulte la Normativa Europea EN13384 para hacer un cálculo adecuado la capacidad de su chimenea.
La chimenea debe cumplir con las siguientes condiciones:
La chimenea debe estar fabricada con materiales ignífugos, preferentemente materiales cerámicos o acero inoxidable.
La chimenea debe estar herméticamente cerrada bien limpia, y debe asegurar un tiro suficiente.

Lo ideal es conseguir un tiro/presión mínima 15 - 20 PA durante una carga normal.
La chimenea debe ser lo más vertical posible - desde el punto de salida del aparato -. Las desviaciones y / o posibles tramos horizontales dificultan la evacuación de los gases inflamables, pudiendo originar acumulaciones de hollín.
El interior del tubo no debe ser demasiado grand para evitar que los gases inflamables se enfríen demasiado rápido y se reduzca la capacidad de tiro.
Es aconsejable que la chimenea tenga el mismo diámetro que el cuello de conexión del aparato.

Para el diámetro nominal: consulte el anexo "Especificaciones técnicas" Cuando el conducto de humos está bien aislado, el diámetro puede ser algo más grande (como máximo el doble de la sección del cuello de conexión).
La sección (superficie) del conducto de humos há de ser constante en toda su longitud. Los ensanchamientos y (muy especialmente) los estrechamientos pueden obstaculizar la evacuación de los gases inflamables.
Al aplicar la caperuza o sombrerete sobre la chimenea: evite que la caperuza estreche la salida de la chimenea o que obstaculice la liberación de gases de combustión.
La parte de la chimenea situada fuera de la vivienda debe estar aislada.
La chimenea debe tener una altura mínima de 4 metros.
Puede seguir esta sencilla regla: 60 cm sobre la parte mas alta del tejado.
Si el caballete del tejado está situado a más de 3 metros de la salida de la chimenea: siga las medidas indicadas en la siguiente imagen. A = el punto más alto del tejado dentro de una distancia de 3 metros.

text_image
de 3 m min. 0.5 m min. 1 m A eφ9.20500.001Ventilación de la habitación
Para que la combustión sea adecuada, el aparato necesita aire (oxígeno) Este aire entra por las tomas de aire regulables y procede del espacio en el que está situado el aparato.

Si la ventilación es insuficiente, la combustión no será completa, lo que podría liberar gases tóxicos en la habitación.
Una regla sencilla es que la conducción de aire debe ser de 5,5 cm²/kW Se necesita ventilación adicional en los siguientes casos:
Cuando el aparato está en un espacio bien aislado.
Cuando existe ventilación mecánica en el espacio, por ejemplo, un sistema de extracción de aire central o una campana extractora en una cocina abierta.
Para una ventilación adicional, puede instalar una rejilla de ventilación en el muro exterior.

Procure que otros aparatos de aire caliente (como secadoras, aparatos de calefacción o calefactores de baño) tengan su propio acceso de aire exterior, o que estén apagados mientras el aparato está funcionando.
Suelo y paredes
El suelo sobre el cual se coloca el aparato debe tener una capacidad de carga suficiente. El peso del aparato se encuentra en el anexo "Especificaciones técnicas"

Proteja los suelos inflamables instalando una placa ignífuga que los aíslen de la radiación calor. Consulte el anexo "Distancia a materiales inflamables".

Retire los materiales inflamables como el linóleo, las alfombras, etc. de debajo de la placa ignífuga.

Mantenga siempre una distancia de seguridad entre el aparato y materiales inflamables tales como paredes de madera y muebles.

Tenga en cuenta que el tubo de conexión también irradia calor. Procure que haya siempre suficiente distancia o protección entre el tubo de conexión y los materiales inflamables.
La regla de tres para un tubo sencillo es dejar una distancia equivalente a tres veces el 5. diámetro. En caso de que el tubo lleve un 6. revestimiento protector, esta distancia puede reducirse a una vez el diámetro.

Las alfombras deben colocarse a una distancia mínima de 80 cm del fuego.

Proteja los suelos inflamables delante de la estufa instalando una placa protectora ignífuga para protegerlo contra la posible caída de cenizas. Dicha placa protectora debe cumplir con las regulaciones nacionales vigentes.

Encontrará las medidas de la placa protectora ignífuga en el anexo "Distancia de materiales inflamables".

Para más requisitos de seguridad contra incendios, consulte el anexo "Distancia de materiales inflamables".
e Descripción del producto

text_image
⑥ ① ② ③ ④ ⑤09-20001-033
- Puerta
- Bloqueo
- Portillo de regulación de aire
- Colector de ceniza
- Pata ajustable
- Conexión de gas residual (cerrada)
Características del aparato
El aparato está provisto de patas ajustables en altura.
El aparato se puede conectar en el costado, en la parte posterior o en la parte superior a la chimenea. Para la conexión en la parte superior se requiere un cuello de conexión que se adquiere separadamente.
Es posible suministrar para el aparato una pieza con la indicación 5T que tiene la función de intercambiador de calor. Vea "Anexo 2: Medidas" para la medida de la pieza 5T. A través de esta pieza, el aparato se puede conectar al costado o en la parte superior. Para la conexión en la parte superior a través de esta pieza se puede utilizar el cuello de conexión suministrado.

La base de fuego está provista de un patrón estriado. La ceniza que se acumula entre las estrías sirve como capa aislante y de protección de la base de fuego.
Instalación
Preparación
Nada más recibir el aparato, compruebe que no tenga daños (por ejemplo, de transporte) y que no tenga defectos.

Si detecta daños (producidos en el transporte) o defectos en el aparato, no lo utilice y póngase en contacto con su distribuidor.
Retire los componentes desmontables (las placas interiores de hierro) del aparato antes de instalario. La puerta también puede retirarse con facilidad.

Quitando estos componentes desmontables, le será más fácil manipular y mover el aparato sin dañarlo.

Fijese en la posición original de estos elementos antes de retirarlos, para poder volver a colocarlos en la posición correcta.
-
Abra la puerta del aparato y extráigala.
-
Retire primero las placas de hierro fundido.

Las placas de hierro protegen la cámara de combustión y transmiten el calor al exterior.

text_image
09.20015.091Monte las dos partes de las patas con los pernos M6 suministrados, a la altura deseada.
- Ladee la estufa de espaldas.
- Monte las cuatro patas en la placa base con las arandelas y las tuercas M8 que se encuentran en la placa base.
Montar la palanca del pestillo
Montar la palanca en el pestillo con los materiales de sujeción suministrados; vea la siguiente imagen.
Montar las patas
Monte las patas en el aparato; vea la siguiente figura.

09-20001-034
Preparación de la conexión la chimenea
Al conectar el aparato a la chimenea, puede optar entre realizar la conexión en el costado, la parte

posterior o en la parte superior. Vea los párrafos "Conectar en el costado o en la parte posterior" y "Conectar en la parte superior". También puede realizar la conexión mediante la pieza 5T, vea el párrafo "Conectar con la pieza 5T".
En caso de conexión en la parte superior del aparato, necesita un cuello de conexión especial. Este cuello de conexión (junto con una tapa) se puede adquirir separadamente. El número de pedido es 03.15317.020.
Al entregar el aparato, no hay abertura de gas residual.
La masilla refractaria y los materiales de fijación vienen suministrados con el aparato.
- Deslice la arandela por el tornillo y enrosque la tuerca en el perno.

En los aparatos con superficies esmaltadas, coloque un cartón de como mínimo 20 cm por 20 cm entre la arandela y el aparato para protegerlo contra posibles desprendimientos del esmalte.
- Apriete el tornillo con la mano. Utilice un poco de grasa para facilitar el giro del tornillo.
- Apriete el tornillo con una llave tubular hasta perforar la tapa de cierre.
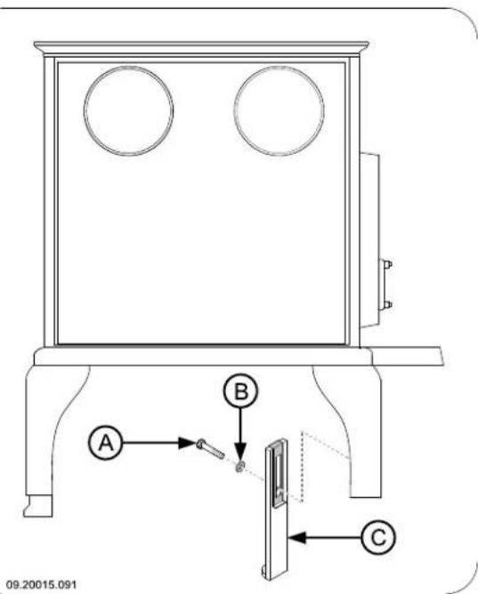
- Es posible cerrar una abertura para gases una vez abierta utilizando la cubierta suministrada (A). Utilice la placa de fijación (C) y el perno M6x25 (D) la para montar la cubierta en el aparato (B); véase la siguiente imagen.
Conectar en el costado o en la parte posterior
Elija primero si va a hacer la conexión a la chimenea al costado o en la parte posterior. Haga la abertura en el costado elegido y monte, a continuación, el cuello de conexión suministrado.

Para Alemania, el aparato es suministrado con un cuello de conexión con un diámetro de 130 mm.
Haga la abertura del gas residual en el aparato quitando la tapa de cierre. Utilice las herramientas suministradas: un tirador, la arandela, el perno y la tuerca; vea la siguiente figura.

- Realice un orificio de 10 mm de diámetro en el centro de la tapa de cierre.
- Coloque el extractor con el perno en la parte interior de la tapa de cierre.


text_image
A B C D 09.20015.082- Monte el cuello de conexión (C) con las dos bridas suministradas (E) y los materiales de sujeción (A) y (B) en la abertura de gas residual (D); vea la siguiente imagen.

text_image
A B C D E 09.20015.083- Utilice la masilla para chimeneas suministrada para el sellado del cuello de conexión y la tapa cierre con el aparato.
Conectar en la parte superior
En caso de conexión en la parte superior, necesita cuello de conexión especial. Este no ha sido suministrado con el aparato.
-
Retire una de las tapas rectangulares que se encuentran en la parte superior del aparato.
-
Ponga el cuello de conexión especial en la abertura creada.
-
Utilice la masilla para chimeneas suministrada para el sellado del cuello de conexión y el apar
Uso
Primer uso
Cuando utilice el aparato por primera vez, déjelo encendido a fuego lento durante algunas horas. De este modo la pintura anticalórica se endurecerá. Esto podría producir algo de humo y olores desagradables. Ventile la habitación abriendo puertas y ventanas.
Combustible
Este aparato únicamente es apto para quemar madera natural serrada, cortada y suficientemente seca.
Conectar a través de la pieza 5T
Con la pieza 5T se agranda la superficie intercambiadora de calor de la estufa, aumentando el rendimiento. Si se utiliza la pieza 5T adquirible opcionalmente, puede usar dicha pieza para hacer una conexión lateral y una conexión superior.
- Retire las tapas rectangulares que se encuentran en la parte superior del aparato.
- Ponga la pieza 5T en las aberturas creadas.
- Utilice la masilla para chimeneas suministrada para el sellado de la pieza y el aparato.
- Siga por lo demás las instrucciones del párrafo "Conectar al costado o en la parte posterior" para hacer la abertura de gas residual y montar el cuello de conexión suministrado.
Colocación e instalación
- Coloque el aparato en un lugar adecuado, sobre una superficie lisa y nivelada.
- Conecte herméticamente el aparato a la chimenea.
- Enganche el colector de ceniza bajo la placa base, debajo de la puerta.
- Vuelva a colocar los elementos desmontados en el aparato.
de! Nunca encienda el aparato sin las placas de hierro.
El aparato ya está listo para su uso.
Uso
Primer uso
Este aparato únicamente es apto para quemar madera natural serrada, cortada y suficientemente seca.
No utilice otros combustibles, ya que éstos podrían dañar seriamente el aparato.
No utilice los combustibles que aparecen a continuación, no sólo porque contaminan el medio ambiente, sino porque además ensucian el conducto de humos, pudiendo llegar a ocasionar incendios en mismo:
Maderas tratadas como maderas de desecho, maderas pintadas, maderas impregnadas, maderas preservadas, multiplex y aglomerado.
Plástico, papel usado y residuos domésticos.
Leña
Utilice preferentemente maderas duras como roble, haya, abedul y madera de árboles frutales. Esta madera quema más lentamente y con menos llama. Las maderas de coníferas contienen más resina, queman más rápido y producen más chispas.
Utilice maderas secas con un porcentaje máximo de humedad del 20%. Para ello, las maderas deben dejarse secar al menos 2 años.
Tale y corte las maderas cuando todavía están verdes. La madera verde se corta más fácilmente. O mientras que la madera cortada seca mejor y más rápido. Almacene la madera bajo techo, en un lugar donde circule libremente el viento.
No utilice maderas húmedas. Las maderas
húmedas no producen calor debido a que la energía
se pierde al evaporarse la humedad. Esto produce
acumulaciones de hollín en la puerta del aparato y
en la chimenea. El vapor de agua se condensa en
el aparato y se filtra al exterior a través de las
juntas, pudiendo ocasionar manchas negras en el
suelo. Además, el vapor de agua podría
condensarse en la chimenea, formando creosota.
La creosota es una sustancia muy inflamable y
puede originar incendios en la chimenea.
Encendido
Compruebe que la chimenea tiene tiro suficiente encendiendo una bola de papel de periódico sobre el deflector de humos. Una chimenea fría tendrá un tiro insuficiente, lo que ocasiona la entrada de humo en la habitación. Encendiendo el aparato del modo que le indicamos a continuación, evitará este problema.
- Coloque dos leños de tamaño medio-grande cruzados entre sí.
-
Coloque sobre los leños dos capas de leña más fina de forma entrecruzada.
-
Coloque una pastilla de encendido bajo la capa inferior de leña y enciéndala siguiendo las instrucciones que vienen en el paquete de la misma.

e4. Cierre la puerta del aparato y abra completamente ás el regulador de tiro situado en la puerta.
- Deje que el fuego arda intensamente hasta que quede una capa de brasas vivas. Introduzca la siguiente carga de leña en el aparato; consulte el ergía apartado "Alimentar con leña".

Una vez que haya seguido las instrucciones para el encendido:
- Abra despacio la puerta del aparato.
- Reparta las brasas por la base de fuego de manera homogénea.
- Coloque varios leños sobre las brasas.
Apilado suelto

Apilando los leños de manera suelta, la leña se quema mucho más rápido, ya que el oxígeno puede llegar a todas las partes de la madera. Utilice un apilamiento suelto si quiere que el fuego prenda rápidamente.
Apilamiento compacto

Apilando los leños de manera compacta, la leña se quema más lentamente, ya que el oxígeno no puede llegar a todas las áreas de la madera. Utilice un apilamiento compacto si desea mantener el fuego encendido durante mucho tiempo.

-
Cierre la puerta del aparato.
-
Regule el fuego con el regulador de tiro situado la puerta.

Cargue el aparato hasta un máximo equivalente a la mitad de su capacidad.
Consejos

No deje la puerta abierta mientras el fuego encendido

Encienda un fuego vivo de vez en cuando.
Si tiene el aparato calentando a fuego lento durante mucho tiempo, podrían formarse depósitos de alquitrán y creosota dentro de chimenea. La carbonilla y la creosota son materiales muy inflamables. Si se producen demasiados sedimentos de estos materiales, pueden inflamarse si se alcanzan repentinamente altas temperaturas.
Encendiendo de vez en cuando fuegos intensos, se eliminan los posibles restos de alquitrán y creosota.
Además, si el fuego es demasiado débil puede queña. acumularse alquitrán en el cristal y en la puerta del aparato.
Por ello, en caso de una temperatura exterior suave es preferable dejar que el aparato caliente a fuego fuerte durante unas horas qu dejarlo calentar a fuego lento durante mucho tiempo.
▶ Regular la entrada de aire con el regulador de situado en la puerta.

La entrada de aire a través del regulador de ventila no sólo el fuego, sino el cristal del aparato, evitando así la acumulación de suciedad.
▶ Abra la puerta siempre con cuidado.
Cierre la puerta inmediatamente después de introducir la carga.
Introducir regularmente pequeñas cantidades de leña es mejor que agregar muchos bloques al mismo tiempo.
Extinción del fuego
Deje de añadir combustible y que el fuego se vaya apagando por sí mismo. No intente sofocar el fuego reduciendo la entrada de aire: podrían liberarse gases tóxicos. Deje que el fuego se consuma por sí mismo. Vigile el fuego hasta que éste esté bien apagado. Una vez que el fuego se haya extinguido completamente, podrá cerrar todas las entradas de aire. esté
Eliminar la ceniza
Cuando se quema leña en el aparato, siempre queda una pequeña cantidad de cenizas. Este lecho de cenizas no solo es un buen aislante para la base de fuego del aparato, sino que además favorece la combustión. Así que puede dejar una capa fina de cenizas en el suelo del aparato.
No obstaculice la entrada de aire situada en el suelo de la chimenea ni deje que se acumule ceniza en la parte posterior de las placas de hierro. Para ello, elimine de forma periódica el exceso de cenizas.
Puede quitar el exceso de ceniza con una pala
Nieblas y brumas
Las nieblas y las brumas en el exterior pueden difficultar la salida de los gases inflamables por la chimenea. Éstas pueden hacer que el humo baje por el conducto y ocasione olores. En condiciones de nieblas o brumas, le recomendamos que no utilice el tiro aparato a menos que sea realmente necesario.
Resibles problemas
Consulte el anexo "Diagnóstico de problemas" para solucionar posibles problemas durante la utilización del aparato.
Mantenimiento
Siga las instrucciones de mantenimiento que se describen en esta sección para mantener su aparato en buen estado.

Chimenea
En muchos países, la ley obliga a revisar y llevar un mantenimiento regular de las chimeneas.
podrá proyectar el calor correctamente y puede llegar a deformarse o rajarse.

Nunca encienda el aparato sin las placas de hierro.
Al principio de la temporada de calefacción: haga limpiar la chimenea por un deshollinador cualificado.
Durante la temporada de calefacción y si la machimenea no se ha utilizado durante un largo período de tiempo: haga que un técnico cualificado controle los niveles de hollín.
Al final de la temporada de calefacción: cierre la chimenea mediante una bola de papel de periódico.
^a Limpiar el cristal
Si el cristal se limpia correctamente, la suciedad tarda más en acumularse. Proceda de la siguiente manera:
-
Quite el polvo y la suciedad con un paño seco.
-
Limpie el cristal con un limpiador especial para cristales de estufa:
a. Extienda el limpiador con una esponja de cocina, frote la superficie del cristal y déjelo actuar unos minutos.
b. Retire la suciedad con un paño húmedo o papel de cocina.
Limpieza y mantenimiento periódico

No limpie el aparato cuando éste todavía esta caliente.
Vuelva a limpiar el cristal con su producto limpiacristales habitual.
Limpie el exterior del aparato con un paño seco 4 no suelte pelusas.
que Seque el cristal con un paño seco o con papel de cocina.
Al final de la temporada de fríos, limpie muy bien el interior del aparato:
No utilice productos abrasivos o corrosivos para limpiar el cristal.
Para ello, retire eventualmente primero las placas de hierro fundido. En el capítulo "Instalación" encontrará instrucciones sobre cómo extraer y colocar las placas refractarias.
Utilice siempre guantes para proteger sus manos.
▶ También puede limpiar los conductos de aire.

En el caso de que el cristal de su aparato se haya roto o agrietado, deberá reemplazar el cristal antes de volver a utilizar el aparato.
En caso de un deflector de humo: Retire y limpie el deflector de humo sobre el aparato y límpielo.

No deje restos del limpiador de cristales para estufas entre el cristal y la puerta de hierro.
Comprobar las placas de hierro
Mantenimiento de estufas esmaltadas
Las placas de hierro son consumibles sometidos a gran desgaste. Revise regularmente las placas refractarias y sustitúyalas si fuera necesario.
En el capítulo "Instalación" encontrará instrucciones sobre cómo extraer y colocar las placas refractarias.
Nunca limpie el aparato si todavía está caliente. Utilice un jabón verde suave y agua tibia para limpiar las superficies esmaltadas de la estufa. Utilice la mínima cantidad de agua posible y seque muy bien la superficie para prevenir la corrosión. Nunca utilice lana de acero u otros productos abrasivos. No ponga nunca teteras directamente sobre el esmalte de la

Las placas de hierro interiores durarán muchoestufa; utilice un salvamanteles para evitar daños. tiempo si limpia las cenizas acumuladas en su parte posterior con regularidad. Si no retira la Engrasado acumulación de ceniza de la placa ésta no
aEngrasado
Aunque los componentes de hierro ya son de alguna manera autoengrasantes, debe lubricar las partes
móviles con cierta regularidad.
Lubrique las partes móviles (como sistemas de guiado, pasadores de bisagra, pestillos y tomas aire) con grasa especial para chimeneas, que encontrará en establecimientos especializados
Reparar daños en la pintura
Puede reparar pequeños daños en la pintura con un aerosol de pintura anticalórica que podrá adquirir a través de su proveedor habitual.
Reparar la superficie esmaltada
El esmaltado es un proceso artesanal que puede hacer que aparezcan pequeñas diferencias de color y daños en el aparato. Los aparatos son sometidos en la fábrica a un control visual, es decir, el controlador examina desde una distancia de 1 metro, durante 10 segundos, la superficie.
Los eventuales daños que no se advierten serán considerados OK. Junto con el aparato se suministra una pintura especial anticalórica con la cual se pueden reparar pequeños daños (del transporte).
Aplique la pintura anticalórica en capas finas y deje secar por completo antes de comenzar a usar el aparato.
Algunos colores de esmalte son sensibles a los cambios de temperatura. Por esta razón es posible que el color cambie durante el uso del aparato. Cuando el aparato se haya enfriado, el color original del esmalte vuelve a ser el habitual.
Si las superficies esmaltadas alcanzan temperaturas muy elevadas, se pueden producir fisuras. Este es un fenómeno normal y no influye de ninguna manera en el funcionamiento de la estufa.

Asegúrese de que la estufa no se sobrecarga. En caso de sobrecarga, la temperatura de la superficie aumentará demasiado y se pueden producir daños permanentes en el esmalte.
Revisar sellado
Compruebe que la junta de sellado de la puerta cierra correctamente. Este material se deteriora con el tiempo y ha de cambiarse regularmente.
▶ Compruebe que el aparato no tenga fugas de aire. Selle posibles rendijas con masilla para estufas.
de! Deje que la masilla se endurezca completamente antes de encender el aparato, si no la humedad de la masilla se evaporará y la fuga volverá a abrirse.

Anexo 1: Especificaciones técnicas
| Modelo 40CBS | |
| Potencia nominal 6 kW | |
| Conexión de la chimenea (diámetro) 125 mm | |
| Conexión de la chimenea (diámetro)(sólo para Alemania) | 130 mm |
| Peso +/- 85 kg | |
| Combustible recomendado Leña | |
| Características combustible, longitud máx. 40 cm | |
| Caudal másico de gases residuales 6,4 g/s | |
| Aumento de la temperatura medido en la sección de medición | 241 K |
| Temperatura medida en la salida del aparato 384 °C, como máximo. | |
| Tiro mínimo | 11 Pa |
| Emisiones de CO (13%O0,12 % | |
| Emisiones de NOx (13%O) | 87 mg/Nm ^3 |
| Emisiones de CnHm (13%O) | 174 mg/Nm ^3 |
| Emisión de partículas | 16 mg/Nm ^3 |
| Emisiones de partículas según la norma NS3058-NS3059 | 6,27 g/kg |
| Rendimiento | 82,4 % |
Anexo 2: Medidas
40CBS

text_image
2 2 5 Ø1 2 5 7 1 5 6 1 0 3 5 0 5 3 0 2 1 0 6 0 0 09-20001-03740CBS + 5T

text_image
3 2 0 2 3 0 3 5 0
text_image
4 0 0 2 3 0 1 0 3 5 - 1 1 0 5 2 2 0 - 3 0 0 5 3 0 6 0 0
text_image
Ø1 2 5 2 1 009-20001-038
Anexo 3: Distancia a materiales inflamables
40CBS - Distancias mínimas en milímetros

09.20017.034
| * Tubo | de conexión protegido (aislado) |
| Materiales inflamables | |
| Material ignífugo, grosor 100 mm |
40CBS - Medidas de la placa ignífuga

text_image
B B A 09-20002-004Medidas mínimas de la placa de apoyo ignífuga
| A (mm) | B (mm) | |
| Din 18891 500 300 | ||
| Alemania 500 300 | ||
| Finlandia 400 100 | ||
| Noruega 300 100 |
Anexo 4: Diagnóstico de problemas
| Problema | ||||||
| ● | Leña no termina de arder | |||||
| ● | No da suficiente calor | |||||
| ● | Retorno de humo cuando se agrega combustible | |||||
| ● | El fuego arde demasiado fuerte, no se puede regular bien. | |||||
| ● | El vidrio se opaca | |||||
| posible causa posible solución | ||||||
| ● | ● | ● | ● | Tiro insuficiente | Una chimenea fría produce casi siempre un tiro insuficiente. Siga las instrucciones sobre el encendido en el capítulo "Uso"; abra una ventana. | |
| ● | ● | ● | ● | Leña demasiado húmeda Utilice siempre leña con una humedad máxima del 20%. | ||
| ● | ● | ● | ● | Leños demasiado grandes | Utilice trozos de leña pequeños. Utilice trozos de leña cortados con un contorno máximo de 30 cm. | |
| ● | ● | ● | ● | ● | La leña no está bien apilada | Coloque la leña de tal manera que el aire pueda pasar entre los bloques (apilamiento abierto, véase "alimentar con leña"). |
| ● | ● | ● | ● | Funcionamiento insuficiente de la chimenea | Asegúrese de que la chimenea cumpla todos los requisitos: 4 metros de alto como mínimo, diámetro adecuado, bien aislada, interior liso, sin demasiados recovecos, sin obstrucciones (nidos de pájaro, depósito excesivo de hollín), herméticamente cerrada (sin fisuras). | |
| ● | ● | ● | ● | La salida de la chimenea no es correcta | La salida debe estar situada por encima de la superficie del tejado y no tener cerca elementos que la obstruyan. | |
| ● | ● | ● | ● | ● | Tomas de aire en posición incorrecta | Abra completamente lasentradas de aire. |
| ● | ● | ● | ● | La conexión entre el aparato y la chimenea no es correcta | La conexión debe estar herméticamente cerrada. | |
| ● | ● | ● | ● | Presión mínima en el espacio donde encuentra el aparato | seApague los sistemas de extracción de aire | |
| ● | ● | ● | ● | Suministro insuficiente de aire fresco | Cree una corriente de aire fresco, por ejemplo utilizando una toma de aire exterior. | |
| ● | ● | ● | ● | ¿Condiciones climáticas adversas? Inversión térmica (cambio de dirección en la corriente de aire dentro de la chimenea debido a las elevadas temperaturas exteriores), vientos de fuerza extrema | En los casos de inversión térmica, desaconsejamos el uso del aparato. Sifuera necesario, instale una caperuza en la chimenea. | |
| ● | Corrientes en la habitación | Evite las corrientes de aire en la habitación; no instale el aparato en las cercanías de puertas o de fuentes de aire caliente. | ||||
| ● | Las llamas tocan el cristal | Evite poner losleños demasiado cerca del cristal. Cierre un poco más el acceso de aire principal | ||||
| ● | El aparato tiene fugas de aire Compruebe la junta de sellado de la puerta y las juntas del aparato. | |||||
Índice
A
Abertura para gases cerrar 10....
Advertencia condiciones de seguro.6..... limpiador de cristales de estufa.15....
Agregar combustible retorno de humo 22
Alemania diámetro de conexión 17
Alfombras .8....
Alimentación máxima del aparato 14
Almacenar madera.12..... Alquitrán....
Apilado de leños.... 13
Aumento de la temperatura sección de medición.... 17
Aviso cristal roto o agrietado.... 6, 15 incendio de la chimenea.... 12 incendio en la chimenea.... 6, 14 materiales inflamables 6. normativas.... 6 placas de hierro.... 11 superficie caliente.... 6 ventilación.... 6-7
B
Bruma, no encender 14
C
Calor, insuficiente.... 14, 22
Capacidad de carga del suelo.... 8
Caperuza 7
Caperuza sobre chimenea.... 7
Colocación medidas 18
Combustible .... 12 adecuado .... 11 alimentación .... 14 cantidad necesaria .... 14 leña .... 12 rellenar .... 14
Combustible adecuado 11
Combustible inadecuado.... 12
Condiciones climatológicas, no encender.... 14
Conexiones medidas 18
Creosota 14
Cristal limpiar ....15 opacamiento ....22
Cristales limpiar 15
Chimenea altura .... 7 condiciones .... 7 conexión a.... 11 diámetro de conexión.17..... diámetro de conexión Alemania.... 17 mantenimiento.... 15
E
Eliminado de cenizas.... 14
Emisión de partículas.... 17
Encendido....12-13 calor insuficiente....14, 22 el aparato no se puede regular bien....22 el fuego arde demasiado fuerte....22 rellenar combustible....13-14
Encendido del fuego.... 12
Engrasado 15
Esmalte mantenimiento 15
Extinguir el fuego.... 14
F
Fuego encendido....12 extinción....14
Fuga de aire 16

G
Gas residual
temperatura 5
Gases
caudal másico 17
Grasa para engrasado..15
H
Humo
en el primer uso 11
|
inadecuado .12
Intercambiador de calor..11.
pieza 8.
J
Junta de sellado de la puerta..16.
L
Laca 11
Leña .12
conservar 12
húmeda 12
no termina de arder 22
secar 12
tipo adecuado.... 12
Leña menuda
Limpiador para estufas
Limpiar
cristal 15
Limpieza
aparato 15
Limpieza de la chimenea
M
Madera de coníferas.... 12
Madera húmeda 12
Mano fría
montar 9
Mantenimiento
chimenea 15
engrasado 15
esmalte 15
limpiar aparato.... 15
limpiar cristal 15
placas de hierro 15....
sellado 16
Mantenimiento del acabado.... 16
Materiales inflamables
distancia a 20
Medidas 18
N
Niebla, no encender.... 14
P
Palanca del pestillo
montar 9
Paredes
seguridad contra incendios 8
Patas
montaje 9
Peso 17
Pieza
intercambiador de calor.... 8
Pieza 5T....11
Placas de hierro
aviso 11
mantenimiento 15
Potencia nominal 14, 17
Prevenir incendio en la chimenea.... 14
Puerta
junta de sellado.... 16
R
Regular la entrada de aire.... 14
Rejilla de ventilación 7
Rellenar combustible.... 14
Rendijas en el aparato 16
Rendimiento 5, 17
Retorno de humo 6, 22
s
Secar madera 12
Seguridad contra incendios
distancia a materiales inflamables 20
muebles 8
paredes 8
suelo .8....
Solución de problemas.... 14, 22
Soporte de asa
montar 9
Suelos
capacidad de carga 8. seguridad contra incendios 8.
T
Tapa de cierre
quitar 10
Temperatura ..17.
Tiro 17
Toma de aire exterior
conexión a 11
V
Ventilación 7.
regla sencilla.7....
Ventilación del fuego.14.
Vidrios
opacamiento 22
Contenuto
Introduzione 3
ManualFácil