40CBS - Heizung DOVRE - Kostenlose Bedienungsanleitung
Finden Sie kostenlos die Bedienungsanleitung des Geräts 40CBS DOVRE als PDF.
Häufig gestellte Fragen - 40CBS DOVRE
Benutzerfragen zu 40CBS DOVRE
0 Frage zu diesem Gerät. Beantworten Sie die, die Sie kennen, oder stellen Sie Ihre eigene.
Eine neue Frage zu diesem Gerät stellen
Laden Sie die Anleitung für Ihr Heizung kostenlos im PDF-Format! Finden Sie Ihr Handbuch 40CBS - DOVRE und nehmen Sie Ihr elektronisches Gerät wieder in die Hand. Auf dieser Seite sind alle Dokumente veröffentlicht, die für die Verwendung Ihres Geräts notwendig sind. 40CBS von der Marke DOVRE.
BEDIENUNGSANLEITUNG 40CBS DOVRE
INSTALLATIEVOORSCHRIFTEN EN GEBRUIKSAANWIJZING INSTALLATION INSTRUCTIONS AND OPERATING MANUAL INSTALLATION ET MODE D'EMPLOI EINBAUANLEITUNG UND GEBRAUCHSANWEISUNG INSTRUCCIONES DE INSTALACIÓN Y USO ISTRUZIONI PER L'INSTALLAZIONE E L'USO MONTERINGS- OG BRUKSANVISNING
KACHEL D STOVE
TÄTTE

Kachelruitenreiniger 14
Leistungserklärung .. 4
Sicherheit .6
Installationsbedingungen .. 6....
Allgemeines 6
Schornstein 6
Belüftung des Raums 7
Decken und Wände 8
Produktbeschreibung 8
Installation 9
Vorbereitung 9
Montage der Beine 9
Montage des Verriegelungsknopfs.... 9
Schornsteinanschluss vorbereiten.... 10
Aufstellen und anschließen 12
Verwendung 12
Erste Verwendung 12
Brennstoff 12
Anzünden 13
Heizen mit Holz 13
Löschen des Feuers 14
Entaschen 15
Nebel 15
Eventuelle Probleme 15
Instandhaltung 15
Schornstein 15
Reinigung und andere regelmäßige
Instandhaltungsmaßnahmen.... 15
Anlage 1: Technische Daten ....18
Anlage 2: Abmessungen ..... 19
Anlage 3: Abstand zu brennbarem Material 21
Anlage 4: Diagnoseschema ..... 23
Index 24
Einleitung
Sehr geehrte(r) Benutzer(in), mit dem Kauf dieses Heizgeräts von DOVRE haben Sie sich für ein hochwertiges Produkt entschieden. Dieses Produkt gehört zu einer neuen Generation energiesparender und umweltfreundlicher Heizgeräte. Diese Geräte nutzen sowohl Konvektionswärme als auch Strahlungswärme.
Ihr DOVRE-Gerät wurde mithilfe der modernsten Produktionsmittel gefertigt. Sollte Ihr Gerät wider Erwarten dennoch einen Mangel aufweisen, können Sie sich jederzeit an den DOVRE-Service wenden.
Das Gerät darf nicht verändert werden; verwenden Sie stets Original-Ersatzteile.
Das Gerät ist zum Aufstellen in einem Wohnraum gedacht. Es muss hermetisch dicht an einen gut funktionierenden Schornstein angeschlossen werden.
Wir empfehlen, das Gerät durch einen qualifizierten Techniker installieren zu lassen.
DOVRE übernimmt keinerlei Haftung für Probleme oder Schäden, die auf eine inkorrekte Installation zurückzuführen sind.
Bei Installation und Verwendung müssen die nachfolgend aufgeführten Sicherheitsvorschriften beachtet werden.
Diese Anleitung erläutert, wie Sie das DOVRE-Heizgerät sicher installieren, verwenden und warten. Wenn Sie weitergehende Informationen und technische Daten benötigen oder ein Installationsproblem haben, wenden Sie sich bitte zuerst an Ihren Lieferanten.
© 2014 DOVRE NV
Leistungserklärung
Gemäß der Verordnung über Bauprodukte 305/2011
Nr. 008-CCPR-2013
- Einmaliger Identifikationscode des Produkttyps:
40CBS
- Typen-, Partie- oder Seriennummer oder ein anderes Identifikationsmittel des Bauprodukts wie vorgeschrieben in Artikel 11 Abs. 4:
Einmalige Seriennummer.
- Verwendungszweck des Bauprodukts entsprechend den zutreffenden harmonisierten technischen Spezifikationen und wie vom Hersteller festgelegt:
Ofen für festen Brennstoff ohne Produktion von Warmwasser gemäß EN 13240.
- Name, registrierter Handelsname oder registrierte Handelsmarke und Kontaktadresse des Herstelle wie vorgeschrieben in Artikel 11 Abs. 5:
-
Falls zutreffend, Name und Kontaktadresse des Bevollmächtigten, dessen Vollmacht die in Artikel 12 Abs. 2 aufgeführten Aufgaben umfasst:
-
System oder Systeme zur Beurteilung und prüfung der Leistungsbeständigkeit des Bauprodukts, aufgeführt in Anlage V:
System 3
- Bezieht sich die Leistungserklärung auf ein Bauprodukt, auf das eine harmonisierte Norm Anwendung findet:
◆ ◆ ▶Die beauftragte Institution KVBG, registriert unter Nummer 2013, hat unter System 3 eine Typenprüfung durchgeführt und einen Testbericht Nr. H0046 erstellt.
-
Bezieht sich die Leistungserklärung auf ein Bauprodukt, für das eine europäische technische Bewertung abgegeben wurde:
-
Angegebene Leistung:
| Harmonisierte Norm EN 13240:2001/A2 ;2004/AC :2007 | |
| Wesentliche Merkmale Leistungen Holz | |
| Brandsicherheit | |
| Temperaturbeständigkeit A1 | |
| Abstand zu brennbarem Material | Mindestabstand in mmRückseite: 400Seite: 400 |
| Risiko von herausfallenden, glühenden Teilchen Gemäß | |
| Emission von Verbrennungsprodukten CO: 0,12% (13%O2) | |
| Oberflächentemperatur Gemäß | |
| Elektrische Sicherheit - | |
| Einfache Reinigung Gemäß | |
| Maximaler Arbeitsdruck | - |
| Abgastemperatur bei Nennleistung | 241 °C |
| Mechanischer Widerstand(Gewicht Tragfähigkeit des Schomsteins) | Nicht festgelegt |
| Nennleistung | 6 kW |
| Wirkungsgrad | 82,4 % |
10. Die Leistungen des in den Punkten 1 und 2 beschriebenen Produkts entsprechen den in Punkt 9 angegebenen Leistungen.
Diese Leistungserklärung wird unter ausschließlicher Verantwortung des unter Punkt 4 angeführten Herstellers erstellt:

text_image
T. Gehem24/06/2013 Weelde
Tom Gehem CEO
Da die Produkte kontinuierlich verbessert werden, können die Spezifikationen des gelieferten Geräts ohne vorherige Ankündigung von den Angaben in dieser Broschüre abweichen.
DOVRE N.V.
Achtung! Alle Sicherheitsvorschriften müssten strikt befolgt werden.
⚠ Lesen Sie die dem Gerät beiliegenden Anleitungen zu Installation, Inbetriebnahme und Pflege sorgfältig durch, bevor Sie das Gerät in Betrieb nehmen.
Das Gerät muss gemäß den in Ihrem Land geltenden gesetzlichen Bestimmungen installiert werden.
⚠️ Alle lokalen Bestimmungen sowie Bestimmungen aufgrund von EU-Normen müssen bei der Installation des Geräts beachtet werden.
⚠ Vorzugsweise sollte das Gerät von einem d befugten Techniker installiert werden. Dieser kennt alle geltenden Bestimmungen und Vorschriften.
Das Gerät wurde zu Heizungszwecken entwickelt. Alle Oberflächen einschließlich Glas und Anschlussrohr können sehr heiß werden (mehr als 100° C)! Verwenden Sie der Bedienung eine "kalte Hand" oder hitzebeständige Handschuhe.
Für eine hinreichende Abschirmung sorgen, wenn sich kleine Kinder, Personen mit Einschränkungen oder Ältere in der Nähe d'Geräts aufhalten.
⚠️ Die Sicherheitsabstände zu brennbarem Material müssen strikt eingehalten werden.
Legen Sie keine Gardinen, Kleider, Wäschestücke oder andere brennbare Materialien auf oder neben das Gerät.
⚠️ Verwenden Sie während des Betriebs Ihres Geräts keine leicht entflammbaren oder explosiven Materialien in der Nähe des Ger
⚠️ Lassen Sie den Schornstein regelmäßig reinigen, um Schornsteinbrände zu verhindern. Heizen Sie niemals mit geöffneter Tür.
Bei Schornsteinbrand: Schließen Sie die Lufteingänge des Geräts und rufen Sie die Feuerwehr.
⚠️ Wenn das Glas des Geräts gebrochen oder gesprungen ist, muss dieses Glas ausgetauscht werden, bevor das Gerät erneut in Betrieb genommen wird.
⚠ Sorgen Sie für eine ausreichende Ventilation in dem Raum, in dem das Gerät aufgestellt ist. Bei nicht ausreichender Ventilation ist die Verbrennung nur unvollständig, wodurch sich giftige Gase im Raum ausbreiten können. Vgl. Kapitel "Installationsbedingungen" für weitere Informationen zur Ventilation.
Installationsbedingungen
Allgemeines
Das Gerät muss hermetisch dicht an einen gut funktionierenden Schornstein angeschlossen werden.
Für die Anschlussmaße vgl. die Anlage „Technische Daten“.
bei Informieren Sie sich bei der Feuerwehr und/oder bei Ihrer Versicherungsgesellschaft über eventuelle spezielle Bedingungen und Vorschriften.
Schornstein
Der Schornstein ist erforderlich für:
Die Abfuhr von Verbrennungsgasen durch natürlichen Abzug.
i Die warme Luft in dem Schornstein ist leichter als die Außenluft und steigt daher nach oben.
Das Ansaugen von Luft, erforderlich für die Verbrennung der Brennstoffe in dem Gerät.
Ein nicht korrekt funktionierender Schornstein kann zu Rauchrückschlägen beim Öffnen der Tür führen. Schäden durch Rauchrückschlag fallen nicht unter die Garantie.
⚠️ Schließen Sie nicht mehrere Geräte (etwa noch einen Zentralheizungskessel) an denselben Schornstein an, es sei denn, lokale
oder landesweite Gesetze lassen dies zu. Sorgen Sie in jedem Fall bei zwei Anschlüssen dafür, dass der Höhenunterschied zwischen den Anschlüssen mindestens 200 mm beträgt.
Fragen Sie Ihren Installateur nach einer Beratung zu Ihrem Schornstein. Konsultieren Sie die EU-Norm EN13384 für die korrekte Berechnung Ihres Schornsteins.
Der Schornstein muss die folgenden Bedingungen erfüllen:
Der Schornstein muss aus feuerfestem Material bestehen, vorzugsweise aus Keramik oder Edelstahl.
Der Schornstein muss luftdicht und gut gereinigt sein und vollständigen Zug garantieren.

Ein Zug/Unterdruck von 15 - 20 Pa bei normaler Belastung ist ideal.
Der Schornstein muss - vom Ausgang aus dem Gerät ab - so vertikal wie möglich verlaufen. Richtungsänderungen und horizontale Teilstücke stören den Abzug der Verbrennungsgase und führen möglicherweise zu Rauchansammlungen.
Die Innenmaße des Schornsteins dürfen nicht zu groß sein, um zu vermeiden, dass sich die Verbrennungsgase zu stark abkühlen und dadurch den Zug beeinträchtigen.
Der Schornstein sollte nach Möglichkeit den gleichen Durchmesser aufweisen wie das Anschlussstück.

Für den nominellen Durchmesser vgl. die Anlage "Technische Daten". Wenn der Rauchkanal gut isoliert ist, kann der Durchmesser eventuell etwas größer sein (max. zweimal so groß wie der des Anschlussstücks).
Der Abschnitt (die Oberfläche) des Rauchkanals muss konstant sein. Änderungen und (vor allem) Verengungen stören die Abfuhr der Verbrennungsgase.
Bei Verwendung einer Regenhaube/Abfuhrabdeckung auf dem Schornstein: Achten Sie darauf, dass die Haube nicht die Mündung des Schornsteins verengt und
dass sie nicht die Abfuhr der Verbrennungsgase behindert.
Der Schornstein muss in einem Bereich münden, der nicht durch umliegende Gebäude, in der Nähe stehende Bäume oder andere Hindernisse behindert wird.
Der Teil des Schornsteins, der außerhalb der Wohnung liegt, muss isoliert sein.
Der Schornstein muss mindestens 4 Meter hoch sein.
Als Faustregel gilt: 60 cm oberhalb des Dachfirsts.
Wenn der Dachfirst mehr als 3 Meter vom Schornstein entfernt ist: Verwenden Sie die Maße aus der folgenden Abbildung. A = der höchste Punkt des Daches innerhalb eines Abstands von 3 Metern.

text_image
3 m min. 0.5 m min. 1 m A 09:20500.001Belüftung des Raums
Für eine gute Verbrennung benötigt das Gerät Luft (Sauerstoff). Die Luft wird über einstellbare Lufteinlassöffnungen aus dem Raum, in dem das Gerät aufgestellt ist, angeführt.

Bei nicht ausreichender Ventilation ist die Verbrennung nur unvollständig, wodurch sich giftige Gase im Raum ausbreiten können.
Eine Faustregel ist, dass die Luftzufuhr 5,5 cm²/kW betragen muss. Eine zusätzliche Ventilation ist erforderlich:
▶ Wenn das Gerät in einem gut isolierten Raum steht.
Wenn eine mechanische Ventilation verwendet wird, etwa durch ein zentrales Absaugsystem oder eine Abzughaube in einer offenen Küche.

Sie können für zusätzliche Ventilation sorgen, indem Sie in der Außenwand ein Ventilationsgitter einbauen lassen.

Weitere Anforderungen im Zusammenhang mit der Brandsicherheit finden Sie im Abschnitt „Abstand zu brennbarem Material“.
Sorgen Sie dafür, dass andere Luft verbrauchende Geräte (etwa ein Wäschetrockner, andere Heizgeräte oder ein Badezimmerventilator) über eine eigene Außenluftzufuhr verfügen, oder ausgeschaltet sind, wenn das Gerät in Verwendung ist.
Decken und Wände
Der Boden, auf dem das Gerät aufgestellt wird, muss über eine ausreichende Tragfähigkeit verfügen. Für das Gewicht des Geräts siehe Anlage „Technische Daten“.

Schützen Sie brennbare Böden mithilfe einer feuerfesten Bodenplatte gegen Wärmeausbreitung. Vgl. die Anlage „Abstand zu brennbarem Material“.

Entfernen Sie brennbare Materialien, wie etwa Linoleum, Teppich usw. unter der feuerfesten Bodenplatte.

Sorgen Sie für ausreichenden Abstand zwischen dem Gerät und brennbaren Materialien, wie etwa hölzernen Wänden und Möbeln.

Auch das Anschlussrohr strahlt Wärme ab. Sorgen Sie für ausreichenden Abstand bzw. Abschirmung zwischen dem Anschlussrohr und brennbaren Materialien.
Die Faustregel für ein einwandiges Rohr ist Abstand, der das Dreifache des Rohrdurchmessers beträgt. Wenn das Rohr von einer Schutzschale umhüllt ist, ist ein Abstand, der dem Rohrdurchmesser entspricht, vertretbar.

Zwischen Teppichen und dem Feuer muss ein Mindestabstand von 80 cm gewahrt bleiben.

Schützen Sie brennbare Böden vor dem Ofen mithilfe einer feuerfesten Bodenplatte gegen eventuell herausfallende Asche. Die Bodenplatte muss den in Ihrem Land gültigen gesetzlichen Normen entsprechen.

Zu den Abmessungen der feuerfesten Bodenplatte vgl. die Anlage „Abstand zu brennbarem Material“.
Produktbeschreibung

text_image
ss ⑥ ① ② ③ ④ ⑤ 09-20001-033- Tür
- Riegel
- Luftregelungsklappe
- Aschenauffangbehälter
Verstellbares Bein - Abgasanschluss (geschlossen)
Merkmale des Geräts
Das Gerät verfügt über höhenverstellbare Beine.
Das Gerät kann an der Seite, der Rückseite oder der Oberseite an den Schornstein angeschlossen werden. Zum Anschluss an der Oberseite ist ein separat bestellbares Anschlussstück erforderlich.
Für das Gerät ist ein Aufsatzstück mit der Bezeichnung 5T lieferbar, das als Wärmetauscher fungiert. Vgl. "Anlage 2: Abmessungen" für die Maße des Aufsatzstücks T5. Mit diesem Aufsatzstück kann das Gerät an der Seite oder der Oberseite angeschlossen werden. Für den

Anschluss an der Oberseite mit dem Aufsatzstück kann das beliegende Anschlussstück verwendet werden.
Der Heizboden ist mit einem Rillenmuster ausgeführt. Die Wellen, die sich zwischen den Rilen erheben, bilden eine Isolierschicht und Schutzschicht für den Heizboden.
Installation
Vorbereitung
Überprüfen Sie das Gerät sofort nach Lieferung auf (Transport-) Schäden und eventuelle Mängel.

Wenn Sie (Transport-) Schäden oder Mängel festgestellt haben, nehmen Sie das Gerät nicht in Gebrauch, und informieren Sie den Lieferanten.
Entfernen Sie die abmontierbaren Teile (die gusseisernen Innenplatten) aus dem Gerät, bevor 1. Sie es installieren. Auch die Tür ist einfach abnehmbar.

Wenn Sie die abmontierbaren Teile entfernen, ^2 können Sie das Gerät leichter verschieben und Beschädigungen vermeiden.

Achten Sie beim Entfernen dieser Teile auf ihre ursprüngliche Lage, damit Sie sie später wieder korrekt anbringen können.
-
Öffnen Sie die Tür und heben Sie sie vom Gerät ab.
-
Entfernen Sie die gusseisernen Innenplatten.

Gusseiserne Innenplatten schützen die Verbrennungskammer und geben Wärme an die Umgebung ab.
Montage der Beine
Montieren Sie die Beine an das Gerät; vgl. die nachfolgende Abbildung.

text_image
09.20015.091Montieren Sie die zwei Teile der Beine mit den mitgelieferten Bolzen M6 auf der gewünschten Höhe.
Kippen Sie den Ofen nach hinten.
Montieren Sie die vier Beine mit den Verschlussringen und den M8-Muttern, die sich an der Bodenplatte befinden, an der Bodenplatte.
Montage des Verriegelungsknopfs
Montieren Sie den Knopf auf dem Riegel mit den beiliegenden Befestigungsmaterialien; vgl. die folgende Abbildung:

Schornsteinanschluss vorbereiten
Beim Anschluss des Geräts an den Schornstein haben Sie die Wahl zwischen dem Anschluss an der Seite, der Rückseite oder der Oberseite. Vgl. die Abschnitte "Anschluss an der Seite oder der Rückseite" und "Anschluss an der Oberseite". Es ist auch möglich, den Anschluss mit dem separat bestellbaren Aufsatzstück 5T herzustellen, vgl. den Abschnitt "Anschluss mit dem Aufsatzstück 5T".
Beim Anschluss an der Oberseite des Geräts ist ein spezielles Anschlussstück erforderlich. Dieses Anschlussstück (zusammen mit einer Abdeckung) ist separat bestellbar. Die Bestellnummer ist 03.15317.020.
Bei Lieferung des Geräts ist keine Abgasöffnung vorhanden.
Abdichtkitt und Befestigungsmaterialien sind im Lieferumfang enthalten.
Anschluss an der Seite, der Oberseite oder der Rückseite
Entscheiden Sie zuerst, ob das Gerät an der Seite 4 oder an der Rückseite an den Schornstein angeschlossen werden soll. Bringen Sie an der gewählten Seite die Abgasöffnung an, und montieren Sie dann das mitgelieferte Anschlussstück.

Für Deutschland wird das Gerät mit einem Anschlussstück mit einem Durchmesser von 130 mm geliefert.
Stellen Sie die Abgasöffnung in dem Gerät her, indem Sie die Anschlussabdeckung entfernen. Verwenden Sie das Spannelement, den Verschlussring, den Bolzen und die Mutter; vgl. die nachfolgende Abbildung.

- Bohren Sie in der Mitte der Anschlussabdeckung ein Loch mit einem Durchmesser von 10 mm.
- Befestigen Sie das Spannelement mit dem Bolzen an der Innenseite der Anschlussabdeckung.
- Schieben Sie den Verschlussring über den Bolzen, und schrauben Sie die Mutter auf den Bolzen.

Verwenden Sie bei emaillierten Geräten ein Stück Karton (mindestens 20 mm x 20 mm) zwischen dem Verschlussring und dem Gerät, damit die Emaille nicht beschädigt wird.
- Drehen Sie die Mutter handfest an. Verwenden Sie etwas Fett, damit sich die Mutter leichter andrehen lässt.
- Drehen Sie die Mutter mit einem Ringschlüssel so weit an, dass die Anschlussabdeckung ausbricht.
- Eine angebrachte Abgasöffnung wird mit dem mitgelieferten Abschlussdeckel (A) wieder verschlossen. Verwenden Sie zur Montage des Deckels am Gerät (B) die Befestigungsplatte (C) und den Bolzen M6x25 (D); vgl. die nachfolgende Abbildung.

text_image
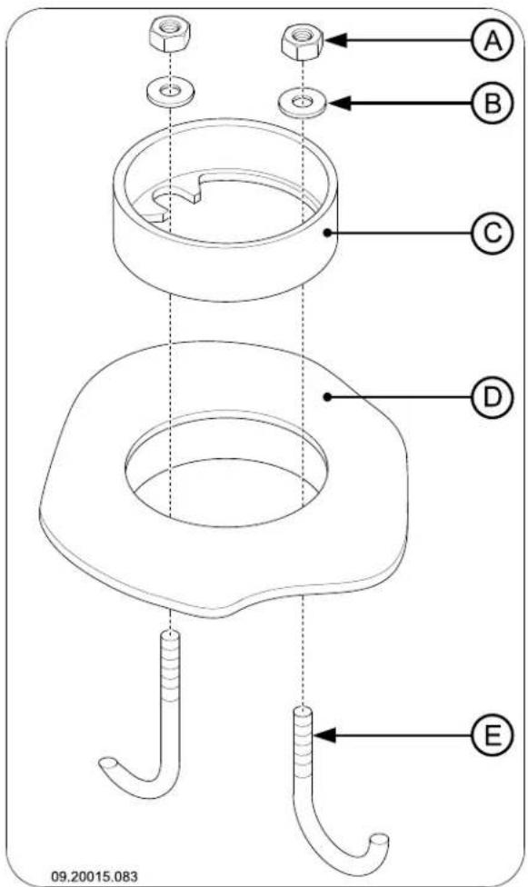
A B C D 09.20015.082- Montieren Sie das Anschlussstück (C) mit den zwei mitgelieferten Bügeln (E) und den Befestigungsmaterialien (A) und (B) an der Abgasöffnung (D); vgl. die nachfolgende Abbildung.

text_image
A B C D E 09.20015.083- Verwenden Sie den mitgelieferten Ofenkitt zur Abdichtung des Anschlussstücks und des Abschlussdeckels mit dem Gerät.
Anschließen an Oberseite
Für den Anschluss an der Oberseite ist ein spezielles Anschlussstück erforderlich. Dieses gehört nicht zum Lieferumfang des Geräts.
- Entfernen Sie eine der rechteckigen Abdeckungen auf der Oberseite des Geräts.
- Setzen Sie das spezielle Anschlussstück auf die dadurch entstandene Öffnung.
- Dichten Sie das Anschlussstück und das Gerät mit dem mitgelieferten Ofenkitt ab.

Anschluss mit dem Aufsatzstück Brennstoff
5T
Mit dem Aufsatzstück 5T wird die wärmetauschende Oberfläche des Ofens vergrößert und damit der Wirkungsgrad erhöht. Bei Verwendung des optional erhältlichen Aufsatzstücks 5T können Sie damit eine Seiten- oder einen Obenanschluss herstellen.
Dieses Gerät ist ausschließlich zum Verbrennen von Naturholz geeignet, das gesägt und gespalten sowie ausreichend getrocknet ist.
Verwenden Sie keine anderen Brennstoffe; diese Rönnen dem Gerät ernsthafte Schäden zufügen.
- Entfernen Sie eine der rechteckigen Abdeckungen auf der Oberseite des Geräts.
- Setzen Sie das Aufsatzstück 5T auf die dadurch entstandenen Öffnungen.
- Dichten Sie das Aufsatzstück und das Gerät mit dem mitgelieferten Ofenkitt ab.
- Befolgen Sie anschließend die Anleitungen im Abschnitt "Anschluss an der Seite oder der Rückseite", um die Abgasöffnung anzubringen und das mitgelieferte Anschlussstück zu montieren.
Die folgenden Brennstoffe dürfen nicht verwendet werden, da sie die Umwelt verschmutzen und Gerät und Schornstein stark verunreinigen, was zu einem Schornsteinbrand führen kann:
▶ Behandeltes Holz, wie etwa Holz mit Beschichtungen, gefärbtes Holz, imprägniertes Holz, konserviertes Holz, Multiplex und Spanplatten.
Kunststoff, Altpapier und Haushaltsabfälle.
Aufstellen und anschließen
- Stellen Sie das Gerät an einem geeigneten Ort auf und sorgen Sie mit einer Wasserwaage für eine ebene Aufstellung.
- Schließen Sie das Gerät absolut dicht an den Schornstein an.
- Befestigen Sie den Aschenauffangbehälter unter der Bodenplatte unter der Tür.
- Bringen Sie alle demontierten Teile wieder an ihrem korrekten Platz im Gerät an.

Lassen Sie das Gerät nicht ohne die gusseisernen Innenplatten brennen.
Das Gerät ist jetzt gebrauchsfertig.
Verwendung
Erste Verwendung
Wenn Sie das Gerät zum ersten Mal in Betrieb nehmen, lassen Sie es einige Stunden durchheizen. Dadurch härtet der hitzebeständige Lack aus. Hierbei kann es zu Rauch- und Geruchsbildung kommen. Öffnen Sie dann eventuell in dem Raum, in dem das Gerät aufgestellt ist, Fenster und Türen.
Holz
▶ Verwenden Sie vorzugsweise hartes Laubholz, wie etwa Eiche, Buche, Birke oder Obstbaumholz. Dieses Holz brennt langsam bei ruhiger Flamme. Nadelholz enthält mehr Harz, brennt schneller und auf erzeugt mehr Funken.
▶ Verwenden Sie getrocknetes Holz mit maximal 20 % Feuchtigkeitsanteil. Hierzu muss das Holz mindestens zwei Jahre lang getrocknet werden.
Sägen Sie das Holz auf Maß und spalten Sie es, solange es noch frisch ist. Frisches Holz lässt sich leichter spalten, und gespaltenes Holz trocknet besser. Bewahren Sie das Holz unter einer Abdeckung auf, in der sich der Wind frei bewegen kann.
▶ Verwenden Sie kein nasses Holz. Nasses Holz spendet keine Wärme, da die gesamte Energie für das Verdampfen der Feuchtigkeit verwendet wird. Dabei entsteht viel Rauch und es kommt zu Rußablagerungen an der Gerätetür und im Schornstein. Der Wasserdampf kondensiert im Gerät und kann aus dem Gerät austreten und zu schwarzen Flecken auf dem Fußboden führen. Der Wasserdampf kann auch im Schornstein kondensieren und zur Entstehung von Carbolineum bei beitragen. Dieser Stoff ist leicht brennbar und kann zu einem Schornsteinbrand führen.
Anzünden
Sie können überprüfen, ob der Schornstein über ausreichenden Zug verfügt, indem Sie oberhalb der Flammplatte ein Knäuel Zeitungspapier anzünden. Ein kalter Schornstein verfügt oft über unzureichenden Zug, wodurch Rauch in das Zimmer gelangen kann. Wenn Sie das Gerät wie hier beschrieben anzünden, vermeiden Sie dieses Problem.
- Stapeln Sie zwei Lagen mittelgroßer Holzstücke kreuzweise übereinander.
- Stapeln Sie auf den Holzstücken zwei Lagen Anzündehölzchen kreuzweise übereinander.
- Legen Sie den Anzünderblock zwischen die unterste Lage von Anzündehölzchen, und zünden Sie den Anzünderblock gemäß der Anleitung auf der Verpackung an.

-
Schließen Sie die Tür des Geräts, und öffnen Sie die Luftklappe in der Tür vollständig.
-
Lassen Sie das Anzündfeuer durchbrennen, bis ein glühendes Holzkohlebett entstanden ist. Anschließend können Sie das Gerät erneut füllen und regeln, vgl. das Kapitel "Heizen mit Holz".

Nachdem Sie die Anleitung zum Anzünden befolgt haben:
- Öffnen Sie langsam die Tür des Geräts.
- Verteilen Sie das Holzkohlebett gleichmäßig über den Heizboden.
- Stapeln Sie einige Holzstücke auf dem e Holzkohlebett auf.
Lose Stapelung

Bei einer losen Stapelung verbrennt das Holz schnell, da der Sauerstoff jedes Holzstück einfach erreichen kann. Stapeln Sie das Holz lose, wenn Sie kurz heizen möchten.
Kompakte Stapelung

Bei einer kompakten Stapelung verbrennt das Holz langsamer, da der Sauerstoff zunächst nur einzelne Holzstücke erreichen kann. Stapeln Sie das Holz kompakt, wenn Sie länger heizen möchten.
-
Schließen Sie die Tür des Geräts.
-
Regeln Sie das Feuer mit der Luftklappe in der
Tür.
⚠️ Füllen Sie das Gerät maximal zur Hälfte.
Hinweise
Heizen Sie niemals mit geöffneter Tür.
Heizen Sie das Gerät regelmäßig gut durch.
Wenn Sie lange mit niedriger Flamme heizen, können sich im Schornstein Ablagerungen von Teer und
Carbolineum (Steinkohlenteer) bilden. Diese
Stoffe sind leicht brennbar. Wenn die
Ablagerungen dieser Stoffe zu sehr
anwachsen, kann durch eine plötzliche
Temperatursteigerung ein Schornsteinbrand
entstehen. Wenn Sie regelmäßig gut
durchheizen, verschwinden eventuelle Teer- und Carbolineum-Ablagerungen.
Darüber hinaus kann sich beim Heizen auf zu geringer Stufe Teer auf der Scheibe und der Tür des Geräts absetzen.
Bei milden Außentemperaturen ist es daher
besser, das Gerät einige Stunden lang intensiv
durchbrennen zu lassen, als es längere Zeit auf
niedrigem Stand zu betreiben.
Regeln Sie die Luftzufuhr mit der Luftklappe in der Tür.
Die Luftzufuhr über die Luftklappe belüftet nicht nur das Feuer, sondern auch das Glas und schützt es so vor schneller Verschmutzung.
Öffnen Sie die Tür immer sehr vorsichtig.
▶ Schließen Sie nach dem Nachfüllen sofort die Tür.
Das regelmäßige Nachfüllen kleiner Holzmengen ist besser als das gleichzeitige Verbrennen vieler Holzscheite.
Löschen des Feuers
Füllen Sie keinen Brennstoff nach, und lassen Sie den Ofen normal ausgehen. Wenn ein Feuer durch Verminderung der Luftzufuhr gedämpft wird, werden schädliche Stoffe freigesetzt. Lassen Sie das Feuer daher selbstständig herunterbrennen. Achten Sie auf das Feuer, bis es vollständig erloschen ist. Wenn dies

der Fall ist, können alle Luftklappen geschlossen werden.
Entaschen
Nach dem Verbrennen von Holz bleibt eine relativ geringe Menge Asche zurück. Dieses Aschebett ist ein guter Isolator für den Heizboden und sorgt für gute Verbrennung. Sie können daher ruhig eine dü Schicht Asche auf dem Heizboden liegen lassen.
Die Luftzufuhr durch den Heizboden darf jedoch nicht behindert werden, und hinter der gusseisernen Innenplatte darf sich nicht zu viel Asche ansammeln. Entfernen Sie daher regelmäßig die angesammelte Asche.
Sie können die angesammelte Asche mit einer Schaufel entfernen.
Nebel
Nebel behindert die Abfuhr von Abgasen durch den Schornstein. Rauch kann sich niederschlagen und zu Geruchsbelästigung führen. Bei Nebel sollten Sie daher nicht mit dem Gerät heizen, wenn dies nicht unbedingt erforderlich ist.
Eventuelle Probleme
Lesen Sie die Anlage "Diagnoseschema", um eventuell bei der Verwendung des Geräts auftretende Probleme zu lösen.
Instandhaltung
Befolgen Sie die Wartungsanleitungen in diesem Kapitel, um ihr Gerät in einem guten Zustand zu halten.
Schornstein
In vielen Ländern sind Sie gesetzlich dazu verpflichtet, den Schornstein regelmäßig kontrollieren und warten zu lassen.
Am Anfang der Heizperiode: Lassen Sie den Schornstein von einem anerkannten Schornsteinfeger reinigen/fegen.
Während der Heizperiode und wenn der Schornstein für längere Zeit nicht verwendet
wurde: Lassen Sie den Schornstein auf Russ kontrollieren.
Nach der Heizperiode: Schließen Sie den Schornstein mit einem Knäuel Zeitungspapier ab.
Reinigung und andere eine regelmäßige Instandhaltungsmaßnahmen
Reinigen Sie das Gerät nicht, so lange es noch warm ist.
Reinigen Sie die Außenseite des Geräts mit einem trockenen und fusselfreien Tuch.
Nach Ablauf der Heizperiode können Sie die Innenseite des Geräts reinigen:
Entfernen Sie eventuell zuerst die gusseisernen Innenplatten. Vgl. das Kapitel "Installation" für Anleitungen zum Entfernen und Anbringen von Innenplatten.
Reinigen Sie eventuell die Luftzufuhrkanäle.
Bei abnehmbarer Flammplatte: Entfernen Sie die Flammplatte oben in dem Gerät, und reinigen Sie sie.
Überprüfung der gusseisernen Innenplatten
Die gusseisernen Innenplatten sind Verbrauchsteile, die dem Verschleiß unterliegen. Überprüfen Sie die Innenplatten regelmäßig, und tauschen Sie sie bei Bedarf aus.
Vgl. das Kapitel "Installation" für Anleitungen zum Entfernen und Anbringen von Innenplatten.
Gusseiserne Innenplatten halten lange, wenn Sie regelmäßig die Asche entfernen, die sich dahinter ansammelt. Wenn angesammelte Asche hinter einer gusseisernen Platte nicht entfernt wird, kann die Platte keine Wärme mehr an die Umgebung abgeben und sich anschließend verformen oder reißen.
⚠️ Lassen Sie das Gerät nicht ohne die gusseisernen Innenplatten brennen.
Glas reinigen
Gut gereinigtes Glas nimmt weniger schnell neuen Schmutz auf. Gehen Sie folgendermaßen vor:
-
Entfernen Sie Staub und losen Rost mit einem trockenen Tuch.
-
Reinigen Sie das Glas mit einem Ofenscheibenreiniger:
a. Tragen Sie Ofenscheibenreiniger auf einen Küchenschwamm auf, wischen Sie die gesamte Glasoberfläche damit ab und lassen Sie den Reiniger einwirken.
b. Entfernen Sie den Schmutz mit einem feuchten Tuch oder mit Küchenpapier.
- Reinigen Sie das Glas dann noch einmal mit einem normalen Glasreinigungsprodukt.
- Wischen Sie das Glas mit einem trockenen Tuch oder mit Küchenpapier ab.
▶ Verwenden Sie keine scheuernden oder scharfen Produkte zur Reinigung des Glases.
▶ Verwenden Sie zum Schutz Ihrer Hände geeignet Haushaltshandschuhe.

Wenn das Glas des Geräts gebrochen oder gesprungen ist, muss dieses Glas ausgetauscht werden, bevor das Gerät erneut in Betrieb genommen wird.

Achten Sie darauf, dass kein Ofenscheibenreiniger zwischen das Glas und die gusseiserne Tür läuft.
Wartung Email-Ofen
Reinigen Sie das Gerät nicht, so lange es noch warm ist. Das Reinigen der emailierten Oberfläche des Ofens geschieht am besten mit sanfter Haushaltsseife und lauwarmem Wasser. Verwenden Sie so wenig Wasser wie möglich, trocken Sie die Oberfläche gut ab, um Rostbildung zu vermeiden. Verwenden Sie keine Stahlwolle oder andere Scheuermittel. Setzen Sie keinen Wasserkessel direkt auf einen Emailleofen; verwenden Sie einen Untersetzer, um Beschädigungen zu vermeiden.
Schmierung
Obwohl Gusseisen eigentlich "selbstschmierend" ist, müssen bewegliche Teile doch regelmäßig geschmiert werden.
Schmieren Sie die beweglichen Teile (wie etwa Leitungssysteme, Scharnierfedern, Riegel und Luftklappen) mit einem hitzebeständigen Fett (erhältlich im Fachhandel).
Lackschäden beseitigen
Kleine Lackschäden können Sie mit hitzebeständigem Speziallack aus der Sprühdose beheben, den Sie bei Ihrem Lieferanten erhalten.
Emaille-Oberfläche nachbessern
Die Emaillierung ist ein handwerklicher Vorgang, der dazu führt, dass kleinere Farbabweichungen oder Beschädigungen am Gerät vorkommen können. Die Geräte werden in der Fabrik einer Sichtkontrolle unterzogen, das heißt, ein Kontrolleur untersucht die Oberfläche zehn Sekunden lang aus einer Entfernung von einem Meter.
Eventuell vorhandene Beschädigungen, die dabei nicht auffallen, gelten als akzeptabel. Zum Lieferumfang des Geräts gehört ein spezieller hitzebeständiger Lack, mit dem kleinere (Transport-) Beschädigungen behoben werden können. Tragen Sie diesen hitzebeständigen Lack in dünnen Schichten auf und lassen Sie ihn gründlich trockner bevor Sie das Gerät in Betrieb nehmen.
Einige Emaillefarben reagieren auf Temperaturänderungen. Dadurch kann es vorkommen, dass sich die Farbe bei der Verwendung des Geräts verändert. Nach dem Abkühlen des Geräts kehrt dann die ursprüngliche Emaillefarbe wieder zurück.
▶ Werden Emaille-Oberflächen sehr heiß, können Haarrisse entstehen. Das ist ein normaler Vorgang und hat keinen Einfluss auf die Funktion des Ofens.

Achten Sie darauf, den Ofen nicht zu überlasten. Bei Überlastung wird die Oberflächentemperatur extrem hoch und an der Emaille kann bleibender Schaden entstehen.
Abdichtungen kontrollieren
Prüfen Sie, ob die Abdichtungsschnur der Tür noch gut schließt. Diese unterliegt dem Verschleiß und muss rechtzeitig ausgetauscht werden.
Überprüfen Sie das Gerät auf Luftlecks.
Verschließen Sie eventuelle Risse mit Ofenkitt.

Lassen Sie den Kitt gut aushärten, bevor Sie das Gerät in Betrieb nehmen, andernfalls dehnt sich die Feuchtigkeit darin auf und führt erneut zu einem Leck.
Anlage 1: Technische Daten
| Modell 40CBS | |
| Nennleistung 6 kW | |
| Schornsteinanschluss (Durchmesser) 125 mm | |
| Schornsteinanschluss (Durchmesser)(nur für Deutschland) | 130 mm |
| Gewicht +/- 85 kg | |
| Empfohlener Brennstoff Holz | |
| Kennzeichen Brennstoff, max. Länge 40 cm | |
| Massenfluss der Abgase 6,4 g/s | |
| Temperaturanstieg, gemessen im Messabschnitt 241 | K |
| Temperatur, gemessen am Ausgang des Geräts 384 °C | |
| Mindestzug 11 Pa | |
| CO-Emission (13 % _2 D) | 0,12 % |
| NOx-Emission (13 % _2 D) | 87 mg/Nm ^3 |
| CnHm-Emission (13 % _2 D) | 174 mg/Nm ^3 |
| Staubemission | 16 mg/Nm ^3 |
| Staubemission gemäß NS3058-NS3059 | 6,27 gr/kg |
| Wirkungsgrad | 82,4 % |
Anlage 2: Abmessungen
40CBS

text_image
2 2 5 Ø1 2 5 7 1 5 6 1 0 3 5 0 5 3 0 2 1 0 6 0 0 09-20001-03740CBS + 5T

text_image
3 2 0 2 3 0 3 5 0
text_image
400 230 1035-1105 220-300 530 600
text_image
Ø1 2 5 2 1009-20001-038
Anlage 3: Abstand zu brennbarem Material
40CBS - Mindestabstände in Millimeter

09.20017.034
| * Geschütztes (isoliertes) Verbindungsrohr | |
| Brennbares Material | |
| Nicht brennbares Material, Dicke 100 mm | |

40CBS - Abmessungen feuerfeste Bodenplatte

text_image
B B A 09-20002-004Mindestabmessungen feuerfeste Bodenplatte
| A (mm) | B (mm) | |
| Din 18891 500 300 | ||
| Deutschland 500 300 | ||
| Finnland 400 100 | ||
| Norwegen 300 100 |
Anlage 4: Diagnoseschema
| Problem | ||||||
| ● | Holz brennt nicht durch | |||||
| ● | Liefert nicht ausreichend Wärme | |||||
| ● | Rauchrückschlag beim Nachfüllen | |||||
| ● | Gerät brennt zu stark, nicht gut regelbar | |||||
| ● | Flammenanschlag an das Glas | |||||
| Mögliche Ursache Mögliche Lösung | ||||||
| ● | ● | ● | ● | Nicht ausreichender Zug | Ein kalter Schornstein führt zu unzureichendem Zug. Folgen Sie der Anleitung zum Anzünden im Kapitel „Verwendung“; öffnen Sie ein Fenster. | |
| ● | ● | ● | ● | Holz zu feucht Verwenden Sie nur Holz mit max. 20 % Feuchtigkeit. | ||
| ● | ● | ● | ● | Holzstücke zu groß | Verwenden Sie kleine Anzündeholzstücke. Verwenden Sie gespaltenes Holz mit maximal 30 cm Stückgröße. | |
| ● | ● | ● | ● | ● | Holz nicht korrekt gestapelt | Stapeln Sie das Holz so, dass zwischen den Blöcken ausreichend Luft zirkulieren kann (lose Stapelung, vgl. „Heizen mit Holz“). |
| ● | ● | ● | ● | Schornstein funktioniert nicht korrekt | Prüfen Sie, ob der Schornstein die Voraussetzungen erfüllt: Mindestens 4 m hoch, richtiger Durchmesser, eine gute Isolierung, glatte Innenflächen, nicht zu viele Biegungen, keine Hindernisse im Schornstein (etwa Vogelnest, Russablagerungen), hermetische Dichtigkeit (keine Spalten). | |
| ● | ● | ● | ● | Mündungsöffnung des Schornsteins nicht korrekt | Ausreichende Höhe über der Dachfläche, keine Hindernisse in der Nähe. | |
| ● | ● | ● | ● | ● | Einstellung der Lufteinlassöffnungen nicht korrekt | Öffnen Sie die Lufteinlassöffnungen vollständig |
| ● | ● | ● | ● | Anschlussdes Geräts am Schornstein nicht korrekt | Der Anschluss musshermetisch dicht sein. | |
| ● | ● | ● | ● | Unterdruck in dem Raum, in dem das Gerät aufgestellt ist | Schalten Sie Luftabzugssysteme aus. | |
| ● | ● | ● | ● | Unzureichende Frischluftzufuhr | Sorgen Sie für ausreichende Luftzufuhr, verwenden Sie nötigenfalls einen Außenluftanschluss. | |
| ● | ● | ● | ● | Ungünstige Wetterbedingungen? Inversionswetterlage (umgekehrter Luftstrom im Schornstein durch hohe Außentemperatur), extreme Windgeschwindigkeiten | Bei Inversionswetterlagen sollten Sie das Gerät nicht verwenden. Setzen Sie, falls erforderlich, eine Zugklappe auf den Schornstein. Dies ist nur nach Rücksprache mit dem Schornsteinfeger möglich. | |
| ● | Zug im Wohnzimmer | Vermeiden Sie Zug im Wohnzimmer; stellen Sie das Gerät nicht in der Nähe einer Tür oder von Heizungsschächten auf. | ||||
| ● | Flammen schlagen an das Glas | Vermeiden Sie es, das Holzzu dicht an das Glas zu legen. Schieben Sie den primären Lufteinlasswieder zu. | ||||
| ● | Gerät verliert Luft | Überprüfen Sie die Abdichtungen der Tür und die Fugen des Geräts. | ||||
Index
A
Abdichtungsschnur der Tür 17
Abgas
Massenfluss 18
Temperatur.5....
Abgasöffnung
abschließen .10......
Abmessungen .19
Anschließen an Schornstein
Oberseite 11
Anschluss
Abmessungen 19
Rückseite .10....
Seite 10
Anschlussabdeckung
entfernen 10
Anzündeholz .23.
Anzünden 13
Asche entfernen..15.
Aufsatzstück
Wärmetauscher .8....
Aufsatzstück 5T 12
Ausgehen des Feuers.... 14
B
Beine
Montage 9
Belüftung
Faustregel 7
Belüftung des Feuers
Böden
Brandsicherheit 8
Tragfähigkeit 8
Brandsicherheit
Abstand zu brennbarem Material 21
Boden 8....
Möbel 8
Wände 8
Brennbares Material
Abstand zu 21
Brennstoff
benötigte Menge 15
geeignet 12
Holz 12
nachfüllen .14......
ungeeignet 12
Brennstoff nachfüllen 14
D
Deutschland
Anschlussdurchmesser 18
E
Wartung 16
Endbelag, Instandhaltung 16
Entaschen 15
Entfernen
Asche 15
F
Fegen des Schornsteins.... 15
Feuer
Anzünden 13
löschen 14
Füllhöhe des Geräts.... 14
G
Geeigneter Brennstoff.... 12
Gewicht 18
Glas
Anschlag 23
reinigen .16....
Gusseiserne Innenplatten
Instandhaltung .15....
Warnung 12
H
Handgriffhalter
Montage 9
Haube auf dem Schornstein 7
Heizen 13
Brennstoff nachfüllen 13-14
Gerät brennt zu heftig 23
Gerät nicht gut regelbar 23
nicht ausreichende Wärme 23
unzureichende Wärme 15
Holz 12
aufbewahren 12
brennt nicht durch 23
geeignete Sorte 12
nass 12

trocknen .12....
Holzscheite stapeln 14
|
Instandhaltung
Abdichtung .17....
Glas reinigen 16.
gusseiserne Innenplatten..15....
Reinigung des Geräts 15
schmieren .16....
Schornstein 15
K
Kalte Hand
Montage 9....
L
Lack 12....
Lagerung von Holz 12
Luftloch .17......
M
Mauern
Brandsicherheit 8
N
Nachfüllen von Brennstoff
Rauchrückschlag .23......
Nadelholz 12
Nasses Holz 12
Nebel, nicht heizen.... 15
Nennleistung 18
Nominale Leistung 15
0
Ofenscheibenreiniger 16
P
Platzieren
Abmessungen 19
Probleme lösen 15, 23
R
Rauch
bei erster Verwendung.... 12
Rauchrückschlag 6,23
Regeln der Luftzufuhr.... 14
Reinigen
Glas 16
Reinigung
Gerät 15
Risse im Gerät 17
s
Scheiben
Anschlag 23
reinigen 16
Schmieren 16
Schmierfette 16
Schornstein
Anschlussdurchmesser 18
Anschlussdurchmesser Deutschland 18
Bedingungen 7
Höhe 7
Instandhaltung 15
Schornsteinhaube 7
Staubemission 18
T
Temperatur....18
Temperaturanstieg
Messabschnitt 18
Teppich 8
Tragfähigkeit von Boden 8
Trocknen von Holz 12
Tür
Abdichtungsschnur 17
U
Ungeeigneter Brennstoff 12
v
Ventilationsgitter 7
Verriegelungsknopf
Montage 9
W
Wände
Brandsicherheit 8
Wärme, unzureichende 15, 23
Wärmetauscher 12
Aufsatzstück 8
Warnung
brennbare Materialien 6
Glas gebrochen oder gesprungen.6.,16
gusseiserne Innenplatten 12
heiße Oberfläche.6....
Ofenscheibenreiniger_16
Schornsteinbrand 6, 12
Ventilation 6-7
Versicherungsbedingungen..6.
Vorschriften 6
Wartung
Email 16
Wetterbedingungen, nicht heizen..15.
Wirkungsgrad 5, 18
Z
Zug .18
Zündfeuer 13
Índice
Introducción 3
Er skorsteinen kontrollert?
EinfachAnleitung