40CBS - Verwarming DOVRE - Gratis gebruiksaanwijzing en handleiding
Vind de handleiding van het apparaat gratis 40CBS DOVRE in PDF-formaat.
Veelgestelde vragen - 40CBS DOVRE
Gebruikersvragen over 40CBS DOVRE
0 vraag over dit apparaat. Beantwoord die u kent of stel uw eigen vraag.
Stel een nieuwe vraag over dit apparaat
Download de handleiding voor uw Verwarming in PDF-formaat gratis! Vind uw handleiding 40CBS - DOVRE en neem uw elektronisch apparaat weer in handen. Op deze pagina staan alle documenten die nodig zijn voor het gebruik van uw apparaat. 40CBS van het merk DOVRE.
GEBRUIKSAANWIJZING 40CBS DOVRE
Prestatieverklaring 4
Veiligheid 6
Installatiecondities 6
Algemeen 6
Schoorsteen 6
Ventilatie van de ruimte 7
Vloer en wanden 8
Productbeschrijving 8
Installatie 9
Voorbereiding 9 Poten monteren 9
Grendelknop monteren 9
Schoorsteenaansluiting voorbereiden.... 9
Plaatsen en aansluiten 11
Gebruik 11
Eerste gebruik 11
Brandstof 11
Aanmaken 12
Stoken met hout 13
Doven van het vuur 13
Ontassen 14
Nevel en mist 14
Eventuele problemen 14
Onderhoud 14
Schoorsteen 14
Schoonmaken en ander regelmatig onderhoud 14
Bijlage 1: Technische gegevens 16
Bijlage 2: Afmetingen 17
Bijlage 3: Afstand tot brandbaar materiaal ..19
Bijlage 4: Diagnoseschema ..... 21
Index 22
Inleiding
Geachte gebruiker,
Met de aankoop van dit verwarmingstoestel van DOVRE heeft u gekozen voor een kwaliteitsproduct.
Dit product maakt deel uit van een nieuwe generatie energiezuinige en milieuvriendelijke verwarmingstoestellen. Deze toestellen maken optimaal gebruik van zowel convectiewarmte als stralingswarmte.
Uw DOVRE toestel is geproduceerd met de modernste productiemiddelen. Mocht er onverhoopt toch iets mankeren aan uw toestel, dan kunt u altijd een beroep doen op de DOVRE service.
Het toestel mag niet gewijzigd worden; gebruik steeds originele onderdelen.
Het toestel is bedoeld voor plaatsing in een woon- ruimte. Het moet hermetisch worden aangesloten op een goed werkende schoorsteen.
Wij adviseren u het toestel te laten installeren door een bevoegd installateur.
DOVRE kan niet aansprakelijk worden gesteld voor problemen of schade door een onjuiste installatie.
Bij installatie en gebruik moeten de hierna beschreven veiligheidsvoorschriften in acht worden genomen.
In deze handleiding leest u hoe u het DOVRE verwarmingstoestel op een veilige manier installeert, gebruikt en onderhoudt. Als u aanvullende informatie of technische gegevens wilt of een installatie-probleem heeft, neemt u dan eerst contact op met uw leverancier.
© 2014 DOVRE NV
Prestatieverklaring
Volgens de bouwproductenverordening 305/2011
Nr. 008-CCPR-2013
- Unieke identificatiecode van het producttype:
40CBS
- Type-, partij- of serienummer, dan wel een ander identificatiemiddel voor het bouwproduct, zoa voorgeschreven in artikel 11, lid 4:
Uniek serienummer.
- Beoogde gebruiken van het bouwproduct, overeenkomstig de toepasselijke geharmoniseerde technische specificatie, zoals door de fabrikant bepaald:
Kachel voor vaste brandstof zonder productie van warm water volgens EN 13240.
- Naam, geregistreerde handelsnaam of geregistreerd handelsmerk en contactadres van de fabrikar zoals voorgeschreven in artikel 11, lid 5:
Dovre N.V. Nijverheidsstraat 18 2381 Weelde Belgium.
-
Indien van toepassing, naam en contactadres van de gemachtigde wiens mandaat de in artikel lid 2, vermelde taken bestrijkt:
-
Het systeem of de systemen voor de beoordeling en verificatie van de prestatiebestendigheid bouwproduct, vermeld in bijlage V:
Systeem 3
- Indien de prestatieverklaring betrekking heeft op een bouwproduct dat onder een geharmoniseen norm valt:
De aangestelde instantie KVBG, geregistreerd onder het nummer 2013, heeft onder systeem 3 een type-keur uitgevoerd en heeft het testrapport nr H0046 verstrekt.
-
Indien de prestatieverklaring betrekking heeft op een bouwproduct waarvoor een Europese technische beoordeling is afgegeven:
-
Aangegeven prestatie:
| De geharmoniseerde norm EN 13240:2001/A2 | ;2004/AC :2007 |
| Essentiële karakteristieken Prestaties Hout | |
| Brandveiligheid | |
| Vuurbestendigheid A1 | |
| Afstand tot brandbaar materiaal | Minimale afstand in mmAchterkant: 400Zijkant: 400 |
| Risico van uitvallende gloeiende deeltjes Conform | |
| Emissie van verbrandingsproducten CO: 0,12% (13%O2) | |
| Oppervlaktetemperatuur Conform | |
| Elektrische veiligheid | - |
| Gemakkelijk te reinigen | Conform |
| Maximale werkingsdruk | - |
| Rookgastemperatuur bij nominaal vermogen | 241 °C |
| Mechachanise weerstand (gewicht dragen van schoorsteen) | Niet bepaald |
| Nominaal vermogen | 6 kW |
| Rendement | 82,4 % |
- De prestaties van het in de punten 1 en 2 omschreven product zijn conform de in punt gegeven prestaties.
Deze prestatieverklaring wordt verstrekt onder de exclusieve verantwoordelijkheid van de in punt 4 vermelde fabrikant:

text_image
T. Gehem24/06/2013 Weelde
Tom Gehem CEO
In het kader van een continue productverbetering, kunnen specificaties van het geleverde toestel afwijken van de beschrijving in deze brochure, zonder voorafgaande kennisgeving.
DOVRE N.V.
Nijverheidsstraat 18 Tel : +32 (0) 14 65 91 91
België E-mail : info@dovre.be

Veiligheid

Let op! Alle veiligheidsvoorschriften moeten strikt worden nageleefd.

Lees aandachtig de instructies voor installatie, gebruik en onderhoud die met het toestel zijn meegeleverd, voordat u het toestel in gebruik neemt.

Het toestel moet worden geïnstalleerd over-eenkomstig de wetgeving en voorschriften van uw land.

Alle lokale bepalingen en de bepalingen die betrekking hebben op nationale en Europese normen moeten worden nageleefd bij het ins leren van het toestel.

Laat het toestel bij voorkeur installeren door een bevoegd installateur. Deze is op de hoogte van de geldende bepalingen en voorschriften.

Het toestel is ontworpen voor verwarmingsdoeleinden. Alle oppervlaktes, inclusief het glas en de aansluitbuis kunnen zeer heet worden (meer dan 100°C)! Gebruik voor de bediening een 'koude hand' of een hittebestendige handschoen.

Zorg voor voldoende afscherming als jonge deren, mindervaliden en ouderen zich in de nabijheid van het toestel bevinden.

Veiligheidsafstanden tot brandbaar materiaal moeten strikt worden aangehouden.

Plaats geen gordijnen, kleren, wasgoed of andere brandbare materialen bovenop of in nabijheid van het toestel.

Gebruik tijdens het gebruik van uw toestel geen licht ontvlambare of explosieve stoffen in de nabijheid van het toestel.

Voorkom schoorsteenbrand door regelmatig de betreffende schoorsteen te laten reinigen. Stook het toestel nooit met open deur.

Bij schoorsteenbrand: sluit de luchtinlaten van het toestel en waarschuw de brandweer.

Als het glas van het toestel is gebroken of gebarsten, moet dit glas worden vervangen voordat u het toestel opnieuw in gebruik neemt.

Zorg voor voldoende ventilatie van de ruimte waar het toestel wordt geplaatst. Bij onvoldoende ventilatie vindt onvolledige verbranding plaats, waardoor zich giftige gassen in de ruimte kunnen verspreiden. Zie het hoofdstuk "Installatiecondities" voor meer informatie over ventilatie.
Installatiecondities
^1 Algemeen
Het toestel moet worden aangesloten op een goed werkende schoorsteen.
Voor de aansluitmaten: zie de bijlage "Technische gegevens".
▶ Informeer bij de brandweer en/of ver- gte zekeringsmaatschappij naar eventuele specifieke vereisten en voorschriften.
Schoorsteen
De schoorsteen is nodig voor:
Het afvoeren van de verbrandingsgassen door natuurlijke trek.

De warme lucht in de schoorsteen is lichter dan de buitenlucht en stijgt daarom.
Het aanzuigen van lucht, nodig voor de verbranding van de brandstof in het toestel.
Een niet goed werkende schoorsteen kan tijdens het openen van de deur rookterugslag geven. Schade ontstaan door rookterugslag is uitgesloten van garantie.

Sluit niet meerdere toestellen (bijvoorbeeld ook nog een centraleverwarmingsketel) op dezelfde schoorsteen aan, tenzij lokale of nationale regelgeving hierin voorziet. Zorg in ieder geval bij twee aansluitingen dat het hoogteverschil tussen de aansluitingen minimaal 200 mm bedraagt.
Vraag uw installateur om advies over de schoorsteen. Raadpleeg de Europese norm EN13384 voor een juiste berekening van de schoorsteen.

De schoorsteen moet aan de volgende voorwaarden voldoen:
De schoorsteen moet gemaakt zijn van vuurvast materiaal, bij voorkeur keramiek of roestvrij staal.
De schoorsteen moet luchtdicht en goed gereinig zijn en voldoende trek garanderen.

Een trek/onderdruk van 15 - 20 Pa tijdens normale belasting is ideaal.
De schoorsteen moet - vertrekkend van de uitgang van het toestel - zo verticaal mogelijk lopen. Rich- tingsveranderingen en horizontale stukken ver- storen de afvoer van verbrandingsgassen en veroorzaken mogelijk roetophoping.
De binnenmaten mogen niet te groot zijn, om te voorkomen dat de verbrandingsgassen te sterk afkoelen waardoor de trek minder wordt.
De schoorsteen moet bij voorkeur dezelfde diameter hebben als de aansluitkraag.

Voor de nominale diameter: zie de bijlage "Technische gegevens". Als het rookkanaal goed is geïsoleerd, kan de diameter eventuee wat groter zijn (maximaal tweemaal de sectie van de aansluitkraag).
De sectie (oppervlakte) van het rookkanaal moet constant zijn. Verwijdingen en (vooral) vernauwingen verstoren de afvoer van verbrandingsgassen.
Bij toepassing van een regenkap/afvoerkap op detilatierooster in de buitenmuur te laten plaatsen. schoorsteen: let erop dat de kap niet de uitmonding van de schoorsteen vernauwt en dat de kap niet de afvoer van verbrandingsgassen belemmert. Zorg dat andere luchtverbruikende apparaten (zoals een wasdroger, ander verwarmingstoestel of bad-kamerventilator) een eigen buitenluchtaanvoer heb-
De schoorsteen moet uitmonden in een zone die niet wordt verstoord door omliggende gebouwen, vlakbijstaande bomen of andere hindernissen.
Het schoorsteengedeelte buiten de woning moet geïsoleerd zijn.
De schoorsteen moet minimaal 4 meter hoog zijn.
Als vuistregel geldt: 60 cm boven de nok van het dak.
Als de nok van het dak meer dan 3 meter is verwijderd van de schoorsteen: houd de maten aan die in de volgende figuur zijn aangegeven. A = het hoogste punt van het dak binnen een afstand van 3 meter.

text_image
3 m min. 0.5 m min. 1 m A 09.20500.001^n Ventilatie van de ruimte
Voor een goede verbranding heeft het toestel lucht (zuurstof) nodig. Die lucht wordt via regelbare lucht-inlaten aangevoerd vanuit de ruimte waar het toestel is geplaatst.

Bij onvoldoende ventilatie vindt onvolledige verbranding plaats, waardoor zich giftige gassen in de ruimte kunnen verspreiden.
Een vuistregel is dat de luchttoevoer 5,5 cm²/kW moet zijn. Extra ventilatie is nodig:
Als het toestel in een ruimte staat die goed is geïsoleerd.
Als er mechanische ventilatie is, bijvoorbeeld een centraal afzuigsysteem of een afzuigkap in een open keuken.
U kunt voor extra ventilatie zorgen door een ven- tilatierooster in de buitenmuur te laten plaatsen.
Zorg dat andere luchtverbruikende apparaten (zoals een wasdroger, ander verwarmingstoestel of bad-kamerventilator) een eigen buitenluchtaanvoer heb-

Vloer en wanden
De vloer waarop het toestel wordt geplaatst, moet vo- doende draagvermogen hebben. Voor het gewicht van het toestel: zie de bijlage "Technische gegevens".

Bescherm een brandbare vloer door middel van een onbrandbare vloerplaat tegen warmte-uitstraling. Zie de bijlage "Afstand tot brandbaar materiaal".

Verwijder brandbaar materiaal zoals linoleum, tapijt, enzovoorts onder de onbrandbare vloerplaat.

Zorg voor voldoende afstand tussen het toestel en brandbare materialen zoals houten wanden en meubels.

Ook de aansluitbuis straalt warmte uit. Zorg voor voldoende afstand of afscherming tussen de aansluitbuis en brandbare materialen. De vuistregel voor een enkelwandige buis is een afstand van driemaal de diameter. Als een bekledingsschelp rond de buis is aangebracht, is een afstand van eenmaal de diameter toelaatbaar.

Een vloerkleed moet minimaal 80 cm van het vuur verwijderd zijn.

Bescherm een brandbare vloer voor de kachel-5 met behulp van een onbrandbare vloerplaat tegen eventueel uitvallende assen. De vloer-6 plaat moet voldoen aan nationale normen.

Voor de afmetingen van de onbrandbare vloerplaat: zie de bijlage "Afstand tot brandbaar materiaal".

Voor verdere eisen in verband met brand-veiligheid: zie de bijlage "Afstand tot brandbaar materiaal".
Productbeschrijving

text_image
⑥ ① ② ③ ④ ⑤09-20001-033
-
Deur
-
Grendel
-
Luchtregelingsschuif
- Asvang
- Verstelbare poot
- Rookgasaansluiting (gesloten)
Kenmerken van het toestel
Het toestel is voorzien van in hoogte verstelbare poten.
Het toestel kan aan de zijkant, de achterkant of
ar aan de bovenkant op de schoorsteen aangesloten
worden. Voor de aansluiting aan de bovenkant is
een los te bestellen aansluitkraag nodig.
Voor het toestel is een opzetstuk met aanduiding 5T leverbaar, dat de functie heeft van een warm- tewisselaar. Zie "Bijlage 2: Afmetingen" voor de maatvoering van opzetstuk 5T.Via dit opzetstuk kan het toestel aan de zijkant of de bovenkant aangesloten worden. Voor de aansluiting aan de boven- kant via het opzetstuk kan de meegeleverde aansluitkraag gebruikt worden.
De stookbodem is uitgevoerd met een rillenpatroon. De assen die zich tussen de rillen

ophopen zorgen voor een isolatielaag en bescherm- laag voor de stookbodem.
Installatie
Voorbereiding
Controleer het toestel onmiddellijk bij ontvangst op (transport)schade en eventuele gebreken.

Als u (transport)schade of gebreken hebt geconstateerd, neem het toestel dan niet in gebruik en stel de leverancier op de hoogte.
Verwijder de demontabele onderdelen (de gietijzeren binnenplaten) uit het toestel voordat u het toestel gaat installeren. Ook de deur is eenvoudig afneembaar.

Door de demontabele onderdelen te verwijderen, kunt u het toestel gemakkelijker verplaatsen en beschadiging voorkomen.

Let bij het verwijderen van demontabele onderdelen op hun oorspronkelijke positie, om ze 2 later weer op de juiste plaats te kunnen aanbrengen. 3
-
Open de deur en haak deze van het toestel af.
-
Verwijder de gietijzeren binnenplaten.

Gietijzeren binnenplaten beschermen de verbrandingskamer en geven warmte door aan omgeving.
Poten monteren
Monteer de poten aan het toestel; zie volgende figuur.

text_image
09.20015.091- Monteer de twee delen van de poten met de mee- r- geleverde bouten M6 op de gewenste hoogte.
- Kantel de kachel op de rugzijde.
- Monteer de vier poten aan de bodemplaat met de sluitringen en de M8 moeren die zich aan de bodemplaat bevinden.
Grendelknop monteren
dMonteer de knop op de grendel met de meegeleverde bevestigingsmaterialen; zie volgende figuur.

Schoorsteenaansluiting voorbereiden
Bij het aansluiten van het toestel op de schoorsteen hebt u de keuze uit aansluiting op de zijkant, de achterkant of aan de bovenkant. Zie de paragrafen

"Aansluiten op de zijkant of op de achterkant" en "sluiten op de bovenkant". Ook is het mogelijk een sluiting te maken via het los te bestellen opzetstuk 5T, zie de paragraaf "Aansluiten via het opzetstuk 5T".
Bij aansluiting op de bovenkant van het toestel is een speciale aansluitkraag nodig. Deze aansluitkraag (samen met een deksel) is los te besteilen. Het bestelnummer is 03.15317.020.
Bij levering van het toestel is er geen rookgasopening aanwezig.
Afdichtingskit en bevestigingsmaterialen zijn meegeleverd.
Aansluiten op de zijkant of op achterkant
Maak eerst een keus voor de zijkant of de achterkant om het toestel op de schoorsteen aan te sluiten. Maak aan de gekozen kant de rookgasopening en monteer vervolgens de meegeleverde aansluitkraag.

Voor Duitsland wordt het toestel geleverd met een aansluitkraag met een diameter van 130 mm.
Maak de rookgasopening in het toestel door het aan- sluitdeksel te verwijderen. Gebruik het meegeleverde gereedschap: het trekstuk, de sluitring, de bout en de moer; zie volgende figuur.

- Boor in het midden van het aansluitdeksel een gat met een diameter van 10 mm.
- Plaats het trekstuk met de bout aan de binnenzijde van het aansluitdeksel.

ans Schuif de sluitring over de bout en draai de moer anop de bout.

Plaats bij geëmailleerde toestellen een stuk kar- ton met minimale afmetingen 20 cm bij 20 cm tussen de sluitring en het toestel ter bescherming tegen afspringend email.
Draai de moer handvast aan. Gebruik een beetje vet om de moer gemakkelijker te kunnen aandraaien.
- Draai met een ringsleutel de moer zover aan dat het aansluitdeksel uitbreekt.
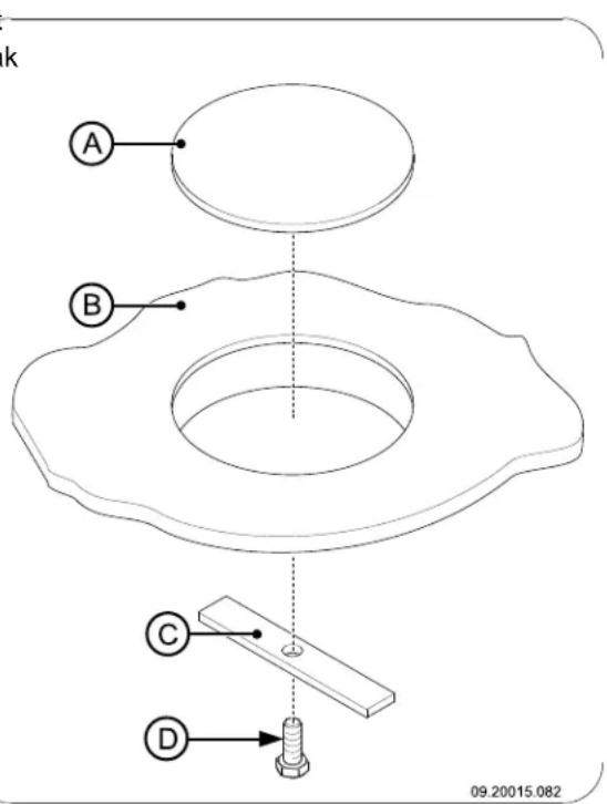
- Een eenmaal gemaakte rookgasopening is weer af te sluiten met het meegeleverde afsluitdeksel (A). Gebruik het bevestigingsplaatje (C) en bout M6x25 (D) om het deksel aan het toestel (B) te monteren; zie volgende figuur.

text_image
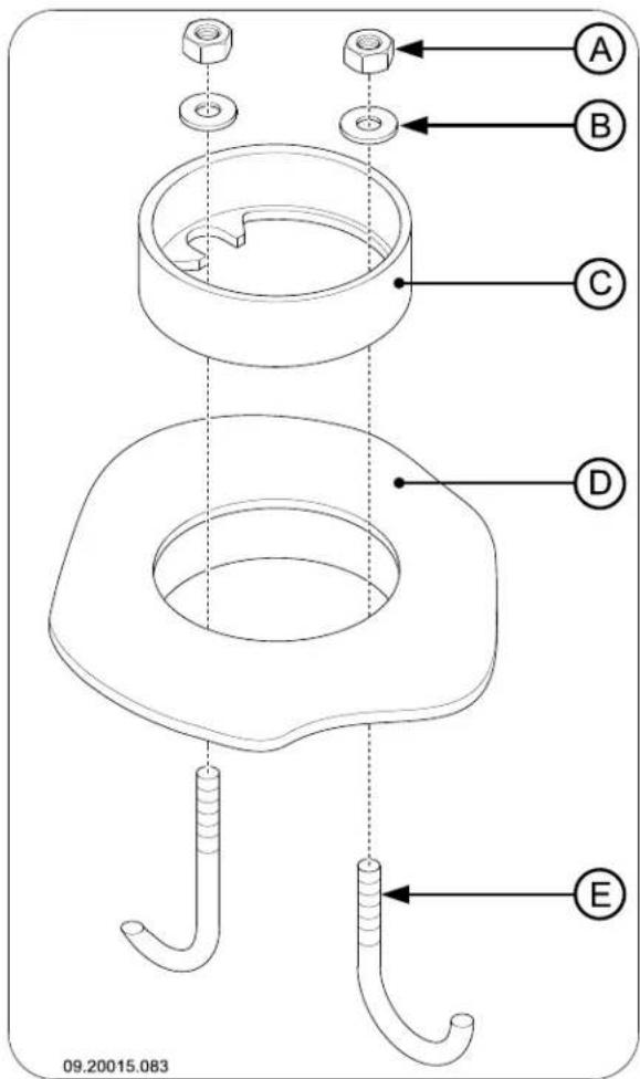
k A B C D 09.20015.082- Monteer de aansluitkraag (C) met de twee bijgeleverde beugels (E) en de bevestigingsmaterialen (A) en (B) op de rookgasopening gat (D); zie volgende figuur.

text_image
A B C D E 09.20015.083rendement verhoogd. Bij gebruik van het optioneel verkrijgbare opzetstuk 5T kunt u een zijaansluiting en een bovenaansluiting maken via het opzetstuk.
- Verwijder de rechthoekige deksels die zich aan de de bovenkant van het toestel bevinden.
- Plaats het opzetstuk 5T op de ontstane openingen.
- Gebruik de meegeleverde kachelkit voor de afdichting van het opzetstuk en het toestel.
- Volg verder de instructies in de paragraaf "Aansluiten op de zijkant of de achterkant" om de rookgasopening te maken en de meegeleverde aansluitkraag te monteren.
Plaatsen en aansluiten
- Zet het toestel op de juiste plaats, vlak en waterpas.
- Sluit het toestel hermetisch aan op de schoorsteen.
- Haak de asvang onder de bodemplaat onder de deur.
- Plaats alle gedemonteerde onderdelen op de juiste plaats terug in het toestel.

Laat het toestel nooit branden zonder de gietijzeren binnenplaten.
- Gebruik de meegeleverde kachelkit voor de afdichting van de aansluitkraag en het afsluitdeksel met het toestel is nu klaar voor gebruik.
Aansluiten op de bovenkant
Voor aansluiting op de bovenkant heeft u een speciale
aansluitkraag nodig. Deze is niet met het toestel geleverd.
- Verwijder een van de rechthoekige deksels die zich op de bovenkant van het toestel bevinden.
- Plaats de speciale aansluitkraag op de ontstane opening.
- Gebruik de meegeleverde kachelkit voor de afdicting van de aansluitkraag en het toestel.
Aansluiten via het opzetstuk 5T
Met het opzetstuk 5T wordt het warmtewisselend oppervlak van de kachel vergroot en daarmee het
Gebruik
Eerste gebruik
Wanneer u het toestel voor het eerst gebruikt, stook het dan enkele uren flink door. Hierdoor zal de hittebestendige lak uitharden. Hierbij kan wel wat rook en geurhinder ontstaan. Zet eventueel in de ruimte waar het toestel staat de ramen en deuren even open.
Brandstof
Dit toestel is alleen geschikt voor het stoken van natuurlijk hout; gezaagd en gekloofd en voldoende droog.
Gebruik geen andere brandstoffen, want die kunnen leiden tot ernstige schade aan het toestel.

De volgende brandstoffen mag u niet gebruiken omdat zij het milieu vervuilen, en omdat zij het toestel en de schoorsteen sterk vervuilen waardoor schoorsteenbrand kan ontstaan:
▶ Behandeld hout, zoals sloophout, geverfd hout, geïmpregneerd hout, verduurzaamd hout, multiplex en spaanplaat.
Kunststof, oud papier en huishoudelijk afval.
Hout
Gebruik bij voorkeur hard loofhout zoals eik, beuk, berk en fruitbomenhout. Dit hout brandt langzaam met rustige vlammen. Naaldhout bevat meer hars, brandt sneller en geeft meer vonken.
Gebruik gedroogd hout met een vochtpercentage 4. Sluit de deur van het toestel en zet de luchtschuif van maximaal 20%. Hiervoor moet het hout min- in de deur helemaal open.
- Laat het aanmaakvuur flink doorbranden totdat het Zaag het hout op maat en klief het als het nog ver een gloeiend houtskoolbed is geworden. Hierna is. Vers hout klieft gemakkelijker en gekloven hout kunt u een volgende vulling doen en het toestel droogt beter. Bewaar het hout onder een afdek gaan regelen; zie de paragraaf "Stoken met hout".
Gebruik geen nat hout. Nat hout geeft geen warmte omdat alle energie gaat zitten in het verdampen van vocht. Dit geeft veel rook en roetaanslag op de deur van het toestel en in de schoorsteen. De waterdamp condenseert in het toestel en kan langs naden uit het toestel lekken en zwarte vlekken op de vloer geven. De waterdamp kan ook in de schoorsteen condenseren en creosoot vormen. Creosoot is zeer brandbaar en kan schoorsteenbrand veroorzaken.
Aanmaken
U kunt controleren of de schoorsteen voldoende trek heeft door boven de vlamplaat een prop krantenpapier aan te steken. Bij een koude schoorsteen is er vaak onvoldoende trek in de schoorsteen en kan er rook in de kamer komen. Door het toestel op de hier beschreven manier aan te maken, voorkomt u dit probleem.
-
Stapel twee lagen middelgrote houtblokken kruislings op elkaar.
-
Stapel bovenop de houtblokken twee lagen aanmaakhoutjes kruislings op elkaar.
-
Leg een aanmaakblokje tussen de onderste laag aanmaakhoutjes en steek het aanmaakblokje aan volgens de instructies op de verpakking.

-
Sluit de deur van het toestel en zet de luchtschuif in de deur helemaal open.
-
Laat het aanmaakvuur flink doorbranden totdat het vereen gloeiend houtskoolbed is geworden. Hierna ut kunt u een volgende vulling doen en het toestel gaan regelen; zie de paragraaf "Stoken met hout".

Nadat u de instructies voor het aanmaken hebt gevolgd:
- Open langzaam de deur van het toestel.
- Verdeel het houtskoolbed gelijkmatig over de stookvloer.
- Stapel enkele houtblokken op het houtskoolbed.
Losse stapeling

Bij een losse stapeling verbrandt het hout vlug omdat de zuurstof elk stuk hout gemakkelijk kan bereiken. Gebruik een losse stapeling als u kort wilt stoken.
Compacte stapeling

Bij een compacte stapeling verbrandt het hout lang-zamer omdat de zuurstof maar enkele stukken hout kan bereiken. Gebruik een compacte stapeling als u langer wilt stoken.
- Sluit de deur van het toestel.
- Regel het vuur met de luchtschuif in de deur.
⚠️ Vul het toestel voor maximaal de helft.
Adviezen
Stook nooit met open deur.
⚠️ Stook het toestel regelmatig flink door.
Als u langdurig op lage stand stookt, kan zich in de schoorsteen een afzetting vormen van teer en creosoot. Teer en creosoot zijn zeer brandbaar. Als de afzetting van deze stoffen te groot wordt, kan bij een plotselinge hoge temperatuur een schoorsteenbrand ontstaan. Door regelmatig flink doorstoken, verdwijnen eventuele afzettingen van teer en creosoot. Daarnaast kan zich bij te laag stoken teer afzetten op de ruit en deur van het toestel. Bij een milde buitentemperatuur is het dus beter om het toestel een paar uur intens te laten branden, dan lange tijd laag te stoken.
Regel de luchttoevoer met de luchtschuif in de deur.
De luchttoevoer via de luchtschuif belucht niet alleen het vuur maar ook het glas, zodat het glas niet snel vervuilt.
▶ Open de deur altijd voorzichtig.
▶ Direct na het bijvullen de deur sluiten.
▶ Regelmatig een kleine hoeveelheid houtblokken bijvullen is beter dan veel houtblokken tegelijk.
Doven van het vuur
Vul geen brandstof bij en laat de kachel gewoon uit-gaan. Als een vuur wordt getemperd door de lucht-toevoer te verminderen, komen schadelijke stoffen vrij. Laat daarom het vuur vanzelf uitbranden. Houd toezicht op het vuur totdat het goed is gedoofd. Als het vuur volledig is gedoofd kunnen alle luchtschuiven worden gesloten.

Ontassen
Na het stoken van hout blijft een relatief kleine hoe veelheid as over. Dit asbed is een goede isolator voor de stookbodem en geeft een betere verbranding. Laat daarom gerust een dun laagje as op de stookbodem gen.
De luchttoevoer door de stookbodem mag echter niet worden belemmerd en er mag zich geen as ophopen achter een gietijzeren binnenplaat. Verwijder daarom va regelmatig de overtollige as.
De overtollige as kunt u met een schepje verwijderen
Nevel en mist
Nevel en mist belemmeren de afvoer van rookgassen door de schoorsteen. Rook kan neerslaan en stankoverlast geven. Als het niet echt nodig is, kunt u bij nevel en mist beter niet stoken.
Eventuele problemen
Raadpleeg de bijlage "Diagnoseschema" om eventuele problemen bij het gebruik van het toestel op lossen.
Onderhoud
Volg de onderhoudsinstructies in dit hoofdstuk om het toestel in goede staat te houden.
Schoorsteen
In veel landen bent u wettelijk verplicht de schoorsteen te laten controleren en onderhouden.
Aan het begin van het stookseizoen: laat de scho steen vegen door een erkend schoorsteenveger.
Tijdens het stookseizoen en nadat de schoorsteen lange tijd niet is gebruikt: laat de schoorsteen controleren op roet.
Na afloop van het stookseizoen: sluit de schoorsteen af met een prop krantenpapier.
Schoonmaken en ander regelmatig onderhoud
Maak het toestel niet schoon wanneer het nog warm is.
Maak de buitenkant van het toestel schoon met een droge niet pluizende doek.
Na afloop van het stookseizoen kunt u de binnenkant van het toestel goed schoonmaken:
▶ Verwijder eventueel eerst de gietijzeren binnenplaten. Zie het hoofdstuk "Installatie" voor instructies voor het verwijderen en aanbrengen van binnenplaten.
Maak eventueel de luchtaanvoerkanalen schoon.
Bij een demontabele vlamplaat: verwijder de vlamplaat boven in het toestel en maak deze schoon.
Gietijzeren binnenplaten controleren
De gietijzeren binnenplaten zijn verbruiksonderdelen te die aan slijtage onderhevig zijn. Controleer de binnenplaten regelmatig en vervang ze indien nodig.
Zie het hoofdstuk "Installatie" voor instructies voor het verwijderen en aanbrengen van binnenplaten.
Gietijzeren binnenplaten gaan lang mee als u regelmatig as verwijdert die zich mogelijk erachter ophoopt. Als opgehoopte as achter een gietijzeren plaat niet wordt verwijderd, kan de plaat de warmte niet meer afgeven aan de omgeving en kan de plaat vervormen of scheuren.
Laat het toestel nooit branden zonder de gietijzeren binnenplaten.
Glas schoonmaken
Goed schoongemaakt glas neemt minder snel vuil op. Ga als volgt te werk:
- Verwijder stof en loszittend roet met een droge doek.
- Maak het glas schoon met kachelruitenreiniger: a. Breng kachelruitenreiniger aan op een keukenspons, wrijf het gehele glasoppervlak in en laat even inwerken.
b. Verwijder het vuil met een vochtige doek of de fabriek een visuele controle, dat wil zeggen, de cor keukenpapier. troleur kijkt op een afstand van 1 meter gedurende 10
-
Maak het glas nogmaals schoon met een gewoog glasreinigingsproduct. Eventuele beschadigingen die dan niet opvallen wor- den als OK beschouwd. Bij het toestel is een speciale
-
Wrijf het glas schoon met een droge doek of ke kittebestendige lak meegeleverd waarmee kleine kenpapier. (transport) beschadigingen kunnen worden bijgewerkt. Breng de hittebestendige lak in dunne laagjes aan en
Gebruik geen schurende of bijtende producten het glas schoon te maken.
Gebruik schoonmaakhandschoenen om uw handen te beschermen.

Als het glas van het toestel is gebroken of gebarsten, moet dit glas worden vervangen voordat u het toestel opnieuw in gebruik neemt

Voorkom dat kachelruitreiniger tussen het glas en de gietijzeren deur loopt.
Onderhoud geëmailleerde kachel
Reinig het toestel nooit als het nog warm is. Het reinigen van het geëmailleerde oppervlak van de kachel kunt u het beste doen met zachte groene zeep en lauw water. Gebruik zo min mogelijk water, wrijf het oppervlak goed droog en voorkom roestvorming. Gebruik nooit staalwol of een ander schuurmiddel. Zei nooit een waterketel direct op een geëmailleerde kachel; gebruik een onderzetter en voorkom beschadigingen.
Smeren
Hoewel gietijzer enigszins zelfsmerend is, moet u bewegende delen toch regelmatig smeren.
Smeer de bewegende delen (zoals geleidersystemen, scharnierpennen, grendels en lucht-schuiven) met hittevast vet dat verkrijgbaar is bij de vakhandel.
Lakbeschadigingen bijwerken
Kleine lakbeschadigingen kunt u bijwerken met een spuitbus speciale hittebestendige lak die verkrijgbaar is bij uw leverancier.
Het geëmailleerde oppervlak bijwerken
Emaileren is een artisanaal proces dat maakt dat er kleine kleurverschillen en beschadigingen op het toestel kunnen voorkomen. De toestellen ondergaan in
de fabriek een visuele controle, dat wil zeggen, de cor troleur kijkt op een afstand van 1 meter gedurende 10 seconden naar het oppervlak.
Eventuele beschadigingen die dan niet opvallen worden als OK beschouwd. Bij het toestel is een speciale
ehittebestendige lak meegeleverd waarmee kleine (transport) beschadigingen kunnen worden bijgewerkt. Breng de hittebestendige lak in dunne laagjes aan en
Maat het goed drogen voordat het toestel in gebruik genomen wordt.
Sommige kleuren email zijn gevoelig voor verandering van temperatuur. Hierdoor kan het voorkomen dat de kleur verandert tijdens het gebruik van het toestel. Als het toestel is afgekoeld keert de oorspronkelijke kleur van het email terug.
Als geëmailleerde oppervlakken zeer heet worden kunnen er haarscheurtjes ontstaan. Dit is een normal verschijnsel en heeft geen invloed op het functioneren van de kachel.

Zorg dat de kachel niet wordt overbelast. Bij overbelasting wordt de oppervlaktetemperatuur extreem hoog en kan er blijvende schade aan het email ontstaan.
Afdichting controleren
Controleer of het afdichtingskoord van de deur nog goed afsluit. Afdichtkoord verslijt en moet tijdig worden vervangen.
- Controleer het toestel op luchtlekken. Kit eventuele kieren dicht met kachelkit.

Laat de kit goed uitharden voordat u het toestel aanmaakt, anders blaast het vocht in de kit op en ontstaat opnieuw een lek.
Bijlage 1: Technische gegevens
| Model 40CBS | |
| Nominaal vermogen 6 kW | |
| Schoorsteenaansluiting (diameter) 125 mm | |
| Schoorsteenaansluiting (diameter)(alleen voor Duitsland) | 130 mm |
| Gewicht +/- 85 kg | |
| Aanbevolen brandstof Hout | |
| Kenmerk brandstof, max. lengte 40 cm | |
| Massadebiet van rookgassen 6,4 g/s | |
| Temperatuurstijging gemeten in de meetsectie | 241 K |
| Temperatuur gemeten aan de uitgang van het toestel | 384 °C |
| Minimum trek | 11 Pa |
| CO-emissie (13% Q_2 ) | 0,12 % |
| NOx-emissie (13% Q_2 ) | 87 mg/Nm ^3 |
| CnHm-emissie (13% Q_2 ) | 174 mg/Nm ^3 |
| Stofemissie | 16 mg/Nm ^3 |
| Stofemissie volgens NS3058-NS3059 | 6,27 gr/kg |
| Rendement | 82,4 % |
Bijlage 2: Afmetingen
40CBS

text_image
350 220 - 300
text_image
2 2 5 Ø1 2 5 7 1 5 6 1 0 5 3 0
text_image
600 21009-20001-037

text_image
3 2 0 2 3 0 3 5 0
text_image
4 0 0 2 3 0 1 0 3 5 - 1 1 0 5 2 2 0 - 3 0 0 5 3 0 6 0 0
text_image
Ø1 2 5 2 1 009-20001-038
Bijlage 3: Afstand tot brandbaar materiaal
40CBS - Minimale afstanden in millimeters

09.20017.034
| * Beschermde (geïsoleerde) verbindingspijp | |
| Brandbaar materiaal | |
| Onbrandbaar materiaal 100 mm | |
40CBS - Afmetingen onbrandbare vloerplaat

text_image
B A 09-20002-004Minimale afmetingen onbrandbare vloerplaat
| A (mm) | B (mm) | |
| Din 18891 500 300 | ||
| Duitsland 500 300 | ||
| Finland 400 100 | ||
| Noorwegen | 300 100 |
Bijlage 4: Diagnoseschema
| Probleem | ||||||
| ● | Hout wil niet doorbranden | |||||
| ● | Geeft onvoldoende warmte | |||||
| ● | Rookterugslag tijdens het bijvullen | |||||
| ● | Toestel brandt te hevig, niet goed regelbaar | |||||
| ● | Aanslag op het glas | |||||
| Mogelijke oorzaak Mogelijke oplossing | ||||||
| ● | ● | ● | ● | Onvoldoende trek | Een koude schoorsteen creëert vaak onvoldoende trek. Volg de instructies voor het aanmaken in het hoofdstuk "Gebruik"; open een raam. | |
| ● | ● | ● | ● | Hout te vochtig Gebruik hout met maximaal 20% vocht. | ||
| ● | ● | ● | ● | Afmetingen hout te groot | Gebruik kleine stukjesaanmaakhout. Gebruikgekloven houtblokken met een omtrek van maximaal 30 cm. | |
| ● | ● | ● | ● | ● | Stapeling hout niet correct | Stapel het hout zodanig dat er voldoende lucht tussen de houtblokken kan stromen (losse stapeling, zie "Stoken met hout"). |
| ● | ● | ● | ● | Werking van de schoorsteen onvol-doende | Controleer of de schoorsteen aan de voorwaarden voldoet: minimaal 4 meter hoog, juiste diameter, goed geïsoleerd, gladde bin-nenzijde, niet te veelbochten, geen obstructies in de schoorsteen (vogelnest, te veel roetafzetting), hermetisch dicht (geen kieren). | |
| ● | ● | ● | ● | Uitmonding van de schoorsteen niet rect | ovoldoende hoog boven het dakvlak, geen obstructies in de nabij-heid. | |
| ● | ● | ● | ● | ● | Instelling van de luchtinlaten niet correct | Open de luchtinlaten volledig. |
| ● | ● | ● | ● | Aansluiting van het toestelmet de schoor-steen niet correct | Aansluiting moet hermetisch dicht zijn. | |
| ● | ● | ● | ● | Onderdruk in de ruimte waar het toestel is geplaatst | Zet afzuigsystemen uit. | |
| ● | ● | ● | ● | Onvoldoende toevoer van verse lucht | Zorg voor voldoende luchttoevoer, maak desnoods gebruik van de buitenluchtaansluiting. | |
| ● | ● | ● | ● | Ongunstige weersomstandig-heden? Inversie (omgekeerde lucht-stroom in de schoorsteen door hoge tentemperatuur), extreme windsnelheden | Bij inversie is gebruik van het toestel af te raden. Plaats desnoods bui-een trekkende kap op de schoorsteen. | |
| ● | Tocht in de woonkamer | Voorkom tocht in de woonkamer; plaats het toestelniet in de nabij-heid van een deur of verwarmingsluchtkanalen. | ||||
| ● | Vlammen raken het glas | Zorg dat het hout niet te dicht tegen het glas ligt. Schuif de primaire luchtinlaat verder dicht. | ||||
| ● | Toestel lekt lucht Controleer de afdichtingen van de deur en de naden van het toestel. | |||||
Index
A
Aanmaakhout 21
Aanmaakvuur .12....
Aansluitdeksel verwijderen .10....
Aansluiten achterkant .10..... afmetingen .17.... zijkant .10....
Aansluiten op schoorsteen bovenkant .11....
Aansteken 12
Afdichtingskoord van deur.15....
Afmetingen 17
Afwerklaag, onderhoud..15....
As verwijderen 14
B
Beluchting van het vuur 13
Bijvullen van brandstaf.... 13 rookterugslag.... 21
Brandbaar materiaal afstand tot 19
Brandstof benodigde hoeveelheid.... 14 bijvullen.... 13 geschikte.... 11 hout.... 12 ongeschikte.... 12
Brandveiligheid afstand tot brandbaar materiaal.... 19 meubels.... 8 vloer.... 8 wanden.... 8
Buitenluchtaanvoer aansluiting op.... 11
C
Creosoot 13
D
Deur afdichtingskoord 15
Draagvermogen van vloer 8
Drogen van hout 12
Duitsland aansluitdiameter 16
E
Email onderhoud.... 15
G
Geschikte brandstof.... 11
Gewicht 16
Gietijzeren binnenplaten onderhoud .... 14 waarschuwing .... 11
Glas aanslag ....21 schoonmaken ....14
Grendelknop monteren 9
H
Handgreephouder monteren 9
Hout....12 bewaren .12.... drogen....12 geschikte soort....12 nat....12 wil niet doorbranden....2
Houtblokken stapelen 13
K
Kap op de schoorsteen.... 7
Kieren in toestel 15
Koude hand monteren 9
L
Lak 11
Luchtlek 15
Luchttoevoer regelen 13
M
Mist, niet stoken 14
Muren brandveiligheid 8
N
Naaldhout 12

Nat hout..12....
Nevel, niet stoken 14
Nominaal vermogen..14,.16....
0
Onderhoud
afdichting 15
email 15....
gietijzeren binnenplaten 14
glas schoonmaken.14....
schoorsteen 14
smeren .15....
toestel schoonmaken 14
Ongeschikte brandstof.12......
Ontassen 14
Opslag van hout 12....
Opzetstuk
warmtewisselaar .8.
Opzetstuk 5T_11
P
Plaatsen
afmetingen 17
Poten
montage 9.
Problemen oplossen.... 14, 21
R
Rendement 5, 16
Rook
bij eerste gebruik.... 11
Rookgas
massedebiet 16
temperatuur 5
Rookgasopening
afsluiten 10
Rookterugslag 6, 21
Ruiten
aanslag 21
schoonmaken 14
s
Schoonmaken
glas 14
toestel 14
Schoorsteen
aansluitdiameter 16
aansluitdiameter Duitsland 16
aansluiting op..11....
hoogte 7
onderhoud 14
voorwaarden 7
Schoorsteenbrand voorkomen 13
Schoorsteenkap 7
Smeren 15
Stof-emissie 16
Stoken 13
brandstof bijvullen 13
onvoldoende warmte 14,21
toestel brandt te hevig 21
toestel niet goed regelbaar 21
T
Teer 13
Temperatuur 16
Temperatuurstijging meetsectie 16
Trek 16
U
Uitgaan van vuur 13
V
Vegen van schoorsteen 14
Ventilatie 7
vuistregel 7
Ventilatierooster 7
Verwijderen as 14
Vet voor smering.... 15
Vloeren
brandveiligheid 8
draagvermogen 8
Vloerkleed 8
Vulhoogte van toestel 13
Vuur
aanmaken 12
doven .13....
W
Waarschuwing
brandbare materialen 6
gietijzeren binnenplaten.... 11
glas gebroken of gebarsten 6, 15
verzekeringsvoorwaarden.6....
voorschriften 6.
Wanden
brandveiligheid 8
Warmte, onvoldoende 14, 21.
Warmtewisselaar 1.1
opzetstuk .8....
Weersomstandigheden, niet stoken 14.
Table of contents
Introduction 3
Dovre N.V. Nijverheidsstraat 18 2381 Weelde Belgium.
Nijverheidsstraat 18 Tel : +32 (0) 14 65 91 91
Dovre N.V. Nijverheidsstraat 18 2381 Weelde Belgique.
Nijverheidsstraat 18 Tél.: +32 (0) 14 65 91 91
Dovre N.V. Nijverheidsstraat 18 2381 Weelde Belgium.
Nijverheidsstraat 18
Dovre N.V. Nijverheidsstraat 18 2381 Weelde Bélgica.
Nijverheidsstraat 18 Tel.: +32 (0) 14 65 91 91
B-2381 Weelde Fax: +32 (0) 14 65 90 09
Dovre N.V. Nijverheidsstraat 18 2381 Weelde Belgio.
Nijverheidsstraat 18 Tel : +32 (0) 14 65 91 91
Dovre N.V. Nijverheidsstraat 18 2381 Weelde Belgium.
SimpelGids