40CBS - Oppvarming DOVRE - Gratis bruksanvisning og manual
Finn enhetens veiledning gratis 40CBS DOVRE i PDF-format.
Ofte stilte spørsmål - 40CBS DOVRE
Brukerspørsmål om 40CBS DOVRE
0 spørsmål om dette apparatet. Svar på dem du kjenner, eller still ditt eget.
Still et nytt spørsmål om dette apparatet
Last ned instruksjonene for din Oppvarming i PDF-format gratis! Finn veiledningen din 40CBS - DOVRE og ta den elektroniske enheten tilbake i hendene. På denne siden er alle dokumenter som er nødvendige for bruken av enheten din publisert. 40CBS av merket DOVRE.
BRUKSANVISNING 40CBS DOVRE
Ventilasjon av rommet 7.
Gulv og vegger 7
Produktbeskrivelse 8
Montering ..8....
Generelle forberedelser 8
Montere bena 8
Montere knoppen på lukkemekanismen... 9
Forberede tilknytning til skorstein 9
Plassering og tilkobling 11
Bruk 11
Første gangs bruk 11
Brensel 11
Opptenning 11
Fyring med ved 12
Slukke bålet 13
Tømming av aske 13
Løse problemer 13
Vedlikehold 13
Skorstein 13
Rengjøring og annet regelmessig vedlikehold 13
Vedlegg 1: Tekniske data.... 16
Vedlegg 2: Mål 17
Vedlegg 3: Avstand til brennbart materiale . 19
Vedlegg 4: Diagnoseskjema 21
Notater 23
Indeks 24
Innledning
Kjære bruker,
Ved å kjøpe dette ildstedet fra DOVRE har du valgt et kvalitetsprodukt. Dette produktet inngår i en ny generasjon med energieffektive og miljøvennlige ildsteder. Disse ildstedene gir optimal bruk av både konveksjons og strålingsvarmen.
Ditt DOVRE ildsted er produsert ved hjelp av de mest moderne produksjonsmetoder. Hvis det skulle være noe i veien med ditt ildsted, kan du alltid få hjelp av din forhandler.
Ildstedet må ikke modifiseres; bruk kun originale deler.
Ildstedet er beregnet på installasjon i et boligrom. Ildstedet må tilsluttes en godt fungerende skorstein.
Vi anbefaler at ildstedet tilsluttes av en autorisert installatør.
▶ DOVRE kan ikke holdes ansvarlig for problemer eller skade som skyldes feil montering.
Ved montering og bruk må man følge sikkerhetsforskriftene som beskrives nedenfor.
I denne anvisningen leser du hvordan du monterer, bruker og vedlikeholder ditt DOVRE ildsted. Hvis du ønsker mer informasjon eller tekniske data eller hvis det oppstår problemer under monteringen, bør du først ta kontakt med forhandleren.
© 2013 DOVRE NV
Ytelseserklæring
- Type-, parti- eller serienummer, eller annen identifiseringsmåte for byggeproduktet, som foreskrev i paragraf 11, fjerde ledd:
Unikt serienummer.
- Tilsiktet bruk av byggeproduktet, i overensstemmelse med den gjeldende harmoniserte tekniske spesifikasjonen, slik det er bestemt av produsenten:
Ildsted fyrt med fast brensel uten produksjon av varmtvann i henhold til EN 13240.
- Navn, registrert handelsnavn eller registrert handelsmerke og kontaktadresse til fabrikanten, som foreskrevet i paragraf 11, femte ledd:
-
Hvis aktuelt, navn og kontaktadresse til fullmaktshaver hvis mandat omfatter de oppgaver nevr paragraf 12, andre ledd:
-
Systemet eller systemene for bedømmelse og verifisering av prestasjonsbestandigheten til byggeproduktet, nevnt i vedlegg V:
System 3
- Hvis ytelseserklæringen gjelder et byggeprodukt som faller under den harmoniserte normen:
Instansen KVBG, registrert under nummer 2013, har under engasjement utført en typegodkjenning under system 3 og har levert testrapport nr H0046.
-
Hvis ytelseserklæringen gjelder et byggeprodukt som det er avgitt en europeisk teknik bedømmelse av:
-
Angitt prestasjon:
| Den harmoniserte normen EN 13240:2001/A2 | ;2004/AC :2007 |
| Grunnleggende karakteristikker Prestasjoner Ved | |
| Brannsikkerhet | |
| Ildbestandighet A1 | |
| Avstand til brennbart materiale Se oppstillingsvilkår | side 400 og 400 |
| Risiko for utfallende glødende deler Oppfyller kravet | |
| Utslipp av forbrenningsprodukter CO: 0,12% (13%0) | 2) |
| Overflatetemperatur Oppfyller kravet | |
| Lett å rengjøre Oppfyller kravet | |
| Røykgasstemperatur ved nominell effekt | 241 °C |
| Mekanisk motstand (båret vekt av skorstein) | Ikke bestemt |
| Nominell effekt | 6 kW |
| Virkningsgrad | 82,4 % |
10. Prestasjonene til produktet som er beskrevet i punkt 1 og 2 oppfyller kravene til prestasjonene angitt i punkt 9.
Denne ytelseserklæringen gis under det eksklusive ansvaret til fabrikanten meldt i punkt 4:

text_image
T. Gehem01/10/2013 Weelde
Tom Gehem CEO
På grunn av fortløpende produktutvikling forbeholder vi oss retten til å endre spesifikasjonene i denne brosjyren uten forutgående kunngjøring.
DOVRE AS
Munkedamsveien 61
0270 Oslo
Norge
www.dovrepeisen.no

Sikkerhet

NB! Alle sikkerhetsregler må følges nøye.

Les nøye anvisningene om montering, bruk og vedlikehold som medleveres til ildstedet, før du tar ildstedet i bruk.

Ildstedet må monteres i samsvar med reglene som gjelder i ditt land.

Alle lokale forskrifter og bestemmelser i nasjonale og europeiske standarder må overholdes ved montering av ildstedet.

Vi anbefaler at ildstedet monteres av en autorisert installatør. Denne kjenner til de gjeldende bestemmelsene og forskriftene.

Ildstedet er konstruert for oppvarming. Alle overflater, også glasset og tilkoblingsrøret, kan bli svært varme (over 100°C)! Bruk et kaldhåndtak eller en varmebestandig hanske.

Sørg for at ildstedet er tilstrekkelig skjermet hvis barn, funksjonshemmede og eldre befinner seg i nærheten av det.

Sikkerhetsavstandene til brennbart materiale må nøye overholdes.

Legg ikke gardiner, klær, klesvask eller annet brennbart materiale på eller i nærheten av ildstedet.

Bruk ikke lett antennelige eller eksplosive stoffer i nærheten av ildstedet mens det er i bruk.

Forebygg sotbrann ved å få utført regelmessig feiing av skorsteinen. Fyr aldri mens ildstedets dør er åpen.

Ved sotbrann: steng ildstedets luftregulatorer og tilkall brannvesenet.

Hvis ildstedets glass er knust eller sprukket, må glasset skiftes før ildstedet brukes igjen.

Sørg for at det er tilstrekkelig ventilasjon i rommet hvor ildstedet står. Ved utilstrekkelig ventilasjon blir forbrenningen ufullstendig, slik at det kan komme giftige gasser inn i romm
Se kapitlet "Monteringsvilkår" for mer informasjon om ventilasjon.
Monteringsvilkår
Generelt
Forhør deg med brannvesenet / feiervesen om eventuelle spesifikke krav og forskrifter.
Ildstedet kan tilknyttes tegl, element eller stålskorstein med minimum skorsteinstverrsnitt på 123 cm² som tilsvarer et røykløp på 125 mm ∅.
Tverrsnitt på skorsteinens røykløp kan ikke være mindre enn tverrsnittet på ildstedets røykuttak.
NB! Tilkobling til skorstein skal foretas etter skorsteinsprodusentens anvisning.
NB! Røykrørets godstykkelse fra peisovn til skorstein skal være av godkjent type.
NB! Høydeforskjell mellom to røykinnslag i en skorstein bør være minimum 200 mm.
Skorstein
Fjerning av røykgassene ved naturlig trekk.

Den varme luften i skorsteinen er lettere enn uteluften og vil derfor stige.
Inntak av luft som er nødvendig for forbrenningen av brenselet i ildstedet.
Rådfør deg med din installatør vedrørende råd om skorsteinen.
Skorsteinen må oppfylle følgende krav:
Skorsteinen må være godt feid og ha tilstrekkelig et. trekk.

15 - 23 Pa trekk/undertrykk ved normal belastning er ideelt.

Skorsteinen må være mest mulig vertikal, fra ildstedets røykuttak. Bend og horisontale deler forstyrrer utslippet av røykgasser og kan føre til opphoping av sot.
Den innvendige diameteren må ikke være for stotilknytning til friskluft, eller er slått av när du fyrer med for å unngå at røykgassene blir for mye avkjølt sliktstedet.
Det oppnås ekstra ventilasjon ved å montere en ventilasjonsrist i ytterveggen.
Sørg for at annet utstyr som bruker luft (f.eks. kjøkkenventilator eller baderomsvifte) har egen
tilknytning til friskluft, eller er slått av när du fyrer med
slickstedet.
at trekken avtar.
▶ Skorsteinen bør helst ha samme diameter som røykrørstussen.
▶ Skorsteinen undersøkes for tetthet. Hull etter tidligere ildsteder, ventiler etc. mures igjen. (Hull elementskorsteiner tettes iflg. produsentens anvisning.)
Feie og sotluker kontrolleres for utettheter fordi lekkasjer betyr redusert trekk.
Tverrsnittet på skorsteinen må være konstant. Videre deler og (særlig) innsnevriinger forstyrer utslippet av røykgasser.
Ved bruk av pipehatt på skorsteinen: Pass på at pipehatten ikke innsnevrer skorsteinens utløp og pipehatten ikke hindrer røykgassene.
Skorsteinens munning må befinne seg i en sone som ikke forstyrres av bygninger, trær eller andre hindringer i nærheten.
Den delen av skorsteinen som befinner seg utenfor huset kan med fordel være isolert.
Skorsteinen må ha en høyde på minst 4 meter. Effektiv skorsteinshøyde beregnes fra ildstedets røykrørsinnføring til topp utvendig skorstein.
Ventilasjon av rommet
Ildstedet trenger luft (oksygen) for å oppnå god forbrenning. Luften tilføres fra rommet hvor ildstedet står gjennom luftregulatorer/trekkregulator.

Ved utilstrekkelig ventilasjon blir forbrenningen ufullstendig, slik at det kan komme giftige gasser inn i rommet.
Tommelfingerregelen er at lufttilførselen skal være 5, 5 cm²/kW. Det kreves ekstra ventilasjon hvis:
Ildstedet står i et godt isolert rom.
I rom med mekanisk ventilasjon, f.eks. sentralt avtrekkssystem eller avtrekksvifte i et åpent kjøkken.

Ildstedet kan også tilkobles frisklufttilførsel. Et tilkoblingssett medfølger. Ved bruk av et slikt sett er ekstra ventilasjon ikke nødvendig.
Gulv og vegger
Gulvet som ildstedet monteres på må ha tilstrekkelig bæreevne. For ildstedets vekt: se vedlegget "Tekniske data".

Beskytt et brennbart gulv med en brannsikker gulvplate mot varmestråling. Se vedlegget "Avstand til brennbart materiale".

Fjern brennbart materiale som linoleum, teppe osv. under den brannsikre gulvplaten.

Sørg for tilstrekkelig avstand mellom ildstedet og brennbart materiale som f.eks. trevegger og møbler.

Tilkoblingsrøret utstråler også varme. Sørg for tilstrekkelig avstand eller beskyttelse mellom tilkoblingsrøret og brennbart materiale. Minimum avstandskrav fra uisolert røykrør til brennbart materiale er 300 mm.

Beskytt et brennbart gulv foran ildstedet med en brannsikker gulvplate mot aske og glør som kan falle ut av ildstedet. Gulvplate må oppfylle den nasjonale standarden.

Dimensjonene til den brannsikre gulvplaten: Se vedlegget "Avstand til brennbart materiale".

For andre krav i forbindelse med brannsikkerhet: Se vedlegget "Avstand til brennbart materiale".

Produktbeskrivelse

text_image
⑥ ① ② ③ ④ ⑤ 09-20001-033- Dør
- Lukkemekanisme
- Trekkäpning
- Askeskuffe
- Stillbar fot
- Røykrørtilkobling (lukket)
Informasjon om ildstedet
Ildstedet er utstyrt med ben som kan stilles i høyden.
Ildstedet kan tilkobles skorsteinen på siden, baksiden eller på toppen. For tilkobling på toppen må det brukes en tilkoblingskrage som kan bestilles separat.
Det finnes et etasjestykke med benevnelsen 5T som kan leveres til ildstedet, dette fungerer som en varmeveksler. Se "Vedlegg 2: Mål" for målene til etasjestykke 5T.Via dette etasjestykket kan ildstedet tilkobles på siden eller på toppen. For tilkobling på toppen via etasjestykket kan den medsendte tilkoblingskragen brukes.
Bunnen av brennkammeret har et rillemønster. Asken som samler seg mellom rillene sørger for et isolasjonslag og beskyttelseslag for bunnen i brennkammeret.

Montering
Generelle forberedelser
Produktet skal kontrolleres for transportskader eller andre feil og mangler umiddelbart etter at det er levert. Følgende skal kontrolleres:
Skader på glass.
Trekkventil(er) kan justeres lett.
Døren(e) åpnes og lukkes lett.
Dørpakninger tilslutter mot front (karm).
skader, feil og mangler.

NB! Kontrolleres ikke disse punktene før installasjonen kan garantien bortfalle på punktene som beskrevet over.
Fjern de demonterbare delene (indre brennplater av støpejern) fra ildstedet før du monterer ildstedet. Det er også lett å ta av døren.

Ved å fjerne de demonterbare delene, blir det lettere å flytte ildstedet og unngå skader.

Pass på deres opprinnelige posisjon när du fjerner demonterbare deler, slik at de kan monteres på riktig sted senere.
-
Åpne døren og hekt den av apparatet.
-
Fjern de indre brennplatene av støpejern.

Indre brennplater av støpejern beskytter brennkammeret og avgir varme til omgivelsen.
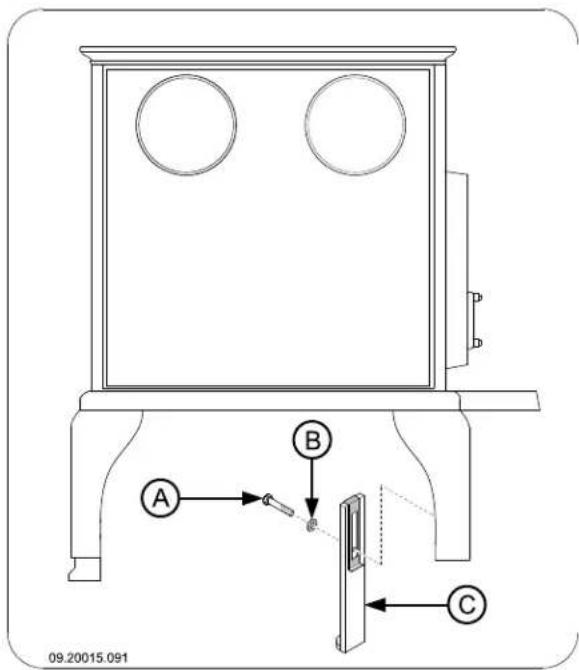
Montere bena
Monter bena på apparatet; se følgende figur.

text_image
09.20015.091- Monter de to delene av bena med de medsendt boltene (M6) i ønsket høyde.
- Legg ovnen over på ryggsiden.
- Monter de fire bena på bunnplaten med skivene M8-mutrene som befinner seg på bunnplaten.
Montere knoppen på lukkemekanismen
Forberede tilknytning til skorstein
Ved tilkobling av ildstedet til skorsteinen kan du velge mellom tilkobling på siden, baksiden eller fra toppen ^5 . Se avsnittet "Koble til på siden eller baksiden" og
"Koble til på toppen". Det er også mulig å koble til via etasjedelen 5T, som kan bestilles separat, se avsnittet "Koble til med etasjedel 5T".
Ved tilkobling på toppen av ildstedet er det nødvendig å bruke en spesiell tilkoblingskrage. Denne tilkoblingskragen (sammen med et deksel) kan bestilles separat. Bestillingsnummeret er 03.15317.020.
Ved levering av apparatet finnes det ingen røykåpning.
▶ Tetningskitt- og festematerialer er medsendt.
Koble til på siden eller baksiden
Bestem deg først for om du ønsker å koble til skorsteinen på siden eller på baksiden av ildstedet. Lag en røykåpning på den siden du har valgt, og monter deretter den medsendte tilkoblingskragen.
Lag røykåpningen i ildstedet ved å fjerne tilkoblingslokket. Bruk det medsendte verktøyet: trekkdel, skive, bolt og mutter; se neste figur.

På emaljerte ildsteder legges en kartongbit på minst 20 cm ganger 20 cm mellom skiven og ildstedet for å beskytte emaljen.
- Skru mutteren fast for hånd. Bruk litt fett slik at det lge blir lettere å stramme mutteren.
^15 . En røykåpning kan stenges igjen med det medleverte blindlokket (A). Bruk festeplaten (C)

og M6x25 bolten (D) for å montere lokket til ildstedet (B); se neste figur.

text_image
A B C D 09.20015.082- Monter tilkoblingskragen (C) med de to medsendte bøylene (E) og festematerialene (A) og (B) på røykåpningen (D); se følgende figur.

text_image
A B C D E e 09.20015.083- Bruk det medleverte ovnskittet for å tette mellom tilkoblingskragen og blindlokket og ildstedet.
Koble til på toppen
- Fjern en av de firkantede dekslene som befinner seg på toppen av ildstedet.
- Plasser den spesielle tilkoblingskragen på åpningen du nå har fått.
- Bruk det medleverte ovnskittet for å tette mellom tilkoblingskragen og ildstedet.
Koble til via etasjestykket 5T
Med etasjestykket 5T økes den varmevekslende overflaten av ovnen, og slik økes avkastningen. Ved bruk av separat leverbare etasjestykke 5T kan du koble til på siden eller toppen av etasjestykket.
- Fjern de firkantede dekslene som befinner seg på Ved toppen av ildstedet.
- Sett etasjestykket 5T på de åpningene du nå har fått.
- Bruk det medleverte ovnskittet for å tette mellom etasjestykket og ildstedet.
- Følg deretter instruksjonene i avsnittet "Koble til på siden eller baksiden" for å lage røykåpningen og montere den medsendte tilkoblingskragen.
Plassering og tilkobling
- Sett ildstedet på riktig sted, jevnt og i vater.
- Koble ildstedet hermetisk tett på skorsteinen.
- Hekt askeskuffen under bunnplaten under døren.
- Sett alle delene som er demontert tilbake på riktig sted i ildstedet.

Ildstedet må aldri brukes uten de indre brennplatene av støpejern.
Ildstedet kan nå tas i bruk.
Bruk
Første gangs bruk
Fyr godt i noen timer første gang du bruker ildstedekommer røyk inn i rommet. Ved opptenning som Det sørger for at den varmebestandige lakken herderbeskrevet nedenfor unngår du dette problemet.
Det kan oppstå litt røyk og lukt under denne prosessen. Luft eventuelt rommet hvor ildstedet står ved å åpne vinduer og dører en liten stund.
Brensel
Dette ildstedet er kun egnet til fyring med naturlig ved Legg en opptenningsbrikett i det underste laget kappet og kløyvd og tilstrekkelig tørr. opptenningsved og tenn på opptenningsbriketten
Bruk ikke annet brensel, da det kan føre til alvorlig skade på ildstedet.
Det er ikke tillatt å bruke følgende brensel fordi det forurenser miljøet, og fordi det i høy grad forurenser ildstedet og skorsteinen slik at det kan oppstå sottbrann:
▶ Behandlet tre, f.eks. rivningsvirke, malt virke, impregnert tre, kryssfiner, rekved og sponplater.
Plastikk, papiravfall og husholdningsavfall.
Bruk helst hard løvved som eik, bøk, bjørk og frukttrær. Slik ved brenner langsomt og med rolige flammer. Bartrær har høyere innhold av sevje, brenner raskere og gir mer gnister.
Bruk tørr ved med et vanninnhold på maks. 17 %. Det betyr at veden må ha tørket i ca 2 år.
Sag veden i passende lengder og kløyv veden mens den er fersk. Fersk ved er lettere å kløyve og tørker bedre. Veden skal lagres under et tak slik at vinden får fritt spill.
Ikke bruk rå ved. Rå ved gir lite varme fordi mye av energien brukes til fordamping av vannet. Det gir mye røyk og sotbelegg på ildstedets indre overflater og i skorsteinen. Vanndampen som kondenserer i ildstedet kan lekke ut gjennom sprekker slik at det oppstår svarte flekker på gulvet. Vanndampen kan også kondensere i skorsteinen slik at det dannes kreosot. Kreosot er meget brennbart og kan føre til sotbrann.
Opptenning
Du kan kontrollere om det er tilstrekkelig trekk i skorsteinen ved å tenne på litt sammenkrøllet avispapir over hvelvplaten. Når skorsteinen er kald er det ofte for dårlig trekk i skorsteinen slik at det
kommer røyk inn i rommet. Ved opptenning som beskrevet nedenfor unngår du dette problemet.
- Legg to lag med middels stor ved i kryss over hverandre.
- På toppen av veden legges to lag med opptenningsved i kryss over hverandre.
ved;Legg en opptenningsbrikett i det underste laget opptenningsved og tenn på opptenningsbriketten iht. anvisningen på emballasjen.

- Lukk ildstedets dør og åpne luftregulatoren i døren helt.
- La opptenningsbålet brenne godt til det oppstår et glødende lag med trekull. Deretter kan du legge i neste påfylling og regulere ildstedet; se avsnittet "Fyring med ved".

Etter at du har fulgt anvisningene for opptenning:
- Åpne langsomt ildstedets dør.
- Fordel trekullaget jevnt over brenselristen.
- Legg noen vedskier på trekullaget.
Løst ilegg

Ved kompakt ilegg forbrenner veden saktere fordi det kommer oksygen til bare noen av treskiene. Bruk kompakt ilegg hvis du skal fyre lengre.

Fyll ildstedet maks. halvveis.
Råd

Fyr aldri med åpen dør.

Fyr kraftigere i ildstedet med jevne mellomrom
Tjære og kreosot er meget brennbart. Hvis dannes for mye av disse stoffene, kan det oppstå sotbrann ved en plutselig høy temperatur. Ved å fyre kraftigere med jevne mellomrom, forsvinner eventuelle belegg av tjære og kreosot.
Dessuten kan det oppstå tjærebelegg på ildstedets indre overflate hvis man fyrer med for lav temperatur.
Ved en høy utetemperatur er det derfor bedre Eå du i tvil om skorsteinens kvalitet og om behovet fyre godt i ildstedet et par timer enn å fyre lefgefeiing er til stede, så ta kontakt med det med lav temperatur. stedlige feiervesen.
Lufttilførselen reguleres med sekundær luftregulatoren.

Sekundær luftregulatoren tilfører forbrenningsluft og sørger samtidig for spyling av glasset for å redusere sotbelegget.
Åpne de primære lufttilførselen midlertidig hvis det er utilstrekkelig lufttilførsel gjennom den sekundære lufttilførselen eller hvis du ønsker å stimulere bålet.
Det er bedre å legge på en liten mengde ved enn å legge på mye ved på en gang.
Slukke bålet
Hvis man demper flammene ved å strupe lufttilførselen, frigjøres skadelige stoffer. La derfor ilden brenne ut av seg selv. Når bålet er helt slukket kan man lukke alle luftregulatorer/trekkventiler.
Tømming av aske
Etter fyring med ved oppstår det en relativt liten mengde aske. Dette askebedet er en god isolator for brenselristen og gir bedre forbrenning. La derfor et ty askelag på ligge brenselristen. Lufttilførselen gjennom brenselristen må imidlertid ikke hindres og aske må ikke akkumuleres bak en indre brennplate av støpejern. Fjern derfor regelmessig overskuddet av aske.
Løse problemer
Se vedlegget "Diagnoseskjema" for å løse eventuelle problemer i forbindelse med bruk av ildstedet.
Vedlikehold
Følg vedlikeholdsanvisningene i dette kapitlet for å holde ildstedet i god stand.
Skorstein
Norge har behovsprøvd feiing av skorstein.
Det er derfor viktig å melde inn installasjon av nytt ildsted, til det stedlige feiervesen.
Nytt ildsted kan endre behovet for feiing.
Feiervesenet har loggført historikk på din skorstein
Rengjøring og annet regelmessig vedlikehold

Ikke rengjør ildstedet mens det fremdeles er varmt.
Rengjør ildstedet utvendig med en tørr klut som efterkke loer.
Etter at fyringssesongen er avsluttet kan ildstedet rengjøres grundig innvendig:
Fjern eventuelt brennplatene først. Se kapitlet "Montering" for anvisninger om demontering og konterning av brennplatene.
Rengjør eventuelt lufttilførselskanalene.
Fjern hvelvplaten øverst i ildstedet og gjør den ren.
Når innvendige løse deler er fjernet feies brennkammeret og røykrørets indre overflater. for Sotbelegget isolerer ildstedet og reduserer tyntvarmeeffekten (1 til 2 mm sotbelegg utgjør ca. 60 til 80 °C på overflatetemperaturen).

Kontroll av brennplater
Brennplatene er forbruksdeler som er utsatt for slitasje. Kontroller brennplatene med jevne mellomrom og skift dem om nødvendig.
Se kapitlet "Montering" for anvisninger om demontering og montering av brennplatene.

Det kan oppstå krakelering/sprekker i de isolerende brennplatene av vermikulitt eller skamolx, men det reduserer ikke deres virkning vedr. sikkehet.

Brennplater av støpejern holder lenge hvis du regelmessig fjerner asken som kan akkumuleres bak dem. Hvis man ikke fjerner asken som akkumuleres bak en plate av støpejern, kan ikke platen lenger avgi så mye varme til omgivelsene og platene kan bli deformert eller sprekke.

Ildstedet må aldri brukes uten de indre brenn platene/skamolxplatene.
Glass rengjøring
Hvis glasset er grundig rengjort holder det seg lenges rent. Gå fram slik:
-
Fjern støv og løstsittende sot med en tørr klut.
-
Glassene bør tørkes av etter hver gangs bruk. Fjern sot på glasset: Fukt et avispapir eller tørkepapir med vann, dypp det våte papiret i as og tørk av soten på glasset. Tørk deretter over med en tørr ren klut eller et papir.
Rengjør glasset en gang til med et vanlig rengjøringsmiddel for glass.
Ikke bruk slipende eller etsende produkter til rengjøring av glasset.
Bruk husholdningshansker for å beskytte hendene.

Hvis ildstedets glass er knust eller sprukket, må glasset skiftes før ildstedet brukes igjen.

Unngå at det renner rengjøringsmiddel for ovnsglass mellom glasset og døren av støpejern.
Vedlikehold av emaljert ildsted
Rengjør aldri ildstedet mens det er varmt. Det er b å rengjøre ildstedets emaljeoverflate med myk grønnsåpe og lunkent vann. Bruk minst mulig vann,
og tørk godt av ildstedet for å unngå rustdannelse. Bruk aldri stålull eller slipemiddel. Sett aldri en vannkjele rett på et emaljert ildsted; bruk et kjeleunderlag for å unngå skader.
Smøring
Selv om støpejern er litt selvsmørende, må de bevegelige delene smøres regelmessig.
Smør de bevegelige delene (slik som føringssystemer, hengseltapper, hendler og luftregulatorer) med varmefast fett som kan kjøpes i spesialforretninger.
Etterbehandling av lakkskader
Små lakkskader kan behandles med varmebestandig myelakk på sprayboks som kan leveres av din forhandler.
Etterbehandling av den emaljerte overflaten
Emaljering er en håndverksprosess som innebærer at det kan oppstå små fargeforskjeller og skader på ildstedet. Ildstedene kontrolleres visuelt på fabrikken. Det vil si at en kontrollør undersøker overflaten i 10 gør sekunder på 1 meter avstand.
Eventuelle skader som ikke synes under denne kontrollen regnes som OK. Til ildstedet medleveres varmebestandig spesiallakk som kan brukes til etterbehandling av mindre (transport-) skader.
Påfør den varmebestandige lakken i tynne lag og la den tørke godt for ildstedet brukes.
Noen emaljefarger kan være følsomme for temperaturendringer. Derfor kan det hende at fargen forandrer seg mens ildstedet brukes. Når ildstedet er avkjølt får emaljen den opprinnelige fargen igjen.
Hvis emaljerte overflater blir meget varme kan det oppstå härsprekker i dem. Dette er helt normalt og har ingen innflytelse på ildstedets virkning.

Sørg for at ikke ildstedet blir overbelastet. Ved overbelastning blir overflatetemperaturen ekstremt høy, og det kan oppstå permanent skade på emaljen.
Kontrollere tetning
La kittet herde skikkelig før ildstedet brukes, ellers ekspanderer fuktigheten i kittet slik at det oppstår en ny lekkasje.
Vedlegg 1: Tekniske data
| Modell 40CBS | |
| Nominell effekt 6 kW | |
| Røykuttak (diameter) 125 mm | |
| Røykuttak (diameter) (kun for Tyskland) 130 mm | |
| Vekt +/- 85 kg | |
| Anbefalt brensel Ved | |
| Kjennetegn brensel, maks. lengde 40 cm | |
| Massestrøm av røykgasser 6,4 g/s | |
| Røykgasstemperatur målt i måleseksjonen 241 K | |
| Temperatur målt ved ovnens uttak 384 °C | |
| Minimum skorsteinstrekk | 11 Pa |
| CO-utslipp (13 % _2 D) | 0,12 % |
| NOx-utslipp (13 % _2 D) | 87 mg/Nm ^3 |
| CnHm-utslipp (13 % _2 D) | 174 mg/Nm ^3 |
| Partikkelutslipp | 16 mg/Nm ^3 |
| Partikkelutslipp i henhold til NS3058-NS3059 | 6,27 gr/kg |
| Virkningsgrad | 82,4 % |
Dovre peisovn type 40CBS er testet, og vurdert med utstedelse av brannteknisk produktdokumentasjon fra Norges branntekniske laboratorium (NBL). Dette bekrefter at produktet tilfredstiller kravene i norske forskrifter.
Produktdokumentasjon SINTEF 110-0393 er gjengitt på internett:nbl.sintef.no.
Produktdokumentasjon betinger at montering og bruk følger akseptert monterings- og brukerveiledning.
Monteringsveiledningen skal inngå som en del av dokumentasjonen av bygget.
Typeskilt
NB! Det medsendte typeskiltet med godkjenningsnummer merket NO, skal anbringes på ildstedets bakre skjermplate.
Vedlegg 2: Mål
40CBS

09-20001-037
40CBS + 5T

text_image
3 2 0 2 3 0 3 5 0
text_image
4 0 0 2 3 0 10 3 5 - 1 1 0 5 2 2 0 - 3 0 0 5 3 0 6 0 0
text_image
Ø1 2 5 2 1 009-20001-038
Vedlegg 3: Avstand til brennbart materiale
40CBS - Minimum mål i millimeter
Avstand til vegger av brennbart materiale
Innfelt brannmur Utenpåliggende brannnmur

09.20017.034
NB! Tilknytning til element og stålskorsteiner må utføres etter skorsteinleverandørens monteringsanvisning(er). Er det usikkerhet om hvilke type skorstein ildstedet skal tilknyttes, er elementskorsteiner merket på innsiden av feierluken med produsent og type. Stålskorsteiner er merket på alle delkomponenter med produsent og type. Røykrøret skjermes med rør-skjold når avstanden fra ytterkant røykrør til vegg av brennbart materiale er mindre enn 300 mm.
Dersom ildstedets luftinntak for direkte lufttilførsel ikke skal benyttes og ildstedet plasseres slik at luftinntaket sperres, må luftinntakskoblingen fjernes, slik at lufttilførselen til forbrenningen blir ivaretatt.
40CBS - Mål ubrennbar gulvplate

text_image
B A 09-20002-004Vedlegg 4: Diagnoseskjema
| Problem | ||||||
| ● | Veden fortsetter ikke å brenne | |||||
| ● | For dårlig varme | |||||
| ● | Ildstedet ryker inn under påfylling | |||||
| ● | Ildstedet brenner for kraftig, vanskelig å regulere | |||||
| ● | Sotdannelse på glass | |||||
| mulig årsak mulig løsning | ||||||
| ● | ● | ● | ● | For dårlig trekk | En kald skorstein gir ofte for dårlig trekk. Følg instruksjonene for opptenning i kapitlet "Bruk"; åpne et vindu. | |
| ● | ● | ● | ● | For fuktig ved Bruk ved med maks. 17 % fuktighet. | ||
| ● | ● | ● | ● | For stor ved | Bruk finkløyvd opptenningsved med en omkrets på rundt 3 cm, lengde maks 30 cm. | |
| ● | ● | ● | ● | ● | Veden er lagt feil | Veden er lagt i slik at det kan strømme tilstrekkelig med luft mellom vedskiene (løst ilegg, se "Fyring med ved"). |
| ● | ● | ● | ● | For dårlig trekk i skorsteinen | Kontroller at skorsteinen oppfyller betingelsene: Minst 4 meter høy, riktig diameter, godt isolert, glatt innvendig, ikke for mange bend, ingen hindringer i skorsteinen (fulgereir, for mye sotbelegg), luftett (uten sprekker). | |
| ● | ● | ● | ● | Skorsteinens utløp er ikke riktig | Tilstrekkelig høyde over taket, ingen hindringer i nærheten. | |
| ● | ● | ● | ● | ● | Luftregulatorer feil innstilt Åpne luftregulatorene helt. | |
| ● | ● | ● | ● | Ildstedets tilknytning til skorsteinen er ikke riktig | Tilknytningen må være lufttett. | |
| ● | ● | ● | ● | Undertrykk i rommet der ildstedet står | Slå av kjøkkenvifte. | |
| ● | ● | ● | ● | Utilstrekkelig tilførsel av forbrenningsluft | Sørg for tilstrekkelig tilførsel av frisk luft, bruk om nødvendig tilknytningen for direkte tilførsel av forbrenningsluft. | |
| ● | ● | ● | ● | Ugunstige værforhold?- Inversjon (omvendt luftstrøm i skorsteinen pga. høy utetemperatur), ekstrem vindhastighet | Ved inversjon frarådes bruk av ildstedet. Monter eventuelt skorsteinshatt på skorsteinen. | |
| ● | Trekk i rommet der ildstedet står | Unngå trekk i rommet; ildstedet må ikke plasseres i nærheten av en dør eller varmluftkanaler. | ||||
| ● | Flammer berører glasset | Pass på at veden ikke ligger for nær glasset. Steng den primære luftregulatoren enda mer. | ||||
| ● | Ildstedet lekker luft | Kontroller tetningen til ildstedets dør samt ildstedets sprekker. | ||||
GARANTI
Informasjon vedr. garantibestemmelser ligger i ildstedskatalog og på vår nettsside:
www.dovrepeisen.no

KONTROLLSKJEMA
DET ER MONTERT ET ILDSTED:
av type DOVRE 40CBS
på eiendommen til:......
Adresse:
Postadresse:
G.nr...... Br.nr...... Telefon:......
Følgende ble kontrollert under installasjonen:
KONTROLLPUNKTER
Er ildstedet montert etter monteringsanvisning?
Kontrollert avstand til brannmur?
Kontrollert avstand til brennbart materiale?
Tåler gulvet vekten av ildsted?
Er ildstedet sikret tilstrekkelig tilførsel av forbrenningsluft?
Finnes monteringsanvisningen på byggeplass?
JA NEI




Installert:
Sted Dato Eiers og evt. installators signatur
KONTROLL-ERKLÆRING
Installasjonen er kontrollert ved hjelp av Utfylt sjekkliste
Visuell kontroll
Røykpatron
Videokamera

Annet:
Installasjonen er kontrollert og funnet i orden:
Sted
Dato
Kontrollør
NB! DET ER ET MYNDIGHETSKRAV AT KONTROLLERKLÆRING FINNES OG AT EIER
SKAL MELDE FRA TIL KOMMUNEN (FEIERVESEN) NÅR DET HAR V/ERT INSTALLERT NYTT
ILDSTED ELLER FORETATT ANDRE VESENTLIGE ENDRINGER VED FYRINGSANLEGGET.
S∅RG FOR AT DETTE SKJEMA BLIR UTFYLT, OG TA GODT VARE PÅ DET SAMMEN MED
MONTERINGS- OG BRUKSANVISNINGEN. DETTE ER ET VERDIPAPIR FOR BOLIGEN.
Kopi av denne siden sendes til feiervesenet i din kommune for registrering.

Notater
Indeks
A
Advarsel
brennbart materiale.6....
forskrifter 6
indre brennplater av støpejern..11.....
knust eller sprukket glass 6,14.....
pipebrann.6,13....
rengjøringsmiddel for ovnsglass 14
sotbrann .11....
varm overflate 6
ventilasjon .6-7......
B
Bål
slukke 13
Bålet slukker..13......
Bartre 11
Ben
montering 8
Brannsikkerhet
avstand til brennbart materiale 19
gulv 7
møbler 7
vegger 7
Brennbart materiale
avstand til 19
Brennplater
vedlikehold 14
Brensel
egnet 11
nødvendig mengde 13
påfylling .13....
uegnet 11
ved 11
D
Direkte tilførsel av forbrenningsluft
tilknytning til 11
Dør
pakning 14
Dørpakning 14
E
Egnet brensel 11
Emalje
vedlikehold 14
Etasjestykke
vameveksler 8
Etasjestykke 5T ..... 10
eventuelle problemer 13
F
Feiing av skorsteinen 13
Fett til smøring.... 14
Fjerne
aske 13
Fjerne aske 13
Forebygging av pipebrann 13
Frisklufttilførsel 7
Fyllhøyde ildsted.... 13
Fyring 12
for dårlig varme 21
ildstedet brenner for kraftig 21
ildstedet er vanskelig å regulere 21
opptenning 11
påfylling av brensel 12-13
utilstrekkelig varme 13
G
Glass
rengjøring 14
sotdannelse 21
Glassdør
rengjøring 14
Gulv
bæreevne 7
brannsikkerhet 7
Gulvets bæreevne 7
Gulvteppe 7
H
Ildstedetdet ryker inn 21
llegg av ved 12
Indre brennplater av støpejern
advarsel 11
K
Koble til
side 9
Koble til skorstein
på toppen.... 10
Kreosot .13....
L
Lagring av ved.1.1....
Lakk 11
Lakklag, vedlikehold.14....
Luft til bålet 13
Luftlekkasje .14....
M
Mål 17....
N
Nominell effekt..13,.16....
0
Oppstilling mål 17
Opptenning .11....
Opptenningsbål 11
Opptenningsved 21
Overflatefinish, vedlikehold 14
P
Påfylling av brensel.... 13 ildstedet ryker inn.... 21
Partikkelutslipp 16
Problemløsning 21
R
Rå ved....11
Regulere lufttilførselen 13
Rengjøring glass ....14 ildsted ....13
Rengjøringsmiddel for glass 14
Røyk ved første gangs bruk.... 11
Røykåpning stenge 9
Røykgass massestrøm 16 temperatur 5, 16
Røykhatt 7
Røykuttak diameter 16
Ruter sotdannelse 21
s
Skorstein høyde .... 7 krav .... 6 montering til.... 1 vedlikehold .... 13
Skorsteinstrekk 16
Smøring 14
Sprekker i ildstedet.... 14
T
Temperatur .16. Tilbakeslag av røyk. 6
Tilknytning mål 17
Tilkoblingslokk fjerne 9
Tjære .13..... Tømming av aske.... 13
Tørking av ved.... 11
U
Uegnet brensel.... 11
V
Varme, for dårlig 21
Varme, utilstrekkelig 13
Varmeveksler 10 etasjestykke 8
Ved .... 11 egnet type.... 11 fortsetter ikke å brenne.... 21 oppbevaring .11 rå .... 11 tørking .... 11
Vedlikehold brennplater....14 emalje....14 rengjøring av glass....14 rengjøring av ildstedet....13 skorstein .13 smøring....14 tetning....14
Vegger brannsikkerhet 7
Vekt 16

Ventilasjon .7....
tommelfingerregel 7
Ventilasjonsrist 7......
Virkningsgrad 5, 16
EnkelManual