40CBS - Riscaldamento DOVRE - Manuale utente e istruzioni gratuiti
Trova gratuitamente il manuale del dispositivo 40CBS DOVRE in formato PDF.
Domande frequenti - 40CBS DOVRE
Domande degli utenti su 40CBS DOVRE
0 domanda su questo apparecchio. Rispondi a quelle che conosci o fai la tua.
Fai una nuova domanda su questo apparecchio
Scarica le istruzioni per il tuo Riscaldamento in formato PDF gratuitamente! Trova il tuo manuale 40CBS - DOVRE e riprendi in mano il tuo dispositivo elettronico. In questa pagina sono pubblicati tutti i documenti necessari per l'utilizzo del tuo dispositivo. 40CBS del marchio DOVRE.
MANUALE UTENTE 40CBS DOVRE
Dichiarazione di prestazione...4.....
Sicurezza 6
Requisiti per l'installazione...6.....
Generalità 6
Canna fumaria 6
Aerazione dell'ambiente 7
Pavimento e pareti 8
Descrizione del prodotto 8
Installazione 9
Preparazione 9
Montare le gambe 9
Montare il pomolo della serratura.... 9
Preparazione del collegamento alla canna
fumaria 10
Installazione e collegamento.... 12
Uso 12
Prima accensione.... 12
Combustibile 12
Accensione 12
Funzionamento a legna.... 13
Spegnere il fuoco.... 14
Rimozione della cenere 15
Foschia e nebbia.... 15
Eventuali problemi 15
Manutenzione 15
Canna fumaria.... 15
Pulizia e manutenzione periodica.... 16
Allegato 1: Dati tecnici.... 18
Allegato 2: Dimensioni.... 19
Allegato 3: Distanza da materiali
infiammabili 21
Allegato 4: Schema diagnostico 23
Indice 24
Introduzione
Gentile cliente,
acquistando questo apparecchio da riscaldamento di DOVRE, Lei ha scelto un prodotto di alta qualità.
Questo prodotto fa parte di una nuova generazione di apparecchi da riscaldamento ecologici a basso consumo energetico, in grado di sfruttare in modo ottimale sia il calore di convezione, sia quello di irraggiamento.
Il Suo apparecchio DOVRE è stato realizzato con processi di produzione all'avanguardia. Qualora dovessero presentarsi difetti o irregolarità, Le consigliamo vivamente di contattare il servizio clienti DOVRE.
Non è consentito apportare modifiche all'apparecchio. Si raccomanda di usare sempre parti di ricambio originali.
L'apparecchio è stato progettato per la collocazione in ambienti abitativi e deve essere collegato ermeticamente a una canna fumaria funzionante.
Le consigliamo di affidare l'installazione dell'apparecchio a un tecnico qualificato.
DOVRE declina ogni responsabilità per problemi o danni causati da un'installazione non a regola d'arte.
Per l'installazione e per l'uso devono essere osservate le norme di sicurezza riportate nel manuale.
Questo manuale contiene tutte le istruzioni per l'installazione, l'uso e la manutenzione dell'apparecchio da riscaldamento DOVRE. Se desidera ricevere informazioni o dati tecnici aggiuntivi, Le consigliamo di contattare in un primo momento il fornitore dell'apparecchio.
© 2013 DOVRE NV
Dichiarazione di prestazione
In conformità al Regolamento sui prodotti da costruzione 305/2011
N. 008-CCPR-2013
- Codice di identificazione unico del tipo di prodotto:
40 CBS
- Numero di tipo, lotto o serie, o un altro mezzo identificativo per il prodotto da costruzione, previsto nell'articolo 11, paragrafo 4:
Numero di serie unico.
- Usi previsti del prodotto in conformità alle relative specifiche tecniche armonizzate, come stabi dal fabbricante:
Stufa per combustibile solido senza produzione di acqua calda in conformità aEN 13240.
- Denominazione, denominazione commerciale registrata o marchio commerciale registrato e indirizzo di contatto del fabbricante, come previsto dall'articolo 11, paragrafo 5:
-
Se applicabile, nome e indirizzo di contatto del delegato il cui mandato prevede lo svolgimen compiti descritti nell'articolo 12, paragrafo 2:
-
Il sistema o i sistemi per la valutazione e la verifica della costanza della prestazione del p costruzione, menzionati nell'allegato V:
Sistema 3
- Se la dichiarazione di prestazione fa riferimento ad un prodotto da costruzione che rientra in norma armonizzata:
L'istanza designata KVBG, registrata con il numero 2013, ha eseguito una certificazione di tipo sul sistema 3 e ha rilasciato il rapporto di prova n. H0046.
-
Se la dichiarazione di prestazione fa riferimento ad un prodotto da costruzione per il quale consegnata una valutazione tecnica europea:
-
Prestazioni dichiarate:
| La norma armonizzata EN 13240:2001/A2 ;2004/AC :2007 | |
| Caratteristiche essenziali Prestazioni Legna | |
| Misure antincendio | |
| Resistenza al fuoco A1 | |
| Distanza da materiali infiammabili | Distanza minima in mmRetro: 400Lato: 400 |
| Rischio di caduta di brace Conforme | |
| Emissione prodotti della combustione CO: 0,12% (13% O _2 ) | |
| Temperatura della superficie Conforme | |
| Sicurezza elettrica - | |
| Facile da pulire | Conforme |
| Pressione massima di servizio | - |
| Temperatura dei fumi di combustione in caso di potenza termica nominale | 241 °C |
| Resistenza meccanica (sostenere il peso della canna fumaria) | Non stabilito |
| Potenza nominale | 6 kW |
| Rendimento | 82,4 % |
- Le prestazioni del prodotto descritto nei punti 1 e 2 sono conformi alle prestazioni previste punto 9.
La presente dichiarazione di prestazione viene rilasciata sotto esclusiva responsabilità del fabbrican menzionato nel punto 4:

text_image
T. Gehem24/06/2013 Weelde
Tom Gehem
CEO
Nell'ambito del costante miglioramento del prodotto, le specifiche tecniche dell'apparecchio fomito potrebbero differire dalla descrizione in questo manuale, ogni obbligo di preavviso escluso.
DOVRE N.V.
Attenzione! È obbligatoria l'osservanza di tutte le norme di sicurezza.

Leggere attentamente le istruzioni per l'installazione, l'uso e la manutenzione in dotazione, prima di mettere in funzione l'apparecchio.

L'apparecchio deve essere installato in conformità alle disposizioni tecniche e di legge vigenti nel Suo paese.

Durante l'installazione dell'apparecchio è obbligatorio osservare tutte le disposizioni locali e quelle riferibili alla normativa europea

Si consiglia di affidare l'installazione dell'apparecchio a un tecnico qualificato che costantemente informato sulle disposizioni e sulle norme vigenti.

L'apparecchio è stato progettato per il riscaldamento domestico. Tutte le sue superfici, vetro e raccordo di collegamento compresi, possono raggiungere temperature elevate (superiori ai 100°C)! Usare un quanto isolante o una maniglia mobile ("mano fredda") per eseguire operazioni a stufa accesa.

Provvedere ad un'adeguata protezione se bambini, invalidi o anziani si trovano in prossimità dell'apparecchio.

Le distanze di sicurezza da materiali infiammabili devono essere rigorosamente rispettate.

Non collocare tende, indumenti, biancheria o altri materiali infiammabili sopra o nelle vicinanze dell'apparecchio.

Non usare sostanze infiammabili o esplosive nelle vicinanze della stufa accesa.

Per evitare incendi della canna fumaria, provvedere alla pulizia periodica della stessa. Non accendere mai l'apparecchio con la porta aperta.

In caso di incendio della canna fumaria: chiudere le prese d'aria dell'apparecchio e chiamare i vigili del fuoco.

Qualora il vetro dello sportello sia rotto o crepato, non usare l'apparecchio fino a quando il vetro non sarà sostituito.

Assicurarsi che vi sia sufficiente aerazione nel locale di posa. In caso di scarsa ventilazione, la combustione non sarà completa causando eventualmente l'emissione di gas tossici nel locale. Per ulteriori informazioni sull'aerazione, si veda il capitolo "Requisiti per l'installazione".
Requisiti per l'installazione
Generalità
L'apparecchio deve essere collegato ermeticamente a una canna fumaria funzionante.
Per le dimensioni di raccordo si veda si veda l'allegato "Dati tecnici".
I vigili del fuoco e/o la società di assicurazione possono informarLa relativamente a eventuali requisiti e prescrizioni particolari.
Canna fumaria
La canna fumaria serve per:
L'evacuazione dei prodotti di combustione grazie al tiraggio naturale.

L'aria calda presente nella canna fumaria tende a salire in alto perché è più leggera dell'aria esterna.
L'aspirazione dell'aria necessaria alla combustione del combustibile nell'apparecchio.
Qualora il tiraggio della canna fumaria non sia sufficiente, durante l'apertura della porta potrebbe fuoriuscire del fumo. Eventuali danni causati dal ritorno di fumo sono esclusi dalla garanzia.

Non collegare più di un apparecchio (a.e. una caldaia) alla medesima canna fumaria, a meno che non sia consentito dalle norme locali o nazionali. In caso di due collegamenti, provvedere a mantenere tra di essi un dislivello minimo di 200 mm.
Si consiglia di consultare l'installatore riguardo alla canna fumaria. La norma europea EN13384 contiene parametri per il calcolo della capacità di camini e canne fumarie.
La canna fumaria deve rispondere ai seguenti requisiti:
La canna fumaria deve essere realizzata in materiale resistente al fuoco, preferibilmente ceramica refrattaria o acciaio inox.
▶ Deve essere pulita e perfettamente a tenuta stagna, con una sufficiente capacità di tiraggio.

Un tiraggio/depressione di 15 - 20 Pa durante l'esercizio normale sarebbe il valore ideale.
Il percorso della canna fumaria - a partire dall'us dei fumi dell'apparecchio - deve essere il più verticale possibile. Gomiti e raccordi orizzontali ostacolano l'evacuazione dei prodotti di combustione, causando depositi di fuliggine.
Le dimensioni interne dovrebbero essere contenute, onde evitare che i fumi di combustione si raffreddino eccessivamente diminuendo così il tiraggio naturale.
Di regola il diametro della canna fumaria dovrebbe corrispondere a quello del manicotto di collegamento.

Per il diametro nominale si veda l'allegato "l tecnici". Quando la canna fumaria è ben isolata, è consentito anche un diametro maggiore (al massimo il doppio del diametro del manicotto di collegamento).
Il diametro (superficie) del canale dei fumi deve essere regolare. Eventuali allargamenti, e soprattutto i restringimenti, ostacolano lo scarico dei prodotti di combustione.
In caso di canna fumaria provvista di comignolo/antivento: assicurarsi che il comignolo non restringa l'uscita del camino e non ostacoli l'evacuazione dei prodotti di combustione.
La parte terminale della canna fumaria deve ess situata in una posizione sufficientemente distante da edifici circostanti, alberi o altri ostacoli.
La parte che emerge dal tetto dell'edificio deve essere opportunamente isolata.
La lunghezza minima della canna fumaria è di 4 ne imetri.
Di norma, il comignolo 60 60 cm rispetto al colmo del tetto.
Qualora il colmo del tetto disti più di 3 metri dalla canna fumaria: rispettare le misure indicate nella figura sottostante: A = il punto più alto del tetto entro una distanza di 3 metri.

text_image
cita 3 m min. 0.5 m min. 1 m A 09.20500.001Aerazione dell'ambiente
Per garantire una regolare combustione, l'apparecchio ra bisogno di aria (ossigeno). L'aria viene aspirata dall'ambiente dove l'apparecchio è stato installato, attraverso le prese dell'aria regolabili.

In caso di scarsa ventilazione, la combustione non sarà completa causando eventualmente l'emissione di gas tossici nel locale.
La regola prescrive un apporto d'aria pari a 5,5 cm²/kW. Si dovrà provvedere a un'aerazione supplementare:
Qualora l'apparecchio sia stato installato in un locale ben isolato.
In presenza di ventilazione meccanica forzata, a.e. un sistema di ventilazione centralizzato o una cappa nell'angolo cottura.
L'aerazione può essere migliorata installando una segiglia di aerazione nella parete esterna dell'edificio.
Si raccomanda di provvedere a una presa d'aria esterna indipendente per gli altri apparecchi che consumano aria (quali asciuguatrici, altri apparecchi di riscaldamento o ventilatori da bagno) o di spegnerli durante il funzionamento della stufa.

Pavimento e pareti
La portata di carico della superficie di appoggio dell'apparecchio deve essere sufficiente. Per il peso dell'apparecchio si veda l'allegato "Dati tecnici".

Pavimenti in materiale infiammabile devono essere protetti contro l'irraggiamento di calore per mezzo di una piastra ignifuga. Si veda l'allegato "Distanza da materiale infiammabile".

Prima di posare la piastra salvapavimenti, rimuovere materiali infiammabili come linoleum, moquette, ecc.

Assicurarsi che la distanza tra la stufa e materiali infiammabili, come pareti e mobili di legno, sia sufficiente.

Si deve tener conto del fatto che anche il tubo di collegamento emana calore. Assicurarsi che la distanza tra il tubo di collegamento e materiali infiammabili sia sufficiente.
Per un tubo semplice tale distanza deve essere almeno tre volte il diametro del tubo stesso. Qualora il tubo sia provvisto di rivestimento, la distanza si riduce a una volt diametro.

Tenere tappeti e moquette a una distanza minima di 80 cm dal focolare.

Il pavimento davanti alla stufa deve essere 6. protetto contro la caduta di cenere ardente per mezzo di una piastra salvapavimenti ignifuga. La piastra deve soddisfare i requisiti stabiliti dalle norme nazionali.

Per le dimensioni della piastra salvapavimenti; si veda l'allegato "Distanza da materiale infiammabile".

Per gli ulteriori requisiti antincendio: si veda l'allegato "Distanza da materiale infiammabile".
Descrizione del prodotto

text_image
⑥ ① ② ③ ④ ⑤ 09-20001-033- Porta
- Chiavistello
- Presa per la regolazione dell'aria
- Mensola portacenere
- Gamba regolabile
- Collegamento per i fumi di combustione (chiuso)
Caratteristiche dell'apparecchio
L'apparecchio è munito di gambe regolabili in altezza.
L'apparecchio può essere collegato alla canna fumaria sulla parte laterale, posteriore o superiore. Per effettuare il collegamento superiore, è necessario munirsi di un manicotto di collegamento, da ordinare a parte.
Per l'apparecchio è disponibile un raccordo denominato 5T con la funzione di uno scambiatore di calore. Si veda "Allegato 2: Dimensioni" per le caratteristiche dimensionali del raccordo 5T. Mediante questo raccordo è possibile collegare l'apparecchio nella parte laterale o superiore. Per il collegamento superiore mediante il raccordo è

possibile utilizzare il manicotto di collegamento fornito in dotazione.
La piastra di combustione presenta un profilo scanalato. La cenere che si accumula tra le scanalature crea uno strato di isolamento e di protezione della piastra di combustione.
Installazione
Preparazione
Controllare, alla consegna, che l'apparecchio non presenti danni (di trasporto) o eventuali altri difetti.

Nel caso si constatino danni (dovuti al trasporto) o difetti, non mettere in funzione l'apparecchio e rivolgersi al rivenditore.
Prima della posa rimuovere tutti i componenti amovibili (piastre di ghisa). Anche la porta è facilmente rimuovibile.

Senza il peso di questi componenti è più spostare l'apparecchio, evitando eventuali danni.

È importante ricordarsi la posizione esatta dei componenti amovibili che devono essere riassemblati dopo la posa dell'apparecchio.
-
Aprire la porta e sganciarla dall'apparecchio.
-
Rimuovere le piastre interne in ghisa.

Piastre interne in ghisa proteggono la camera di combustione e trasmettono il calore all'ambiente.
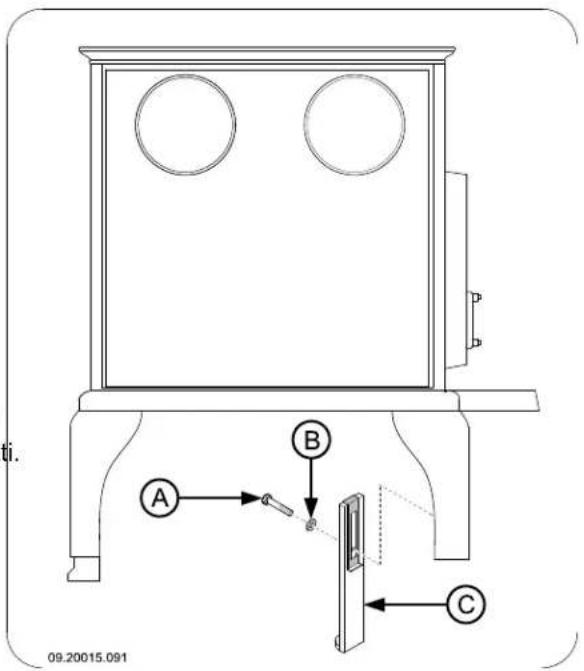
Montare le gambe
Montare le gambe all'apparecchio; si veda la figura seguente.

text_image
ti. 09.20015.091 A B C- Usando i bulloni M6 in dotazione, montare le due ilile componenti delle gambe all'altezza desiderata.
- Ribaltare la stufa sul lato posteriore.
- Montare le quattro gambe alla piastra di fondo usando le rondelle e i dadi M8 presenti sulla piastra stessa.
Montare il pomolo della serratura
Montare il pomolo sulla serratura con i materiali di fissaggio forniti in dotazione; si veda la figura sottostante.

Preparazione del collegamento alla canna fumaria
È possibile effettuare il collegamento dell'apparecchio alla canna fumaria sulla parte laterale, posteriore o superiore. Si vedano i paragrafi "Collegamento laterale o posteriore" e "Collegamento superiore". È inoltre possibile effettuare il collegamento mediante il raccordo 5T, disponibile su richiesta, si veda il paragrafo "Collegamento mediante il raccordo T5".

Per effettuare il collegamento sulla parte superiore dell'apparecchio, è necessario utilizzare uno manicotto di collegamento speciale. Il manicotto di collegamento (insieme ad un coperchio) deve essere ordinato a parte. Il numero di ordine è 03.15317.020.
L'apparecchio viene fornito senza un foro per i fumi di combustione.
Il mastice di sigillatura e i materiali di fissaggio sono forniti insieme all'apparecchio.
Collegamento laterale o posteriore
Scegliere se si desidera collegare l'apparecchio alla canna fumaria sulla parte laterale o posteriore. Operare il foro per i fumi di combustione sul lato desiderato e montare quindi il manicotto di collegamento in dotazione.

Per la Germania, l'apparecchio viene dotato di un manicotto di collegamento con un diametro di 130 mm.
Praticare al centro del coperchio di raccordo un foro del diametro di 10 mm.
2. Posizionare lo spessore con il bullone all'interno del coperchio di raccordo.
3. Infilare la rondella sul bullone e girare il dado sul umi bullone.

Nel caso di stufe smaltate, a protezione da eventuali schegge di smalto mettere fra la rondella e la stufa un pezzo di cartone delle dimensioni minime di 20 per 20 cm.
- Stringere il dado a mano. Ingrassare leggermente il dado per poterlo stringere più facilmente.
- Stringere il dado con una chiave ad anello fino a che il coperchio di raccordo non si stacca.
- Un foro di passaggio dei fumi di combustione può essere richiuso con l'apposito coperchio in dotazione (A). Utilizzare la piastra di fissaggio (C) e il bullone M6x25 (D) per montare il coperchio sulla stufa (B); si veda la figura seguente.
Operare il foro per i fumi di combustione rimuovendo il coperchio di raccordo. Utilizzare l'attrezzatura fornita: lo spessore, la rondella, il bullone e il dado; si veda la figura seguente.


text_image
A B C D 09.20015.082- Montare il manicotto di collegamento (C) usando le due staffe in dotazione (E) e i materiali di fissaggio (A) e (B) sul foro per i fumi di combustione (D); si veda la figura seguente.

text_image
A B C D E 09.20015.083- Usare il mastice per alte temperature in dotazione per sigillare il manicotto di collegamento e il coperchio del bocchettone sull'apparecchio.
Collegamento superiore
Per effettuare il collegamento sulla parte superiore è necessario utilizzare un manicotto di collegamento speciale. Il manicotto non è in dotazione.
- Rimuovere uno dei coperchi rettangolari presenti nella parte superiore dell'apparecchio.
- Collocare lo speciale manicotto di collegamento sul foro.
- Usare il mastice per alte temperature in dotazione per sigillare il manicotto di collegamento sull'apparecchio.
Collegamento mediante il raccord combustibile
5T
Il raccordo 5T permette di aumentare la superficie scambio della stufa, incrementandone il rendimento.
Mediante il raccordo 5T, disponibile su richiesta, è possibile effettuare un collegamento laterale e un collegamento superiore.
- Rimuovere i coperchi rettangolari presenti nella parte superiore dell'apparecchio.
- Collocare il raccordo 5T sui fori.
- Usare il mastice per alte temperature in dotazione per sigillare il raccordo sull'apparecchio.
- Procedere seguendo le istruzioni presenti nel paragrafo "Collegamento laterale o posteriore" per operare il foro per i fumi di combustione e monta il manicotto di collegamento in dotazione.
Installazione e collegamento
- Posizionare l'apparecchio nel posto desiderato che deve essere piano e orizzontale.
- Collegare l'apparecchio alla canna fumaria per mezzo di un manicotto a tenuta stagna.
- Agganciare la mensola portacenere sotto la piastra di fondo al di sotto della porta.
- Ricollocare nella posizione originale tutti i componenti precedentemente rimossi.

Non usare mai la stufa senza le piastre interne in ghisa.
L'apparecchio è ora pronto per l'uso.
Uso
Prima accensione
Alla prima accensione l'apparecchio deve funzionare a piena capacità per alcune ore per permettere il completo indurimento della vernice resistente al calore. L'eventuale presenza di fumo e cattivi odori è solo temporanea. Aprire eventualmente le porte e le finestre del locale per cambiare l'aria.
L'unico combustibile adatto a questa stufa è legna naturale; tagliata, spaccata e sufficientemente essiccata.
Non usare altri combustibili: possono provocare gravi danni all'apparecchio.
Non è consentito alimentare la stufa con i seguenti tipi di combustibile, poiché inquinano l'ambiente e depositano nell'apparecchio e nella canna fumaria residui di combustione che potrebbero provocare incendi di camino:
Legno trattato, come legno verniciato, impregnato, multistrato, compensato e di demolizione.
er Materia plastica, carta e rifiuti domestici.
Legna
Usare preferibilmente legna dura di latifogli come la quercia, il faggio, la betulla e alberi da frutto. Questi tipi di legna bruciano lentamente a fiamma moderata. La legna di conifere contiene più resina, si consuma velocemente e produce scintille.
Usare legname essiccato con un tasso di umidità inferiore al 20% che è stato immagazzinato per almeno 2 anni.
Tagliare la legna nella misura adatta e spaccarla quando è ancora verde. La legna verde si lascia spaccare più facilmente; inoltre, una volta spaccata, si secca rapidamente. Stoccare la legna rne sotto una tettoia esposta al vento.
Non usare legna umida. La legna umida non produce calore perché l'energia viene utilizzata per l'evaporazione dell'umidità, un processo che produce anche molto fumo e fuliggine sulla porta e nella canna fumaria. Il vapore acqueo si condensa nell'apparecchio e potrebbe non solo sgocciolare dalle giunture della stufa creando macchie nere sul e pavimento, ma anche condensarsi nella canna fumaria formando creosoto. Creosoto è una sostanza facilmente infiammabile e la causa è principale di incendi di camino.
Accensione
È possibile controllare il tiraggio della canna fumaria accendendo una palla di carta da giornale sopra il
deflettore. Quando la canna fumaria è fredda, spesso il tiraggio è insufficiente e il fumo potrebbe propagarsi nella stanza. Accendendo la stufa secondo la procedura sottostante, questo problema non si presenterà:
- Accatastare due strati di ceppi medi, riponendoli perpendicolarmente (incrociati).
- Riporre sopra i ceppi due strati incrociati di legnetti accendifuoco.
- Inserire un cubetto accendifuoco tra i legnetti del primo strato e accenderlo secondo le istruzioni sulla relativa confezione.

- Chiudere la porta della stufa e aprire completamente la presa d'aria nella porta.
- Far avviare bene il fuoco iniziale fino a quando sarà diventato un letto di brace ardente. Successivamente si può caricare altro combustibile e regolare il funzionamento della stufa; si veda il paragrafo "Funzionamento a legna".

Funzionamento a legna
Dopo aver seguito le istruzioni per l'accensione :
- Aprire lentamente la porta della stufa.
- Distribuire il letto di brace in modo uniforme sulla piastra di combustione.
- Accatastare alcuni ceppi di legna sul letto di brace.
Accatastamento disunito

In caso di accatastamento disunito, la legna si consuma più rapidamente a causa della buona ossigenazione. Adottare questo sistema quando la stufa deve rimanere accesa per poco tempo.
Accatastamento compatto

In caso di accatastamento compatto, la legna si consuma più lentamente perché l'ossigeno arriva soltanto ai ceppi esterni. Adottare questo sistema quando la stufa deve rimanere accesa per lungo tempo.
-
Chiudere la porta della stufa.
-
Regolare il fuoco tramite la presa d'aria nella porta.
Ricaricare la stufa per al massimo la metà della capacità.
Consigli
Non tenere aperta la porta della stufa quando questa è accesa.
Di tanto in tanto la stufa deve funzionare a regime massimo.
In caso di prolungato funzionamento a basso regime, si possono formare depositi di catrame e creosoto. Catrame e creosoto sono sostanze altamente infiammabili. Un eccessivo deposito di queste sostanze può causare l'incendio della canna fumaria quando la temperatura dei fumi sale eccessivamente in poco tempo. Un saltuario funzionamento a regime massimo fa sì che gli eventuali depositi di catrame e creosoto vengano eliminati.
Inoltre, il funzionamento a basso regime può provocare il deposito di catrame sul vetro e sulla porta della stufa.
Quindi, nella mezza stagione è preferibile far funzionare la stufa a regime alto per un paio di ore e non continuamente a regime basso.
Regolare l'apporto di aria tramite la presa d'aria nella porta.
La presa dell'aria non alimenta soltanto il fuoco ma crea anche ventilazione sul vetro, prevenendo così il deposito di sporco.
Aprire sempre la porta con cautela.
Dopo aver caricato la stufa, richiudere subito la porta.
È meglio aggiungere regolarmente piccole quantità di legna e non caricare troppo la stufa.
Spegnere il fuoco
Non aggiungere altro combustibile e aspettare che la stufa si spenga. Quando la fiamma viene smorzata riducendo l'apporto di aria, si liberano delle sostanze tossiche. Pertanto, è preferibile che il fuoco si spenga lentamente. Aspettare che il fuoco sia completamente spento e chiudere tutte le prese dell'aria di combustione.

Rimozione della cenere
La combustione di legna produce quantità limitate di cenere. Il letto di cenere costituisce un buon isolante e facilita la combustione. Si consiglia pertanto di mantenere sempre uno strato sottile di cenere sul fondo.
Tuttavia, l'apporto di aria attraverso la piastra di combustione non deve essere ostacolato e la cenere non si deve accumulare dietro le piastre interne. Pertanto la cenere deve essere eliminata periodicamente.
È possibile rimuovere la cenere in eccesso con l'aiuto di una paletta.
Foschia e nebbia
Foschia e nebbia possono ostacolare l'evacuazione dei fumi di combustione attraverso la canna fumaria. L'eventuale ritorno dei fumi provoca cattivi odori. Quindi, in caso di foschia e nebbia, è meglio non accendere l'apparecchio.
Eventuali problemi
Consultare l'allegato "Schema diagnostico" per risolvere eventuali problemi relativi al funzionamento dell'apparecchio.
Manutenzione
Seguire le istruzioni per la manutenzione per mantenere a livelli ottimali l'efficienza dell'apparecchio.
Canna fumaria
In molti Paesi vige l'obbligo di manutenzione e controllo della canna fumaria.
All'inizio della stagione invernale: far pulire la canna fumaria da uno spazzacamino qualificato.
Durante la stagione invernale e dopo un lungo periodo di inutilizzo: verificare l'eventuale presenza di fuliggine.
Dopo la stagione invernale: tappare la canna fumaria con una palla di carta da giornale.
Pulizia e manutenzione periodica

Non pulire la stufa quando è ancora calda.
Pulire la superficie esterna dell'apparecchio con un panno asciutto senza pilucchi.
La pulizia della parte interna dell'apparecchio può essere effettuata alla fine della stagione invernale:
Procedere rimuovendo eventualmente le piastre interne in ghisa. Si veda il capitolo "Installazione" per la rimozione e il riposizionamento delle piastre interne.
Pulire eventualmente le prese dell'aria.
In caso di un tagliafiamma smontabile: sfilare il tagliafiamma dalla parte superiore dell'apparecchio e pulirlo.
Controllo delle piastre interne in ghisa
Le piastre interne in ghisa sono componenti di consumo e quindi soggette a usura. Controllare a intervalli regolari lo stato delle piastre interne e sostituirle se necessario.
Si veda il capitolo "Installazione" per la rimozione il riposizionamento delle piastre interne.

Le piastre interne in ghisa durano di più qua la cenere accumulatasi dietro le piastre viene rimossa a intervalli regolari. La presenza di cenere dietro la piastra in ghisa ostacola la cessione del calore, provocando così la deformazione o la rottura della piastra stessa.

Non usare mai la stufa senza le piastre inter in ghisa.
Pulizia del vetro
Un vetro pulito attira meno sporco. Seguire la seguente procedura:
-
Rimuovere la polvere e la fuliggine con un pann asciutto.
-
Pulire il vetro con un detergente vetri per stufe. a. Applicare il detergente per vetri su una spugnetta, passare il prodotto su tutta la superficie del vetro e lasciar riposare per un po'.
b. Rimuovere lo sporco con un panno umido o con carta da cucina. - Pulire il vetro un'altra volta con un normale detergente per vetri.
- Asciugare il vetro con un panno asciutto o con carta da cucina.
Per la pulizia del vetro non usare prodotti abrasivi o aggressivi.
Usare guanti di plastica per proteggere le mani.

Qualora il vetro dello sportello sia rotto o crepato, non usare l'apparecchio fino a quando il vetro non sarà sostituito.

Far attenzione che il detergente per vetri non sgoccioli fra il vetro e la porta in ghisa.
Manutenzione della stufa smaltata
Non pulire la stufa quando è ancora calda. La superficie smaltata deve essere pulita preferibilmente con sapone di marsiglia neutro e acqua tiepida. Usare peca acqua, asciugare bene la superficie per evitare la formazione di ruggine. Non usare mai lana di acciaio o altri prodotti abrasivi. Non posare bollitori d'acqua
rabicettamente sulla stufa smaltata; usare un sottopentole e evitare danneggiamenti.
Lubrificazione
Nonostante la ghisa abbia proprietà autolubrificanti, le parti mobili devono essere ingrassate di tanto in tanto.
Ingrassare le parti mobili (i sistemi di guida, le cerniere, la chiusura dello sportello e le prese dell'aria) con grasso per alte temperature disponibile in ferramenta.
Riparare i danni alla vernice
è possibile rimediare ai piccoli danni alla vernice per mezzo di una bombola spray di vernice resistente ad alte temperature, disponibile presso il Suo fornitore.

Riparare la superficie smaltata
Smaltare è un processo artigianale che può dare origine a leggere differenze cromatiche e a piccoli danni all'apparecchio. Gli apparecchi sono sottoposti in fabbrica ad un controllo visivo: l'addetto al controllo esamina la superficie per 10 secondi dalla distanza di 1 metro.
Eventuali imperfezioni che non risultano evidenti alla vista vengono approvate. Mediante la speciale vernice resistente ad alte temperature in dotazione, è possibile provvedere alla riparazione di piccoli danni (causati dal trasporto).
Applicare la vernice in strati sottili e lasciare asciugare bene prima di usare l'apparecchio.
Alcune tonalità di smalto sono sensibili al cambiamento di temperatura e possono alterarsi durante l'impiego dell'apparecchio. Quando l'apparecchio si è raffreddato, lo smalto ritrova la sua tonalità originaria.
Se le superfici smaltate raggiungono temperature molto elevate, possono formarsi fessure capillari. Si tratta di un fenomeno normale che non pregiudica la funzionalità dell'apparecchio.

Assicurarsi che la stufa non venga caricata eccessivamente: la temperatura della superficie può in questo caso raggiungere temperature estreme provocando danni permanenti allo smalto.
Controllare la sigillatura
Controllare che la guarnizione della porta garantisca una buona tenuta. La guarnizione si consuma e deve essere sostituita a intervalli regolari.
Controllare che non vi siano spifferi d'aria e chiudere le eventuali fessure con mastice per alte temperature.

Il mastice deve indurirsi prima della prossima accensione per evitare che l'umidità presente nel mastice formi bolle d'aria, creando nuove fessure.
Allegato 1: Dati tecnici
| Modello 40 CBS | |
| Potenza nominale 6 kW | |
| Collegamento canna fumaria (diametro) 125 mm | |
| Collegamento canna fumaria (diametro)(solo per la Germania) | 130 mm |
| Peso +/- 85 kg | |
| Combustibile consigliato Legna | |
| Caratteristica combustibile, lunghezza max. 40 cm | |
| Portata massima dei fumi di combustione 6,4 g/s | |
| Innalzamento della temperatura rilevato nella sezione di misura | 241 K |
| Temperatura rilevata all'uscita dell'apparecchio 384 °C | |
| Tiraggio minimo | 11 Pa |
| Emissione di CO ( 13%_2 )O | 0,12 % |
| Emissione di NOx ( 13%_2 )O | 87 mg/Nm ^3 |
| Emissione di CnHm ( 13%_2 )O | 174 mg/Nm ^3 |
| Emissione di polveri | 16 mg/Nm ^3 |
| Emissione di polveri secondo NS3058-NS3059 6,27 | g/kg |
| Rendimento | 82,4 % |
Allegato 2: Dimensioni
40 CBS

text_image
350 220 - 300
text_image
2 2 5 Ø1 2 5 7 1 5 6 1 0 5 3 0
text_image
600 21009-20001-037
40 CBS + 5T

text_image
3 2 0 2 3 0 3 5 0
text_image
4 0 0 2 3 0 1 0 3 5 - 1 1 0 5 2 2 0 - 3 0 0 5 3 0 6 0 0
text_image
Ø1 2 5 2 1009-20001-038
Allegato 3: Distanza da materiali infiammabili
40 CBS - Distanze minime in millimetri

| * Tubo | di raccordo protetto (isolato) |
| Materiale infiammabile | |
| Materiale non infiammabile, spessore 100 mm |

40 CBS - Dimensioni della piastra salvapavimenti

text_image
B B A 09-20002-004Dimensioni minime della piastra salvapavimenti
| A (mm) | B (mm) | |
| Din 18891 500 300 | ||
| Germania 500 300 | ||
| Finlandia 400 100 | ||
| Norvegia 300 100 |
Allegato 4: Schema diagnostico
| Problema | ||||||
| ● | La legna non brucia bene | |||||
| ● | Scalda poco | |||||
| ● | Ritorno del fumo durante il caricamento | |||||
| ● | L'apparecchio funziona a regime troppo elevato, non regolabile | |||||
| ● | Il vetro si sporca | |||||
| possibile causa possibile rimedio | ||||||
| ● | ● | ● | ● | Tiraggio insufficiente | Quando la canna fumaria è fredda, talvolta iltiraggio non è sufficiente. Seguire le istruzioni per l'accensione nel capitolo "Uso"; aprire una finestra. | |
| ● | ● | ● | ● | La legna è troppo bagnata Usare legna con un tasso di umidità inferiore al 20%. | ||
| ● | ● | ● | ● | Ceppi troppo grossi | Usare legnetti accendifuoco. Usare ceppi spaccati, con una circonferenza massima di 30 cm. | |
| ● | ● | ● | ● | ● | Legna non accatastata correttamente. | Accatastare la legna di modo che l'apporto di aria fra i ceppi sia sufficiente (accatastamento incrociato, si veda "Accendere con legna"). |
| ● | ● | ● | ● | Insufficiente tiraggio della canna fumaria | Controllare che la canna fumaria soddisfi i requisiti: altezza minima 4 metri, diametro giusto, isolata bene, parete interna liscia, poche curve, libera da ostruzioni (nidi d'uccello, cumulidi fuliggine), tenuta stagna (senza fessure). | |
| ● | ● | ● | ● | Posizione non idonea della canna fumaria | L'altezza giusta rispetto al colmo del tetto, nessun ostacolo nelle vicinanze. | |
| ● | ● | ● | ● | ● | Regolazione scorretta delle prese d'aria | Aprire completamente le prese dell'aria. |
| ● | ● | ● | ● | Collegamento scorretto dell'apparecchio alla canna fumaria | Il collegamento deve essere a tenuta stagna. | |
| ● | ● | ● | ● | Depressione nel locale dove si trova l'apparecchio | Spegnere tutti i sistemi di aspirazione e ventilazione. | |
| ● | ● | ● | ● | Apporto d'aria insufficiente | Provvedere a un buon apporto di aria, eventualmente per mezzo di una presa d'aria esterna. | |
| ● | ● | ● | ● | Condizioni meteorologiche sfavorevoli? Inversione (flusso d'aria inverso nella canna fumaria a causa elevate temperature esterne), vento forte | In caso di inversione, è meglio non usare l'apparecchio. Eventualmente installare un antivento sul comignolo. | |
| ● | Corrente d'aria nel locale | Evitare corrente d'aria nel locale; non installare l'apparecchio nelle vicinanze di una porta o di canali d'aerazione. | ||||
| ● | Le fiamme vengono in contatto con il vetro | Assicurarsi che la legna non sia troppo vicina al vetro. Chiudere ulteriormente la presa dell'aria primaria. | ||||
| ● | Esce aria dall'apparecchio Controllare | la guarnizione della porta e le giunture dell'apparecchio. | ||||
Indice
A
Accatastare i ceppi di legno 14
Accendere .12....
Aerazione 7 regola 7
Aggiunta di combustibile 14
Altezza di caricamento della stufa.14.....
Avvertenza condizioni assicurative.6. detergente vetri per stufe.16. incendio di camino.12,14. vetro rotto o crepato.16.
Avvertimento aerazione 7. disposizioni 6. incendio della canna fumaria 6 materiali infiammabili 6 piastre interne in ghisa 12 superficie a temperatura elevata 6 ventilazione 6 vetro rotto o crepato 6
C
Canna fumaria altezza Canna fumaria
altezza 7
collegamento a....12
diametro di collegamento.... 18
diametro di collegamento Germania..... 18
manutenzione 15
requisiti 7
Caricamento del combustibile ritorno del fumo.... 23
Catrame 14
Collegamento alla canna fumaria parte superiore.... 11
Collegare dimensioni .... 19
Combustibile adatto .... 12
aggiungere 14
legna 12
non idoneo.... 12
quantità 15
Combustibile adatto.... 12
Combustibile non idoneo.... 12
Comignolo 7
Comignolo della canna fumaria.... 7
Condizioni meteorologiche, non accendere. 15
Coperchio di raccordo rimuovere .... 10
Creosoto 14
D
Detergente vetri per stufe 16
Dimensioni 19
E
Emissione di polveri.... 18
Essiccazione della legna 12
Evitare incendi di camino.... 14
F
Fessure nell'apparecchio.... 17
Foro di passaggio dei fumi di combustione chiudere .10....
Foschia, non accendere 15
Fumi di combustione temperatura 5
Fumo prima accensione 12
Fumo di combustione portata massima 18
Funzionamento a regime troppo elevato.... 23
aggiungere combustibile.... 13-14
calore insufficiente.... 15
poco calore.... 23
regolazione insoddisfacente 23
Fuoco accensione 12
spegnere 14
Fuoco iniziale 12

G
Gambe
montaggio 9
Germania
diametro di collegamento 18....
Grasso per lubrificazione..16.
Griglia di aerazione 7.
Guarnizione dello sportello..17.
|
Immagazzinamento della legna..12......
Innalzamento della temperatura
sezione di misura.18....
Installare
dimensioni .19....
L
Legna .12....
essiccazione 12
non brucia bene 23
stoccare 12
tipi adatti.... 12
umida 12
Legna di conifere.... 12
Legna umida 12
Legnetti accendifuoco.... 23
Lubrificazione 16
M
Mano fredda
montare 9
Manutenzione
canna fumaria.... 15
guarnizione 17
lubrificazione .16....
piastre interne in ghisa 16
pulizia del vetro.16......
pulizia dell'apparecchio 16
smalto 16
Materiali infiammabili
distanza da.... 21
Misure antincendio
distanza da materiali infiammabili.... 21
Muri
sicurezza antincendio 8
N
Nebbia, non accendere.... 15
0
Ossigenare il fuoco.... 14
P
Pareti
sicurezza antincendio 8
Pavimenti
portata di carico 8
sicurezza antincendio.... 8
Peso 18
Piastre interne in ghisa
avvertimento 12
manutenzione 16
Pomolo della serratura
montare 9
Portata di carico del pavimento.... 8
Potenza nominale.... 15, 18
Presa d'aria esterna
collegamento a.... 12
Pulizia
apparecchio 16
vetro 16
Pulizia della canna fumaria.... 15
R
Raccordo
scambiatore di calore 8
Raccordo 5T.... 12
Regolare l'apporto di aria 14
Rendimento 5, 18
Rimozione della cenere 15
Rimuovere
cenere 15
Rimuovere la cenere.... 15
Risoluzione problemi 15, 23
Ritorno dei fumi.... 6
Ritorno del fumo 23
Rivestimento, manutenzione.... 16-17
s
Scambiatore di calore.... 12
raccordo 8
Sicurezza antincendio
mobili 8
pareti .8.
pavimento 8
Smalto
manutenzione 16
Spegnimento del fuoca..14.
Spifferi d'aria 17
Sportello
guarnizione 17
Supporto della maniglia
montare 9
T
Tappeto .8
Temperatura .18.
Tiraggio .18
V
Vernice 12
Vetri
pulizia 16
sporco 23
Vetro
pulizia 16
sporco 23
Innhold
Innledning 3
Ytelseserklæring ..4....
Sikkerhet 6
Monteringsvilkår 6
Generelt 6
Skorstein 6
ManualeFacile