40CBS - Heating DOVRE - Free user manual and instructions
Find the device manual for free 40CBS DOVRE in PDF.
Frequently Asked Questions - 40CBS DOVRE
User questions about 40CBS DOVRE
0 question about this device. Answer the ones you know or ask your own.
Ask a new question about this device
Download the instructions for your Heating in PDF format for free! Find your manual 40CBS - DOVRE and take your electronic device back in hand. On this page are published all the documents necessary for the use of your device. 40CBS by DOVRE.
USER MANUAL 40CBS DOVRE
natural_image
Exterior view of a modern metal portable stove with illuminated windows and decorative animal motifs (no text or symbols visible)40CBS
Inhoudsopgave
Inleiding 3
natural_image
Line drawing of a mechanical lever with a handle and base, no text or symbols presentnatural_image
Technical line drawing of a mechanical assembly with labeled components (no text or symbols present)natural_image
Illustration of layered geological strata with no visible text or symbolsnatural_image
Technical line drawing of a mechanical device with internal components and directional arrows (no text or symbols)09-20001-036

Stoken met hout
natural_image
Illustration of a mechanical component with textured surfaces and a blue rectangular block, no text or symbols present.natural_image
Illustration of fragmented, irregularly shaped objects with grid patterns, no text or symbols presentPerformance declaration 4
Safety 6
Installation requirements..6....
General 6
Flue 6
Room ventilation 7
Floor and walls 8
Product description 8
Installation .9
Preparation 9
Mounting the legs 9
Fitting the latch button 9
Preparing the connection to the flue.... 9
Installing and connecting 11
Use 11
First use 11
Fuel 11
Lighting 12
Burning wood 13
Extinguishing the fire 13
Removing ash 14
Fog and mist 14
Resolving problems 14
Maintenance 14
Flue 14
Cleaning and other regularly maintenance 14
Appendix 1: Technical data.... 16
Appendix 2: Dimensions.... 17
Appendix 3: Distance from combustible
material 19
Appendix 4: Diagnosis diagram.... 21
Index 22
Introduction
Dear user,
By purchasing this heating appliance from DOVRE you have selected a quality product. This product is part of a new generation of energy-efficient and environmentally-friendly heating appliances. These appliances make optimum use of convection heat as well as thermal radiation (radiant heat).
Your DOVRE appliance has been manufactured with state-of-the-art production equipment. In the unlikely event of a malfunction, you can always rely on DOVRE for support and service.
The appliance should not be modified; please always use original parts.
The appliance is intended for use in a living room. It must be hermetically connected to a properly working flue.
We advise you have the appliance installed by an authorized and competent installer.
▶ DOVRE cannot be held liable for any problems or damage resulting from incorrect installation.
▶ Observe the following safety regulations when installing and using the appliance.
In this manual, you can read how the DOVRE heating appliance can be installed, used and maintained safely. Should you require additional information or technical data, or should you experience an installation problem, please first contact your supplier.
© 2014 DOVRE NV
Performance declaration
In accordance with construction products regulation 305/2011
No. 008-CCPR-2013
- Unique identification number of the product type:
40CBS
- Type, batch or serial number or other form of identification for the construction product, as scribed in article 11, subsection 4:
Unique serial number.
- Intended use for the construction product, in accordance with the applicable harmonised techr specification, as specified by the producer:
Stove for solid fuel without production of warm water in accordance with EN 13240.
- Name, registered trade name or registered trademark and contact address of the producer, as scribed in article 11, subsection 5:
-
If applicable, name and contact address for the authorised whose mandate covers the tasks cified in article 12, subsection 2:
-
The system or systems for the assessment and verification of the performance durability of struction product, specified in appendix V:
System 3
- If the performance declaration refers to a construction product that falls under a harmonised ard:
The appointed KVBG agency, registered under number 2013, has performed a type test under system 3 and has issued the test report no. H0046.
-
If the performance declaration concerns a construction product for which a European technical assessment is issued:
-
Declared performance:
| The harmonised norm EN 13240:2001/A2 ;2004/AC :2007 | |
| Essential characteristics Performance Wood | |
| Fire safety | |
| Fire resistance A1 | |
| Distance from combustible material | Minimum distance in mmRear: 400Side: 400 |
| Risk of glowing particles falling out Conform | |
| Emission of combustion products CO: 0.12% (13%O2) | |
| Surface temperature | Conform |
| Electrical safety | - |
| Ease of cleaning | Conform |
| Maximum operating pressure | - |
| Flue gas temperature at nominal output | 241°C |
| Mechanical resistance (weight carry of chimney) | Not determined |
| Nominal output | 6 kW |
| Efficiency | 82.4% |
- The performance of the product described in points 1 and 2 conform with the performance in point 9.
This performance declaration is supplied under the exclusive responsibility of the producer specifi in point 4:

text_image
T. Gehem24/06/2013 Weelde
Tom Gehem CEO
Due to continuous product improvement, the supplied appliance specifications may vary from the description in this brochure without prior notice having been given.
DOVRE N.V.
Please note: All safety regulations must be complied with strictly.

Please read carefully the instructions supplied with the appliance for installation, use and maintenance before using the appliance.

The appliance must be installed in accord with the legislation and requirements applicable in your country.

All local regulations and the regulations relating to national and European standards must be observed when installing the appliance.

The appliance should preferably be installed by an authorised installer. Installers will be aware of the applicable regulations and requirements.

The appliance is designed for heating purposes. All surfaces, including the glass and connecting tube, can become very hot (over 100°C)! When operating, use a so-called "cold hand" or an oven glove.

Make sure there is sufficient protection if young children, disabled persons or old people. The flue is needed for: are in the vicinity of the appliance.

Safety distances from flammable materials must be strictly adhered to.

Do not place any curtains, clothes, laundry or other combustible materials on or near the app ance.

When in use, do not use flammable or explosive substances in the vicinity of the appliance

Avoid chimney fires by having the chimney no swept regularly. Never burn wood with the door open.

In the event of a chimney fire: close all the appliance's air inlets and alert the fire service.

If the glass in the appliance is broken or cracked, it must be replaced before you can use the appliance again.

Ensure that there is adequate ventilation in the room in which the appliance is installed. If ventilation is insufficient, combustion will be incomplete whereby in toxic gases can spread through the room. See the chapter "Installation requirements" for more information on ventilation.
Installation requirements
General
The appliance must be connected tightly to a well-by functioning flue.
For connection measurements: see "Technical data" appendix.
▶ Ask the fire service and/or your insurance company about any specific requirements and regulations.
Flue
The flue is needed for:
▶ Removal of combustion gases via natural draught.

As the warm air in the flue or chimney is lighter than the outside air, it rises.
Air intake, needed for the combustion of fuel in the opli-appliance.
A poorly-functioning flue or chimney can cause smoke to escape into the room when the door is opened.
Damage caused by smoke emissions into the room is not covered by the warranty.

Do not connect multiple appliances (such as a boiler for central heating) to the same flue, unless local or national regulations allow this. In the event of two connections ensure that the difference in height between the connections is no less than 200 mm.
Ask your installer for advice regarding the flue. Refer to the European norm EN13384 for a correct calculations for the flue.
The flue must satisfy the following requirements:
The flue or chimney must be made of fire-resistant material, preferably ceramics or stainless steel.
The flue or chimney must be airtight and well-cleaned and guarantee sufficient draught.
A draught/vacuum of 15 - 20 Pa during normal operation is ideal.
Starting from the flue spigot, the flue must run a vertically as possible. Changes in direction and horizontal pieces disrupt the outward flow of combustion gases and may cause soot deposits.
To prevent combustion gases from cooling down For good combustion, the appliance needs air (oxy-too much, which reduces the draught, ensure that gen). This air is supplied via adjustable air inlets from the interior diameter is not too big. the area in which the appliance is installed.
The flue or chimney should ideally have the same ⚠️ If ventilation is insufficient, combustion will be diameter as the connection collar. incomplete, which may lead toxic gases to
i
For nominal diameter: see "Technical data" appendix. If the smoke channel is well insu- As a rule of thumb, the air supply should be lated, the diameter may be slightly bigger (up5t6 cm²/kW. Extra ventilation is needed when: 2x the section of the connection collar).
The section (area) of the smoke channel must constant. Wider segments and (in particular) narrower segments disrupt the outward flow of combustion gases.
In fitting a cover plate/exhaust cap to the flue: You can provide extra ventilation by having a ventilation louvre fitted on the outside wall. Make sure that the cover does not restrict the flue outlet and that the cap does not impede the outward flow of combustion gases. Make sure that other air consuming appliances (such as tumble drivers, other heating appliances or a both
The flue must end in a zone that is not affected by surrounding buildings, trees or other obstacles. (room fan) have their own supply of outside air, or are switched off when you use the appliance.
The flue outside the house must be insulated.
The flue should be at least 4 metres high.
As a rule of thumb: 60 cm above the ridge of the roof.
If the ridge of the roof is more than 3 metres from the flue: use the measurements given in the following figure. A = the highest point of the roof within a distance of 3 metres.

text_image
ant 3 m min. 0.5 m min. 1 m al A 09.20500.001 asRoom ventilation
For good combustion, the appliance needs air (oxygen). This air is supplied via adjustable air inlets from the area in which the appliance is installed.
If ventilation is insufficient, combustion will be incomplete, which may lead toxic gases to spread through the room.
The appliance is in a well-insulated area.
There is mechanical ventilation, for example, a central extraction system or an extraction hood in an open kitchen.
Make sure that other air consuming appliances (such as tumble-driers, other heating appliances or a bathroom fan) have their own supply of outside air, or are switched off when you use the appliance.

Floor and walls
The floor on which the appliance is placed must have sufficient bearing capacity. The weight of the appliance is given in the appendix "Technical Data appendix".

Protect flammable flooring from heat radiation by means of a fireproof protective plate. See the appendix "Distance from combustible material".

Remove combustible material such as lino-leum, carpets/rugs and similar materials below the fireproof protective plate.

Keep sufficient distance between the appliance and combustible materials such as wooden walls and furniture.

The connecting tube also radiates heat. Ensure that there is sufficient distance or a shield between the connecting tube and combustible material.
The rule of thumb for a single-walled tube is a distance of 3x the diameter. If a lining shell is fitted around the tube, a distance of 1x the diameter is permissible.

Carpets and rugs must be at least 80 cm away from the fire.

Use a fireproof floor plate to protect a flammable floor from any ash which may fall in fire of the stove. The floor plate must comply with national standards.

For the dimensions of the fireproof protective plate: see the appendix "Distance from combustible material".

For further requirements with respect to fire safety, see the appendix "Distance from combustible material".
Product description

text_image
we 6 1 2 3 4 5 09-20001-033-
Air control scraper
-
Adjustable leg Flue gas connection (closed)
Stove features
The appliance is supplied with height-adjustable legs.
The appliance can be connected to the chimney at the side, at the rear or at the upper side. A connection collar that can be ordered separately is necessary for connecting on the upper side.
An attachment with the designation 5T, which functions as a heat exchanger, is available for the appliance. See "Appendix 2: Dimensions" for the dimensions of the attachment 5T. Via this attachment, the appliance can be connected at the side or on the upper side. The connection collar included in the delivery can be used for connecting to the upper side via the attachment.

The base plate is grooved. The ashes that accumulate in the grooves act as an insulating layer to protect the base plate.
Installation
Preparation
Please check the appliance for damage caused during transport or any damage or defects immediately after delivery.

If you detect transport damage or any other damage or defects, do not use the appliance and notify the supplier.
Remove the removable parts (the cast-iron inner plates) from the appliance before you start installing the appliance. The door can also easily be removed.

By removing removable parts, it is easier to move the appliance and to avoid damage.

Note the location of the removable parts, so 2 that you can re-position the parts in the correct place later on. 3.
-
Open the door and unhook it from the appliance.
-
Remove the cast-iron inner plates.

Cast iron inner plates protect the combustion chamber and dissipate heat to the surroundings.
Mounting the legs
Fit the legs to the appliance; see the following figure.

text_image
09.20015.091- Using the bolts supplied M6, fit the two parts of the legs to the desired height.
- Tilt the stove on its back.
- Fit the four legs on the bottom plate using the washers and the M8 nuts that are found on the bottom plate.
Fitting the latch button
Fit the button on the latch using the attachment materials included in the delivery; see the figure below.

natural_image
Line drawing of a mechanical lever with a handle and base, no text or symbols presentPreparing the connection to the flue
When connecting the appliance to the chimney you have the choice of connecting via either the side, the

rear or the upper side. See the paragraphs "Connecting on the side or to the rear" and "Connecting to the upper side". It is also possible to make a connection via the attachment 5T that can be ordered separately; see the paragraph "Connecting via the attachment 5T".

On enamelled appliances, place a piece of cardboard measuring a minimum of 20 cm by 20cm between the washer and the appliance to protect against chipping of the enamel.
A special connection collar is required to connect to the upper side of the appliance. This connection collar (along with a cover) can be ordered separately. The order number is 03.15317.020.
- Tighten the nut by hand. Use a small amount of grease to make it easier to turn the nut.
Using a ring spanner, tighten the nut so that the connection cover breaks out.
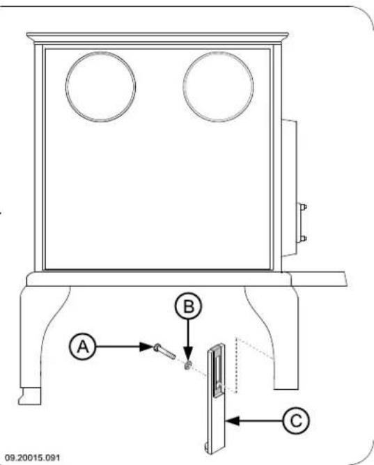
The appliance is not supplied with a flue gas opening.
- Once made, a flue gas opening can be closed off again with the supplied shut-off cover (A). Use the open-mounting plate (C) and M6x25 bolt (D) to fit the cover to the appliance (B); see the following figure.
▶ Sealant and materials supplied.
Connecting to the side or the
First of all, choose between the side or the rear to connect the appliance to the chimney. Make the flue gas opening on the side that you have chosen and then fit the connection collar supplied with the appliance.

For Germany, the appliance is supplied with a connection collar with a diameter of 130 mm.
Make the flue gas opening in the appliance by removing the connection cover. Use the equipment: the tension piece, the washer, the nut and bolt; see following figure.

natural_image
Technical line drawing of a mechanical assembly with labeled components (no text or symbols)rear

text_image
ear on- it A B C D 09.20015.082-
Fit the connection collar (C) to the flue gas opening (D) using the two brackets supplied (E) and the attachment materials (A) and (B); see the figure below.
-
In the centre of the connection cover, drill a hole with a diameter of 10 mm.
- Place the tension piece and the bolt on the inner side of the connection cover.
- Slide the washer over the bolt and tighten the nut onto the bolt.


text_image
A B C D E 09.20015.083- Use the supplied stove sealant to seal the connection collar and the cover to the appliance.
Connecting to the top
You need a special connection collar to connect on When you use the appliance for the first time, make the upper side. This is not supplied with the appli-an intense fire and keep it going for a good few hours. This will cure the heat-resistant paint finish. This may
- Remove one of the rectangular covers from the upper side of the appliance.
- Install the special connection collar on the open created.
- Use the stove sealant supplied for sealing the nection collar and the appliance.
Connecting via the attachment
The attachment 5T increases the surface of the stove that exchanges heat, thereby increasing efficiency.
When using the attachment 5T that is sold separately, you are able to make a side connection and an upper connection via the attachment.
- Remove the rectangular cover from the upper side of the appliance.
- Install the attachment 5T on the openings created.
- Use the supplied stove sealant for sealing the attachment and the appliance.
- Follow the further instructions in the paragraph "Connecting on the side or to the rear" to make the flue gas opening and to install the supplied connection collar.
Installing and connecting
- Position the stove in the correct place, and make sure it is level.
- Connect the stove to the fuel hermetically.
- Hook the ash tray under the bottom plate under the door.
- Re-position all removed parts in the correct places in the stove.

Never use the appliance without the cast-iron inner plates.
The stove is now ready for use.
Use
First use
When you use the appliance for the first time, make an intense fire and keep it going for a good few hours.
This will cure the heat-resistant paint finish. This may result in some smoke and odours. You could open windows and doors for a while in the area in which the appliance is located.
Fuel
This appliance is only suitable for burning natural wood; sawn and chopped wood that is sufficiently dry.
Do not use other fuels, as they can cause serious damage to the appliance.

The following fuels may not be used as they pollute the environment, and because they heavily pollute the appliance and flue, which may lead to a chimney fire:
▶ Treated wood, such as scrap wood, painted wood, impregnated wood, preserved wood, plywood and chipboard.
Plastics, scrap paper and domestic waste.
Wood
Hardwood, such as oak, beech, birch and fruit tree wood is the ideal fuel for your stove. This type of wood burns slowly with calm flames. Softwood contains more resins, burns faster and sparks more.
▶ Use seasoned wood that contains no more than 4. Close the appliance door and completely open the 20% moisture. The wood should have been air slider in the door.
- Allow the fire develop into a good blaze until there is glowing bed of charcoal. You can then add fuel and adjust the appliance, see the chapter "Stoking with wood".
Do not use damp wood. Damp logs do not produce heat as all the energy is used in the evaporation of moisture. This will result in a lot of smoke and soot deposits on the appliance door and in the flue. The water vapour will condense in the appliance and can leak away through chinks in the stove, causing black stains on the floor. It may also condense in the chimney and form creosote. Creosote is a highly flammable compound and may cause a chimney fire.
Lighting
You can check whether the flue has sufficient draught by lighting a ball of paper above the baffle plate. A cold flue often has insufficient draught and consequently, some smoke may escape into the room instead of up the chimney. You can avoid this problem by lighting the fire as described below.
-
Stack two layers of medium sized logs crosswise
-
Stack two layers of kindling crosswise on top of the logs.
-
Place a firelighter cube in the lower layer of kindling and light the cube according to the instructions on the packaging.

natural_image
Illustration of layered geological strata with a central pebble formation (no text or symbols)
natural_image
Technical line drawing of a mechanical device with fan and belt components (no text or symbols)09-20001-036

Burning wood
After you have followed the instructions for lighting:
- Slowly open the door of the appliance.
- Spread the charcoal evenly across the bottom of the stove base.
- Stack a few logs on the charcoal.
Open stacking

natural_image
Illustration of a mechanical component with layered surfaces and grid patterns (no text or symbols)If the logs are stacked openly, the wood will burn quickly as the oxygen can reach each log easily. If you want to use the stove for a short while, make an open stack.
Compact stacking

natural_image
Illustration of fragmented, irregularly shaped objects with wavy internal patterns (no text or symbols)If the logs are stacked tightly, the wood will burn more slowly as the oxygen can only reach some logs easily. If you want to burn wood for a longer period, make a compact stack.
- Close the door of the appliance.
- Control the fire with the air slider in the door.

Fill the appliance half-way at most.
Advice

Never burn wood with an open door.

Stoke the appliance regularly and thoroughly.
If you frequently burn at a low setting, tar and creosote may be deposited in the flue. Tar and creosote are highly combustible substances.
Thicker layers of these substances may catch fire if the temperature in the flue increases suddenly. By burning the fire at a high intensity on a regular basis, any layers of tar and creosote will disappear.
Burning at a low intensity can also cause tar to be deposited on the appliance window and door.
When the outside temperature is mild, it is better to burn wood intensely for a few hours instead of having a low intensity fire for a long period of time.
▶ Control the air supply using the air vent in the door.

The air supply via the air slider not only supplies air to the fire but to the glass as well, so that it does not get dirty so quickly.
▶ Always open the door carefully.
▶ Close the door immediately after adding fuel.
▶ Topping up with a few logs regularly is better than adding many logs in one go.
Extinguishing the fire
Do not add fuel and just let the fire go out. If a fire is damped down by reducing the air supply, harmful substances will be released. For this reason, the fire should be allowed to go out naturally. Keep an eye on the fire until it has gone out. All air inlets can be closed once the fire has died completely.

Removing ash
After wood has been burnt, a relatively small amount of ash is left over. This ash bed is a good insulating layer for the stove base plate and improves combustion. It is a good idea to leave a thin layer of as the stove base plate.
The flow of air through the fire plate must not be obstructed, however, and no ash may be allowed accumulate behind a cast-iron inner plate. Remove the excess ash regularly.
You can remove the excess ash with the aid of a small shovel.
Fog and mist
Fog and mist hinder the flow of flue gases through the baffle plate at the top of the appliance and clean flue. Smoke can blow back and cause a stench. If it is not strictly necessary, it is better not to use the stove in foggy and misty weather. Inspecting cast-iron inner plates
Resolving problems
Refer to the appendix "Diagnostic diagram" to resolve any problems in using the appliance.
Maintenance
Follow the maintenance instructions in this chapter to keep the appliance in good condition.
Flue
In many countries, you are required by law to have your chimney checked and maintained.
At the start of the heating season: have the chimney swept by a recognised chimney sweep.
During the heating season and after the chimney has not been used for a long time: have the child dirt clings less easily to well-cleaned glass. Proceed money checked for soot. as follows:
At the end of the heating season: close off the chimney. Remove dust and loose soot with a dry cloth.
iDirt clings less easily to well-cleaned glass. Proceed as follows:
chim. Remove dust and loose soot with a dry cloth.
Cleaning and other regularly maintenance
ng! Do not clean the stove when it is still warm.
ash on Clean the exterior of the stove with a dry lint-free cloth.
to You can clean the stove interior thoroughly at the end of the heating season:
If necessary, first remove the cast-iron inner plates. See the chapter "Installation" for instructions on removing and installing the inner plates.
If necessary, clean the air supply ducts.
If the stove has a detachable baffle plate, remove
the baffle plate at the top of the appliance and clean
it its
ove
Inspecting cast-iron inner plates
The cast-iron inner plates are consumables and subject to wear-and-tear. Check the fire-resistant inner plates frequently and replace them when necessary.
▶ See the chapter "Installation" for instructions on removing and installing the inner plates.

Cast-iron inner plates last a long time if you remove frequently the ash that can accumulate behind them. If accumulated ash behind the cast-iron plate is not removed, the plate will no longer be able to dissipate the heat to the surroundings and this may cause the plate to warp or crack.

Never use the appliance without the cast-iron inner plates.
Cleaning the glass
- Clean the glass with stove glass cleaner:
a. Apply stove glass cleaner to a kitchen sponge, rub down the entire glass surface and give the cleaning agent time to react.

b. Remove the dirt with a moist cloth or kitchen 10 seconds from a distance of 1 metre.
tissue.
-
Clean the glass again with a normal glass clean product.
-
Rub the glass clean with a dry cloth or kitchen sue.
Do not use abrasive or aggressive products to clean the glass.
▶ Wear household gloves to protect your hands.

If the glass in the appliance is broken or cracked, it must be replaced before you can use appliance again.

Ensure that no stove glass cleaner runs between the glass and the cast-iron door.
Enamelled stove maintenance
Never clean the appliance while it is still hot. The most effective way to clean the enamelled surface of the stove is with a mild green soap and lukewarm water. Use as little water as possible, rub the surface dry and prevent the formation of rust. Wire wool or other abrasives should never be used. Never place kettle directly onto an enamelled stove; use a stand prevent damage.
Lubrication
Although cast-iron is slightly self-lubricating, you will still need to lubricate moving parts frequently.
Lubricate the moving parts (such as guide systems, hinge pins, latches and air slides) with heat resistant grease that is available in the specialist trade.
Touching up damaged paint
Small areas of damaged paint finish can be touched-up with a spray can of special heat-resistant paint, available from your supplier.
Touching up the enamelled surface
Enamelling is a process carried out by traditional methods, meaning that it is possible that small colour differences and damage may occur. The appliances undergo a visual inspection in the factory, that is to say, the inspector looks at the surface for a period of
Any damage that does not stand out is regarded as OK. A special heat-resistant paint is supplied with the appliance to touch up any minor damage caused during transport.
Apply the heat-resistant paint in thin layers and leave to dry well before using the appliance.
Some enamel colours are temperature-sensitive. It can happen that the colour changes during use. The original colour will return after the appliance has cooled down.
If enamelled surfaces become very hot, hairline cracks can occur. This is a normal phenomenon and has no impact on the functioning of the stove.

Ensure that the stove is not overburdened. If it does become overburdened then the surface gets very hot possibly resulting in lasting damage to the enamel.
Checking the seal
Check whether the door sealing rope is still in good condition and works well. The sealing rope is subject to wear and will need to be replaced over time.
Check the appliance for air leaks. Close any chinks with stove sealant.

Allow the sealant to harden fully before lighting the appliance, as any moisture in the sealant will form bubbles, resulting in a new air leak.
Appendix 1: Technical data
| Model 40CBS | |
| Nominal output 6 kW | |
| Flue connection (diameter) 125 mm | |
| Flue connection (diameter)(only for Germany) | 130 mm |
| Weight +/- 85 kg | |
| Recommended fuel Wood | |
| Fuel property, max. length 40 cm | |
| Mass flow of flue gasses 6.4 g/s | |
| Temperature increase measured in the measuring section | 241 K |
| Temperature measured at appliance exit 384 °C | |
| Minimum draught 11 Pa | |
| CO emission (13% _2 O 0.12% | |
| NOx emission (13% _2 O) | 87 mg/Nm ^3 |
| CnHm emission (13% _2 O) | 174 mg/Nm ^3 |
| Particulate emission | 16 mg/Nm ^3 |
| Particulate emission in accordance with NS3058-NS3059 | 6.27 g/kg |
| Efficiency | 82.4% |
Appendix 2: Dimensions
40CBS

text_image
2 2 5 Ø1 2 5 7 1 5 6 1 0 3 5 0 5 3 0 2 1 0 6 0 0 09-20001-037
text_image
3 2 0 2 3 0 3 5 0
text_image
4 0 0 2 3 0 1 0 3 5 - 1 1 0 5 2 2 0 - 3 0 0 5 3 0 6 0 0
text_image
Ø1 2 5 2 1009-20001-038
Appendix 3: Distance from combustible material
40CB - Minimum distances in millimetres

09.20017.034
| * Protective (insulated) connection pipe | |
| Combustible material | |
| Incombustible material, thickness 100 mm | |

40CB - Dimensions of fireproof floor plate

text_image
B B A 09-20002-004Minimum dimensions of fireproof floor plate
| A (mm) | B (mm) | |
| Din 18891 500 300 | ||
| Germany 500 300 | ||
| Finland 400 100 | ||
| Norway 300 100 |
Appendix 4: Diagnosis diagram
| Problem | ||||||
| ● | Wood will not stay lit | |||||
| ● | Gives off insufficient heat | |||||
| ● | Smoke emissions into the room when adding wood | |||||
| ● | Fire in appliance is too intense, is hard to adjust | |||||
| ● | Deposit on the glass | |||||
| Possible cause Possible | solution | |||||
| ● | ● | ● | ● | Insufficient draught | A cold flue usually failsto create sufficient draught. Follow the instructions for starting a fire in the 'Use' section; open a window. | |
| ● | ● | ● | ● | Wood too damp Use wood with no more than 20% moisture. | ||
| ● | ● | ● | ● | Logs too large | Use small pieces of kindling. Use split logs no larger than 30 cm in circumference. | |
| ● | ● | ● | ● | ● | Wood stacked incorrectly | Stack the logs in a way that allows adequate air flow between the logs (open stacking, see "Burning wood") |
| ● | ● | ● | ● | Flue does not work properly | Check whether the chimney meets the requirements: at least 4 metres high, correct diameter, well-insulated, smooth inside, not too many bends, no obstructions in chimney (bird'snest, too much soot deposit), hermetically tight (no chinks). | |
| ● | ● | ● | ● | Chimney stack incorrect Sufficiently high above the roof, no obstacles in the vicinity | ||
| ● | ● | ● | ● | ● | Air inlets set incorrectly Open the air | inlets completely. |
| ● | ● | ● | ● | Appliance connected to the flue incorrectly | Connection should be hermetically tight. | |
| ● | ● | ● | ● | Vacuum in area in which the appliance is installed | Switch off extraction systems. | |
| ● | ● | ● | ● | Insufficient supply of fresh air | Provide an adequate air supply; if necessary use outside air connection. | |
| ● | ● | ● | ● | Bad weather? Inversion (reversed air flow in chimney because of a high out side temperature), extreme wind speeds | We recommend you don't use the appliance in the case of inversion. If required, installan extra hood on the flue to increase the draught. | |
| ● | Draught in the living room | Avoid draught in the living room, do not place the appliance near a door or heating air ducts. | ||||
| ● | Flames touch the glass | Make sure the wood is not positioned too close to the glass. Slide the primary air inlet cover closer to the "Closed" position. | ||||
| ● | Appliance is leaking air Check the door seals and appliance joints. | |||||
Index
A
Adding wood smoking appliance.21....
Adverse weather conditions, do not burn wood 14
Aerating the fire.13....
Air leak 15
ash 14....
Ashes remove .14....
Attachment heat exchanger.8....
Attachment 5T.11
B
Bearing capacity of floor 8
Burning .... 13 adding fuel.... 13 appliance is hard to adjust.... 21 fire is too intense.... 21 insufficient heat.... 21 topping up fuel.... 13
Burning wood insufficient heat 14
C
Cap on the flue....7
Carpet 8
Cast-iron inner plates maintenance....14 warning....11
Chimney fire prevention.... 13
Chinks in appliance 15
Cleaning appliance .... 14 glass .... 14
Cold hand fitting 9
Combustible material distance from..19....
Connecting dimensions....17 rear....10 side....10
Connecting to the flue top 11
Connection cover removing 10
Controlling air supply.... 13
Creosote 13
D
Damp wood 12
Dimensions 17
Door sealing rope.... 15
Draught 16
Drying wood.... 12
E
Efficiency 5, 16
Enamel maintenance 15
External air supply connecting to.... 11
Extinguishing the fire 13
F
Filling level of the appliance.... 13
Finishing coat, maintenance.... 15
Fire extinguishing .... 13 kindle
Lighting 12
Fire safety distance from combustible material.... 19 floor .... 8 furniture .... 8 walls .... 8
Floors bearing capacity....8 fire safety....8
Flue connecting to.... 11 connection diameter.... 16 connection diameter Germany.... 1 height.... 7 maintenance.... 14 requirements.... 7
Flue cap.7....

Flue gas
temperature 5
Flue gas opening
closing 10
Flue gasses
mass flow 16
Fog, do not burn wood.14....
Fuel
adding .13....
necessary amount 14
suitable .11....
topping up 13
unsuitable .12....
wood 12
G
Germany
connection diameter 16....
Glass
cleaning .14....
deposit 21
H
Handle holder
fitting 9
Heat exchanger.... 11
attachment 8
Heat, insufficient 14, 21
|
Installing
dimensions 17
K
Kindling 21
L
Latch button
fitting 9
Legs
mounting 9
Lighting fire.... 12
Lubricant 15
Lubricate 15
M
Maintenance
cast-iron inner plates 14
Clean appliance.... 14
cleaning the glass.... 14
enamel 15
flue 14
lubrication 15....
sealing 15
measuring section.... 16
Mist, do not burn wood 14.
N
Nominal output 14, 16
P
Paint
Smoke
during first use 11
Particulate emission.... 16
R
Removing ash.... 14
s
Screens
deposit 21
Sealing rope for door.... 15
Smoke emissions into the room 6
Smoking appliance.... 21
Softwood 12
Solving problems.... 14, 21
Stacking logs.... 13
Storing wood.... 12
Stove glass cleaner 14
Suitable fuel.... 11
Sweeping flue 14
T
Tar 13
Temperature.... 16
Temperature increase.... 16
Topping up with fuel.... 13
U
Unsuitable fuel.... 12
v
Ventilation 7.... rule of thumb.7....
Ventilation louvre.7....
W
Walls fire safety 8....
Warning cast-iron inner plates 11....
chimney fire.12-13....
chimney fires.6....
flammable materials.6....
glass broken or cracked.... 15
glass is broken or cracked.... 6
hot surface.... 6
requirements.6....
stove glass cleaner.... 15
terms and conditions for insurance.... 6
ventilation.... 6-7
Weight ....16 Wood ....12 damp ....12 drying ....12 right sort .12 storing ....12 will not stay lit....2
Table des matières
Introduction 3
For connection measurements: see "Technical data" appendix.
natural_image
Line drawing of a mechanical device with a handle and bulb, no text or symbols present
natural_image
Technical line drawing of a mechanical assembly with labeled components (no text or symbols)
text_image
A B C D 09.20015.082natural_image
Illustration of layered geological strata with no visible text or symbolsnatural_image
Technical line drawing of a mechanical device with fan and wheels, no text or symbols presentnatural_image
Illustration of a textured, folded object with layered surfaces (no text or symbols)natural_image
Illustration of fragmented, irregularly shaped objects with internal patterns, no text or symbols presentnatural_image
Line drawing of a mechanical lever with a handle and base, no text or symbols present
natural_image
Technical line drawing of a mechanical assembly with labeled components (no text or symbols present)natural_image
Illustration of layered geological strata with no visible text or symbolsnatural_image
Technical line drawing of a portable industrial machine with fan and wheels (no text or symbols)Heizen mit Holz
natural_image
Illustration of a textured, folded object with no visible text or symbolsnatural_image
Illustration of fragmented, irregularly shaped objects with grid patterns, no text or symbols presentnatural_image
Technical line drawing of a mechanical assembly with labeled components (no text or symbols)natural_image
Illustration of layered geological strata with no visible text or symbolsnatural_image
Technical line drawing of a mechanical device with fan and wheels, no text or symbols presentAlimentar con leña
natural_image
Illustration of a textured, folded object with layered surfaces (no text or symbols)natural_image
Illustration of fragmented, irregularly shaped objects with wavy patterns, no text or symbols presentnatural_image
Line drawing of a mechanical lever with a handle and shaft, no text or symbols present
natural_image
Technical line drawing of a mechanical assembly with mounting bracket, screw, and circular component (no text or symbols)natural_image
Illustration of layered geological strata with no visible text or symbolsnatural_image
Technical line drawing of a mechanical device with fan and rotating components (no text or symbols)natural_image
Illustration of a textured, folded object with grid patterns (no text or symbols)natural_image
Illustration of fragmented, irregularly shaped objects with internal patterns, no text or symbols presentCalore, insufficiente 15, 23
natural_image
Line drawing of a mechanical lever with handle and base (no text or symbols)natural_image
Technical line drawing of a mechanical assembly with labeled components (no text or symbols present)- Bor et hull med en diameter på 10 mm midt i tilkoblingslokket.
- Sett trekkdelen med bolten på innsiden av tilkoblingslokket.
- Sett skiven på bolten og skru mutteren på bolten.

natural_image
3D diagram of layered geological or material structure with no visible text or symbolsnatural_image
Technical line drawing of a portable industrial machine with fan and control panel (no text or symbols)Åpen Lukket
Fyring med ved
natural_image
Illustration of a textured, folded object with layered surfaces (no text or symbols)Ved løst ilegg forbrenner veden raskt fordi det lettere kommer oksygen til hver treski. Bruk løst ilegg hvis du skal fyre en kort stund.
Kompakt ilegg

EasyManual