KA 1803 - Other kitchen appliances ADE - Free user manual and instructions
Find the device manual for free KA 1803 ADE in PDF.
Download the instructions for your Other kitchen appliances in PDF format for free! Find your manual KA 1803 - ADE and take your electronic device back in hand. On this page are published all the documents necessary for the use of your device. KA 1803 by ADE.
USER MANUAL KA 1803 ADE
22089 Hamburg, Germany
You have chosen to purchase a high-quality ADE brand product, which combines intelligent functions with an exceptional design.
The wealth of experience of the ADE brand ensures a high technical standard and proven quality for more freshness in your kitchen.
We wish you much pleasure and enjoyment!
Your ADE Team
General information
About this operating manual

This operating manual describes how to operate and maintain your product safely. Keep this operating manual in a safe place for future reference. If you pass this product on to someone else, pass on this operating manual as well.
Failure to observe this operating manual may result in injuries or damage to your product.
Explanation of symbols

This symbol combined with the word DANGER warns of serious injuries.

This symbol combined with the word WARNING warns of moderate and mild injuries.

This symbol combined with the word NOTE warns of material damage.

This symbol indicates additional information and general notes.
Table of Contents
General information 14
Scope of delivery 15
Intended use 16
Safety 16
Overview 19
Before first use. 20
Checking the citrus juicer and scope of delivery. 20
Assembling the citrus juicer. 20
Note about the juicing cones 21
Use 21
Juicing 21
After juicing 22
Cleaning. 22
Storage 23
Fault/Remedy. 23
Technical data. 23
Warranty 24
Declaration of Conformity 24
Disposal 24
Scope of delivery
Electric citrus juicer with accessories
Glass carafe
- Operating Manual
Intended use
This citrus juicer is intended exclusively to squeeze out halved citrus fruits such as oranges, limes and grapefruits.
The device is designed exclusively for household use. The device is not suitable for commercial or household like use in professional kitchens, by employees in shops, offices and other commercial premises, in agricultural facilities, by customers in hotels, motels or other residential facilities, or in bed and breakfasts.
Use the device only as described in this operating manual. Any other use is considered improper and may result in damage to property or even personal injury.
The manufacturer or dealer assumes no liability for damage caused by improper or incorrect use.
Safety
- This product may be used by children aged 8 and above, as well as by persons with reduced physical, sensory, or mental capacities or lacking experience and knowledge if they are supervised or have been instructed in the safe use of the product and understand the risks that may arise.
- Keep the device, power cord, and accessories away from children under 8 years of age.
- Cleaning and user maintenance must not be carried out by children, unless they are 8 years of age or older and are being supervised.
Children must not play with the device. - Keep wrapping and packaging material away from children. There is a choking hazard. Also pay attention that children do not pull the packaging material over their heads.
- If the power cord of this device is damaged, it must be replaced by the manufacturer or its after-sales or customer service to avoid hazards.
Danger from electricity
-
Do not immerse the citrus juicer, power cord or power plug in water or other liquids.
-
Do not operate the device with wet hands.
-
Do not operate the device outdoors.
-
Connect the device to a correctly installed socket that has a voltage corresponding to that described under "Technical Data".
-
Make sure that the mains outlet is readily accessible so that you can quickly unplug the power cord, if necessary.
-
Do not use the device:
-if the device itself or its parts are damaged,
-if the power cord or plug is damaged,
-if the device has fallen down.
-
Unwind the power cord completely before each use. Make sure that the power cord is not damaged by sharp edges or hot objects.
-
Unplug the power cord from the mains outlet:
-if you do not use the citrus juicer,
-after each use,
-before cleaning or putting away the device,
-if, during operation, there appears to be interference,
-during a storm.
-To unplug, always grasp the power plug; do not pull on the cable.
- Do not modify the device or power cord. Have repairs carried out only by a specialist workshop as improperly repaired devices endanger the user.
BEWARE of material damage
- Do not operate the citrus juicer continuously for more than 3 minutes. Allow the device to cool down for at least 5 minutes after 10 juicing operations.
-
Never place the citrus juicer on or near hot surfaces (for example, hot plates, etc.).
-
Avoid contact of the power cord with hot parts.
-
Never expose the citrus juicer to a high temperature (heating, etc.) or adverse weather conditions (rain, etc.).
- Place the citrus juicer on a robust, smooth, and easy-to-clean worktop. When processing foods, occasional splashes are unavoidable.
- The citrus juicer has feet on the underside. Since surfaces are made from various materials and are treated with diverse care products, it cannot be completely excluded that some of these substances contain ingredients that attack and soften the feet of the device. If necessary, place a non-slip pad underneath the device.
Use only original accessories.
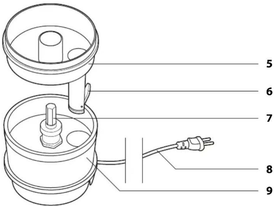
Overview of parts (right-hand side)
1 Lid
2 Small juicing cone
3 Big juicing cone
4 Pulp strainer
5 Juice collector
6 Drip-stop
7 Axle (removable)
8 Power cord with power plug
9 Motor block with housing for the juice collector
10 Glass carafe with measuring scale (max. 750 ml)
11 Glass carafe lid




Checking the citrus juicer and scope of delivery
- Carefully unpack the citrus juicer and remove all packaging material.
- Check that the delivery is complete (see chapter "At a glance").
- Check whether the citrus juicer or its individual parts have any damage. If this is the case, do not use the citrus juicer. In this case, contact the dealer where you bought the device.
- Before first use, clean all parts of the citrus juicer as described in the chapter "Cleaning".
Assembling the citrus juicer

- Place the motor block on the glass carafe.
- Insert the juice collector into the motor block housing.
- Place the pulp strainer on the juice collector.
- Put the small juicing cone on the axle.
- If necessary, place the big juicing cone onto the small juicing cone (see following section).
- Plug the power cord into the mains outlet.
The citrus juicer is ready for use.
All parts must be completely and correctly inserted or fit onto one another. Otherwise, the device can not work.
Note about the juicing cones

When attaching the two cones, make sure that the big juicing cone fits positively onto the small juicing cone.

Big juicing cone:
When juicing large citrus fruits such as oranges and grapefruits, place the big juicing cone onto the small juicing cone.
Small juicing cone:
The small juicing cone is suitable for juicing small citrus fruits such as small lemons, limes, etc.
Use
Juicing

NOTE on material damage
- Never use the device without the juice collector, as this could cause juice to enter the motor.
- Do not operate the citrus juicer continuously for more than 3 minutes. Allow the device to cool down for at least 5 minutes after 10 juicing operations.
-Avoid excessive pressure on the juicing cone. Do not push so hard that the rotating juicing cone stops. This could cause damage to the motor.

When juicing, it can always come to splashing. Make sure that the surface is easy to clean. Keep clear of sensitive or difficult-to-clean objects or surfaces.
- Prepare the citrus fruits by halving them and placing them close at hand near the citrus juicer.
- Hold the glass carafe by the handle with one hand.
- Use the other hand to press the cut surface of the halved citrus fruit with a little force against the small or big juicing cone.
As soon as you apply pressure to the juicing cone, it starts to rotate. The juicing cone rotates into the pulp and the squeezed juice flows through the pulp strainer into the glass carafe.
Pay attention to the following:
- To change the direction of rotation of the juicing cone, do not apply any pressure on it for a moment. If you then press the fruit with a little force against the juicing cone, the juicing cone will rotate in the opposite direction. This increases the juice yield.
- The measuring scale shows the amount of juice. The maximum capacity is 750ml .
- If the juice hardly flows off or does not flow off at all, the pulp strainer is clogged. Stop juicing and remove the pulp using a teaspoon.
After juicing
- Unplug the power cord from the mains outlet.
- Pull off the juicing cone(s).
- Remove the pulp strainer.
- Pull out the juice collector.
- Hold the glass carafe by the handle with one hand. Use the other hand to pull out the motor block.
- Pour the juice into a glass.

Clean the citrus juicer directly after juicing when possible. Later cleaning is more laborious due to fructose.
Cleaning

Electrical shock HAZARD
-
Do not immerse the citrus juicer and the power cord with power plug in water or other liquids.
-
Unplug the power cord from the mains outlet before cleaning the device.

NOTE on material damage
-
Do not clean the citrus juicer with hard, scratchy or abrasive cleaners, steel wool or the like. They could scratch the surface.
-
Disassemble the citrus juicer so that all individual parts are in front of you (see also "After juicing"). In addition, pull off the axle.
- Clean all parts (EXCEPT the motor block!) in hot washing-up liquid or in the dishwasher.
- Wipe clean the motor block with housing for the juice collector with a soft, damp cloth and some dishwashing detergent.
- Wipe all parts dry thoroughly with a cloth.
Storage
- Clean the device and accessories; see previous chapter.
- Keep the device out of reach of children in a dry, frost-free place.
- If possible, use the original packaging to store the device.
Fault/Remedy
| Fault Possible cause | |
| No function | ·Check whether the power cord is plugged. ·Check whether the pulp strainer and the juicing cones are correctly fit or inserted. All parts must be correctly fit onto one another or inserted. |
Technical data
Model: KA 1803 electric citrus juicer
Power supply: 220 - 240V 50 / 60Hz
Power: 60 W
Protection class:

Short-time operation: max. 3 minutes, then allow to cool down for approx.
5 minutes after 10 juicing operations
Dimensions: Glass carafe: 205 × 150 × 120 ~mm
Citrus juicer with accessories: 0140× 152mm
Weight: Glass carafe: approx. 1.2kg
Citrus juicer with accessories: approx. 1 kg
Distributor (no service address): Waagen-Schmitt GmbH
Hammer Steindamm 27-29
22089 Hamburg, Germany
Our products are constantly being developed and improved.
For this reason, design and technical modifications are possible at any time.
Warranty
Waagen-Schmitt GmbH warrants for 2 years from the purchase date the cost-free rectification of defects in material and workmanship through repair or exchange. In the event of a warranty claim, please return the product with the proof of purchase (specifying the reason for claim) to your dealer.
Declaration of Conformity
Waagen-Schmitt GmbH hereby declares that the KA 1803 citrus juicer complies with EU directives 2014/30/EU, 2014/35/EU, and 2011/65/EU.
The declaration will lose its validity if any modification is made to the device without our consent.
Hamburg, March 2019
Waagen-Schmitt GmbH

Disposal
Disposing of the packaging

Dispose of the packaging with similar materials. Dispose of cardboard with waste paper and of films with recyclable materials.
Disposing of the product
Dispose of the product in accordance with the regulations that apply in your country.

Devices must not be disposed of in normal household waste
At the end of its life, the product must be disposed of in an appropriate way. In this way, valuable materials contained in the device will be recycled and the burden on the environment avoided. Bring the old device to a collection point for electronic waste or to a recycling depot.
For more information, contact your local waste disposal firm or your local administrative body.
ManualGo.com