FUMO50000 - Security alarm ABUS - Free user manual and instructions
Find the device manual for free FUMO50000 ABUS in PDF.
Frequently Asked Questions - FUMO50000 ABUS
User questions about FUMO50000 ABUS
0 question about this device. Answer the ones you know or ask your own.
Ask a new question about this device
Download the instructions for your Security alarm in PDF format for free! Find your manual FUMO50000 - ABUS and take your electronic device back in hand. On this page are published all the documents necessary for the use of your device. FUMO50000 by ABUS.
USER MANUAL FUMO50000 ABUS
Security Tech Germany

natural_image
Isometric line drawing of a microcontroller or electronic module with multiple pins and mounting feet (no text or symbols)text_image
① ② CE A BUS ③ ③Vorderseite

natural_image
Pure technical diagram of a mechanical part with no text, numbers, or symbolsMontage
natural_image
Line drawing of a rectangular electronic device with a digital display and control panel (no text or symbols)Abb. 01

text_image
Technical diagram of an electronic device with labeled components and parts, including battery and circuit board layoutAbb. 02

natural_image
Isometric technical diagram of an electronic circuit board with two labeled components (no text or symbols on the board itself)
natural_image
Isometric line drawing of a Raspberry Pi with labeled components (no text or symbols beyond label)text_image
Technical diagram of an electronic circuit board layout with labeled components and connectionsAbb. 05

natural_image
Line drawing of a mobile phone with keypad and front panel (no text or symbols)Abb. 06
Security Tech Germany

natural_image
Isometric line drawing of a microcontroller or electronic module with multiple pins and mounting feet (no text or symbols)EN Installation instructions and user guide
CE _14
Version 1.0
BOM 12501665
Contents
Introduction 19
Safety information 20
Scope of delivery 21
Technical data 21
Functional principle and features 21
Installation 24
Displays and functions.... 29
Warranty.... 31
Disposal 32
Declaration of conformity 32
Introduction
Introduction
Information on User Guide
Dear customer,
Thank you for purchasing this product. This device is built with state-of-the-art technology.
These instructions contain important installation and operation information. Follow the directions and instructions in this user guide to ensure safe operation. Store this guide in a safe place for future reference. This guide constitutes part of the device. If you pass the device on to third parties, please remember to include this guide with the device.
Intended use
Only use the device for the purpose for which it was built and designed. Any other use is not considered to be the intended use.
Limitation of liability
Everything possible has been done to ensure that the content of these instructions is correct. However, neither the author nor ABUS Security-Center GmbH & Co. KG can be held liable for loss or damage caused by incorrect or improper installation and operation or failure to observe the safety instructions and warnings. No liability can be accepted for resulting damage. No part of the product may be changed or modified in any way. If you do not follow these instructions, your guarantee claim becomes invalid.
Subject to technical modifications.
© ABUS Security-Center GmbH & Co. KG, 09 / 2014
Safety information
Explanation of symbols
The following symbols are used in this manual and on the device:
| Symbol | Signal word | Meaning |
![]() | Caution | Indicates a risk of injury or health hazards. |
![]() | Caution | Indicates a risk of injury or health hazards caused by electrical voltage. |
![]() | Important | Indicates possible damage to the device/accessories. |
![]() | Note | Indicates important information. |
Packaging

Caution
- Keep packaging material and small parts away from children - danger of suffocation!
- Remove all packaging material before using the device.
Scope of delivery | Technical data
Scope of delivery
- Secvest GSM module
- GSM antenna
• Installation instructions and user guide
- Mounting material
Technical data
- Dimensions (L x W x H)
63 x 40 x 14 mm
- Frequency range
850/900/1800/1900 MHz
• Maximum output power
EGSM 850 Class4/2 W, EGSM 900 Class4/2 W
EGSM 1800 Class1/1 W, EGSM 1900 Class1/1 W
- Operating temperature
-10°C to 40°C
- Humidity
Max. 75% (non-condensing)
- SIM card type
Standard SIM 1.8 V/3.0 V
- Antenna cable length
Approx. 300 cm
- Antenna connector
MMCX (on the cable) 50 Ohm
- Antenna socket
MMCX (on the module) 50 Ohm
Functional principle and features
General
The Secvest GSM module (FUMO50000) is an optional accessory module for the Secvest wireless alarm system (FUAA50XXX). It enables communication via the GSM mobile phone network with stationary and mobile telephone connections. Additionally, it allows for the sending of text messages (SMS message) and the transmission of
analogue control centre protocols.
The module is installed on the inside of the alarm panel. The motherboard includes a plug connector designed for this purpose. The external antenna cable is connected directly to the module. The module can be operated using its built in internal PCB mounted antenna or external antenna. The switching is carried out in the 'Installation menu' → 'System' → 'Hardware' → 'GSM antenna' (internal/external)

Note
- Before you begin the installation, please check whether the selected service provider and installation location of the Secvest wireless alarm system, as well as the potential position of the antenna, are suitable for GSM transmission.
- In principle we recommend the use of contract cards in order to ensure a secure transmission. Prepaid cards will not work without sufficient credit.
- The external antenna – which is used to improve poor GSM levels – may only be installed outside of the alarm panel. As the module already has an internal antenna, this is optional but its use is recommended.
- Incorrect or unclean installation work may lead to erroneous interpretation of signals. The consequences of which may include false alarms. The costs incurred by potential dispatches of rescue services, such as the fire service or police, must be borne by the operator of the system.

Caution
- The alarm panel must be powered off to install the module, and in order to do this the backup battery must be unplugged. No liability is accepted for any damage caused in the event of non-observance. Any guarantee claims will also be invalidated in the event of non-observance.
Functional principle and features
Device description
| 1 | Connection strip |
| 2 | Connection socket for the external GSM antenna |
| 3 | Holes for plastic support pillars |
| 4 | SIM card holder |
Rear

text_image
① ② CE A BUS ③ ③Front

natural_image
Pure technical diagram of a mechanical component with no text or symbolsInstallation
Positioning of the antenna
Before you begin installing the GSM module, please decide on a suitable position for the antenna. When doing so, pay attention to the antenna's cable length.
The following points will enhance signal strength and must be considered:

Note
• Install the antenna so it is as high as possible.
• Install the antenna so it is as far as possible from the alarm system.
- Maintain a distance of at least one metre from metallic objects (steel beams in the wall, lines, pipes, metal cabinets etc.).
- Make sure that at least 25 cm of the cable leads horizontally from the antenna. (See figure)

text_image
25cmSignal strength pre-test
Installation
There are two ways to test the signal strength in advance:
1. Via temporary installation of the GSM module in the alarm system
For this method, please observe the steps described for the use of the module in this user guide. Before doing this, ensure that the SIM card that is used has been registered. Make sure that the SIM card is not blocked with a PIN.
2. By using a mobile phone
For this method, ensure that the SIM used for the test is from the same provider, or temporarily use the SIM card that will ultimately be used in the GSM module in the mobile phone. Hold the phone in the exact place in which you want to install the GSM antenna and check the signal strength.

Note
If you have found a position with good signal strength (at least 2 bars on the phone), ensure that the centre of the antenna is located within 2 cm of this point, because the GSM wavelength is very short and even small discrepancies may lead to a significant deterioration of the signal. This could significantly effect operation, in particular when the level is generally poor, and may prevent the registration of the module in the GSM network.
Use of the GSM module

Note
If the alarm panel is already in operation, put the panel into installation mode. This ensures that opening the housing will now not trigger a sabotage alarm.
| 1. | Open the housing of the Secvest wireless alarm system. |
| 2 | Carefully lift the cover of the Secvest wireless alarm system away from the base of the housing. (Fig. 01) |
| 3 | Power off the panel and carefully remove the ribbon cable which connects the cover and the motherboard. (steps 1-3 in Fig. 02) |
| 4 | Lead the antenna cable from the outside through the cable openings into the inside of the housing. Secure the antenna outside the housing. |
| 5 | Connect the GSM antenna onto the GSM module. |
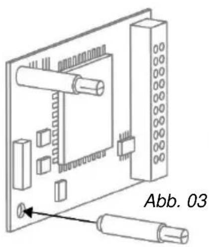
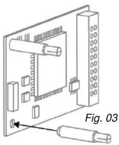
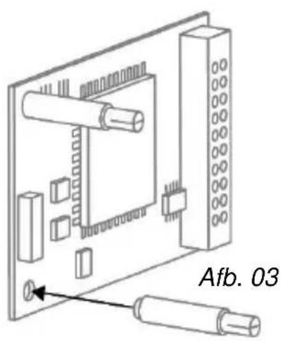
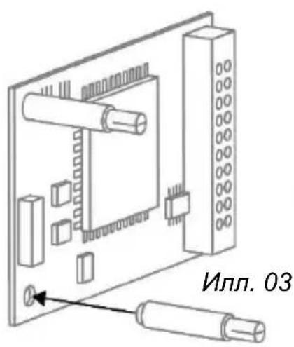
| 6 | Insert the SIM card into the card holder of the GSM module. The code of the SIM card must be switched off or set to "0000". (Fig. 03) |
| 7 | Equip the GSM module with the supplied plastic holders.Now carefully place the GSM module on the plug connectors of the motherboard and press down firmly. Ensure that the pins do not get bent.(Fig. 04) |
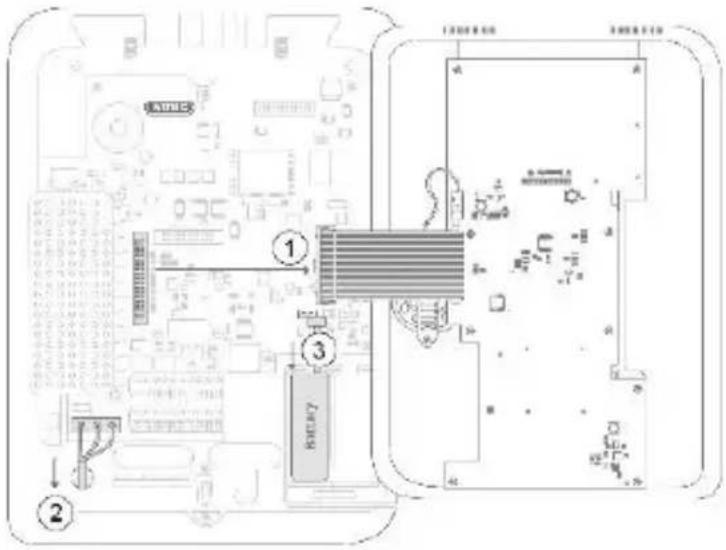
| 8 | Now connect the cover to the motherboard. Connect the power to the Secvest again and reattach the backup battery (steps 1-3 in Fig. 05) |
| 9 | Place the cover on the base of the housing and tighten the locking screw.(Fig. 06) |
| 10 | Select the required settings on the wireless alarm system in the installation menu. Check that the GSM module is functioning correctly in the test menu of the alarm system. |
Installation

natural_image
Line drawing of a rectangular electronic device with a digital display and control panel (no text or symbols)Fig. 01

text_image
Technical diagram of an electronic device with labeled components and parts, including battery and circuit board layoutFig. 02

natural_image
Diagram of an electronic circuit board with two cylindrical components connected to a terminal block, labeled Fig. 03 (no text or symbols on the diagram itself)
natural_image
Isometric line drawing of a Raspberry Pi with labeled components (no text or symbols on the diagram itself)Disposal | Conformity

text_image
Technical diagram of an electronic circuit board layout with labeled components and connectionsFig. 05

natural_image
Line drawing of a portable electronic device with keypad and front panel (no text or symbols)Fig. 06
Displays and functions
Installation and programming
In order to complete programming on the alarm panel, please observe the installation and user guide for the alarm panel. The options for programming of communication for the alarm system can be found in the installation menu under 'Communication'. Ensure that the alarm panel does not display setting options for the GSM module if it is not inserted.
If the alarm panel recognises the GSM module, then 'GSM' is displayed in the installation menu of the Secvest under the item 'Info' → 'Communication'.
In addition to this, you will be shown the GSM network name with the current signal strength, the IMEI, the telephone number of the SIM card, the IMSI and the version number of the module.
The SIM card telephone number is only displayed if your service provider has saved the telephone number on the card.

Note
If the signal strength is too weak, then the alarm panel should be installed in a different location or the supplied antenna should be installed so that there is optimum signal strength. Please find out about your service provider's network coverage in advance, and change providers if necessary.
Testing for correct functioning using the alarm panel
Go to 'Test' in the installation menu in order to test the functionality of the GSM module. The programmed NSL telephone numbers will appear in the 'NSL Reporting' → 'GSM' menu item. These will need to have been programmed in advance. You can test the transmission of the selected control centre protocol here. Test that voice telephony is functioning correctly by entering a telephone number under 'Voice dialler' → 'GSM'. The
'SMS' menu item allows for the sending of a test SMS via the GSM network after entering a phone number.
You can carry out a standard test call in the user menu under 'Test'.
Subsequently, you can also top-up any prepaid card that may be used with credit at this point. The keys '*' and '#' are also available for the designation of functions during the top-up process.
Register SIM card
Choose the option 'Test' → 'Telephone call' in the user menu. Dial the telephone number specified by the provider and follow the service provider's instructions. Check that the GSM module cannot playback any incoming SMS from the provider. The keys '*' and '#' can also be designated for manual activation.
Note | The following error messages are shown on the display if problems occur during the registration of the SIM card: | |
| 'Not Reg.' | Not registered; the GSM module is not looking for a new service provider. | |
| 'Reg. Home' | Registered; home network ('Reg. Home' is replaced with the provider name as soon as this becomes available). | |
| 'Searching...' | Not registered; the GSM module is looking for a provider | |
| 'Reg. Denied' | Registration denied | |
| 'Reg. Unknown' | Unknown | |
| 'Reg. Roam' | Registered; roaming network ('Reg. Roam') is replaced with '*' roaming provider name as soon as this becomes available). | |
Warranty
Information on service providers
First and foremost, follow the information from the provider on the registration of the SIM card. We recommend that the card should be registered via a mobile phone before installation, because lots of providers use SMS responses during the registration process.

Use the following table in order to record the relevant data for your GSM module.
IMEI no:
Serial number of the SIM card:
GSM telephone number:
Warranty

Note
- ABUS products are designed and manufactured with the greatest care and tested according to the applicable regulations.
- The warranty only covers defects caused by material or manufacturing errors at the time of sale. If there are demonstrable material or manufacturing errors, the module will be repaired or replaced at the guarantor's discretion.
- In such cases, the warranty ends when the original warranty period of 2 years expires. All further claims are expressly rejected.
- ABUS will not be held liable for defects and damage caused by external influences (e.g. transport, use of force, operating errors), inappropriate use, normal wear and tear or failure to observe the instructions in this manual.
Disposal | Conformity
- In the event of a warranty claim, the original receipt with the date of purchase and a short written description of the problem must be supplied with the product.
- If you discover a defect on your GSM module which existed at the time of purchase, contact your dealer directly within the first two years following purchase.
Disposal

Dispose of the device in accordance with EU Directive 2002/96/EC – WEEE (Waste Electrical and Electronic Equipment). If you have any questions, please contact the municipal authority responsible for disposal. You can get information on collection points for waste equipment from your local community and city government, from local waste disposal companies or your dealer.
Declaration of conformity
ABUS Security-Center GmbH & Co. KG hereby declares that the device with item number FUMO50000 complies with the essential requirements and other relevant provisions of Directive 1999/5/EC. The declaration of conformity can be obtained from the following address:
Security Tech Germany

natural_image
Isometric line drawing of a microcontroller or electronic module with multiple pins and mounting feet (no text or symbols)text_image
① ② CE ABUS 39 ③ ③Face avant

natural_image
Pure technical diagram of a mechanical component with no text or symbolsMontage
natural_image
Line drawing of a rectangular electronic device with a digital display and control panel (no text or symbols)Fig. 01

text_image
Technical diagram of an electronic device with labeled components and parts, including battery and circuit board layoutFig. 02

natural_image
Diagram of an electronic circuit board with two cylindrical components connected to a terminal block, labeled Fig. 03 (no text or symbols on the diagram itself)
natural_image
Isometric line drawing of a Raspberry Pi with labeled components and a caption 'Fig. 04' (no technical text or symbols on the diagram itself)
text_image
Technical diagram of an electronic circuit board layout with labeled components and connectionsFig. 05

natural_image
Line drawing of a mobile phone with keypad and front panel (no text or symbols)Fig. 06
Security Tech Germany

natural_image
Isometric line drawing of a microcontroller or electronic module with multiple pins and mounting feet (no text or symbols)text_image
① ② CE ABUS ③ ③Voorzijde

natural_image
Pure technical diagram of a mechanical part with no text, numbers, or symbolsMontage
Antenne positioneren
natural_image
Line drawing of a rectangular electronic device with a digital display and control panel (no text or symbols)Afb. 01

text_image
Technical diagram of an electronic device with labeled components and parts, including battery and circuit board layoutAfb. 02

natural_image
Isometric technical diagram of an electronic circuit board with two cylindrical components and a labeled section (Afb. 03), no readable text or symbols beyond the label.
natural_image
Isometric line drawing of a Raspberry Pi with labeled components (no text or symbols beyond label)
text_image
Technical diagram of an electronic circuit board layout with labeled components and connectionsAfb. 05

natural_image
Line drawing of a mobile phone with keypad and front panel (no text or symbols)Afb. 06
Security Tech Germany

natural_image
Isometric line drawing of a microcontroller or electronic module with multiple pins and mounting feet (no text or symbols)text_image
① ② CE A BUS ③ ③Forside

natural_image
Pure technical diagram of a mechanical part with no text or symbolsMontering
natural_image
Line drawing of a rectangular electronic device with a digital display and control panel (no text or symbols)Fig. 01

text_image
Technical diagram of an electronic device with labeled components and parts, including battery and circuit board layoutFig. 02

natural_image
Technical line drawing of an electronic circuit board with two cylindrical components, labeled Fig. 03 (no text or symbols on the diagram itself)
natural_image
Isometric line drawing of a Raspberry Pi chassis with labeled components (no text or symbols on the diagram itself)
text_image
Technical diagram of an electronic circuit board layout with labeled components and connectionsFig. 05

natural_image
Line drawing of a mobile phone with keypad and front panel (no text or symbols)Fig. 06
Security Tech Germany

natural_image
Isometric line drawing of a microcontroller or electronic module with multiple pins and mounting feet (no text or symbols)SV
text_image
① ② CE A BUS ③ ③Framsida

natural_image
Pure technical diagram of a mechanical part with no text or symbolsMontering
natural_image
Line drawing of a rectangular electronic device with a digital display and control panel (no text or symbols)Bild 01

text_image
Technical diagram of an electronic device with labeled components and parts, including battery and circuit board layoutBild 02

natural_image
Technical line drawing of an electronic circuit board with two cylindrical components, labeled Bild 03 (no text or symbols on the diagram itself)
natural_image
Isometric line drawing of a Raspberry Pi with labeled components (no text or symbols beyond label)Montering

Security Tech Germany

natural_image
Isometric line drawing of a microcontroller or electronic module with four pins and a central display (no text or symbols)text_image
① ② CE ABUS ③ ③Lato anteriore

natural_image
Pure technical diagram of a mechanical part with no text or symbolsMontaggio
natural_image
Line drawing of a rectangular electronic device with a digital display and control panel (no text or symbols)Fig. 01

text_image
Technical diagram of an electronic device with labeled components and parts, including battery and circuit board layoutFig. 02

natural_image
Diagram of an electronic circuit board with two cylindrical components and a pin, labeled Fig. 03 (no text or symbols on the diagram itself)
natural_image
Isometric line drawing of a Raspberry Pi with labeled components and a caption 'Fig. 04' (no technical annotations or symbols)
text_image
Technical diagram of an electronic circuit board with labeled components and connectionsFig. 05

natural_image
Line drawing of a mobile phone with keypad and control panel (no text or symbols)Fig. 06
Security Tech Germany

natural_image
Isometric line drawing of a microcontroller or electronic module with multiple pins and mounting feet (no text or symbols)ES
text_image
① ② CE A BUS ③ ③Parte delantera

natural_image
Pure technical line drawing of a mechanical part with no text or symbolsMontaje
natural_image
Line drawing of a portable electronic device with a digital display and control panel (no text or symbols)Ilustración 01

text_image
Technical diagram of an electronic device with labeled components and parts, including battery and circuit board layoutIlustración 02

natural_image
Isometric diagram of an electronic circuit board with two cylindrical components and a labeled arrow pointing to a component (no text or symbols beyond label)Ilustración 03

text_image
Technical diagram of an electronic circuit board with labeled components and connectionsIlustración 05

natural_image
Line drawing of a mobile phone with keypad and front panel (no text or symbols)Ilustración 06
Security Tech Germany

natural_image
Isometric line drawing of a microcontroller or electronic module with multiple pins and mounting feet (no text or symbols)PL
text_image
① ② CE ABUS ③ ③Przód

natural_image
Pure technical diagram of a mechanical part with no text or symbolsMontaż
natural_image
Line drawing of a rectangular electronic device with a digital display and control panel (no text or symbols)Rys. 01

text_image
Technical diagram of an electronic device with labeled components and parts, including battery and circuit board layoutRys. 02

natural_image
Isometric technical diagram of an electronic component with labeled parts, showing a circuit board and two cylindrical connectors (no text or symbols beyond label)
natural_image
Isometric line drawing of a Raspberry Pi with labeled components and 'Rys. 04' annotation (no other text or symbols)
text_image
Technical diagram of an electronic circuit board with labeled components and connectionsRys. 05

natural_image
Line drawing of a mobile phone with keypad and control panel (no text or symbols)Rys. 06
Wskazania i funkcje
Security Tech Germany

natural_image
Isometric line drawing of a microcontroller or electronic module with four pins and a central display (no text or symbols)RU
natural_image
Line drawing of a rectangular electronic device with a digital display and control panel (no text or symbols)Илл. 01

text_image
Technical diagram of an electronic device with labeled components and parts, including battery and circuit board layoutИлл. 02

text_image
Илл. 03
text_image
Илл. 04text_image
Technical diagram of an electronic circuit board layout with labeled components and connectionsИлл. 05

natural_image
Line drawing of a mobile phone with keypad and front panel (no text or symbols)Илл. 06
EasyManual




The code of the SIM card must be switched off or set to "0000". (Fig. 03)
Note