DC900KL - Cordless drill driver DEWALT - Free user manual and instructions
Find the device manual for free DC900KL DEWALT in PDF.
Download the instructions for your Cordless drill driver in PDF format for free! Find your manual DC900KL - DEWALT and take your electronic device back in hand. On this page are published all the documents necessary for the use of your device. DC900KL by DEWALT.
USER MANUAL DC900KL DEWALT
You have chosen a DeWALT tool. Years of experience, thorough product development and innovation make DeWALT one of the most reliable partners for professional power tool users.
Technical data
| DC900 | ||
| Voltage | VDC | 36 |
| Max. power output | W | 800 |
| No-load speed | ||
| 1st gear | min-1 | 0 - 400 |
| 2nd gear | min-1 | 0 - 1,200 |
| 3rd gear | min-1 | 0 - 1,600 |
| Impact | ||
| 1st gear | min-1 | 0 - 7,650 |
| 2nd gear | min-1 | 0 - 20,400 |
| 3rd gear | min-1 | 0 - 27,200 |
| Max. torque | Nm | 40 |
| Chuck capacity | mm | 13 |
| Maximum drilling capacity in steel/wood/masonry | mm | 65/13/16 |
| Weight (without battery pack) | kg | 2.1 |
| Battery pack | DE9360 | |
| Voltage | VDC | 36 |
| Capacity | Ah | 2.2 |
| Weight | kg | 1.0 |
| Charger | DE9000 | |
| Mains voltage | VAC | 230 |
| Approx. charging time | min | 60 |
| Weight | kg | 0.9 |
| Fuses: | ||
| Europe | 230 V tools | 10 Amperes, mains |
| U.K. & Ireland | 230 V tools | 13 Amperes, in plugs |
The following symbols are used throughout this manual:

Denotes risk of personal injury, loss of life or damage to the tool in case of non-observation of the instructions in this manual.

Denotes risk of electric shock.
EC-Declaration of conformity

DC900
DeWALT declares that these power tools have been designed in compliance with: 98/37/EC, 89/336/EEC, 73/23/EEC, 86/188/EEC, EN 60745-1, EN 60745-2-1, EN 60335, EN 55014-1, EN 55014-2, EN 61000-3-2, EN 61000-3-3.
For more information, please contact DEWALT at the address below, or refer to the back of the manual.
| DC900 | ||
| LpA (sound pressure) | dB(A) | 94 |
| LWA (acoustic power) | dB(A) | 103 |
| Weighted RMS acceleration value | m/s2 | 16.3 |
| KpA (sound pressure uncertainty) | dB(A) | 1.9 |
| KWA (acoustic power uncertainty) | dB(A) | 1.9 |
Director Engineering and Product Development Horst Großmann

D-65510, Idstein, Germany
Safety instructions
General power tool safety warnings

Warning! Read all safety warnings and all instructions. Failure to follow the warnings and instructions listed below may result in electric shock, fire and/or serious injury.
Save all warnings and instructions for future reference.
The term "power tool" in all of the warnings listed below refers to your mains operated (corded) power tool or battery operated (cordless) power tool.
1 Work area safety
a Keep work area clean and well lit.
Cluttered or dark areas invite accidents.
b Do not operate power tools in explosive atmospheres, such as in the presence of flammable liquids, gases or dust.
Power tools create sparks which may ignite the dust or fumes.
c Keep children and bystanders away while operating a power tool.
Distractions can cause you to lose control.
2 Electrical safety
a Power tool plugs must match the outlet. Never modify the plug in any way. Do not use any adapter plugs with earthed (grounded) power tools.
Unmodified plugs and matching outlets will reduce risk of electric shock.
b Avoid body contact with earthed or grounded surfaces such as pipes, radiators, ranges and refrigerators.
There is an increased risk of electric shock if your body is earthed or grounded.
c Do not expose power tools to rain or wet conditions.
Water entering a power tool will increase the risk of electric shock.
d Do not abuse the cord. Never use the cord for carrying, pulling or unplugging the power tool. Keep cord away from heat, oil, sharp edges or moving parts.
Damaged or entangled cords increase the risk of electric shock.
e When operating a power tool outdoors, use an extension cord suitable for outdoor use. Use of a cord suitable for outdoor use reduces the risk of electric shock.
3 Personal safety
a Stay alert, watch what you are doing and use common sense when operating a power tool. Do not use a power tool while you are tired or under the influence of drugs, alcohol or medication.
A moment of inattention while operating power tools may result in serious personal injury.
b Use safety equipment. Always wear eye protection.
Safety equipment such as dust mask, non-skid safety shoes, hard hat, or hearing protection used for appropriate conditions will reduce personal injuries.
c Avoid accidental starting. Ensure the switch is in the off position before plugging in.
Carrying power tools with your finger on the switch or plugging in power tools that have the switch on invites accidents.
d Remove any adjusting key or wrench before turning the power tool on.
A wrench or a key left attached to a rotating part of the power tool may result in personal injury.
e Do not overreach. Keep proper footing and balance at all times.
This enables better control of the power tool in unexpected situations.
f Dress properly. Do not wear loose clothing or jewellery. Keep your hair, clothing and gloves away from moving parts.
Loose clothes, jewellery or long hair can be caught in moving parts.
g If devices are provided for the connection of dust extraction and collection facilities, ensure these are connected and properly used.
Use of dust collection can reduce dust-related hazards.
4 Power tool use and care
a Do not force the power tool. Use the correct power tool for your application.
The correct power tool will do the job better and safer at the rate for which it was designed.
b Do not use the power tool if the switch does not turn it on and off.
Any power tool that cannot be controlled with the switch is dangerous and must be repaired.
c Disconnect the plug from the power source and/or the battery pack from the power tool before making any adjustments, changing accessories, or storing power tools.
Such preventive safety measures reduce the risk of starting the power tool accidentally.
d Store idle power tools out of the reach of children and do not allow persons unfamiliar with the power tool or these instructions to operate the power tool.
Power tools are dangerous in the hands of untrained users.
e Maintain power tools. Check for misalignment or binding of moving parts, breakage of parts and any other condition that may affect the power tools operation. If damaged, have the power tool repaired before use.
Many accidents are caused by poorly maintained power tools.
f Keep cutting tools sharp and clean.
Properly maintained cutting tools with sharp cutting edges are less likely to bind and are easier to control.
g Use the power tool, accessories and tool bits etc., in accordance with these instructions, taking into account the working conditions and the work to be performed.
Use of the power tool for operations different from those intended could result in a hazardous situation.
5 Battery tool use and care
a Ensure the switch is in the off position before inserting battery pack.
Inserting the battery pack into power tools that have the switch on invites accidents.
b Recharge only with the charger specified by the manufacturer.
A charger that is suitable for one type of battery pack may create a risk of fire when used with another battery pack.
c Use power tools only with specifically designated battery packs.
Use of any other battery packs may create a risk of injury and fire.
d When battery pack is not in use, keep it away from other metal objects like paper clips, coins, keys, nails, screws, or other small metal objects that can make a connection from one terminal to another. Shorting the battery terminals together may cause burns or a fire.
e Under abusive conditions, liquid may be ejected from the battery; avoid contact. If contact accidentally occurs, flush with water. If liquid contacts eyes, additionally seek medical help.
Liquid ejected from the battery may cause irritation or burns.
6 Service
a Have your power tool serviced by a qualified repair person using only identical replacement parts.
This will ensure that the safety of the power tool is maintained.
Additional safety instructions for impact drills
- Wear ear protectors with impact drills.
Exposure to noise can cause hearing loss.
- Use auxiliary handles supplied with the tool.
Loss of control can cause personal injury.
Additional safety instructions for battery packs and chargers
-
Make sure that the battery pack is dry and clean before inserting it into the charger.
-
Never carry the charger by its cord. Never pull the cord to disconnect from the socket. Keep the cord away from heat, oil and sharp edges.
-
Have any damaged or defective cords replaced by an authorised DeWALT repair agent. Never attempt any repairs yourself.
-
Do not expose the charger to damp or wet conditions.
-
Do not attempt to charge wet battery packs.
-
Never attempt to open a battery pack for any reason.
-
Charge only battery packs with the ratings as specified in this manual. Do not attempt to charge non-rechargeable batteries.
- Always follow the instructions in the back of this manual for battery pack disposal.
- When not in use, chargers and battery packs must be stored in a dry place and locked up securely, out of reach of children.
Transporting
DeWALT Li-Ion battery packs comply with the necessary testing requirements under the UN Manual of Tests and Criteria (ST/SG/AC.10/11/ Rev.3 Part III, Subsection 38.3) as referenced in the UN Recommendations on the Transport of Dangerous Goods.
- The battery packs have effective protection against internal overpressure and short-ciruiting.
- Appropriate measures have been provided for prevention of forced rupture and dangerous reverse current.
- The equivalent lithium content is below the relevant limit value.
DeWALT Li-Ion battery packs are exempted from national and international regulations applicable to dangerous goods. However, these regulations become relevant when transporting several battery packs together.
- Make sure that battery packs are packed according to the dangerous goods regulations as mentioned above to prevent short-circuiting.
Labels on charger and battery pack
In addition to the pictographs used in this manual, the labels on the charger and the battery pack show the following pictographs:

Read instruction manual before use

See technical data for charging time

Do not expose to water

Do not probe with conductive objects

Do not charge damaged battery packs

Do not use damaged chargers

Charge only between 4^ and 40^

Have defective cords replaced immediately

Charger problem

Battery problem

Discard the battery pack with due care for the environment

Do not incinerate the battery pack

Charge only with dedicated DEWALT chargers
Package contents
The package contains:
1 Cordless midhandle driver/drill
1 Side handle
1 Battery pack (DC900K)
2 Battery packs (DC900KL)
1 Charger
1 Kitbox (K-models only)
1 Instruction manual
1 Exploded drawing
Note: Battery packs and chargers are not included with N-models.
- Check for damage to the tool, parts or accessories which may have occurred during transport.
Take the time to thoroughly read and understand this manual prior to operation.
Description (fig. A)
Your cordless driver/percussion drill DC900 has been designed for professional drilling, percussion drilling and screwdriving applications.
1 Variable speed switch
2 Forward/reverse slider
3 Keyless chuck/auto spindle lock
4 Torque adjustment collar
5 Mode selector
6 Three-gear selector
7 Bit holder
8 Grip
9 Side handle
10 Battery pack
Charger
Your DE9000 charger charger accepts DeWALT Li-Ion battery packs of 36V at 2.2 Ah (DE9360).
10 Battery pack
11 Release button
12 Charger
13 Charging indicators (red)
Auto-spindle lock
The auto-spindle lock is engaged when the transmission is stationary. The chuck sleeve can easily be turned with one hand while the other supports the unit.
Electrical safety
The electric motor has been designed for one voltage only. Always check that the battery pack voltage corresponds to the voltage on the rating plate. Also make sure that the voltage of your charger corresponds to that of your mains.

Your DEWALT charger is double insulated in accordance with EN 60335.
Mains plug replacement (U.K. & Ireland only)
- Should your mains plug need replacing and you are competent to do this, proceed as instructed below. If you are in doubt, contact an authorized DeWALT repair agent or a qualified electrician.
- Disconnect the plug from the supply.
- Cut off the plug and dispose of it safely; a plug with bared copper conductors is dangerous if engaged in a live socket outlet.
-
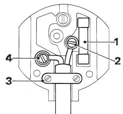
Only fit 13 Amperes BS1363A approved plugs fitted with the correctly rated fuse (1).
-
The cable wire colours, or a letter, will be marked at the connection points of most good quality plugs. Attach the wires to their respective points in the plug (see below). Brown is for Live (L) (2) and Blue is for Neutral (N) (4).
- Before replacing the top cover of the mains plug ensure that the cable restraint (3) is holding the outer sheath of the cable firmly and that the two leads are correctly fixed at the terminal screws.


Never use a light socket. Never connect the live (L) or neutral (N) wires to the earth pin marked E or 1 .
Using an extension cable
An extension cord should not be used unless absolutely necessary. Use an approved extension cable suitable for the power input of your charger (see technical data). The minimum conductor size is 1mm^2 ; the maximum length is 30m .
Assembly and adjustment

- Prior to assembly and adjustment, always remove the battery pack.
Always switch off the tool before inserting or removing the battery pack.

Use only DEWALT battery packs and chargers.
Fitting and removing the battery pack (fig. A)
- To fit the battery pack (10), line it up with the receptacle on the tool. Slide the battery pack into the receptacle and push until the battery snaps into place.
- To remove the battery pack, push the release button (11) while at the same time pulling the battery pack out of the receptacle.
Charging the battery pack (fig. A & B)
Always check the mains prior to charging the battery pack. If the mains is functioning but the battery pack does not charge, take your charger to an authorized D∈WALT repair agent. Whilst charging, the charger and the battery pack may become warm to touch. This is a normal condition and does not indicate a problem.

Do not charge the battery pack at ambient temperatures < 4^ or >40^ . Recommended charging temperature: approx. 24^ .
- To charge the battery pack (10), insert it into the charger (12) as shown and plug in the charger. Be sure that the battery pack is fully seated in the charger. The red charging indicators (13) will blink according to the state of charge of the battery pack.
- When finished charging, the indicators are all on. The charger automatically switches to equalise mode.
- The battery pack can be removed at any time or left in the connected charger indefinitely.
- The red charging indicators flash rapidly to indicate a charging problem. Reinsert the battery pack or try a new one. If the new pack also refuses to charge, have your charger tested by an authorized DeWALT repair agent.
- The red charging indicators flash rapidly with one short blink followed by a long blink to indicate a problem with the charger. Return the charger to an authorized DEWALT repair agent.
- When plugged into power sources such as generators or sources that convert DC to AC, the red charging indicators (13) may flash together with two fast blinks followed by a pause. This indicates a temporary problem of the power source. The charger will automatically switch back to normal operation.
Charging process (fig. B)
Refer the table below for the state of charge of the battery pack.
| State of charge | |
| 1 light blinking | < 33% |
| 1 light blinking, 1 light on | 33-66% |
| 1 light blinking, 2 lights on | 66-99% |
| 3 lights on | 100% |
Automatic refresh

The automatic refresh mode will equalize or balance the individual cells in the battery pack at its peak capacity. Battery packs should be refreshed weekly or whenever the pack no longer delivers the same amount of work.
- To refresh your battery pack, place the battery in the charger as usual. Leave the battery pack for at least 8 hours in the charger.
Hot/Cold Pack Delay
When the charger detects a battery that is too hot or too cold, it automatically starts a Hot/Cold Pack Delay, suspending charging until the battery has reached an appropriate temperature. The charger then automatically switches to the pack charging mode. This feature ensures maximum battery life.
Deep discharge protection
The battery pack is protected against deep discharging when it is used in the tool.
Inserting and removing bits (fig. A & C)
- Open the chuck by turning the sleeve (15) counterclockwise and insert the bit shank.
- Place the bit in the chuck as far as it will go and lift slightly before tightening.
- Tighten firmly by turning the sleeve clockwise.
- To remove the bit, proceed in reverse order.
Selecting the operating mode (fig. D)
The tool can be used in the following operating modes:
- Screwdriving
- Rotary drilling: for steel, wood and plastics
-
Percussion drilling: for masonry
-
To select the screwdriving mode, align the collar (5) with the symbol (16) on the housing.
- To select the rotary drilling mode, align the collar (5) with the symbol (17) on the housing.
- To select the percussion drilling mode, first select the rotary drilling mode and then align the symbol on the collar (4) with the indicator (18) on the collar (5).

Do not select the operating mode when the tool is running.
Adjusting the torque (fig. D)
The collar of this tool has a wide range of positions for the adjustment of the torque to suit the size of the screw and the workpiece material. For torque adjustment, refer to the section "Screwdriving".
- Select the torque by aligning the symbol or number on the collar (4) with the indicator (18) on the collar (5).
Forward/reverse slider (fig. E)
- To select forward or reverse rotation, use the forward/reverse slider (2) as shown (see arrows on tool).

Always wait until the motor has come to a complete standstill before changing the direction of rotation.
Three-gear selector (fig. F)
Your tool is fitted with a three-gear selector (6) to vary the speed/torque ratio.
1 low speed/high torque
2 medium speed/medium torque
3 high speed/low torque
For speed rates, refer to the technical data.
- Do not change gears at full speed or during use.
Instructions for use

- Always observe the safety instructions and applicable regulations.
-
Be aware of the location of pipework and wiring.
-
Apply only a gentle pressure to the tool. Excessive force does not speed up drilling but decreases tool performance and may shorten tool life.
Prior to operation:
- Make sure your battery pack is (fully) charged.
- Make sure the battery pack is properly seated.
- Insert the appropriate bit.
- Mark the spot where the hole is to be drilled.
Switching on and off (fig. A & E)
- To run the tool, press the variable speed switch (1). The pressure exerted on the variable speed switch determines the tool speed.
- To stop the tool, release the switch.
- To lock the tool in the off position, move the forward/reverse slider (2) to the central position.
Screwdriving (fig. A)
- Select the drilling mode using the collar (5).
- Select forward or reverse rotation using the slider (2).
- Set the collar (4) to position 1 and begin screwdriving (low torque).
- If the clutch ratchets too soon, adjust the collar to increase the torque as required.
Drilling (fig. A)
- Select the drilling mode using the collar (5).
- Select forward rotation using the slider (2).
Drilling in metal
- Use a cutting lubricant when drilling metals. The exceptions are cast iron and brass which should be drilled dry.
Drilling in wood
- Use the appropriate type of drill bit.
Consult your dealer for further information on the appropriate accessories.
Maintenance
Your DEWALT power tool has been designed to operate over a long period of time with a minimum of maintenance. Continuous satisfactory operation depends upon proper tool care and regular cleaning.

Lubrication
Your power tool requires no additional lubrication.

Cleaning
- Unplug the charger before cleaning the housing with a soft cloth.
- Remove the battery pack before cleaning your power tool.
- Keep the ventilation slots clear and regularly clean the housing with a soft cloth.
Protecting the environment

Separate collection. This product must not be disposed of with normal household waste.
Should you find one day that your DEWALT product needs replacement, or if it is of no further use to you, do not dispose of it with household waste. Make this product available for separate collection.

Separate collection of used products and packaging allows materials to be recycled and used again. Re-use of recycled materials helps prevent environmental pollution and reduces the demand for raw materials.
Local regulations may provide for separate collection of electrical products from the household, at municipal waste sites or by the retailer when you purchase a new product.
DeWALT provides a facility for the collection and recycling of DeWALT products once they have reached the end of their working life. To take advantage of this service please return your product to any authorised repair agent who will collect them on our behalf.
You can check the location of your nearest authorised repair agent by contacting your local DeWALT office at the address indicated in this manual. Alternatively, a list of authorised DeWALT repair agents and full details of our after-sales service and contacts are available on the Internet at: www.2helpU.com

Battery pack
The long life battery pack must be recharged when it fails to produce sufficient power on jobs which were easily done before. At the end of its technical life, discard it with due care for our environment:
- Run the battery pack down completely, then remove it from the tool.
- Li-ion cells are recyclable. Take them to your dealer or a local recycling station. The collected battery packs will be recycled or disposed of properly.
GUARANTEE
-
30 DAY NO RISK SATISFACTION GUARANTEE If you are not completely satisfied with the performance of your DEWALT tool, simply return it within 30 days, complete as purchased, to the point of purchase, for a full refund or exchange. Proof of purchase must be produced.
-
ONE YEAR FREE SERVICE CONTRACT If you need maintenance or service for your DeWALT tool, in the 12 months following purchase, it will be undertaken free of charge at an authorized DeWALT repair agent. Proof of purchase must be produced. Includes labour and spare parts for Power Tools. Excludes accessories.
-
ONE YEAR FULL WARRANTY If your DEWALT product becomes defective due to faulty materials or workmanship within 12 months from the date of purchase, we guarantee to replace all defective parts free of charge or, at our discretion, replace the unit free of charge provided that:
The product has not been misused.
- Repairs have not been attempted by unauthorized persons.
- Proof of purchase date is produced. This guarantee is offered as an extra benefit and is additional to consumers statutory rights.
For the location of your nearest authorized DeWALT repair agent, please use the appropriate telephone number on the back of this manual. Alternatively, a list of authorized DeWALT repair agents and full details on our after-sales service are available on the Internet at www.2helpU.com.
ATORNILLADOR/TALADRO SIN CABLE DC900
Enhorabuena!
Director Engineering and Product Development Horst Großmann

L'emballage content:
Director Engineering and Product Development Horst Großmann

DeWALT, Richard-Klinger-Straße 11, D-65510, Idstein, Duitsland
Director Engineering and Product Development Horst Großmann

DeWALT, Richard-Klinger-Straße 11, D-65510, Idstein, Tyskland
- 1 ARS FRI VEDLIKEHOLDSERVICE
Director Engineering and Product Development Horst Großmann

DeWALT, Richard-Klinger-Straße 11, D-65510, Idstein, Alemanha
Director Engineering and Product Development Horst Großmann

Director Engineering and Product Development Horst Großmann

Satt in ratt slags borbits.
EasyManual