FT 9629 - Lebensmittelthermometer SEVERIN - Kostenlose Bedienungsanleitung
Finden Sie kostenlos die Bedienungsanleitung des Geräts FT 9629 SEVERIN als PDF.
Benutzerfragen zu FT 9629 SEVERIN
0 Frage zu diesem Gerät. Beantworten Sie die, die Sie kennen, oder stellen Sie Ihre eigene.
Eine neue Frage zu diesem Gerät stellen
Laden Sie die Anleitung für Ihr Lebensmittelthermometer kostenlos im PDF-Format! Finden Sie Ihr Handbuch FT 9629 - SEVERIN und nehmen Sie Ihr elektronisches Gerät wieder in die Hand. Auf dieser Seite sind alle Dokumente veröffentlicht, die für die Verwendung Ihres Geräts notwendig sind. FT 9629 von der Marke SEVERIN.
BEDIENUNGSANLEITUNG FT 9629 SEVERIN
DE Gebrauchsanweisung Fleischthermometer 4
Liebe Kundin, lieber Kunde,
wir wünschen Ihnen mit dem Qualitätsprodukt aus dem Hause SEVERIN viel Freude und bedanken uns für Ihr Vertrauen.
Die Marke SEVERIN steht seit über 120 Jahren für Beständigkeit, deutsche Qualität und Entwicklungskraft. Jedes Gerät wurde mit Sorgfalt hergestellt und geprüft.
Mit der sprichwörtlichen Sauerländer Gründlichkeit, Genauigkeit und Ehrlichkeit überzeugt das Familienunternehmen aus Sundern seit der Gründung 1892 mit innovativen Produkten Kunden in aller Welt.
In den sieben Produktgruppen Kaffee, Frühstück, Küche, Grillen, Haushalt, Personal Care und Kühlen & Gefrieren bietet SEVERIN mit über 250 Produkten ein umfassendes Elektrokleingeräte-Sortiment. Für jeden Anlass das richtige Produkt!
Lernen Sie die SEVERIN-Produktvielfalt kennen und besuchen Sie uns unter www.severin.de oder www.severin.com.
Ihre
Geschäftsleitung und Mitarbeiter der SEVERIN Elektrogeräte GmbH

Liebe Kundin, lieber Kunde,
lesen Sie die Gebrauchsanweisung sorgfältig vor der Benutzung des Gerätes durch und bewahren Sie diese für den weiteren Gebrauch auf. Das Gerät darf nur von Personen benutzt werden, die mit den Sicherheitsanweisungen vertraut sind.
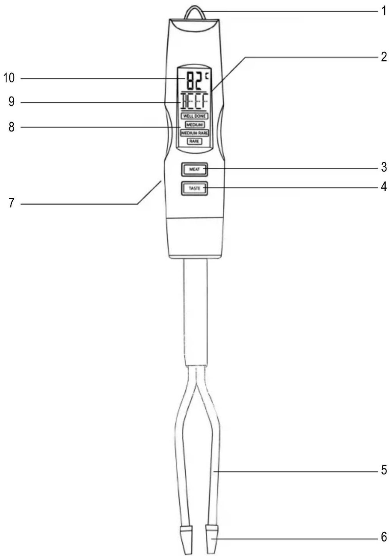
Aufbau
- Aufhängeöse
- LCD Display
- Ein-/Aus-Taste und Auswahl des Fleischtyps
- Auswahltaste Gargrad
- Fleischgabel mit Temperaturfühler
- Sicherheitskappen
- Batteriefach (Geräterückseite)
- Anzeige Gargrad
- Anzeige Fleischtyp
- Temperaturanzeige
Sicherheitshinweise
- Um Gefährdungen zu vermeiden und um Sicherheitsbestimmungen einzuhalten, dürfen Reparaturen am Gerät nur durch unseren Kundendienst durchgeführt werden. Daher im Reparaturfall unseren Kundendienst telefonisch oder per Mail kontaktieren (siehe Anhang).
- Das Gehäuse darf aus Gründen der elektrischen Sicherheit nicht mit
Flüssigkeiten behandelt oder gar darin eingetaucht werden. - Hinweise zur Reinigung bitte dem Abschnitt Reinigung und Pfl ege entnehmen.
- Das Gerät ist dazu bestimmt, im Haushalt und ähnlichen Anwendungen verwendet zu werden, wie z.B.
- in Küchen für
Mitarbeiter in Läden,
Büros und ähnlichen
Arbeitsumgebungen, - in landwirtschaftlichen Betrieben,
- von Kunden in
Hotels, Motels und
weiteren typischen
Wohnumgebungen, - in Frühstückspensionen.
-Das Gerät kann von
Kindern ab 8 Jahren
sowie von Personen mit reduzierten physischen, sensorischen oder mentalen Fähigkeiten oder Mangel an Erfahrung und/oder Wissen benutzt werden, wenn sie beaufsichtigt werden oder bezüglich des sicheren Gebrauchs des Gerätes unterwiesen wurden und die daraus resultierenden Gefahren verstanden haben. •Kinder dürfen nicht mit dem Gerät spielen.
- Reinigung und Benutzer- Wartung dürfen nicht durch Kinder ohne Beaufsichtigung durchgeführt werden. - Kinder jünger als 8 Jahre sind vom Gerät fernzuhalten.
- Halten Sie Kinder von Verpackungsmaterial fern. Es besteht u.a. Erstickungsgefahr!
- Vor der Inbetriebnahme das komplette Gerät inkl. eventueller Zubehörteile auf Mängel überprüfen, welche die Funktionssicherheit des Gerätes beeinträchtigen könnten. Falls das Gerät z.B. zu Boden gefallen ist, können von außen nicht erkennbare Schäden
vorliegen. Auch in diesem Fall das Gerät nicht in Betrieb nehmen.
- Wird das Gerät falsch bedient oder zweckentfremdet verwendet, kann keine Haftung für evtl. auftretende Schäden übernommen werden.
Einlegen der Batterien
- Zum Offnen des Batteriefaches den Deckel abnehmen.
- Batterien unter Beachtung der Polung einlegen und den Deckel wieder verschließen.
- Geeignet sind 1,5V Mignon-Batterien der Größe LR03/AAA.
- Bei längerem Nichtgebrauch des Gerätes müssen die Batterien entnommen werden.
- Batterien dürfen nicht in den Hausmüll gelangen, sondern müssen über die dafür vorgesehenen Sammelstellen
entsorgt werden.

Umstellung °F / °C
- Im unteren Bereich des Batteriefachs befi ndet sich der Umstellknopf für die Temperaturanzeige in Celsius oder Fahrenheit.
- Sollte die Temperaturangabe werksseitig auf Fahrenheit (°F) eingestellt sein, stellen Sie sie bitte auf Celsius (°C) um.
Vor der ersten Inbetriebnahme
- Nehmen Sie die Sicherheitskappen ab.
- Reinigen Sie das Gerät vor der ersten Inbetriebnahme wie unter Reinigung und Pfl ege beschrieben.
- Entfernen Sie die Schutzfolie vom LCD-Display.
Bedienung
Gerät ein- und ausschalten:
- Drücken Sie die Taste Meat und das Gerät schaltet sich ein.
- Zum Ausschalten drücken Sie die Taste Meat für ca. 2 Sekunden.
- Wird das Gerät für länger als 10 min nicht benutzt, schaltet es sich automatisch aus (die letzte Einstellung wird gespeichert).
Auswahl des Fleischtyps:
Drücken Sie die Taste Meat um den
Fleischtyp auszuwählen:
Beef = Rind
Veal = Kalb
Lamb = Lamm
Pork = Schwein
Chicken = Huhn
Turkey = Truthahn
--- = keine Auswahl
Auswahl des Gargrads
- Drücken Sie die Taste Taste um den gewünschten Gargrad auszuwählen:
Well done = durchgebraten
Medium = medium
Medium rare = halb durch
Rare = englisch
- Bei der Auswahl des Gargrads werden nur die zum ausgewählten Fleischtyp passenden Gargrade angezeigt. Bei Kalb z.B. nur „durchgebraten“ und „medium“.
Empfohlende Gartemperaturen:
| Gargrad | Rind | Kalb | Lamm | Schwein | Huhn/Truthahn |
| Durchgebraten | 78 °C | 78 °C | 78 °C | 78 °C | 78 °C |
| Medium | 70-75 °C | 71-78 °C | 73-78 °C | 71-78 °C | - |
| Halb durch | 64-73 °C | - | 64-73 °C | - | - |
| Englisch | 60-64 °C | - | - | - | - |
Temperaturmessung des Fleisches
- Messen Sie den Gargrad immer in der dicksten Stelle des Fleischstückes.
- Vermeiden Sie es, an Stellen mit Fett oder Knochen zu messen.
-
Nehmen Sie die Sicherheitskappen ab und stechen Sie die Gabel bis ungefähr in die Mitte des Fleischstückes hinein.
-
Warten Sie ca. 15-20 Sekunden, um ein genaues Messergebnis zu erhalten.
- Im Display werden die Temperatur und der erreichte Gargrad blinkend angezeigt. Sobald der nächst höhere Gargrad erreicht ist, wird dieser ebenfalls blinkend angezeigt.
- Wenn der vorgewählte Gargrad erreicht
ist, ertönt ein Signalton.
- Drücken Sie die Meat- oder Taste-Taste, um den Signalton auszuschalten.
- Reinigen Sie die Gabel nach jeder Temperaturmessung.
- Das Gerät kann nun sofort für eine neue Messung eingesetzt werden.
- Nach Gebrauch und Reinigung die Sicherheitskappen wieder aufsetzen.
Reinigung und Pfl ege
- Das Gehäuse darf aus Gründen der elektrischen Sicherheit nicht mit Flüssigkeiten behandelt oder gar darin eingetaucht werden, daher nur feucht abwischen.
- Den Bereich der Fleischgabel nach jedem Gebrauch gründlich mit etwas Spülmittel reinigen, abspülen und abtrocknen.
Ersatzteile und Zubehör
Ersatzteile oder Zubehör können bequem im Internet auf unserer Homepage www.severin.de unter dem Unterpunkt „Service / Ersatzteil-Shop“ bestellt werden.
Entsorgung

Geräte, die mit diesem Symbol gekennzeichnet sind, müssen getrennt vom Hausmüll entsorgt werden. Diese Geräte enthalten
wertvolle Rohstoffe, die wiederverwertet werden können. Eine ordnungsgemäße Entsorgung schützt die Umwelt und die Gesundheit Ihrer Mitmenschen. Ihre Gemeindeverwaltung bzw. Ihr Fachhändler gibt Auskunft über die ordnungsgemäße Entsorgung.
Garantie
Von den nachfolgenden Garantiebedingungen bleiben die gesetzlichen Gewährleistungsrechte gegenüber dem Verkäufer und eventuelle Verkäufergarantien unberührt. Wenden Sie sich im Garantiefall daher direkt an den Fachhändler. Zusätzlich gewährt SEVERIN eine Herstellergarantie von zwei Jahren ab Kaufdatum. In diesem Zeitraum beseitigen wir kostenlos alle Mängel, die nachweislich auf Material- oder Fertigungsfehlern beruhen und die Funktion wesentlich beeinträchtigen. Weitere Ansprüche sind ausgeschlossen. Von der Garantie ausgenommen sind: Schäden, die auf Nichtbeachtung der Gebrauchsanweisung, unsachgemäße Behandlung oder normalen Verschleiß zurückzuführen sind, ebenso leicht zerbrechliche Teile wie z. B. Glas, Kunststoff oder Glühlampen. Die Garantie erlischt bei Eingriff nicht von SEVERIN autorisierter Stellen. Sollte eine Reparatur erforderlich werden, setzen Sie sich bitte telefonisch oder per Mail mit unserem Kundendienst in Verbindung. Die Kontaktdaten fi nden Sie im Anhang der Anleitung.
Meat thermometer
Dear Customer,
Kundendienstzentralen
Service Centres
Kundendienst Ausland
Austria
Degupa
Vertriebsgesellschaft m.b.H.
Gewerbeparkstr. 7
5081 Anif / Salzburg
Tel.: +43 (0) 62 46 73 58 10
Fax:. +43 (0) 62 46 / 72 70 2
eMail: degupa@silva-schneider.at
Belgique
BVBA Dancal Elektro
Kalkhoevestraat 1
B-8790 Waregem
Tel.: +32 56 71 54 51
Fax: +32 56 70 04 49
Bosnia i Herzegovina
Malisic export-import d.o.o
Biletic polje
88260 Citluk
Tel: +387 36 650 601
Fax: +387 36 651 062
Bulgaria
Noviz AG
Khan Kubrat 1 Str.
BG-4000 Plovdiv
Tel.: + 359 32 275 617, 275 614
eMail: sales@noviz.com
China
SEVERIN Elektrogeräte GmbH
Röhre 27
D-59846 Sundern
Tel +49 2933 982-0
Fax +49 2933 982-333
information@severin.de
EinfachAnleitung