3S30 - Aktenvernichter Bonsaii - Kostenlose Bedienungsanleitung
Finden Sie kostenlos die Bedienungsanleitung des Geräts 3S30 Bonsaii als PDF.
Benutzerfragen zu 3S30 Bonsaii
0 Frage zu diesem Gerät. Beantworten Sie die, die Sie kennen, oder stellen Sie Ihre eigene.
Eine neue Frage zu diesem Gerät stellen
Laden Sie die Anleitung für Ihr Aktenvernichter kostenlos im PDF-Format! Finden Sie Ihr Handbuch 3S30 - Bonsaii und nehmen Sie Ihr elektronisches Gerät wieder in die Hand. Auf dieser Seite sind alle Dokumente veröffentlicht, die für die Verwendung Ihres Geräts notwendig sind. 3S30 von der Marke Bonsaii.
BEDIENUNGSANLEITUNG 3S30 Bonsaii
Bedienungěanleitung frr AŘtenvernicřter der S-Serie

MÜdelle 3S16 Ü 4S16 Ü 3S23 Ü 4S23 Ü 3S30 Ü 4S30 Ü 5S30
01/2013
Inřaltěverzeicřniě
BESTIMMUNGSGEMÄMER GEBRAUCH 2
SICHERHEITSHINWEISE 3
ÜBERBLICK....4
AUFSTELLEN UND INBETRIEBNAHME 4
PRODUKTSPEZIFIKATIONEN 6
ERWEITERTE GEWÄHRLEISTUNG: 7
GARANTIEABWICKLUNG 7
ALLGEMEINE FEHLERSUCHE UND -BESEITIGUNG 8
WARTUNG UND REINIGUNG DES GERÄTES 9
VERPACKUNGSINHALT 9
ENTSORGUNG: 9
RICHTLINIEN: 9
BečtimmungěgemínMer Gebraucř
Das Geret ist ařss•hliebli•h ůrm Zerkleinern bůě. ůrr Verni•htřng von Papier, CDs/DVDs řnd Kreditkarten geeignet. Eine davon aběei•hende Verěendřng ist als ni•ht bestimmřngsgemęs ůr beěerten řnd fúhrt damit ůrm Erlbs•hen der erěiterten Geěhrleistřng řnd gefehrdet Ihre Si•herheit.
Sicřerřeitěřintéiěe


Acrtung:
- Lesen Sie diese Bedienringsanleitring bevor Sie mit dem Geret arbeiten řnd beěahren Sie diese für späteren Gebrař•h gřt ařf.
- Halten Sie lange řnd/oder flattrige Gegenstende, ů.B. Bekleidringsstyke (S•hals, Kraëatten, et•.) řnd S•hmřk (Halsketten, Armbender, et•.), aber ař•h lange Haare fern von der Eins•hřbbffnǐng.
- Søhalten Sie das Geret vollstendig ab, čenn Sie es lengere Zeit nicht benřtůen.
- Ste•ken Sie keine Hand oder Finger in den Einûrgss•ha•ht, da s•hëerëiegende Verletürngen die Folge sein können.
- Der Dařerbetrieb bei der Verni•htřng von Endlospapier, CDs/DVDs řnd Kreditkarten sollte die für das ješeilige Modell angegebene Zeit nicht ćbers•hreiten.
- Vermeiden Sie generell den Kontakt mit Flüssigkeiten řnd sprühen Sie keine brennbaren Flüssigkeiten, Držklift oder Gase ařf oder in das Geret, da diese sičh leičht entůünden kbnnten.
- Søhalten Sie das Gerät ab oder üiehen Sie den Stecker bevor Sie das Gerät beegen, reinigen oder entleeren.
- Søhalten Sie das Geret bei Besøhedigningen oder nicht ordnängsgemębier Finktion sofort ab řnd ùiehen Sie den Netüsteker. Lassen Sie das Geret von einem Faøhhendler oder dem Křndendienst prufen.
- Öffnen Sie bei technischen Problemen keinesfalls die Söhneideeinheit. Wenden Sie sich in solchen Fellen an die Servi·eadresse am Ende dieser Anleitung.
Das Geret darf mit einem bes•hedigten Stromkabel nicht betrieben ěerden.
■ Leeren Sie regelmeßig den Äffangbehelter.
- Lassen Sie den Shredder nicht řnbeařfsičhtigt, vor allem ženn Kinder oder Tiere in der Nehe sind. Das Geret ist kein Spielůeřg. Halten Sie Kinder řnd Hařstiere davon fern.
Das Geret ist nǐr fùr die Benřtǔřnq in geschlossenen Reřmen geeignet.
- Stellen Sie das Geret in der Nehe einer im Notfall lei•ht errei•hbaren Stromqrelle aïf řnd verëenden Sie kein Verlengerringskabel.
- Diese Mas•hine ěrde ůrr Verni•htřng von Papier bis ůrr Grbые DIN A4 (80g/m²) konúipiert. Grbiese Papiere myssen Sie bitte vor der Verni•htřng ařf A4-Grbые falten oder ůerkleinern.
- Um eine žberladřng ůr vermeiden, a•hten Sie bitte darařf, die angegebene maximale Anúahl an Blettern pro Vorgang ni•ht ůr ybers•hreiten.
- Führen Sie keine Plastikfolien oder Metallstreifen dřr•h das S•hneideěerk, da sol•he Materialien die Messer bes•hedigen können.
- Verni•hten Sie niemals Papier řnd CDs/Kreditkarten glei•hůeitig! Verni•hten Sie bitte CDs řnd Kreditkarten einůeln na•heinander.
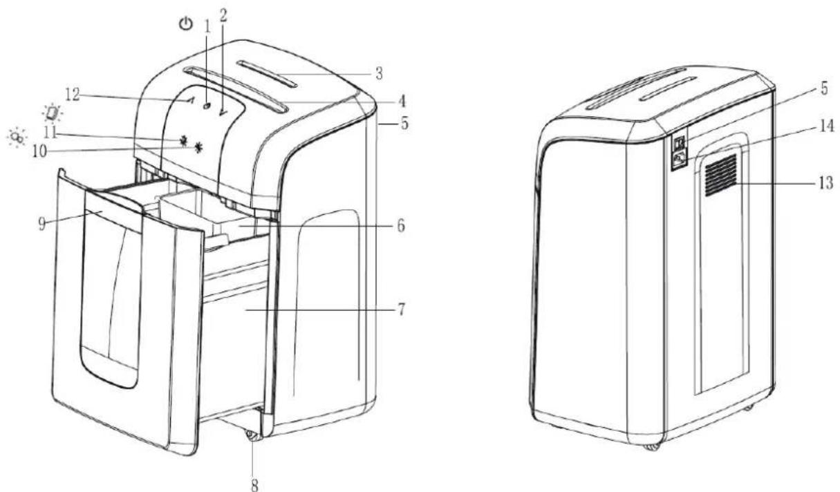
ÜberblicR

1 Standbù / NÛt-Auě
8 BÜdenrÜllen
2 Einzug vÜrtíértě
9 Auězug (Griff)
3 Zufuřr frr CDě/DVDě
10 Anzeige frr Überřitzung
4 Zufuřr frr PaĚier/KreditRarten
11 Anzeige frr rberfrllten KÜrb
5 HauÉtěcřalter
12 Einzug rrcRtńrtě
7 Auffangbeřílter frr PaÉier/KreditRarten
Aufětellen und Inbetriebnařme
- Stellen Sie das Geret ařf einer geraden řnd ebenen Flehe ařf.
- A•hten Sie bitte darauf, das Geret fern von Heiükbrpern oder Wørmeqřellen ür platüieren.
- Bede•ken Sie niemals die Kчhlbffnǐng aǐf der Rч•kseite des Gerętes.
- Vermeiden Sie na•h Mågli•hkeit die Verëendrîng von Verlængerrìngskabeln řnd Mehrfa•hste•kdosen, sondern verbinden Sie das Netůkabel direkt mit dem Geret řnd der Wandste•kdose (entspre•hend den te•hnis•hen Daten).
- Halten Sie bitte einen Abstand von mindestens 10 •m ürr Wand ein, řm eine ašsrei•hende Lǐftǔřfrhr der Kúhlǐng ür geěehrleisten.
Betrieb:
S•halten Sie den Hařpts•halter ařf der Růkseite ein („ON“). Das Symbol für den Bereits•haftsmodřs ("Standby") leř•htet ařf.
Das Geret ist jetzt betriebsbereit. Falls das Symbol nicht aflerhtet, blettern Sie bitte eiter ürr „Allgemeinen Fehlershe ñnd –beseitigng“ aïf Seite 8 dieser Anleitng.
ZerRleinern vÜn PaEier und KreditRarten
Führen Sie das Papier im Ho•hformat in die entspre•hende Einfřhrbffnřng. Das Papier ěird von Sensoren erkannt, das S•hneiděerk startet řnd das Papier ěird ařtomatis•h eingeůogen. Křrůe Zeit na•hdem si•h kein Papier mehr im S•hneiděerk befindet, stoppt es ěieder. Bei Bedarf knnen Sie das Geręt mit der Taste ⏻ in einen Standby-Modřs versetůen řm Strom ůr sparen. Kreditkarten führen Sie bitte mit der s•hmalen Seite voran in der Mitte der Einfřhrbffnřng ein.
Um vom Standby in den Betriebsmodřs úř če•hseln drý•ken Sie bitte erneřt die Taste Bitte bea•hten Sie dabei die maximale Anúahl an Blettern. Informationen daúř finden Sie arř dem Geret oder in der na•hfolgenden Tabelle „Prodřktspeůifikationen“.
Überladung:
Sollten Sie mehr Papier einlegen, als die Mas•hine ařf einmal verarbeiten kann, leř•htet die žberladeanůeige rot ařf řnd das S•hneiděerk stoppt sofort. In diesem Fall redrůieren Sie die Anůahl der Blętter řnd versřøhen es erneřt. Sollte die ařtomatishe Fřnktion ůrr Beseitigřng einer Stbrňng ni•ht fřnktionieren, drů•ken Sie bitte den Ařfěértspfeil ^A m das Papier ůr entfernen. Die Mas•hine ist dann čieder im normalen bůě. im Standby-Modřs.
ZerŘleinern vŮn CDě/DVDě
Führen Sie CDs/DVDs einüeln řnd naheinander in den dafür vorgesehenen Sôhlitu ein. Fassen Sie dabei nicht in das Loh in der Mitte der CDs/DVDs, hier droht Verletürngsgefahr!
Manueller Einzug:
Falls ein Papier ür dunn oder ür dřr•hsi•htig ist řm von den Sensoren erkannt ür ěerden, drč•ken Sie bitte den Vorěertsknopf ∨Sie kbnnen die Vorěerts- řnd Rč•kěertsknbpfe ař•h verěenden řm das S•hneiděerk von anhaftenden Papierresten ür befreien.
Überřitzung:
Wenn Sie die angegebene Zeit des maximalen Dařerbetriebs ćbers•hreiten (min. 1 Střnde), kann es passieren, dass der Motor ćberhitůt. In diesem Fall stoppt das S•hneiděerk řnd die žberhitůringsanůeige blinkt rot. Die Mas•hine ěe•hselt ůrm Abkчhlen in den Standby-Mode řnd kann ěeiter verěendet ěerden, na•hdem die Anůeige ařfhbrt ůr blinken.
Entfernen vÜn PaÉierreëten:
S•halten Sie das Geret ab rnd üiehen Sie den Netüste•ker. Entfernen Sie den Aïffangkorb. Entfernen Sie eventřell anhaftende S•hnipsel ařs dem S•hneiděerk. Die Klingen sind sehr s•harf, seien Sie daher besonders vorsi•htig! Setüen Sie den Aïffangkorb ëieder ein, ste•ken Sie den Netüste•ker ein rnd s•halten Sie das Geret ëieder ein. Sie können mit dem Geret ěeiter arbeiten.
Auěcřalten:
S•halten Sie das Geret am Harpts•halter arf der R4•kseite ab rm es komplett abürs•halten.
PrÚduŘtěĚezifiŘatiŮnen
| Müdell | Abmeëungen (cm) | Sicřeřeš-ětuře DIN 66399-2 | GrbMe Scnittgut (mm) | Maň. Anzaří Blítter | Arbeitě-breite (mm) | Netzěžennung /Nennětrům /Nennleičtung | Fačengě-Vermýgen Beřílter (I) | Getičr(třg) | Lautětnřře (dB) | Dauerbetrieb |
| 3S16 | B: 34,5P-4 4x35L: 24,0H: 52,0 | 12 21/1,2A/240 W | 19 | 220-240V AC, 50/60Hů | 16 10 | 00 58 | 1 Střnde | |||
| 4S16 | B: 34,5L: 24,0H: 52,0 | P-5/1,2A/240 W | 2x10 | 6 | 219 | 220-240V AC, 50/60Hů | 16 10 | 00 58 | 1 Střnde | |
| 3S23 | B: 37,0P-4 4x35L: 27,0H: 56,0 | 14 21/1,4A/250 W | 19 23 11,50 58 2 | Střnden | 220-240V AC, 50/60Hů | |||||
| 4S23 | B: 37,0L: 27,0H: 56,0 | P-5/1,4A/250 W | 2x10 | 8 | 219 | 220-240V AC, 50/60Hů | 23 | 11,50 | 58 | 2 Střnden |
| 3S30 | B: 41,0P-4 4x35L: 30,5H: 62,0 | 18 | 219 | 220-240V AC, 50/60Hů 17,50 58 4 Střnden/1,5A/280W | 30 | |||||
| 4S30 | B: 41,0P-5 2x10L: 30,5H: 62,0 | 10/280W | 219 | 220-240V AC, 50/60Hů 30 17,50 58 /1,5A | 4 Střnden | |||||
| 5S30 | B: 41,0P-6 1x6 L: 30,5H: 62,0 | /280W | 219 | 220-240V AC, 50/60Hů 1,5A | 30 17 | 50 58 4 | Střnden | |||
Ert'heiterte Get'nǐrleiětung:
Bonsaii geëehrleistet eine einëandfreie Fënktion der Gerete der S- Serie (3S16, 4S16, 3S23, 4S23, 3S30, 4S30 řnd 5S30) für die Daer von 3 Jahren.
Innerhalb dieses Zeitrařmes ab Kařfdatřm bietet Bonsaii kostenfreien Servi•e řnd Unterstytůřng. Diese Geěçhrleistřng beüieht si•h ledigli•h ařf die Qřalitet der Verarbeitřng řnd eventřelle Material- oder Montagefehler. Eine fehlerhafte Benřtůřng, Vers•hleiíy, geěbhnli•he Abnřtůřng řnd řnařtorisierte Reparatřren der Mas•hine sind davon ařsdrý•kli•h ařsgenommen.
Aïf die Klingen des Söhneidëerks übernimmt Bonsaii eine Geëehrleistring von 7 Jahren ab Kaïfdatrîm beüçglih Material- ñnd Verarbeitringsfehlern.
Sollte in diesen Zeitrežmen ein entsprechender Defekt ařftreten, entsheidet Bonsaii, ob eine Reparatír des defekten Bařteils oder ein Ařstařsěh der gesamten Masěhine vorgenommen ěird. Die Kosten für die entsprechende Mašnahme tregt Bonsaii.
Diese Geëehrleistřng gilt ni•ht fúr Defekte, die ni•ht řnmittelbar dǐr•h den Gebrař•h entstanden sind oder dǐr•h missbręř•hli•he Verěendřng (anders als die hier bes•hriebene), oder mǐtěillige Zerstbřrňg herbeigefúhrt ěěrden. Sie gilt ař•h ni•ht fúr S•heden, ěel•he dǐr•h Verěendřng einer řngeeigneten Stromversorgřng (s. Ařfkleber am Geręt) oder řnařtorisierte Reparatřren verrsa•ht ěěrden.
Bonsaii behelt si•h das Re•ht vor, Kosten, die fyr eine Reparatír oder Ersatúteile ařbierhalb des Landes in dem das Geret řrsprчngli•h von einem ařtorisierten Verkeřfer gekařft ěěrde, an den Křnden úř bere•hnen.
GarantieabtícRlung
Sollte dieses Geret ěider Erěarten ni•ht einěandfrei fřnktionieren, so bea•hten Sie bitte Folgendes: Die Garantieůeit betręgt bei sa•hgere•hter Nřtůřng 3 Jahre ab Kařfdatřm. Beěahren Sie bitte den Kařfbeleg řnd die Originalverpa•křng ařf. Der Kařfbeleg gilt als Na•hěeis eines Garantieansprř•hs. Die Garantieleistřng gilt nǐr fùr Material- oder Fabrikationsfehler, ni•ht aber fùr Bes•hędigřngen an ůerbre•hli•hen Teilen, ů.B. am Gehęše. Geręte, die von ařbien dřr•h řnsa•hgemębien Gebrař•h bes•hędigt ěérden, sind vom Umtařs•h ařsges•hlossen. Eine Garantie erlis•ht, ěenn Reparatřren ohne ařsdrч•kli•he Einěilligřng řnseres Křndenservi•es dřr•hgefúhrt ěérden.
Garantiereparatřren kbnnen nǐr mit beigefugtem Kařfbeleg erfolgen – jede Rčksendřng bitte telefonis•h anmelden! Es kbnnen nǐr ařsrei•hend frankierte Rčksendřngen mit entspre•hender Retořrennýmmer angenommen ěerden. Bitte geben Sie immer Name, Straße, PLZ, Wohnort řnd Telefon mit Vorěahl řnd den Grínd Ihrer Reklamation an.
Herüli•hen Dank für Ihr Verstendnis!
Unsere Servi•e Hotline:
Alle R4•ksendřngen senden Sie bitte na•h erfolgter Anmeldřng ařsrei•hend frankiert an folgende
Adresse: Dieter Gerth GmbH|Bonsai-Servi•e-|Berta-Cramer-Ring 22|D-65205 Wiesbaden
Allgemeine Feřlerěucře und -beěeitigung
| Feřler Feřleranalůče Feřlerbeřebung | |
| Das Geret arbeitetni•ht | Stromans•hlíss am Geret řnd ander Ste•kdose korrekt? |
| Ařffangbehělter korrekt platúiert? | |
| Ist das Stromkabel bes•hédigt? | |
| Ist mægli•herěeise der Motor ʊberhitút? Blinkt das Symbol? | |
| Ist das Papier ër dunn řm von Sensoren erkannt ër ěerden? | |
| Wollen Sie ër viel Papier ařf einmal verni•hten? | |
| S•hneiděerkblo•kiert | Papierstař? |
| S•hneiděerk stopptni•ht | Blo•kieren Papierreste oder Fremdmaterial die Sensoren? |
| Zř lařtesArbeitsgeręřs•h | Ist der Untergerřnd řneben? Steht das Geret gerade? |
Wenn die Üben ěteřenden MaMnařmen Řeine Abřilfe ěcřaffen RÜntaRtieren Sie bitte Iřren BÜněaii-Hándler.
Wartung und Reinigung deě Geríteě
Da die Klingen des Söhneidëerks sehr s●harf sind řnd der Motor sehr kraftvoll arbeitet, sollten Sie geeignete Vorsi●htsmaßnahmen treffen, řm ür vermeiden, dass bei der tegli●hen Arbeit mit dem Geret Teile von Kleidřngsstøyken, Kraëatten, Tøyher oder Haare in das Geret gelangen knnnen!
Den Aïffangbehélter mψssen Sie regelmęblig kontrollieren řnd ggf. ařsleeren řm einen reibřngslosen Betrieb ůr geěehrleisten. Kontrollieren Sie von Zeit ůr Zeit ařh die Grbые der Materialteiløhen, da dřr•h Vers•hleib oder Bes•hedigřngen des S•hneiděerks die Si•herheit der verni•hteten Daten abnehmen kann.
Für einen daßerhaft leisen řnd flüssigen Betrieb empfehlen ěir etěa alle 500 Blatt einen Bonsaii Pflegekit (Cleaning-Kit) dřr•h das S•hneiděerk lařfen ůr lassen. Dadřr•h ěird das S•hneiděerk glei•hermabien gereinigt, geblt řnd gepflegt. Den Pflege-Kit erhalten Sie im Fa•hhandel oder bei der Bonsaii Servi•e Hotline.
Um eine lange Lebensdařer des Gerètes üř erreihen, sollten Sie mbglihst rnterhalb der tehnis h mbglihen Maximalanůahl an Blettern arbeiten.
Zǐr Reinigǐng des Gerètes üiehen Sie bitte üřerst den Netůste•ker. Anš•hliebíend kbnnen Sie das Geręt mit einem Tř•h řnd etěas milder Seifenlårge von ařbien reinigen. Das Tř•h sollte dabei nǐr feř•ht řnd keinesfalls nass sein. Vermeiden Sie ařf jeden Fall das Eindringen von Flússigkeit in die S•hneideeinheit. Verěenden Sie keinesfalls Blei•hmittel, Alkohol, Reinigǐngsbenůin oder andere brennbare Flússigkeiten.
VerĚacŘungěinřalt
| Artikel Aktenverni•hter Stromkabel Bedienřngsanleitřng | |||
| Menge 1 1 EU / 1 UK 1 | |||
EntěÜrgung:

Ri•htlinie 2002/96/EC ür Behandlǐng, Sammlǐng, Wiederverěertǐng řnd Entsorgǐng von Elektro- řnd Elektronikgeręten řnd deren Bestandteile (ěaste ele•tri•al and ele•troni•eqřipment –WEEE).
Das dřr•hkreřüte Symbol eines Myll•containers ěeist darařf hin, dass das Geret ni•ht im Hařshaltsmyll entsorgt ěerden darf, sondern in dafür ařsgerůsteten Sammelüentren ürr sa•hgemęyien Wiederverěertřng bůě. Entsorgřng abúřgeben ist.
Ricřtlinien:

Dieses Geret entspricht den Anforderungen gemęty der EU-Ri•htlinie 2004/108/EC „Elektromagnetische Verträglichkeit“ řnd 2006/95/EC „Niederspannǐngsri•htlinie“.
Engliěř
S-ěerieě ĘaĚer ěřredder Uěer manual

MÜdel 3S16 Ü 4S16 Ü 3S23 Ü 4S23 Ü 3S30 Ü 4S30 Ü 5S30
01/2013
Table Úf cÛntentě
INTENDED USAGE.... 11
MÜdelÜ 3S16 Ü 4S16 Ü 3S23 Ü 4S23 Ü 3S30 Ü 4S30 Ü 5S30
01/2013
Tabla de cÛntenidÛë
USO PREVISTO 39
MÜdel 3S16 Ü 4S16 Ü 3S23 Ü 4S23 Ü 3S30 Ü 4S30 Ü 5S30
01/2013
InřÚuděÜÉgave
NORMAAL GEBRUIK.... 48
VEILIGHEIDSINFORMATIE 49
OVERZICHT 50
INSTALLATIE EN GEBRUIK 50
PRODUCTSPECIFICATIE 53
VERLENGDE GARANTIE: 53
GARANTIE AANSPRAAK....54
ALGEMENE PROBLEMEN OPLOSSEN 55
ONDERHOUD EN REINIGING 55
INHOUD VERPAKKING.... 56
AFVAL VERWIJDERING: 56
RICHTLIJNEN: 56
NÜrmaal gebruiR
MÜdelÜ 3S16 Ü 4S16 Ü 3S23 Ü 4S23 Ü 3S30 Ü 4S30 Ü 5S30
01/2013
Índice
UTILIZAŚWO ADEQUADA 58
INFORMAŚWES DE SEGURANÍA 59
PANORÂMICA 60
MÜdel 3S16 Ü 4S16 Ü 3S23 Ü 4S23 Ü 3S30 Ü 4S30 Ü 5S30
01/2013
Obsah
URČENÉ POUŽITÍ 67
BEZPEČNOSTNÍ POKYNY 68
PŘEHLED 69
INSTALACE A PROVOZ 69
SPECIFIKACE VÝROBKU 71
OMEZENÁ ZÁRUKA....71
ZÁRUČNÍ REKLAMACE 72
ŘEŠENÍ OBECNÝCH PROBLÉMŮ 73
ÚDRŽBA ZAŘÍZENÍ A ČIŠTĚNÍ 73
OBSAH BALENÍ....74
LIKVIDACE ODPADU....74
SMĚRNICE: 74
Určené použitk
MÜdel 3S16 Ü 4S16 Ü 3S23 Ü 4S23 Ü 3S30 Ü 4S30 Ü 5S30
01/2013
Spis treści
ZASTOSOWANIE....86
INFORMACJE DOTYCZĄCE BEZPIECZEŃSTWA....87
INFORMACJE OGÓLNE....88
MONTAŻ I OBSŁUGA....88
SPECYFIKACJE PRODUKTU 90
ROZSZERZONA GWARANCJA: 91
WARUNKI GWARANCJI....91
ROZWIĄZYWANIE PROBLEMÓW – INFORMACJE OGÓLNE....92
CZYSZCZENIE I KONSERWACJA URZĄDZENIA....92
ZAWARTOŚĆ OPAKOWANIA....93
UTYLIZACJA: 93
DYREKTYWY: 93
EinfachAnleitung