TU1500RD - Netzwerk-Audioplayer DENON - Kostenlose Bedienungsanleitung
Finden Sie kostenlos die Bedienungsanleitung des Geräts TU1500RD DENON als PDF.
Benutzerfragen zu TU1500RD DENON
0 Frage zu diesem Gerät. Beantworten Sie die, die Sie kennen, oder stellen Sie Ihre eigene.
Eine neue Frage zu diesem Gerät stellen
Laden Sie die Anleitung für Ihr Netzwerk-Audioplayer kostenlos im PDF-Format! Finden Sie Ihr Handbuch TU1500RD - DENON und nehmen Sie Ihr elektronisches Gerät wieder in die Hand. Auf dieser Seite sind alle Dokumente veröffentlicht, die für die Verwendung Ihres Geräts notwendig sind. TU1500RD von der Marke DENON.
BEDIENUNGSANLEITUNG TU1500RD DENON
BEDIENUNGSPANLEITUNG
MODE D'EMPLOI
ISTRUZIONI PER L'USO
Um these Gerät vollständig von der Stromversorgung abzutrennen, trennen Sieitte den Netzstecker von der Wandsteckdose ab.
Stellen Sie bei der Aufstellung deses Gerätes sichere, dass die zu verwendende Wechselstrom-Steckdose leicht zuganglich ist.
PRECAUTION:
- UBEREINSTIMMUNGSEKLERUNG
Wir erklaren unter unserer Verantwortung, daß diesen Produkt, auf das sich diese Erklärung bezieht, den folgenden Standards entspricht:
EN60065, EN55013, EN55020, EN61000-3-2 und EN61000-3-3
Entspricht den Verordnungen der Direktive 73/23/EEC, 89/336/EEC und 93/68/EEC.
- DECLARATION DE CONFORMITE
EN60065, EN55013, EN55020, EN61000-3-2 et EN61000-3-3.
Auch wenn sich der Netzschalter im STANDBY-Status befindet, ist das Gerät noch immer an die Wechselstrom-Leistungsspannung angeschlossen.
Stellen Sieittebsicher,dassiedenNetzschalterausschaltenoderdasNetzkabelabtrennen,wenSiehrHeimbeiselsweisefüreunUlaubverlassen.
Die Beluftung solte auf keinen Fall durch das Abdecken der Beluftungsöffnungen durch Gegenstände wie beispelsweise Zeitungen, Tischtücher, Vorhange o. A. befindert werden.
- Auf dem Gerät sollen den keinerlei direkten Feuerquellen wie beispisseweise angezündete Kerzen aufgestellt werden.
-itte beachten Sie bei der Entsorgung der Batterien die geltenden Umweltbestimmungen.
- Das Gerät solte keinerlei Flüssigkeit, also keinem Tropfen oder Spritzen ausgesetzt werden.
- Auf dem Gerät sollenen keinerlei mit Flüssigkeit gefüllten Behälter wie beispisseweise Vasen aufgestellt werden.
ATTENTION:
Das Verpackungsmaterial这点 Produktes ist für zum Recyclen geeignet und kann wieder verwendert werden.itte entsorgen Sie alle Materialien entsprechend der ortlichen Recycling-Vorschriften.
Beachten Sie bei der Entsorgung des Gerätes die örtlichen Vorschriften und Bestimmungen.
Die Batterien dürfen nicht in den Hausmüll geworfen oder verbrannt werden;itte geben Sie die Batterien gemäß örtlichen Bestimmungen an denSammelstellen oder Sondereinflätzen ab.
Dieses Produkt zusammen mit den Zubehörheiten ist das geltende Produkt der WEEE-Directive, davon ausgenommen sind die Batterien.
UNE REMARQUE CONCERNANT LE RECYCLAGE:
Vor Inbetriebnahme 1
Vorsichtsmaßnahmen zur Installation 2
Einlagen der Batterien 2
Betriebsbereich der Fernbedienung 3
Bezeichnung der Teile und deren Funktionen
Vorderseite 4
Rückseite 4
Fernbedienung 5
Anschlusse
Anschluss der Antennen 6
Kabelkennungen 7
Anschluss des Verstärkers 7
Anschluss des Netzkabels 7
Betrieb
Einschalten der stromversorgung 8
Radiohoren UKW/MW
Automatischer UKW-Voreinstellungsspeicher. 8
Automatische Sendereinstellung (UKW/MW) 9
Manuelle Sendereinstellung (UKW/MW) 9
Gespeicherte Sender (UKW/MW) 10
Abruf gespeicherter Sender (UKW/MW) 10
RDS (Radio-Data-System) 11
RDS-Suche 12
Programtyp-Suche (PTY) 13
Verkehrsfunk-Suche (TP) 14
RT (Radiotext) 14
Umschaltung des RDS-Informationsdisplays. 15
Registrierung von Sendernamen 15, 16
Letztunktionsspeicher 16
Initialisierung des Mikroprozessors 16
Fehlerische 17
Technische Daten 18
Zubehör
Stellen Sie sichere, dass die nachfolgend aufgeführten Zubehrorteile dem Hauptgerät beiliegen:
① Betriebsanleitung. 1
② Kundendienstverzeichnis 1
③ Stiftstecker-Kabel. 1
④Netzkabel

③

4

5
⑥ R03/AAA-Batterien. 2
⑦ MW-Rahmenantenne. 1
⑧ UKW-Zimmerantenne 1
Vor Inbetriebnahme
Da与此 Gerät mit einer Vielzahl von Funktionen ausgestattet ist, sollen den Sie vor der Aufstellung und Inbetriebnahme unbedingt einen Blick auf das Inhaltsverzeichnis dieser Betriebsanleitung werfen.
Beachten Sie vor der Inbetriebnahme des Gerätes die nachfolgend aufgeführten Hinweise:
- Transport des Gerätes
Um sowohl Kurzschlüsse als auch eine Beschädigung der Drahte in den Anschlusskabeln zu vermeiden, müssen vor einem Transport des Gerätes sowohl das Netzkabel als auch alle Anschlusskabel zwischen den einzelnen Audio-Komponenten abgetrennt sein.
V or der Einschaltung des Stromversorgungsschalters (ON/STANDBY)
Vergewissern Sie sich noch einmal, daß alle Anschlüsse richtig ausgeführct worden sind und es keinerlei Probleme mit den Anschlußkabeln gibt. Stellen Sie den Netzschalter vom dem Anschlieben bzw. Abtrennen von Anschlußkabeln stets auf die Standby-Position.
- Bewahren Sie diese Betriebsanleitung an einem sicheren Ort auf.
Bewahren Sie diese Betriebsanleitung nach dem Durchselen zusammen mit der Garantiekarte an einem sicheren Ort auf.
- Beachten Sieitte, dass die Abbildungen in dieser Betriebsanleitung fur Erklarungszwecke vom aktuellen Gerätemodell abweichen konnen.
Vorsichtsmaßnahmen zur Installation
Ton- und Bildstörungen konnen auftreten, wenn diese Gerät oder ein anderes Mikroprozessor anwendendes Elektrogerät in der Höhe eines Tuners oder Fernsehgerätes betrieben wird. Verfahren Sie in einem derartigen Fall wie nachfolgend aufgeführ:
- Installieren Sie das Gerät in großsmöglicher Entfernung zum Tuner oder Fernsehgerät.
- V erlegen Sie die Antennendrähte vom Tuner oder Fernsehgerät in ausreichender Enternung sowohl zum Netzkabel als auch zu den Eingangs-/ Ausgangsanschlusskabeln这点 Gerätes.
- T on- und Bildstörungen treten insbesondere bei Benutzung einer Zimmerantenne oder beim Anschluss von 300 Ω/Ohm Zuleitungen auf.
Wir empfehlen die Verwendung von AuBenantennen und 75 / Ohm Koaxialkabeln.


Hinweis:
Um einen Wärnestau zu vermeiden, installieren Sie diese Gerätitte nicht an Orten mit begrenzter Luftzufuhr, wie zum Beispiel in Regalen o.ä.
Einlagen der Batterien
① Entfernen Sie die Rückwärte Abdeckung der Fernbedienung.

② Legen Sie die zwei R03/AAA-Batterien in der angegebenen Richtung in das Batteriefach ein.

③ Setzen Sie die rückwärte Abdeckung wieder auf.

Hinweise zu Batterien:
- T auschen Sie die Batterien durch neue aus, falls das Gerät selbst beim Verwenden der Fernbedienung in der unmittelbaren Höhe des Gerätes nicht mehr bedient werden kann. (Die mitgelieferte Batterie ist ausschließlich für Testzwecke vorgesehen.)
- Achten Sie beim Einlagen der Batterien unbedingt auf die richtige Ausrichtung der Polaritäten. Folgen Sie den "+" Zeichen im Batteriefach.
-
Um Beschädigungen oder ein Auslaufen von Batterieflüssigkeit zu vermeiden:
-
V verwenden Sie keine neuen und alten Batterien zusammen.
- V erwenden Sie keine verschiedene Batterietypen möglichstig.
-
Schließen Sie Batterien nicht kurz, zerlegen und erhitzen Sie sie nicht und werden Sie Batterien niemals in offenes Feuer.
-
Solle eineinmal Batterieflüssigkeit ausgelaufen sein, so wischen Sie das Batteriefach sorgfältig aus und legen Sie neue Batterien ein.
- Beim Austauschen der Batterien sollen den Sie sofort neue Batterien zur Hand haben und diese so Schnell wie möglich einlagen.
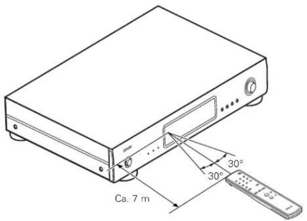
Betriebsbereich der Fernbedienung

- Richten Sie die Fernbedienung - wie im Diagramm gezeigt auf den Fernbedienungssensor am Hauptgerät.
Die Reichweite der Fernbedienung beträgt aus gerader Entfernung vom Hauptgerät ca. 7 Meter. Diese Entfernung verkurzt sich jedoch, wenn Gegenstände im Weg stehen oder die Fernbedienung nicht direkt auf den Fernbedienungssensor gerichtet wird. - Die Fernbedienung kann in einem horizontalen Winkel von bis zu 30 Grad zum Fernbedienungssensor betrieben werden.
HINWEIS:
- Der Betrieb der Fernbedienung ist möglicherweise schwierig, wenn der Fernbedienungssensor direktem Sonnenlicht oder starkem künstlichem Licht ausgesetzt ist.
- Drücken Sie keine Tasten am Hauptgerät und auf der Fernbedienung gleichzeitig, da dies in einer Fehlfunktion resultieren wurde.
- Neonschild oder andere sich in der Nähe befindliche impulsartige Störungen ausstrahlende Geräte konnen Fehlfunktionen verursachen. Halten Sie die Anlage soweit wie möglich von derartigen Einrichtungen fern.
Bezeichnung der Teile und deren Funktionen
Einzelheiten zu den Funktionen der einzelnen Bauteile finden Sie auf den in Klammern ( ) angegebenen Seiten.
Vorderseite
1 Netzbetriebschalter (ON/STANDBY)
Beim Drucken wird die Stromversorgung eingeschaltet und das Display leuchtet auf. Der Stummschaltungsmodus wird für eine Sekunden aktiviert, und anschließend Funktioniert der TU-1500AE normal. Bei einem erneuten Drucken wird das Gerät in den "Standby"-Modus geschalte und das Display erlischt.
STEREO-Anzeige
Im AUTO-Modus leuchtet these Anzeige, wenn eine Stereosendung empfangen wird. (Seite 9)
TUNED (Abstimm-Anzeige)
These Anzeige leuchtet, wenn die Signalstarke der Empfangsfrequency mindestens den bestimmen Pegel erreicht. (Seite 9)
4 Verkehrsfunk-Anzeige
Dieses Anzeige leuchtet beim Empfang von RDS-Rundfunksendungen und blinkt während des RDS-Suchlaufes. (Seite 11 ~ 14)
ON/STANDBY-Anzeige
These Anzeige leuchtet, wenn sich der TU-1500AE im "ein"-oder "standby"-Modus befindet.
Fernbedienungssensor
Dies ist der Fernbedienungs-Signalsensor.
7 Display
DIMMER-Taste
Die Helligkeit des Displays kann in drei Stufen eingestellt werden.
Drucken Sie diese Taste, um die Helligkeit zwischen Hoch, Mittel und Niedrig in dieser Reihenfolge umzuschalten.
BAND-Taste
Drucken Sie diese Taste, um den Wellenbereich zwischen UKW und MW umzuschalten. (Seite 9)
10 AUTO PRESET-Taste
Wenn these Taste gedrück wird, während der UKW-Wellenbereich eingestellt ist, sichert der TU-1500AE nach Sendern, die in Stereo empfangen werden konnen, und bis zu 100 Sender werden automatisch unter den voreingestalten Kanalen gespeichert. (Die Sender werden der Reihe nach beginnend mit Kanal "A1" gespeichert.) (Biete 8)
1 MENU-Taste
Drücken Sie diese Taste, um den MENU-Modus einzustellen. (Seite 10 ~ 15)
TUNING/PRESET-knopt
Verwenden Sie im Abstimmungsmodus diesen Knopf, um den Wellenbereich anzuheiten oder abzuseken. Drehen Sie den Knopf im Uhrzeigersinn, um den Wellenbereich anzuheiten, und drehen Sieihn entgegen dem Uhrzeigersinn, um den Wellenbereich abzuseken. Verwenden Sie den Knopf zusammen mit der MENU-Taste, um die Moduseinstellung umzuschalten. (10 ~ 16)

NOTIZ
- Immer wenn sich das Gerät im STANDBY-Modus befindet, ist es noch immer an die Wechselstrom-Leitungsspannung angeschlossen.
Stellen Sieitte sicher,dassie den Netzstecker aus der WandsteckdoseziehenwennSieIhrHeimbeispielsweise fur einenUrlaubverlassen.
-
W enn während des Radioempfangs ein Fernsehgerät in der Nähe eingeschaltet ist, kann es zu Störungen kommt. Der Tuner sollte aus thisem Grund so welt wie möglich von einem Fernsehgerät aufgestellt werden.
-
Das Gerät ist ebenfalls mit einem Sicherungsspeicher ausgestattet. Mithilfe dieser Funktion bleibt der Speicherinhalt gespeichert, auch wenn die Stromversorgung ausgeschaltet und das Netzkabel abgezogen wird.
Rückseite
UKW-Antennenklemmem (ANTENNA TERMINAL FM)
75 Ω/ohm Koaxialkabel konnen an diese Buchsen angeschlossen werden. Beziehen Sie sich für den Anschluß auf den Abschnitt "Anschlüsse". (Seite 6)
14 MW-Antennenklemmem (ANTENNA TERMINAL AM)
Schlieben Sie die mitgelieferte MW-Antenne an. (Seite 6)
An diese Klemme anschließen, wenn eine Mittelwellen-Außenantenne verwendet wird.
15 Analoge Ausgangsbuchsen
Schlieben Sie diese Buchsen an die TUNER-Eingangsbuchsen des Vorverstärkers an. (Siete 7)
16 Wechselsteom-Eingang
Schlieben Sie hier das mitgelieferte Wechselstromkabel an. (Seite 7)
Fernbedienung

1 POWER-Taste
Drücken Sie diese Taste, um vom Standby-Modus in den Betriebsmodus umzuschalten. (Seite 8, 16)
2 CHANNEL-Tasten (1 ~ 10)
Verwenden Sie diese Taste für die Voreinstellung und den Aufruf von Sendern. Verwenden Sie diese Tasten auch zusammen mit dem SHIFT- und MEMORY-Tasten, um eine Gesamtanzahl von 100 voreingestellen Kanälen verwenden zu können: A (1~10), B (1~10), ... J (1~10). (Siete 10)
3 MEMORY-Taste
Im Speicher können Frenzen und Sendernamen abgelegt werden. Beim Drücken dieser Taste blinkt die "MEMO"-und "CH"-Anzeige auf dem Display für 10 Sekunden. Verwenden Sie die SHIFT- und CHANNEL-Tasten während dessen, um den gewürschten Voreinstellungskanal zu bestimmen. (Seite 10)
4 DISPLAY-Taste
Wahlen Sie mit dieser Taste den Display-Modus aus. (15)
Seite 11, 15)
5 PRESET-Tasten
These Tastes wird für die Auswahl von Radio-Voreinstellungen verwendet. (2017)
6 SHIFT-Taste
Wahlen Sie mit dieser Taste die Speicherblöche aus: A (1 ~ 10), B (1 ~ 10), ... J (1 ~ 10). (Seite 10)
7 AUTO/MANU-Taste
Verwenden Sie diese Taste, um den automatischen Abstimmungsmodus oder manuellen Abstimmungsmodus auszuwahlen.
Wenn Sie im automatischen Abstimmungsmodus die TUNING-Taste drucken, beginnt die automatische Suehe und wird beim Einstellen eines Senders gestoppt. Wenn Sie im manuell den Abstimmungsmodus die TUNING-Taste drucken, wird die Frequenz kontinuierlich umgeschaltet. (1997)
BAND-Taste
Wahlen Sie UKW (FM) oder MK (AM) aus. (2018 8, 9, 16)
9 TUNING-Tasten
Verwenden Sie diese Tasten, um die Empfangsfrequency auf eine higherer Frequenz (▲) oder eine niedrigere Frequenz umzuschalten (▼). (Seite 9)

Anschluss der Antennen
MW-Rahmenantenbaugeurope


HINWEIS:
- Schlieben nicht zwei UKW-Antennen gleichzeitig an.
- Selfst wenn eine externe MW-Antenne angeschlossen ist, entfernen Sie nicht die MW-Rahmenantenne.
- Stellen Sie sicher, dass keine blanken Antennenanschlussdritte die Metalteile des Anschlussfeldes berühren.
DEUTSCH DE
Anschlusse
Kabelkennungen
Die Bauteileschaltpläne auf den nachfolgenden Seiten setzen Sie Verwendung der folgenden optionalen Anschlusskabel voraus.
| Audio-Kabel | Signalrichtung |
| A Analog-Anschluss (Stereo) (Zum Veränderker) L (Weir) R (Rot) Stiftstecker-Kabel | Audiosignal IN OUT OUT IN |
Anschluss des Verständers

Anschluss des Netzkabels



Einschalten der stromversorgung
Einstellung des Gerätes in den "ein"-Modus
Drucken Sie die ON/STANDBY- oder POWER-Taste.
- Das Display leuchtet und der TU-1500AE ist betriebsbereit.
Einstellung des Gerätes in den "standby"-Modus
Drücken Sie die ON/STANDBY-Taste oder die POWER-Taste, wenn sich das Gerät im “ein”-Modus befindet.
Nun ist das Gerät in den "standby"-Modus eingestellt.
Radiohoren UKW/MW
Automatischer UKW-Voreinstellungsspeicher
1 Drücken Sie die BAND-Taste, um den "FM"-Wellenbereich auszuwahlen.
F M
2 Drucken Sie die AUTO PRESET-Taste.
PRES
- Der automatische Voreinstellungsmodus wir eingestellt und die "AUTO PRESET"-Anzeige auf dem Display blinkt.
Nun wird automatisch nach UKW-Sendern gesucht, und anschließend werden dieser der Reihe nach unter den voreingestellten Kanälen mit "A1" beginnend gespeichert. - Der erstige FM-Sender wird im Stationsspeicher auf Platz "A1" gespeichert.
Nachfolgende Sender werden automatisch nach einander auf den Stationsplatzen A1 bis A10, B1 bis B10, C1 bis C10, D1 bis D10, E1 bis E10, F1 bis F10, G1 bis G10, H1 bis H10, I1 bis I10 und J1 bis J10 gespeichert (maximal 100 Sender).
- P latz "A1" wird eingestellt, nach dem die automatische Stationsspeicherung abgeschlossen ist.

- Falls das Sendesignal eines Senders zu schwach ist, um es im automatischen Voreinstellungsmodus einzustellen, stellen Sie den Senderitte manuell ein. (191e 10)
STANDARDWERTE
| Autom. Tuner-Voreinstellungen | |
| A1 ~ A10 | 87.5 / 89.1 / 98.1 / 108 / 90.1 / 90.1 / 90.1 / 90.1 / 90.1 / 90.1 MHz |
| B1 ~ B10 | 522 / 603 / 999 / 1404 / 1611 kHz, 90.1 / 90.1 / 90.1 / 90.1 / 90.1 MHz |
| C1 ~ C10 90.1 MHz | |
| D1 ~ D10 90.1 MHz | |
| E1 ~ E10 90.1 MHz | |
| F1 ~ F10 90.1 MHz | |
| G1 ~ G10 90.1 MHz | |
| H1 ~ H10 90.1 MHz | |
| I1 ~ I10 90.1 MHz | |
| J1 ~ J10 90.1 MHz | |
DEUTSCH DE
Betrieb


Automatische Sendereinstellung (UKW/MW)
1 Drücken Sie für die Auswahl von “FM” oder “AM” die BAND-Taste.
F M
2 Drucken Sie für die Einstellung von "AUTO" die AUTO/MANU-Taste.
- Bei eingestellttem automatischen Abstimmungsmodus wird "AUTO" rechts von der Frequenz auf dem Display angezeigt.
FM87.50MHz AUTO
2 Drucken Sie die TUNING ▲▼-Taste.
Die automatische Abstimmung wird gestartet.
- D rücken Sie die TUNING-Taste, um automatisch zu hohenen Frenzen umzuschalten, und die TUNING-Taste, um automatisch zu niedrigeren Frenzen umzuschalten.

- Die TUNED-Anzeige leuchtet und die Abstimmung wird gestoppt, wenn eine Frequenz eingestellt wurde, deren Signalstarke mindestens den bestimmen Pegel erreicht.
Die STEREO-Anzeige leuchtet, wenn im UKW-Wellenbereiche eine Stereosendung empfangen wird.
Manuelle Sendereinstellung (UKW/MW)
1 Drücken Sie für die Auswahl von “FM” oder “AM” die BAND-Taste.
2 Drücken Sie die AUTO/MANU-Taste, um den automatischen Sendereinstellungsmodus einzustellen.
- Bei Einstellung des manuellen Abstimmungsmodus wird das auf dem Display angezeigte Wort "AUTO" rechts von der Frequenz ausgeblendet.
FM87.50MHzA
2 Drucken Sie die TUNING ▲▼-Taste.
- Halten Sie die TUNING ▲-Taste gedrückt, um zu hoheren Frenzen umzuschalten, und halten Sie die TUNING ▼-Taste gedrückt, um zu niedrigeren Frenzen umzuschalten.

- V erwenden Sie den manuellen Abstimmungsmodus, um Sender einzustellen, deren Signal zu schwach ist für eine Einstellung im automatischen Abstimmungsmodus.
- I m manuellen Abstimmungsmodus werden die Signalezwangsweise eingestellt, und die STEREO-Anzeige leuchtet selbst dann nicht, wenn Stereosendungen im UKW-Wellenbereich empfangen werden.
Gespeicherte Sender (UKW/MW)
- Stellen Sie vor dem Beginn den voreinzustellenden Sender ein.
Betrieb über das Hauptgerät
1 Drücken Sie die MENU-Taste.
- Das Menu wird für 5 Sekunden angezeigt.
2 Drehen Sie während der Anzeige des Menüs den TUNING/PRESET-Knopf, um “Memory” auszuwahlen, und drücken Sie anschließend den TUNING/PRESET-Knopf.
- Der Voreinstellungsmodus wird eingestellt und die voreingestellte Kanalnummer blinkt für etwa 15 Sekunden.

3 Drehen Sie während des Blinkens der Kanalnummer den TUNING/PRESET-Knopf und wahlen Sie die gewüinschte voreingestellte Kanalnummer aus.

4 Drucken Sie die TUNING/PRESET-Knopf.
- Der gegenüber eingestellte Sender wird unter der ausgewählten voreingestellten Kanalnummer gespeichert.
Zur Voreinstellung weiterer Kanäle wiederholen Sie die Schritte 1 bis 4. - Insgesamt konnen 100 Sender sowohl unter UKW als auch unter MW voreingestellt werden.

- Falls ein Sender unter einer Kanalnummer voreingestellt wird, unter der bereits ein anderer Sender voreingestellt wurde, wird der zuvor gespeicherte Sender gelöscht und der neue Senderstatt dessen voreingestellt.
Betrieb über die Fernbedienung
1 Drucken Sie die MEMORY-Taste.
- Der Voreinstellungsmodus ist eingestellt.
2 Wahlen Sie die voreingestelle Kanalnummer aus.
- Drücken Sie die SHIFT-Taste, um den Speicherblock auszuwahlen, und verwenden Sie die CHANNEL-Tasten, um die Kanalnummer auszuwahlen.
- D ie voreingestellte Kanalnummer kann auch unter Verwendung der Tasten PRESET + und - ausgewählten werden.
3 Drucken Sie die MEMORY-Taste. Nun ist der Sender eingestellt.
Abruf gespeicherter Sender (UKW/MW)
Betrieb über das Hauptgerät
1 Drücken Sie die MENU-Taste.
2 Drehen Sie den TUNING/PRESET-Knopf, um den "Search Mode" auszuwahlen, und drücken Sie anschließend den TUNING/PRESET-Knopf.
3 Drehen Sie den TUNING/PRESET-Knopf, um den "Preset" auszuwahlen, und drücken Sie anschließend den TUNING/PRESET-Knopf.
- Nun ist der voreingestellte Suchmodus eingestellt.
Search Mode Preset
4 Drehen Sie den TUNING/PRESET-Knopf, um die vorcingestelle Kanalnummer auszuwahlen.
FM107.95MHz AUTO A1
Betrieb über die Fernbedienung
Wahlen Sie die voreingestelle Kanalnummer aus.
- Drucken Sie die SHIFT-Taste, um den Speicherblock auszuwahlen, und verwenden Sie die CHANNEL-Tasten, um die Kanalnummer auszuwahlen.
Die voreingestellte Kanalnummer kann auch unter Verwendung der Tasten PRESET + und - ausgewählten werden.
DEUTSCH DE

Betrieb
RDS (Radio-Data-System)
- RDS (funktioniert nur im UKW-Band) ist ein Service der Radiosender, die die Übertragung zusätzlicher Informationen mit dem regulären Sendesignal ermögen.
- Folgende drei RDS-Informationsystem konnen von dieser Gerät empfangen werden:
Programmtyp (PTY)
- PTY identifiziert den Typ eines RDS-Programmes.
Die Programmtypen und ihre Anzeigen sind:
| NEWS | Nachrichten | OTHER M | Andere Musik |
| AFFAIRS | Affären | WEATHER | Wetter |
| INFO | Information | FINANCE | Finanzen |
| SPORT | Sport | CHILDREN | Kinderprogramme |
| EDUCATE | Ausbildung | SOCIAL | Soziales |
| DRAMA | Drama | RELIGION | Religion |
| CULTURE | Kultur | PHONE IN | Höheranrufe |
| SCIENCE | Technik | TRAVEL | Reisen |
| VARIED | Verschiedenes | LEISURE | Freizeit |
| POP M | Popmusik | JAZZ | Jazz-Musik |
| ROCK M | Rock-Musik | COUNTRY | Country-Musik |
| EASY M | Easy Listening-Musik | NATION M | Volksmusik |
| OLDIES | Oldies | ||
| LIGHT M | Leichte Klassik | FOLK M | Folk-Musik |
| DOCUMENT | Dokumentationen | ||
| CLASSICS | Erste Klassik |

Verkehrsfunk (TP)
- TP identifiziert Programme, die Verkehrsnahrichten übertragen.
- Dies erlaubt Ichnen auf einfache Art, die aktuelle Verkehrsslage abzuhoren, bevor Sie Ihr Haus verlassen.
Radiotext (RT)
- RT ermöglicht den RDS-Sender Textnachrichten zu übertragen, die dann auf dem Display erschienen.

Die unten beschreiben Betriebe beim Drucken der DISPLAY-Taste Funktionieren nicht in Gebieten, in denen keine RDS-Sendungen zu Verfugung stehen.
RDS-Suche
Verwenden Sie diese Funktion, um automatisch UKW-Sender zu empfangen, die den RDS-Service aufweisen.
1 Drücken Sie die MENU-Taste, um das Menu auszuwahlen.
2 Drehen Sie den TUNING/PRESET-Knopf, um sich "RDS" anzeigen zu{lassen.
Please Select RDS
3 Drucken Sie die TUNING/PRESET-Knopf.
4 Drehen Sie den TUNING/PRESET-Knopf, um sich “RDS Search” anzeigen zu{lassen.
RDS Search
5 Drücken Sie den TUNING/PRESET-Knopf, um den RDS-Suche-Standby-Modus einzustellen.
6 Drehen Sie den TUNING/PRESET-Knopf nur eine Stufe im Uhrzeigersinn oder entgegen des Uhrzeigersinns.
RDS.Search
- Automatischer Start des RDS-Suchbetriebes.
Die RDS-Anzeige blinkt.
Wenn mit der oben beschriebenen Funktion keine RDS-Sender gefunden worden sind, werden alle Empfangsbänder abgesucht.
Wenn ein Sender gefunden wurde, erscheidt der Name these Senders auf dem Display.
7 NO RDS
Wenn beim Durchsuchen samtlicher Frequenzen kein weiterer RDS-Sender gefunden wird, wird "NO RDS" angezeigt.
DEUTSCH DE
Betrieb

Programmtyp-Suche (PTY)
- V erwenden Sie diese Funktion, um RDS-Sender zu finden, die den gewünschten Programmtyp (PTY) halten.
- Für die Beschreibung der Programmtypenlesen Sie das Kapitel "Programmtyp (PTY)" (Seite 11).
1 Drücken Sie die MENU-Taste, um das Menu auszuwahlen.
2 Drehen Sie den TUNING/PRESET-Knopf, um sich "RDS" anzeigen zu{lassen.
3 Drücken Sie den TUNING/PRESET-Knopf, um den RDS-Suchauswahl-Modus einzustellen.
4 Drehen Sie den TUNING/PRESET-Knopf, um sich “PTY Search” anzeigen zu{lassen.
PTV Search
5 Drücken Sie den TUNING/PRESET-Knopf, um den PTY-Suchauswahl-Modus einzustellen.
6 Drehen Sie, während Sie die Programmanzeige beobachten, den TUNING/PRESET-Knopf, um den gewünschten Programmtyp auszuwahlen.
PTY NEWS
※ Beim Empfang eines RDS-Senders wird zuerst der Programmtyp angezeigt. Wenn kein RDS-Sender empfangen wird, blinkt "PTY".
7 Drücken Sie den TUNING/PRESET-Knopf, um den PTY-Suche-Standby-Modus einzustellen.
8 Drehen Sie den TUNING/PRESET-Knopf nur eine Stufe im Uhrzeigersinn oder entgegen des Uhrzeigersinns.
FTY,Search
-
Automatischer Start des PTY-Suchbetriebes.
Die RDS-Anzeige blinkt. -
Wenn kein Sender gefunden worden ist, der den gewünschten Programmtyp sendet, werden alle Empfangsbänder abgesucht.
Wenn ein Sender gefunden wurde, erscheidt der Name these Senders auf dem Display.
9
NO Programme
- Wenn beim Durchsuchen aller Freqenzen kein weiterer Sender gefunden wird, der mit dem bestimmten Programmtyp sendet, wird “NO Programme” angezeigt.
Verkehrsfunk-Suche (TP)
Verwenden Sie diese Funktion, um RDS-Sender zu finden, die Verkehrsnahrichten senden (TP).
1 Drücken Sie die MENU-Taste, um das Menu auszuwahlen.
2 Drehen Sie den TUNING/PRESET-Knopf, um sich "RDS" anzeigen zu{lassen.
3 Drücken Sie den TUNING/PRESET-Knopf, um den RDS-Suchauswahl-Modus einzustellen.
4 Drehen Sie den TUNING/PRESET-Knopf, um sich "TP Search" anzeigen zu{lassen.
TP Search
5 Drucken Sie den TUNING/PRESET-Knopf, um den TP-Suche-Standby-Modus einzustellen.
6 Drehen Sie den TUNING/PRESET-Knopf nur eine Stufe im Uhrzeigersinn oder entgegen des Uhrzeigersinns.
T
- Automatischer Start des TP-Suchbetriebes.
Die RDS-Anzeige blinkt.
Wenn mit der oben beschriebenen Funktion keine TP-Sender gefunden worden sind, werden alle Empfangsbänder abgesucht.
※ Wenn ein Sender gefunden wurde, erscheidt der Name diesen Senders auf dem Display.
7
NO Programme
Wenn keine weitere Verkehrs Funk-Station gefunden wurde, nach dem alle Frenzen abgeschucht wurden, wird "NO PROGRAMME" angezeigt.
RT (Radiotext)
1 Drücken Sie die MENU-Taste, um das Menu auszuwahlen.
2 Drehen Sie den TUNING/PRESET-Knopf, um sich "RDS" anzeigen zu{lassen.
3 Drücken Sie den TUNING/PRESET-Knopf, um den RDS-Suchauswahl-Modus einzustellen.
4 Drehen Sie den TUNING/PRESET-Knopf, um sich "RT ON/OFF" anzeigen zu{lassen.
RT ON/OFF
5 Drucken Sie den TUNING/PRESET-Knopf, um den RT ON/OFF-Ausbwahlmodus einzustellen.
6 Drehen Sie den TUNING/PRESET-Knopf, um "RT ON" oder "RT OFF" auszuwahlen.
RT ON
7 Drücken Sie den TUNING/PRESET-Knopf, um die RADIO TEXT-Funktion entweder zu aktivieren oder zu stoppen.
Wenn keine Textdaten empfangen werden, entscheid. die Anzeige "NO TEXT DATA".
Betrieb


Umschaltung des RDS-Informationsdisplays
1 Verwenden Sie das unter "Automatische Sendereinstellung", "Abruf gespeicherter Sender" oder "RDS-Suche" beschriebene Verfahren, um eine Frequenz mit einem RDS-Sender einzustellen.
2 Drücken Sie die DISPLAY-Taste, um die RDS-Empfangsinformationen umzuschalten.
Das Display schaltet sich bei jedem Drucken der DISPLAY-Taste wie unter dargestellt um.


- W enn der "STATION NAME" nicht registriert wurde, wird ① nicht angezeigt.
Registrierung von Sendernamen
1 Wahlen Sie den Sender aus, dessen Namei Sie einstellen möchten.
Beispiel: Registrierung von "DENON" als UKW-Sendername unter dem voreingestellen Kanal "A2".
2 Drucken Sie die MENU-Taste.
3 Drehen Sie den TUNING/PRESET-Knopf, um den "Station name" auszuwahlen.
4 Drucken Sie die TUNING/PRESET-Knopf. Der Sendernamen-Eingabemodus wird eingestellt.
FM87,50MHz AUTO A2
5 Drehen Sie entweder den TUNING/PRESET-Knopf oder drücken Sie die PRESET-Taste und wahlen Sie "D" aus.
6 Drücken Sie für die Einstellung von “D” die TUNING/PRESET-Knopf.
- Der Cursor "—" beginnt an der{nachsten Stelle zu blinken.
- Wiederholen Sie die Schritte 5 und 6, um "E", "N", "O" und "N" in dieser Reihenfolge einzugeben. (Es können bis zu 8 Zeichen eingegeben werden.)
FM87.50MHz AUTO A2 DENON
7 Drücken Sie den TUNING/PRESET-Knopf für mindestens 2 Sekunden oder drücken Sie die MEMORY-Taste, um den voreingestellen Kanal “A2” blinken zu halten.
- Beim Blinken von "___" kann der voreingestellte Kanal "A2" auch zum Blinken gebracht werden, in dem der TUNING/PRESENT-Knopf für mindestens 2 Sekunden oder die MEMORY-Taste gedrückt wird.
8 Drucken Sie, während der Kanal "A2" blinkt, den TUNING/PRESET-Knopf oder die MEMORY-Taste.
※ Der von Ihnen eingegebene Sendername wird im Speicher abgelegt.
※ Dieses Verfahren kann fur registrierte Sendernamen mit bis zu 8 Stellen fur bis zu 100 AM/FM-Sender in zufälliger Reihenfolge verwendet werden.
Die unten aufgeführten 63 Zeichen können ausgewählten werden.
※ Überschreiben Sie "_ " (Leerzeichen), um ein eingegebenes Zeichen zu loschen.
ABCDEFGHIJKLMNOPQRSTUVWXYZ0123456789[!#“%&'()+,-:/;<=?(\text{Leerzeichen})$
Letzt Funktionssspeicher
- Beim nachsten Einschalten des Gerätes in den "ein"-Modus wird der TU-1500AE in denselben Status (Wellenbereich, Frequenz, voreingestellte Kanalnummer, Moduseinstellung usw.) eingestellt wie beim letzten Einstellen des Gerätes in den "standby"-Modus.
- Das Gerät ist ebenfalls mit einem Sicherungsspeicher ausgestattet. Mithilfe dieser Funktion bleibt der Speicherinhalt gespeichert, auch wenn die Stromversorgung ausgeschaltet und das Netzkabel abgezogen wird.
Initialisierung des Mikroprozessors
Falls die Anzeige oder der Betrieb nicht normal sein sollte, verwenden Sieitte das unter beschriebene Verfahren, um den Mikroprozessor zurückzustellen.
1 Drücken Sie die ON/STANDBY- oder POWER-Taste, um das Gerät in den "standby"-Modus einzustellen, und trennen Sie anschließend den Netzstecker des TU-1500AE von der Wandsteckdose ab.
2 Stecken Sie, während Sie sowohl die DIMMERals auch die BAND-Taste drucken, den Netzstecker des TU-1500AE in eine Wandsteckdose ein.
3 Überprüfen Sie, dass das gesamte Display in einem Intervall von etwa 1 Sekunde blinkt, und{lassen Sie die 2 Tasten wieder los.
- Der Mikroprozessor wird initialisiert.

- Sollte Schritt 3 nicht Funktionieren, beginnen Sieitte noch einmal bei Schritt 1.
- Beim Rückstellten des Mikroprozessors werden samsliche Einstellung auf die werkseitigen Einstellungen zurückgestellt.
Fehlersuche
Überprüfen Sie bei Aufreten einer Störung zunachst die nachfolgenden aufgeführten Punkte.
- Sind alle Anschlüsse richtig?
- Haben Sie den Receiver entsprechend der Betriebsanleitung bedient?
- Funktionieren die Laatsprecher und die übrigen Komponenten ordnungsgemäß?
Sollte die Funktion deses Gerates nicht einwandfrei sein, überprüfen Sieitte die in nachfolgender Tabelle aufgehrten Punkte. Wenn sich die Storung nicht beseitigen lasst, liegt vermutlich eine Fehlfunktion vor. Trennen sie das Gerat sofort vom Netz ab und kontaktieren Sie ihren Handler.
| Symptom Ursache | Abhilfemaßnahme Seite | ||
| Beimücken des ON/STANDBY-Schalters wird die Stromversorgung nicht eingeschaltet. | • Der Netzstecker ist nicht in die Wandsteckdose eingesteckt. | • Stecken Sie den Netzstecker ordnungsgemäß in die Wandsteckdose ein. | 7 |
| Bei UKW-Sendungen ist ein rauschendes Geräusch hörbar. | • Das Antennenkabel ist nicht ordnungsgemäß angeschlossen. • Die Antenne weist nicht in die ordnungsgemäßeichtigung. • Die Funkwellen sind zu schwach. | • Schreiben Sie die Leitungen ordnungsgemäß an. • Richten Sie die Antenne ordnungsgemäß aus. • Installieren Sie eine Innenraumantenne. | 6 6 6 |
| Bei MW-Sendungen ist ein rauschendes oder summendes Geräusch hörbar. | • Es treten Störungen durch ein Fernsehgerät in der Höhe auf oder es gibt Störsignale von einer Radiosender. | • Schalten Sie das Fernsehgerät aus. • Verändern Sie die Position der Drehrheiten- Antenne. • Installieren Sie eine Außenantenne. | - 6 6 |
| Bei MW-Sendungen ist ein brausendes Geräusch (Brummene) hörbar. | • Die über das Netzkabel übertragenen Signale werden durch die Stromquellen-Frequency moduliert. | • Stecken Sie den Stecker in umgekehrter Richtung ein. • Installieren Sie eine Außenantenne. | - 6 |
| Beimücken der Tasten auf der Fernbedienung geschieht nichts. | • Sind die Batterien erschöft? • Beinfelct sich die Fernbedienung außerhalb der Reichweite? • Beinfelct sich ein Hindernis zwischen der Fernbedienung und dem Hauptgerät? • Sie haben u. U. die falsche Taste gedrückt. • Die Batterien wurden nicht mit ordnungsgemäßer Polaritätsausrichtung (⊕ und ⊙) eingelegt. | • Tauschen Sie die Batterien durch neue aus. • Verwenden Sie die Fernbedienung bisher am Hauptgerät. • Entfernen Sie die Hinderisse. • Drucken Sie die gewünschte Taste. • Legen Sie die Batterien mit der ordnungsgemäßen Polaritätsausrichtung ein. | 2 3 3 5 2 |
| Es wird keinerlei Ton empfangen werden. | • Die Stromversorgung ist bzw. angeschlossen, aber der Verträker ist nicht eingeschaltet. • Die Anschlüsse der Leitungen zum Verträker wurden nicht ordnungsgemäß durchgeführt. | • Schalten Sie den Verträker ordnungsgemäß ein. • Schreiben Sie die Leitungen ordnungsgemäß am Verträker an. | - 7 |
UKW-Tunerbereich
(Hinweis: V an 75 Ω/Ohm, 0 dBf=1 x 10-15 W)
Empfangsbereich:87,5 MHz 108,0 MHz
Antennenanschlüsse: 75 Ω/ohm asymmetrisch
Anwendbare Empfindlichkeit: 1,0 V (11,2 dBf)
1,2 V (IHF)
- Empfindlichkeit bei 50dB
Storabstand
Mono: 1,6 V (15,3 dBf)
Stereo: 23 V (38,5 dBf)
-
Spiegelfrequenzdämpfung: 80 dB
-
ZF-Unterdrückung: 100 dB
AM-Unterdruckung:50 dB
E ffektive Selectivitat: 50 dB (±400 kHz)
G leichwellenselektion: 2,0 dB
F requenzgang: 20Hz 15kHz; + 0,5, - 1,0dB
Gerauschspannungsabstand
- Kanaltrennung 1 kHz (WEIT): 43 dB
MW-Tunerbereich
- Empfangsbereich: 522 kHz ~ 1611 kHz
- Antennenanschlüsse: Anschlusstyp mit Drehrhemen-Antenne
Anwendbare Empfindlichkeit: 18 V
Gerauschspannungsabstand: 53 dB
■ Sonstiges
Netzteil: 230 V Wechselstrom, 50 Hz
Stromaufnahmen: 10 W
Max. außere Abmessungen: 434 (B) x 73 (H) x 286 (T) mm
Gewicht: 3,6 kg
Fernbedienung (RC-1027)
Batterien: 3 V Gleichstrom, R03/AAA-Batterien (2 Stck.)
AuBere Abmessungen: 48 (B) x 219 (H) x 22 (T) mm
Gewicht: 105 g (inklusive Batterien)
Introduction
Contenu
Introduction
Accessoires 1
Technische gegevens 18
Accessoires
Senaste Funktionsinne
E ffektiv selektivet: 50 dB (±400 kHz)
- Infangningsindex: 2,0 dB
Frekvenskarakteristika: 20Hz 15kHz .. +0,5, - 1,0dB
- Signalbrusforhällande
EinfachAnleitung